патент
№ RU 2682145
МПК B64D29/06

Сигнализатор закрытого положения механизма крепления реверсивного устройства мотогондолы к газотурбинному двигателю

Авторы:
Кобелев Николай Валерьевич
Номер заявки
2017130564
Дата подачи заявки
29.08.2017
Опубликовано
14.03.2019
Страна
RU
Как управлять
интеллектуальной собственностью
Чертежи 
5
Реферат

[24]

Изобретение относится к области авиации, в частности к системам крепления реверсивных устройств газотурбинных двигателей самолетов. Сигнализатор закрытого положения механизма крепления реверсивного устройства мотогондолы к газотурбинному двигателю, блокирующий закрытие створок капота мотогондолы, включает неподвижный кронштейн, расположенный на корпусе газотурбинного двигателя, подвижное звено, упор. Упор сигнализатора закрытого положения установлен на поворотном кольце механизма крепления реверсивного устройства, дополнительно содержащем сигнализатор придвинутого положения реверсивного устройства, включающий упор реверсивного устройства, подпружиненный кулачок, выполненный с возможностью блокировки поворотного кольца зубом подпружиненного кулачка в сдвинутом положении реверсивного устройства для технологического обслуживания. Сигнализатор закрытого положения механизма крепления реверсивного устройства мотогондолы установлен в любом угловом расположении относительно оси газотурбинного двигателя, дополнительно содержит несколько равнорасположенных сигнализаторов присоединенного положения реверсивного устройства мотогондолы. Достигается повышение надежности использования газотурбинного двигателя и исключение ошибки персонала при техническом обслуживании реверсивного устройства газотурбинного двигателя. 2 з.п. ф-лы, 8 ил.

Формула изобретения

1. Сигнализатор закрытого положения механизма крепления реверсивного устройства мотогондолы к газотурбинному двигателю, блокирующий закрытие створок капота мотогондолы, включающий неподвижный кронштейн, расположенный на корпусе газотурбинного двигателя, подвижное звено, упор, отличающийся тем, что упор установлен на поворотном кольце механизма крепления реверсивного устройства, дополнительно содержащем сигнализатор присоединенного положения реверсивного устройства, включающий упор реверсивного устройства, подпружиненный кулачок, выполненный с возможностью блокировки поворотного кольца зубом подпружиненного кулачка в сдвинутом положении реверсивного устройства.

2. Сигнализатор по п. 1, отличающийся тем, что сигнализатор закрытого положения механизма крепления реверсивного устройства мотогондолы установлен в любом угловом расположении относительно оси газотурбинного двигателя.

3. Сигнализатор по п. 1, отличающийся тем, что дополнительно содержит несколько равнорасположенных сигнализаторов присоединенного положения реверсивного устройства мотогондолы.

Описание

[1]

Изобретение относится к области авиации, в частности к системам крепления реверсивных устройств газотурбинных двигателей самолетов.

[2]

Наиболее близким к изобретению по технической сущности и достигаемому техническому результату, и выбранному авторами за прототип, является устройство определения состояния сцепляющего устройства мотогондолы газотурбинного двигателя (Патент RU №2469919, B64D 29/00, опубл. 20.12.2012).

[3]

Недостатком изобретения, выбранного за прототип, при использовании его в системах крепления реверсивных устройств газотурбинных двигателей, является размещение блокирующего устройства на рычаге закрепления С-образного реверсивного устройства и только в нижней части, невозможность размещения устройства в других частях двигателя, что также уменьшает надежность ввиду совмещения с рычагом закрепления С-образного реверсивного устройства.

[4]

Технической задачей предлагаемого изобретения является повышение надежности использования газотурбинного двигателя и исключение ошибок персонала при техническом обслуживании реверсивного устройства газотурбинного двигателя.

[5]

Техническая задача решается тем, что сигнализатор закрытого положения механизма крепления реверсивного устройства мотогондолы к газотурбинному двигателю, блокирующий закрытие створок капота мотогондолы, включающий неподвижный кронштейн, расположенный на корпусе газотурбинного двигателя, подвижное звено, упор, согласно изобретению, упор установлен на поворотном кольце механизма крепления реверсивного устройства, дополнительно содержащем сигнализатор присоединенного положения реверсивного устройства, включающий упор реверсивного устройства, подпружиненный кулачок, выполненный с возможностью блокировки поворотного кольца зубом подпружиненного кулачка в сдвинутом положении реверсивного устройства.

[6]

Кроме того, согласно изобретению, сигнализатор закрытого положения механизма крепления реверсивного устройства мотогондолы к газотурбинному двигателю установлен в любом угловом расположении относительно оси газотурбинного двигателя.

[7]

Кроме того, согласно изобретению, сигнализатор закрытого положения механизма крепления реверсивного устройства мотогондолы к газотурбинному двигателю содержит несколько равнорасположенных сигнализаторов присоединенного положения реверсивного устройства.

[8]

В предлагаемом изобретении, в отличие от прототипа, упор сигнализатора закрытого положения, блокирующий створки капота мотогондолы, установлен на поворотном кольце механизма крепления реверсивного устройства, блокирует закрытие створок капота мотогондолы при незакрытом до необходимого положения поворотном кольце механизма крепления реверсивного устройства. Сигнализатор закрытого положения дополнительно содержит сигнализатор присоединенного положения реверсивного устройства, включающий упор реверсивного устройства, подпружиненный кулачок, выполненный с возможностью блокировки поворотного кольца зубом подпружиненного кулачка в сдвинутом положении реверсивного устройства мотогондолы для технологического обслуживания, что обеспечивает невозможность закрытия поворотного кольца механизма крепления в сдвинутом положении реверсивного устройства, повышая надежность устройства.

[9]

В предлагаемом изобретении повышается надежность за счет того, что предлагаемое изобретение не позволяет закрыть створки капота мотогондолы, если не выполнено крепление реверсивного устройства к газотурбинному двигателю с помощью поворотного кольца. Сигнализатор присоединенного положения не позволяет выполнить крепление реверсивного устройства, если оно не придвинуто вплотную к корпусу газотурбинного двигателя. Таким образом, сигнализатор закрытого положения механизма крепления реверсивного устройства мотогондолы исключают запуск газотурбинного двигателя с неприсоединенным реверсивным устройством, так как в таком положении створки мотогондолы не закроются и требуется проверять и восстанавливать крепление реверсивного устройства. Наиболее актуально изобретение в случае, когда створки мотогондолы опущены и визуально сложно определить прикреплено реверсивное устройство к двигателю или нет.

[10]

Кроме того, согласно изобретению, сигнализатор закрытого положения механизма крепления реверсивного устройства мотогондолы к газотурбинному двигателю установлен в любом угловом расположении относительно оси двигателя с возможностью препятствия закрытию створок капота, что позволяет установить в наиболее удобном для технологического обслуживания месте.

[11]

Кроме того, согласно изобретению, сигнализатор закрытого положения механизма крепления реверсивного устройства мотогондолы содержит несколько (более одного) равнорасположенных сигнализаторов присоединенного положения реверсивного устройства, что позволяет увеличить надежность работы предлагаемого технического решения.

[12]

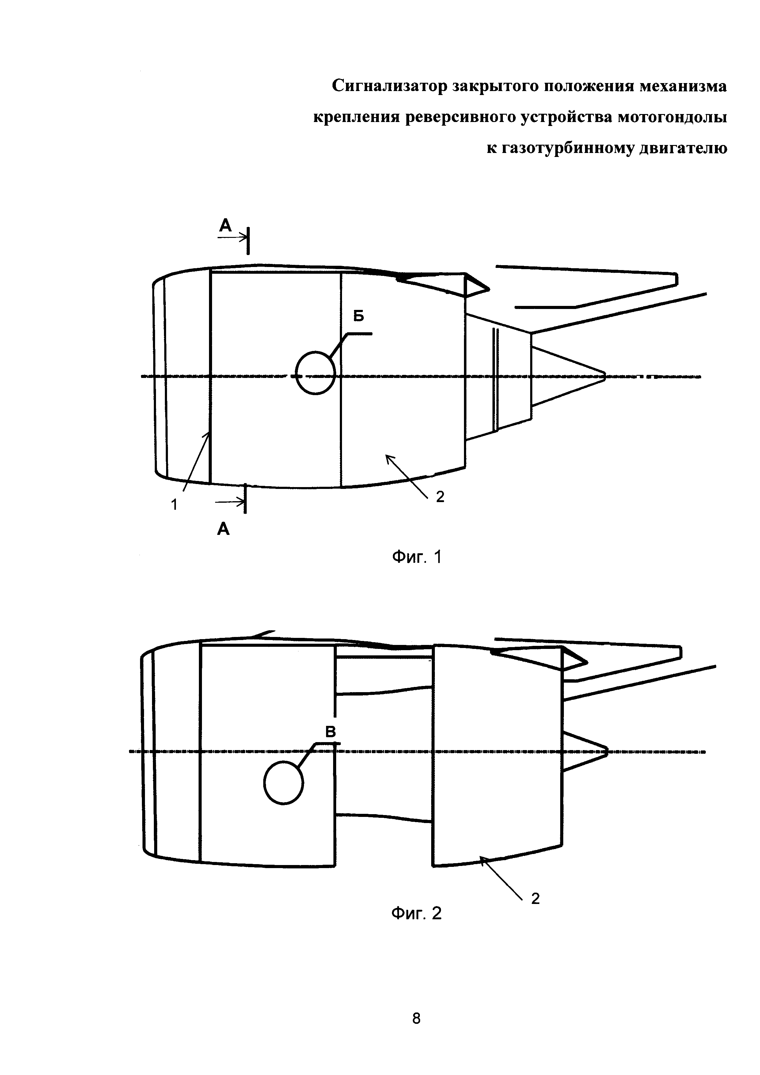
На фиг. 1 представлен общий вид газотурбинного двигателя.

[13]

На фиг. 2 представлено реверсивное устройство в сдвинутом положении (для технологического обслуживания).

[14]

На фиг. 3 представлен поперечный разрез двигателя с расположением сигнализатора закрытого положения механизма крепления реверсивного устройства мотогондолы.

[15]

На фиг. 4 представлен сигнализатор закрытого положения механизма крепления реверсивного устройства мотогондолы в закрытом положении поворотного кольца (реверсивное устройство присоединено).

[16]

На фиг. 5 представлен сигнализатор закрытого положения механизма крепления реверсивного устройства в открытом положении поворотного кольца (реверсивное устройство не присоединено).

[17]

На фиг. 6 представлен сигнализатор придвинутого положения реверсивного устройства мотогондолы, когда реверсивное устройство сдвинуто для технологического обслуживания.

[18]

На фиг. 7 представлен сигнализатор придвинутого положения реверсивного устройства, при снятии блокировки подпружиненного кулачка.

[19]

На фиг. 8 представлен разрез двигателя с расположением нескольких сигнализаторов присоединенного положения и размещением в любом угловом расположении сигнализатора закрытого положения механизма крепления реверсивного устройства.

[20]

Сигнализатор закрытого положения 3 механизма крепления 4 реверсивного устройства 2 газотурбинного двигателя 1, блокирующего створки 5, 6 капота мотогондолы 7, включающего неподвижный кронштейн 8, расположенный на корпусе газотурбинного двигателя 1, подвижное звено 9, упор 10. Упор 10 установлен на поворотном кольце 11 механизма крепления 4 реверсивного устройства 2. Сигнализатор закрытого положения 3 реверсивного устройства 2 дополнительно содержит сигнализатор присоединенного положения 15 реверсивного устройства 2, включающий упор реверсивного устройства 12, подпружиненный кулачок 13, с возможностью блокировки поворотного кольца 11 зубом 14 подпружиненного кулачка 13 при сдвинутом положении реверсивного устройства для технологического обслуживания.

[21]

Работа сигнализатора закрытого положения реверсивного устройства мотогондолы газотурбинного двигателя осуществляется следующим образом.

[22]

Сигнализатор закрытого положения 3 реверсивного устройства 2 газотурбинного двигателя 1, блокирующий закрытие створок 5, 6 капота мотогондолы 7, состоящий из неподвижного кронштейна 8, расположенного на корпусе двигателя, подвижного звена 9, упора 10 (фиг. 2, фиг. 3). При закрытом механизме крепления 4 реверсивного устройства 2 упор 10 находится в положении, когда не препятствует закрытию створок 5, 6 капота мотогондолы 7 (фиг. 4). При незакрытом механизме крепления 4 реверсивного устройства 2 упор 10 выдвинут за траекторию движения створок 5. 6 капота мотогондолы 7, тем самым препятствуя их закрыванию (фиг. 5). При сдвинутом для технологического обслуживания реверсивном устройстве 2 (фиг. 6) подпружиненный рычаг 13 заходит в паз поворотного кольца 11 механизма блокировки и блокирует его перемещение за счет зацепления с зубом 14. При придвинутом положении реверсивного устройства 2 к двигателю упор 12 отжимает рычаг 13 из паза поворотного кольца 11, снимая с него зацепление с зубом 14 и тем самым блокировку (фиг. 7). Сигнализатор закрытого положения 3 реверсивного устройства 2 мотогондолы может содержать несколько равнорасположенных сигнализаторов присоединенного положения 15 (фиг. 8) и сигнализатор закрытого положения механизма 3 крепления реверсивного устройства в любом угловом расположении относительно оси газотурбинного двигателя 1.

[23]

Таким образом, выполнение предлагаемого изобретения с вышеуказанными отличительными признаками, в совокупности с известными признаками, позволяет получить сигнализатор закрытого положения механизма крепления реверсивного устройства мотогондолы к газотурбинному двигателю с повышенной надежностью использования газотурбинного двигателя и исключением ошибок персонала при техническом обслуживании реверсивного устройства газотурбинного двигателя.

Как компенсировать расходы
на инновационную разработку
Похожие патенты