патент
№ RU 2614043
МПК H02K3/52

РОТОР ЯВНОПОЛЮСНОЙ ЭЛЕКТРИЧЕСКОЙ МАШИНЫ

Авторы:
Парамонов Сергей Николаевич Мисютин Роман Юрьевич Калий Валерий Алексеевич
Все (5)
Номер заявки
2015156675
Дата подачи заявки
29.12.2015
Опубликовано
22.03.2017
Страна
RU
Как управлять
интеллектуальной собственностью
Чертежи 
1
Реферат

Изобретение относится к электрическим машинам, а именно к явнополюсным электрическим машинам, в частности к конструкциям для крепления обмоток на роторе электрической машины. Технический результат - повышение надежности электрической машины, увеличение срока службы ротора, повышение эффективности использования ротора. Ротор явнополюсной электрической машины содержит вал, сердечник, выполненный как единое целое, состоящий из ярма ротора и полюсов с полюсными наконечниками, катушки, размещенные по прямоугольному контуру вокруг полюсов. Каждая катушка снабжена бандажом прямоугольной формы, выполненным в виде слоев немагнитного синтетического материала и размещенным с натягом по всей внешней поверхности катушки. 1 ил.

Формула изобретения

Ротор явнополюсной электрической машины, содержащий вал, сердечник, выполненный как единое целое, состоящий из ярма ротора и полюсов с полюсными наконечниками, катушки, размещенные по прямоугольному контуру вокруг полюсов, отличающийся тем, что каждая катушка снабжена бандажом прямоугольной формы, выполненным в виде слоев немагнитного синтетического материала и размещенным с натягом по всей внешней поверхности катушки.

Описание

[1]

Изобретение относится к электрическим машинам, а именно к явнополюсным электрическим машинам, и может быть использовано при проектировании электрических машин различного назначения.

[2]

Из уровня техники известны конструкции роторов явнополюсных машин, например, ротор, раскрытый в способе изготовления ротора явнополюсной электрической машины по опубликованной заявке RU 2005104219 «Способ изготовления ротора явнополюсной электрической машины», опубл. 27.07.2006, сердечник которого выполняют как единое целое, состоящее из ярма ротора и сердечников полюсов с полюсными наконечниками. Катушки ротора выполняют из длинномерного материала и размещают на полюсах сердечников. Для того чтобы катушки не разрушались центробежными силами, возникающими во время работы ротора, катушки, после размещения их на полюсах, опрессовывают. Такая конструкция не обеспечивает достаточной надежности и эффективности работы электрической машины при работе ротора на повышенных частотах вращения.

[3]

Наиболее близкой к предлагаемому техническому решению является конструкция сборного ротора явнополюсной электрической машины с катушками: Поспелов Л.И. Конструкции авиационных электрических машин. Под ред. А.Ф. Федосеева. - М.: Энергоиздат, 1982, стр. 112, рис. 5.3, стр. 117, рис. 5.9, которая содержит вал, магнитную систему в виде полюсов и ярма, демпферные обмотки, катушки, по которым протекает ток для создания магнитного потока, и угловые распорки, обеспечивающие фиксацию катушек. Указанная конструкция ротора с катушками обеспечивает высокие энергетические характеристики электрических машин и обладает достаточной надежностью при невысоких скоростях вращения. Однако для работы на повышенных частотах вращения в большинстве конструкций роторов требуется применение крепежных деталей из немагнитного, как правило, материала, предохраняющих катушки ротора от разрушения центробежными силами при вращении. Применение таких крепежных деталей за счет усложнения конструкции снижает надежность работы электрической машины.

[4]

Техническим результатом изобретения является повышение эффективности использования ротора за счет использования его при повышенных частотах вращения, повышение надежности работы электрической машины.

[5]

Технический результат достигается посредством создания ротора явнополюсной электрической машины, содержащего вал, сердечник, выполненный как единое целое, состоящий из ярма ротора и полюсов с полюсными наконечниками, катушки, размещенные по прямоугольному контуру вокруг полюсов, при этом каждая катушка снабжена бандажом прямоугольной формы, выполненным в виде слоев немагнитного синтетического материала и размещенным с натягом по всей внешней поверхности катушки.

[6]

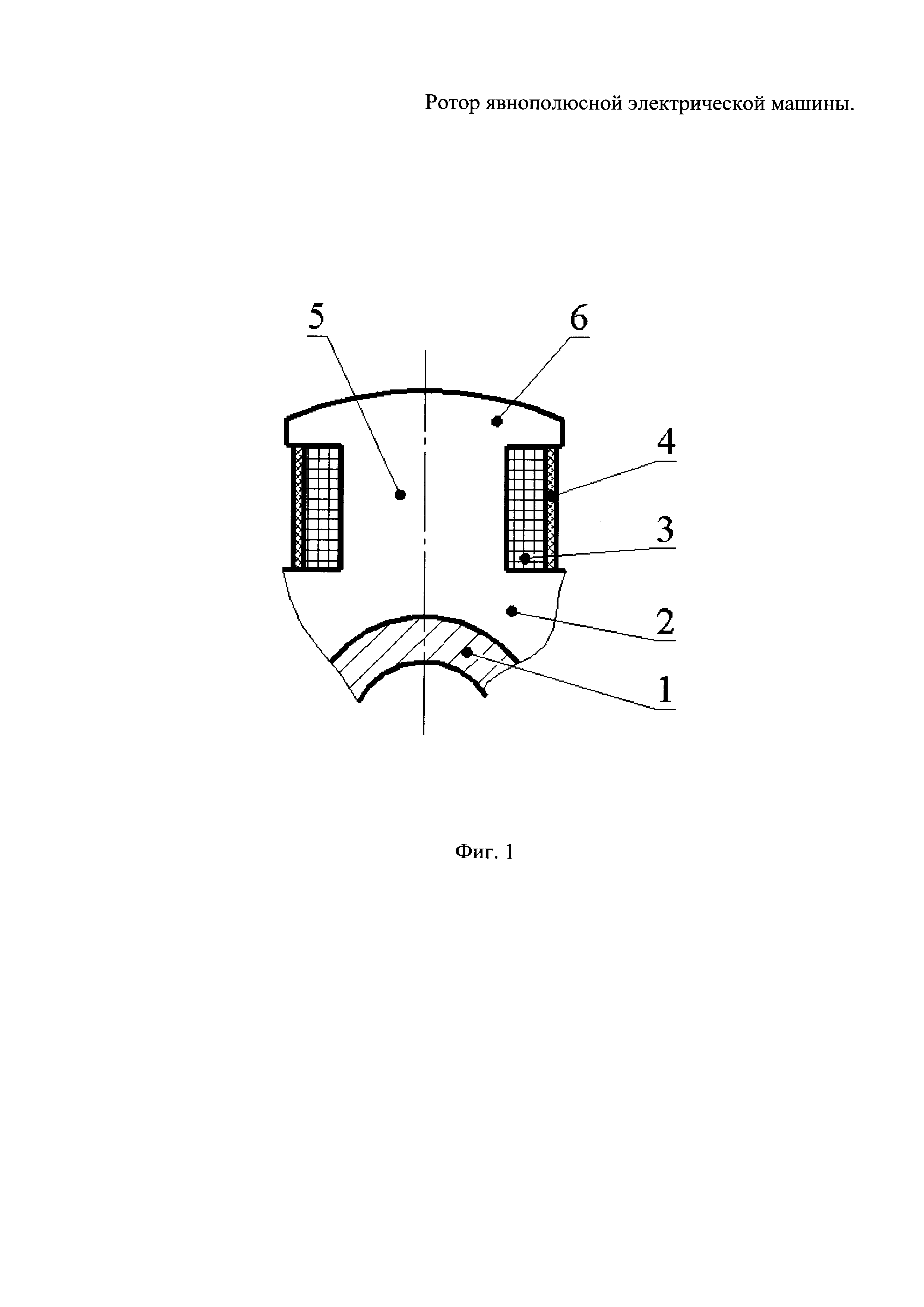
На фиг. 1, иллюстрирующей изобретение, представлен разрез ротора явнополюсной электрической машины, где:

[7]

1 - вал;

[8]

2 - ярмо ротора как составная часть единого сердечника ротора;

[9]

3 - катушка;

[10]

4 - бандаж;

[11]

5 - полюс как составная часть единого сердечника ротора;

[12]

6 - полюсной наконечник как составная часть единого сердечника ротора.

[13]

Ротор явнополюсной электрической машины содержит вал (1), ярмо ротора (2), катушку (3), бандаж (4), полюс (5), полюсной наконечник (6). Ярмо ротора (2), полюс (5) и полюсной наконечник (6) выполнены как единое целое и образуют сердечник ротора. Магнитная система может быть выполнена как массивной, так и шихтованной.

[14]

Катушки (3) намотаны вокруг полюсов (5) по прямоугольному контуру, соответствующему профилю полюса. На каждую катушку (3) сердечника намотан с натягом в несколько слоев немагнитный синтетический материал, который выполняет функцию бандажа (4) катушки (5). Бандаж (4) соответственно повторяет форму катушки и имеет прямоугольную форму.

[15]

При работе представленного ротора явнополюсной электрической машины за счет использования в качестве бандажа (4) намотанных с натягом слоев немагнитного синтетического материала, за счет отсутствия крепежных элементов, которые создают дополнительные нагрузки в виде центробежных сил, достигается высокая механическая прочность такого ротора, что делает возможным дальнейшее повышение частоты его вращения при неизменных размерах электрической машины.

[16]

Применение ротора явнополюсной электрической машины с бандажом, максимально плотно уложенным по максимально всей поверхности катушки (5), позволяет существенно повысить частоту вращения ротора, так как бандаж фиксирует и удерживает катушку (5) от перемещений под действием центробежных сил, позволяет также продлить срок службы самой катушки (5).

[17]

Таким образом, заявляемое техническое решение позволяет существенно повысить эффективность использования ротора, повысить надежность работы всей электрической машины.

Как компенсировать расходы
на инновационную разработку
Похожие патенты