патент
№ RU 2660681
МПК H02G7/14

ОГРАНИЧИТЕЛЬ ГОЛОЛЕДООБРАЗОВАНИЯ И КОЛЕБАНИЙ ПРОВОДОВ, ТРОСОВ И ОПТИЧЕСКИХ КАБЕЛЕЙ СВЯЗИ ВОЗДУШНЫХ ЛИНИЙ ЭЛЕКТРОПЕРЕДАЧИ

Авторы:
Юданов Евгений Алексеевич
Номер заявки
2017109888
Дата подачи заявки
24.03.2017
Опубликовано
10.07.2018
Страна
RU
Как управлять
интеллектуальной собственностью
Чертежи 
1
Реферат

Использование: в области электроэнергетики. Технический результат – повышение эффективности ограничения гололедообразования и колебаний проводов. Ограничитель состоит из упругого демпфирующего элемента (1), зажима (2) с плашкой (3) и крепежными деталями (4). Демпфирующий элемент (1) соединен по своим концам с грузами (5, 6) в точках 7, 8. Грузы (5, 6) изготовляются в виде изогнутых стержней; зажим (2) закрепляется одним концом на упругом демпфирующем элементе (1), а другим подсоединяется к проводу (тросу или оптическому кабелю связи линии) (9). Стержни (5, 6) изгибаются по радиусам Rи Rразличной кривизны, расположенным таким образом, что расстояние между максимально удаленными в горизонтальной плоскости, перпендикулярной продольной оси провода (троса, оптического кабеля связи) (9), точками (10, 11) грузов (5, 6) составляет (5÷150) мм. Отношение величин радиусов кривизны Rи Rгрузов (5, 6) определяется в пределах (1,0÷5,0). Груз 5 имеет меньшую массу по сравнению с массой груза (6), отношение масс грузов (5, 6) находится в пределах (1,0÷2,0). Отношение расстояния Кот зажима (2) до груза (5) меньшей массы к расстоянию Кот зажима (2) до груза большей массы находится в пределах (1,0÷2,0). Разработанное устройство создает крутящий момент, направленный в сторону, противоположную крутящему моменту, образующемуся в результате неравномерного отложения гололеда, что позволяет проводу (тросу, кабелю) сохранить исходное положение, приводящее к уменьшению массы гололеда и к снижению вероятности появления пляски. 1 з.п. ф-лы, 2 ил.

Формула изобретения

1. Ограничитель гололедообразования и колебаний проводов, тросов и оптических кабелей связи воздушных линий электропередачи, содержащий упругий демпфирующий элемент, прикрепленные к нему по концам по меньшей мере два груза, выполненные в виде изогнутых стержней, и зажим, закрепленный одним концом на упругом демпфирующем элементе, а другим подсоединенный к проводу, тросу или оптическому кабелю связи линии, отличающийся тем, что стержни каждого груза изогнуты по радиусам R1 и R2 различной кривизны, расположенным таким образом, что расстояние А между максимально удаленными в горизонтальной плоскости, перпендикулярной продольной оси провода, троса или оптического кабеля связи, точками грузов составляет (5÷150) мм, при этом отношение масс грузов лежит в пределах (1,0÷2,0), отношение величин радиусов кривизны грузов определяется в пределах (1,0÷5,0), а отношение расстояния К1 от зажима до груза меньшей массы к расстоянию К2 от зажима до груза большей массы находится в пределах (1,0÷2,0).

2. Ограничитель по п. 1, отличающийся тем, что грузы изогнуты по форме произвольных кривых с различными радиусами кривизны.

Описание

[1]

Изобретение относится к области электроэнергетики, а именно к ограничителям гололедообразования и колебаний проводов, тросов и оптических кабелей связи воздушных линий электропередачи.

[2]

Известен ограничитель гололедообразования и колебаний проводов воздушных линий электропередачи, содержащий демпферный элемент, выполненный в виде отрезка оцинкованного стального каната, грузы, выполненные в виде изогнутых стержней или круглых труб, жестко закрепленных по концам демпферного элемента, и зажим, закрепленный на демпферном элементе и соединенный с проводом линии [1].

[3]

В практике применения данного ограничителя гололедообразования и колебаний проводов воздушных линий электропередачи были отмечены случаи выхода его из строя при ветровых нагрузках, а именно закручивание устройства вокруг проводов линии из-за значительного маятникового эффекта (большая длина рычага от подвески до прямолинейных отрезков и заход концов стержней грузов друг за друга создавали предпосылки для их раскачивания с большой амплитудой вплоть до зависа на проводах при сильном ветре).

[4]

Наиболее близким техническим решением по отношению к предложенному является ограничитель гололедообразования и колебаний проводов, тросов и оптических кабелей связи воздушных линий электропередачи, содержащий упругий демпфирующий элемент, прикрепленные к нему по концам по меньшей мере два груза, выполненные в виде изогнутых стержней, и зажим, закрепленный одним концом посередине упругого демпфирующего элемента, а другим подсоединенный к проводу, тросу или оптическому кабелю связи линии [2].

[5]

Этот известный ограничитель, как показали результаты полевых испытаний, не позволяет достичь эффективного гашения высокочастотных колебаний (вибрация) и одновременно низкочастотных колебаний (пляска), особенно это касается оптических кабелей связи воздушных линий электропередачи.

[6]

Заявитель ставил перед собой практическую задачу разработать ограничитель гололедообразования и колебаний проводов, тросов и оптических кабелей связи воздушных линий электропередачи по своим техническим и эксплуатационным характеристикам, превосходящий аналогичное решение ближайшего аналога (прототипа); в частности, обеспечить значительное снижение массы гололеда, образующегося на проводах, тросах и оптических кабелях на воздушных линиях электропередачи, уменьшить вероятность появления пляски, а также обеспечить эффективное гашение ветровой вибрации.

[7]

Вышеуказанный положительный технический результат был достигнут за счет совокупности существенных конструктивных признаков выполненного согласно настоящему изобретению ограничителя гололедообразования и колебаний проводов, тросов и оптических кабелей связи воздушных линий электропередачи, представленной в нижеследующей формуле изобретения: «ограничитель гололедообразования и колебаний проводов, тросов и оптических кабелей связи воздушных линий электропередачи, содержащий упругий демпфирующий элемент, прикрепленные к нему по концам по меньшей мере два груза, выполненные в виде изогнутых стержней, и зажим, закрепленный одним концом на упругом демпфирующем элементе, а другим подсоединенный к проводу, тросу или оптическому кабелю связи линии; стержни каждого груза изогнуты по радиусам R1 и R2 различной кривизны, расположенным таким образом, что расстояние А между максимально удаленными в горизонтальной плоскости, перпендикулярной продольной оси провода, троса или оптического кабеля связи, точками грузов составляет (5÷150) мм, при этом отношение масс грузов лежит в пределах (1,0÷2,0), отношение величин радиусов кривизны грузов определяется в пределах (1,0÷5,0), а отношение расстояния К1 от зажима до груза меньшей массы к расстоянию К2 от зажима до груза большей массы находится в пределах (1,0÷2,0); грузы изогнуты по форме произвольных кривых с различными радиусами кривизны».

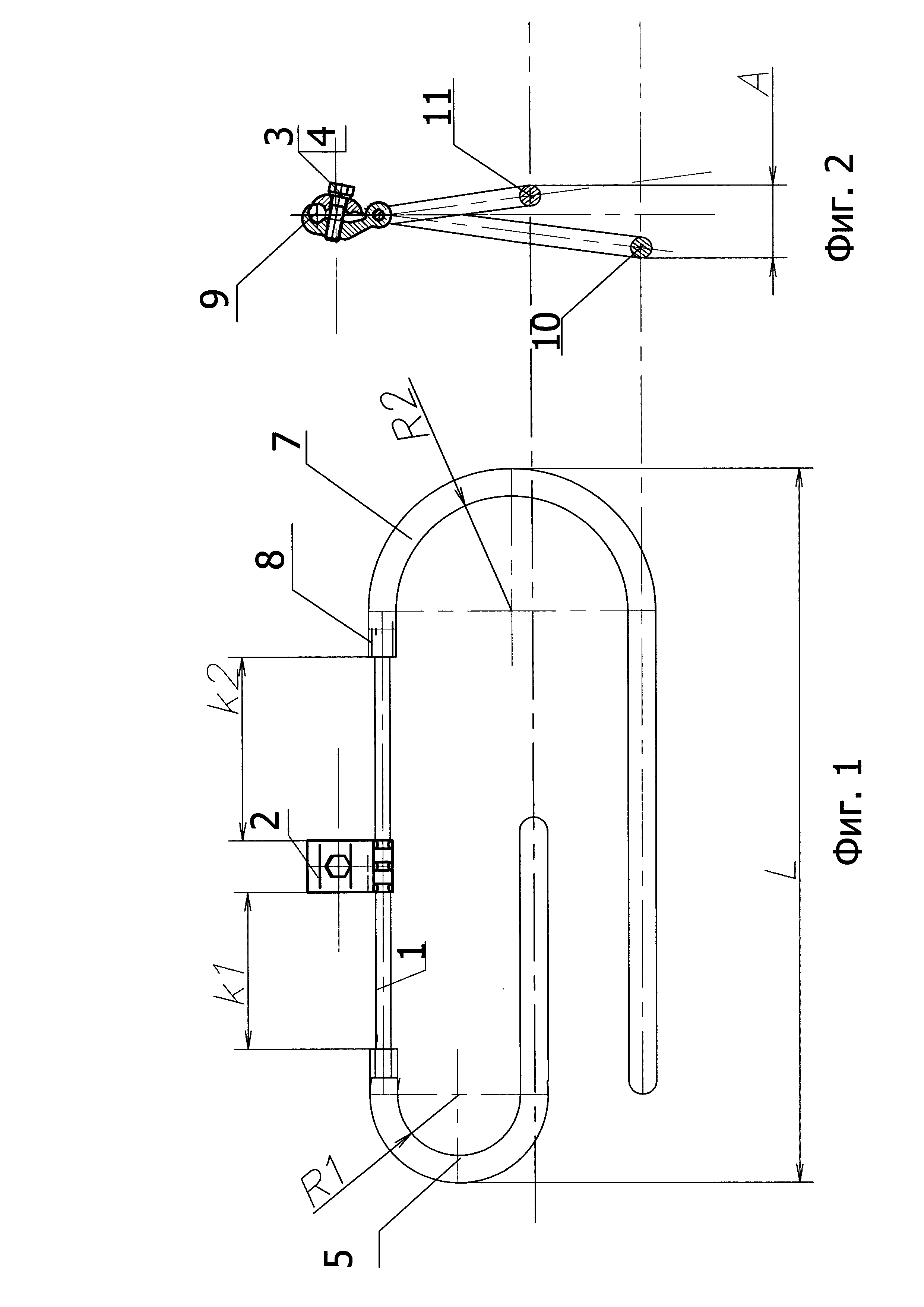
[8]

Сущность изобретения поясняется чертежами, где на фиг. 1 показан общий вид ограничителя гололедообразования и колебаний проводов, тросов и оптических кабелей связи воздушных линий электропередачи, выполненного согласно настоящему изобретению, вид спереди перпендикулярно проводу (тросу, кабелю); на фиг. 2 - то же, что на фиг. 1, вид сбоку вдоль провода (троса, кабеля).

[9]

Заявляемый ограничитель гололедообразования и колебаний проводов, тросов и оптических кабелей связи воздушных линий электропередачи состоит из упругого демпфирующего элемента 1, зажима 2 с плашкой 3 и крепежными деталями 4. Демпфирующий элемент 1 соединен по своим концам с металлическими грузами 5, 6, например, прессованием в точках 7, 8. Грузы 5, 6 изготовляются в виде изогнутых стержней; зажим 2 закрепляется одним концом на упругом демпфирующем элементе 1, а другим подсоединяется к проводу (тросу или оптическому кабелю связи линии) 9.

[10]

Стержни 5, 6 изгибаются по радиусам R1 и R2 различной кривизны, расположенным таким образом, что расстояние А (фиг. 2) между максимально удаленными в горизонтальной плоскости, перпендикулярной продольной оси провода (троса, оптического кабеля связи) 9, точками 10, 11 грузов 5, 6 составляет (5÷150) мм. Отношение величин радиусов кривизны R1 и R2 грузов 5, 6 определяется в пределах (1,0÷5,0). Возможен вариант, когда грузы 5, 6 изгибаются по форме произвольных кривых с различными радиусами кривизны.

[11]

Груз 5 имеет меньшую массу по сравнению с массой груза 6, причем отношение масс грузов 5, 6 находится в пределах (1,0÷2,0).

[12]

Отношение расстояния К1 от зажима 2 до груза 5 меньшей массы к расстоянию К2 от зажима 2 до груза большей массы находится в пределах (1,0÷2,0).

[13]

Изобретение работает следующим образом.

[14]

При образовании гололеда на проводе (тросе, кабеле) в результате неравномерного образования гололеда по периметру провода (троса, кабеля) происходит поворот последнего вокруг его осей. В результате этого явления последовательно образуется стенка гололеда большой толщины. Разработанное устройство создает крутящий момент, направленный в сторону, противоположную крутящему моменту, образующемуся в результате неравномерного отложения гололеда, что позволяет проводу (тросу, кабелю) сохранить исходное положение, приводящее к уменьшению массы гололеда и, соответственно, к снижению вероятности появления пляски. При этом эффект достигается при расположении центров масс грузов в положении, наиболее приближенном к вертикальной плоскости, проходящей через ось провода (троса, кабеля). С другой стороны для гашения ветровой вибрации необходимо введение в состав устройства демпфирующего элемента и использование грузов, обеспечивающих наибольшее количество резонансных частот, что достигается с помощью изготовления грузов изогнутой формы, разной массы, располагаемых на разных расстояниях от зажима устройства.

[15]

Источники информации

[16]

1. Описание изобретения к патенту №2249893, H02G 7/14, заявл. 30.07.2003, опубл. 10.04.2005. «Ограничитель гололедообразования и колебаний проводов воздушных линий электропередачи проводов воздушных линий электропередачи».

[17]

2. Описание изобретения к патенту №2602596, H02G 7/14, заявл. 27.10.2015, опубл. 20.10.2016. «Ограничитель гололедообразования и колебаний проводов воздушных линий электропередачи проводов воздушных линий электропередачи».

[18]

3. Патент США №4,159,393, кл. 174-42 (H02G 7/14), опубл. 26.06.1979.

[19]

4. Патент США №3,400,209, кл. 174-42 (H02G 7/14), опубл. 03.09.1968.

[20]

5. Описание изобретения к патенту №2045800, (H02G 7/14), заявл. 27.10.2015, опубл. 20.10.2016.

Как компенсировать расходы
на инновационную разработку
Похожие патенты