патент
№ RU 2614901
МПК F16K11/074

Многоходовой переключатель потока жидкой среды

Авторы:
Антоненко Андрей Анатольевич
Номер заявки
2015151792
Дата подачи заявки
02.12.2015
Опубликовано
30.03.2017
Страна
RU
Как управлять
интеллектуальной собственностью
Чертежи 
3
Реферат

Изобретение относится к многоходовым переключателям потоков жидкой среды в трубопроводных системах в области добычи нефти и может быть использовано для переключения направления потока жидкой среды от подводящих трубопроводов добывающих скважин на устройство, замеряющее дебит скважины. Многоходовый переключатель потока жидкой среды содержит корпус с равномерно расположенными с угловым шагом α Т-образными радиальными распределительными каналами, верхнюю и нижнюю торцевые крышки, между которыми и торцами корпуса расположены соответственно верхний дисковый шибер с одним отверстием и нижний дисковый шибер с количеством отверстий, на одно меньше количества Т-образных радиальных распределительных каналов в корпусе, расположенных с угловым шагом, аналогичным расположению радиальных распределительных каналов таким образом, что все они перекрыты верхним дисковым шибером, а шиберы соединены посредством вала, расположенного вдоль оси корпуса, и образуют с верхней и нижней торцевыми крышками соответственно верхнюю и нижнюю полости, причем верхняя полость имеет кольцеобразную форму, образованную кольцеобразной внутренней поверхностью верхней торцевой крышки, и сообщается с каналом подачи жидкости в узел измерения дебита, а нижняя полость сообщается с каналом подачи жидкости в трубопровод, при этом верхний и нижний дисковые шиберы ориентированы с возможностью переключения канала подачи жидкости в узел измерения дебита через отверстие в верхнем дисковом шибере к Т-образным радиальным распределительным каналам, а на поверхностях верхней и нижней торцевых крышек и корпуса, соприкасающихся с дисковыми шиберами, расположены кольцевые подшипники скольжения, при этом плоские поверхности верхнего и нижнего дисковых шиберов уплотнены по корпусу посредством подпружиненных седел, установленных в вертикальных участках Т-образных радиальных распределительных каналов и снабженных кольцевыми вставками на уплотняющих поверхностях. Изобретение позволяет упростить процесс распределения потока жидкой среды с одновременным обеспечением герметизации пространства между изолированными полостями устройства и повысить его надежность. 4 з.п. ф-лы, 4 ил.

Формула изобретения

1. Многоходовой переключатель потока жидкой среды, содержащий корпус с равномерно расположенными с угловым шагом α Т-образными радиальными распределительными каналами, верхнюю и нижнюю торцевые крышки, между которыми и торцами корпуса расположены соответственно верхний дисковый шибер с одним отверстием и нижний дисковый шибер с количеством отверстий, на одно меньше количества Т-образных радиальных распределительных каналов в корпусе, расположенных с угловым шагом, аналогичным расположению радиальных распределительных каналов, таким образом, что все они перекрыты верхним дисковым шибером, а шиберы соединены посредством вала, расположенного вдоль оси корпуса, и образуют с верхней и нижней торцевыми крышками соответственно верхнюю и нижнюю полости, причем верхняя полость имеет кольцеобразную форму, образованную кольцеобразной внутренней поверхностью верхней торцевой крышки, и сообщается с каналом подачи жидкости в узел измерения дебита, а нижняя полость сообщается с каналом подачи жидкости в трубопровод, при этом верхний и нижний дисковые шиберы ориентированы с возможностью переключения канала подачи жидкости в узел измерения дебита через отверстие в верхнем дисковом шибере к Т-образным радиальным распределительным каналам, а на поверхностях верхней и нижней торцевых крышек и корпуса, соприкасающихся с дисковыми шиберами, расположены кольцевые подшипники скольжения, при этом плоские поверхности верхнего и нижнего дисковых шиберов уплотнены по корпусу посредством подпружиненных седел, установленных в вертикальных участках Т-образных радиальных распределительных каналов и снабженных кольцевыми вставками на уплотняющих поверхностях.

2. Переключатель потока по п. 1, отличающийся тем, что кольцевые вставки на подпружиненных седлах выполнены из металлокерамического или полимерного материала.

3. Переключатель потока по п. 1, отличающийся тем, что верхний и нижний дисковые шиберы имеют износостойкое и антикоррозионное покрытия.

4. Переключатель потока по п. 1, отличающийся тем, что верхний и нижний дисковые шиберы выполнены из коррозионностойкого материала.

5. Переключатель потока по п. 1, отличающийся тем, что отверстия в нижнем дисковом шибере объединены в одно дугообразное отверстие.

Описание

[1]

Изобретение относится к многоходовым переключателям потоков жидкой среды в трубопроводных системах в области добычи нефти и может быть использовано для переключения направления потока жидкой среды от подводящих трубопроводов добывающих скважин на устройство, замеряющее дебит скважины.

[2]

Известен переключатель скважин многоходовой (патент РФ №2529270, МПК F16K 11/085, опубликовано 27.09.2014 г.), содержащий корпус с отверстиями для подключения патрубков подачи рабочей жидкости, гидроцилиндр, выполненный в виде корпуса, в котором установлен подпружиненный поршень, соединенный с зубчатой рейкой, кинематический связанной с шестерней и храповым делителем, вращающим вал, предназначенный для переключения канала измерения к патрубкам подачи рабочей жидкости. Канал измерения выполнен в виде тройника, свободно перемещающегося вдоль оси полого вала, с подвижной кареткой, ограниченной от поворота вокруг своей оси упорами тройника и фиксирующейся с помощью роликов и пружины, напротив входного патрубка, прилегая к наплавленной износостойкой поверхности корпуса.

[3]

Известно также многоходовое переключающее запорное устройство (патент РФ №2158868, МПК F16K 11/087, опубликовано 10.11.2010 г.), содержащее корпус кольцевой формы, имеющий радиально расположенные входные отверстия, и закрываемый с торцев крышками, внутри которого помещен запорный орган с наружной сферической поверхностью, управляемый посредством вала, соосно установленного в канале верхней крышки, и отводным каналом, сообщающимся с отводным патрубком. Запорный орган выполнен в виде усеченного шара и снабжен входными каналами числом, на одно меньше числа входных отверстий корпуса, в которых установлены уплотнения, подпружиненные относительно присоединяемых к корпусу фланцев и взаимодействующие с наружной шаровой поверхностью запорного органа, нижняя часть которого зафиксирована пятой, установленной соосно управляемому валу в ячеистой перегородке нижней крышки, а вал снабжен внутренней полостью, соединенной с одной стороны с отводным каналом запорного органа, с другой - посредством радиальных отверстий - с полостью отводного патрубка, причем на валу закреплено управляемое от привода храповое колесо, причем число зубьев храпового колеса равно числу входных отверстий корпуса.

[4]

Известные устройства отличаются сложностью изготовления распределительного устройства и требуют регулирования его расположения в осевом направлении. Кроме того, распределительное устройство сильно изнашивается в результате трения, возникающего при его вращении относительно корпуса.

[5]

Известен также многопозиционный переключатель текучей среды (патент РФ №2256836, МПК F16K 11/085, опубликовано 20.07.2005 г.), выполненный в виде пробкового крана с цилиндрической пробкой, размещенной в его полом корпусе, выполненном в виде цилиндра с торцовыми крышками, через одну из которых по оси корпуса выведен хвостовик пробки для ее вращения, причем корпус снабжен размещенными на нем в одной плоскости радиальными патрубками, цилиндрическая пробка размещена в корпусе с образованием по обе стороны от нее, соответственно, двух полостей, а каждая крышка корпуса снабжена смещенным от его оси патрубком для сообщения каждой из обеих его полостей с внешними устройствами распределения текучей среды. В цилиндрической пробке выполнены по количеству радиальных патрубков корпуса пазы-вырезы с выходом каждого из них только на какой-либо один из торцов цилиндрической пробки для обеспечения санкционированного сообщения любого из радиальных патрубков с соответствующей полостью корпуса, цилиндрическая пробка жестко позиционирована в последнем от каких-либо, кроме вращения, перемещений посредством упорно-радиальных подшипников, выполненных в виде двух пар скольжения, расположенных по обе стороны цилиндрической пробки соответственно, с конусной поверхностью сопряжения в каждой паре, один из элементов которой размещен на соответствующем торце цилиндрической пробки, а другой размещен в соответствующей крышке корпуса.

[6]

Недостатком этого устройства является сложность герметизации пространства между цилиндрической пробкой и стенками корпуса, а также необходимость дополнительной центровки и корректировки путем заполнения технологических зазоров фиксирующим материалом. В случае неточности в центровке может появиться несоосность цилиндрической пробки и корпуса, что приведет к потере герметичности между изолированными полостями устройства.

[7]

Задачей изобретения является упрощение конструкции устройства и повышение его надежности.

[8]

Технический результат заключается в упрощении процесса регулирования осевого расположения элементов устройства, обеспечивающих распределение потока жидкой среды, и способа герметизации пространства между его изолированными полостями.

[9]

Задача решается и технический результат достигается многоходовым переключателем потока жидкой среды, содержащим корпус с равномерно расположенными с угловым шагом α Т-образными радиальными распределительными каналами, верхнюю и нижнюю торцевые крышки, между которыми и торцами корпуса расположены соответственно верхний дисковый шибер с одним отверстием и нижний дисковый шибер с количеством отверстий, на одно меньше количества Т-образных радиальных распределительных каналов в корпусе, расположенных с угловым шагом, аналогичным расположению радиальных распределительных каналов таким образом, что все они перекрыты верхним дисковым шибером, а шиберы соединены посредством вала, расположенного вдоль оси корпуса, и образуют с верхней и нижней торцевыми крышками соответственно верхнюю и нижнюю полости, причем верхняя полость имеет кольцеобразную форму, образованную кольцеобразной внутренней поверхностью верхней торцевой крышки, и сообщается с каналом подачи жидкости в узел измерения дебита, а нижняя полость сообщается с каналом подачи жидкости в трубопровод, при этом верхний и нижний дисковые шиберы ориентированы с возможностью переключения канала подачи жидкости в узел измерения дебита через отверстие в верхнем дисковом шибере к Т-образным радиальным распределительным каналам, а на поверхностях верхней и нижней торцевых крышек и корпуса, соприкасающихся с дисковыми шиберами, расположены кольцевые подшипники скольжения, при этом плоские поверхности верхнего и нижнего дисковых шиберов уплотнены по корпусу посредством подпружиненных седел, установленных в вертикальных участках Т-образных радиальных распределительных каналов и снабженных кольцевыми вставками на уплотняющих поверхностях.

[10]

Согласно изобретению кольцевые вставки на подпружиненных седлах выполнены из металлокерамического или полимерного материала.

[11]

Согласно изобретению верхний и нижний дисковые шиберы имеют износостойкое и антикоррозионное покрытия.

[12]

Согласно изобретению верхний и нижний дисковые шиберы выполнены из коррозионностойкого материала.

[13]

Согласно изобретению отверстия в нижнем дисковом шибере объединены в одно дугообразное отверстие.

[14]

Указанный технический результат достигается совокупностью существенных признаков изобретения благодаря следующему.

[15]

Предложенная конструкция распределительного узла в виде двух дисковых шиберов с уплотнением их поверхностей соприкосновения с торцевыми крышками и корпусом посредством кольцевых подшипников скольжения обеспечивает необходимую центровку и надежную работу по переключению потоков жидкости. А Т-образная форма выполнения радиальных распределительных каналов в корпусе позволяет размещать в них уплотняющие подпружиненные седла для герметизации дисковых шиберов по корпусу, что также повышает надежность работы устройства.

[16]

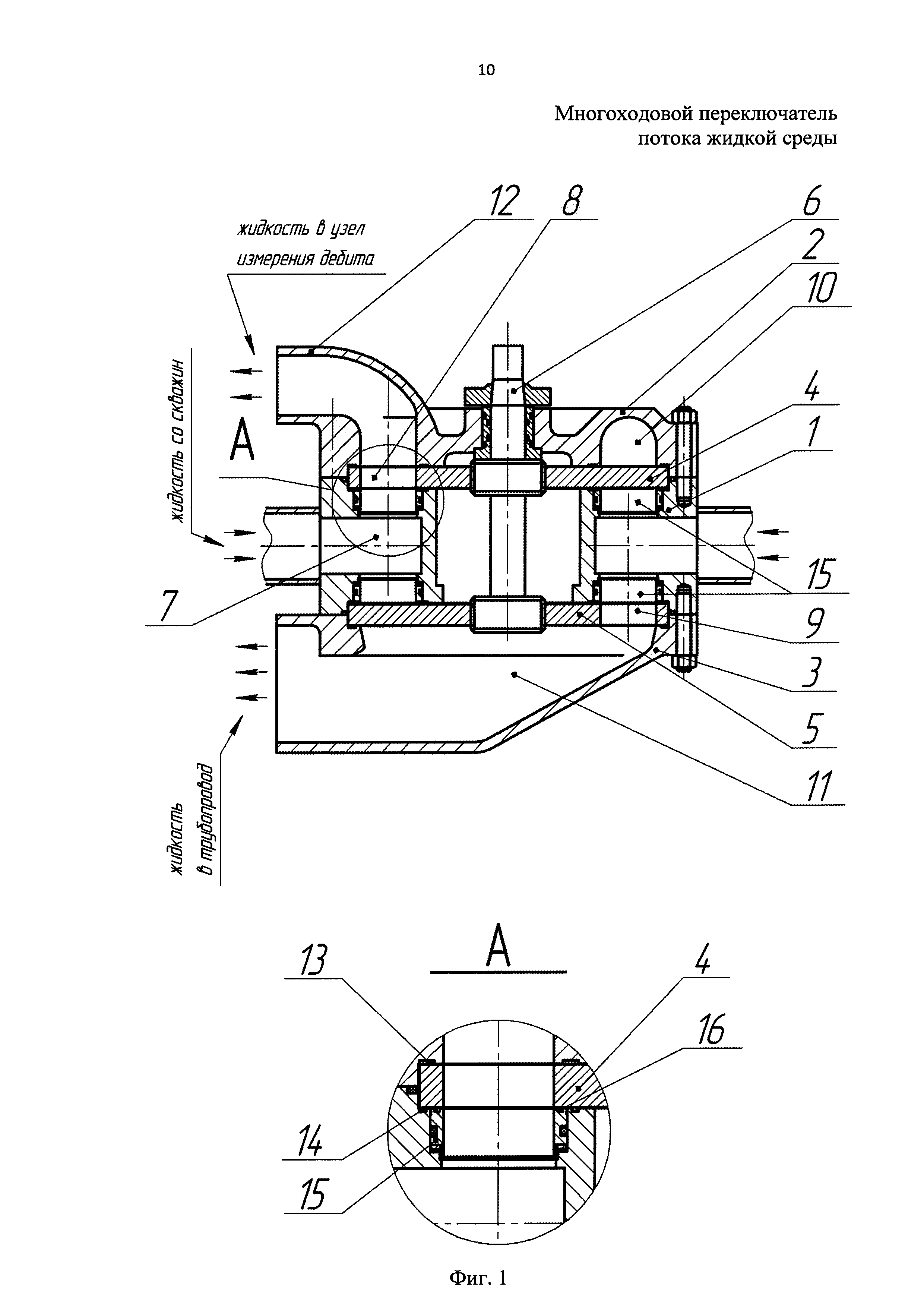
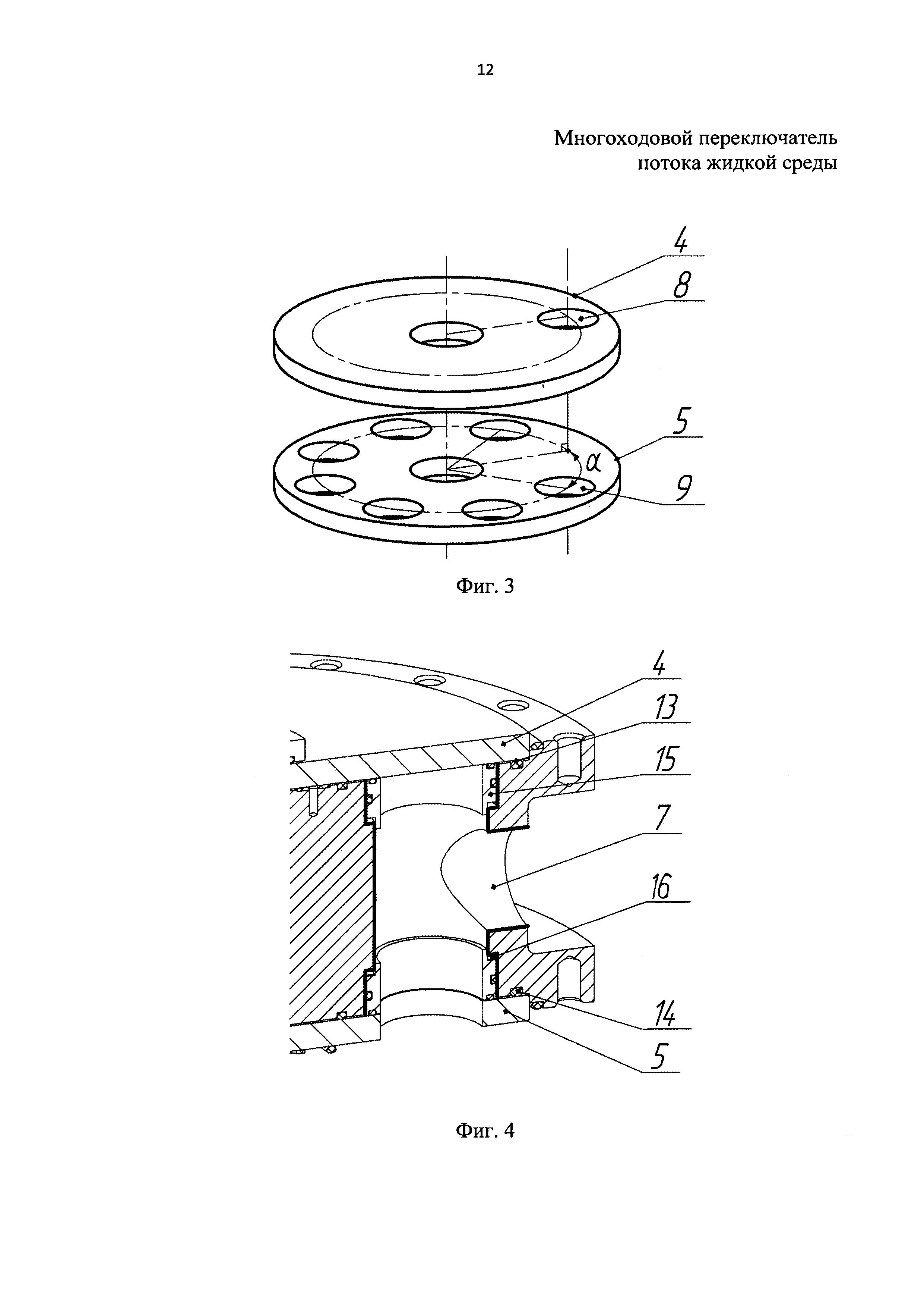
Сущность изобретения поясняется чертежами, где на фиг. 1 представлена конструкция многоходового переключателя потока жидкой среды в разрезе; на фиг. 2 - вид в плане на нижний дисковый шибер: а) с круглыми отверстиями, б) с одним дугообразным отверстием; на фиг. 3 - взаимное расположение дисковых шиберов в устройстве; на фиг. 4 - конфигурация Т-образного радиального распределительного канала в корпусе устройства.

[17]

Многоходовой переключатель потока (фиг. 1) содержит корпус 1 с верхней 2 и нижней 3 торцевыми крышками, между которыми и торцами корпуса расположены верхний 4 и нижний 5 дисковые шиберы, соединенные между собой посредством вала 6, расположенного вдоль оси корпуса. В корпусе выполнены Т-образные радиальные распределительные каналы 7, равномерно расположенные с угловым шагом α=360°/N, где N - количество каналов. На верхнем дисковом шибере выполнено одно отверстие 8, а на нижнем дисковом шибере выполнены отверстия 9, количество которых на одно меньше количества Т-образных радиальных каналов в корпусе, расположенные на нижнем дисковом шибере с аналогичны угловым шагом α (фиг. 2а). В частном случае изобретения нижний шибер может быть выполнен с одним дугообразным отверстием по дуге с угловым шагом β=360°-2α (фиг. 2б). Взаимное расположение отверстий на верхнем и нижнем шибере таково, что верхний шибер перекрывает все отверстия нижнего шибера (фиг. 3). Ось вращения шиберов (ось вала) и оси отверстий параллельны. Шиберы 4 и 5 образуют с верхней и нижней торцевыми крышками соответственно верхнюю 10 и нижнюю 11 полости. Верхняя полость имеет кольцеобразную форму и сообщается посредством патрубка 12 с каналом подачи жидкости в узел измерения дебита, а нижняя полость сообщается с каналом подачи жидкости в трубопровод. На поверхностях верхней и нижней торцевых крышек и корпуса расположены подшипники скольжения соответственно 13 и 14, предназначенные для уплотнения дисковых шиберов и их центровки при вращении. Кроме того, плоские поверхности дисковых шиберов уплотнены по корпусу посредством подпружиненных седел 15, установленных в вертикальных участках Т-образных радиальных распределительных каналов 7 (фиг. 4). Седла снабжены на уплотняющих поверхностях кольцевыми вставками 16, которые могут быть выполнены из металлокерамического или полимерного материала.

[18]

Многоходовой переключатель потока жидкой среды работает следующим образом. Верхний 4 и нижний 5 дисковые шиберы изначально располагают таким образом, чтобы отверстия в нижнем дисковом шибере совпадали с Т-образными радиальными каналами 7, расположенными в корпусе 1. При помощи привода через вал 6 можно осуществлять поворот верхнего 4 и нижнего 5 дисковых шиберов на один угловой шаг α. Затем устройство работает следующим образом: жидкая среда по Т-образным каналам 7, за исключением одного из них, поступает через отверстия 9 в нижнем дисковом шибере 5 в нижнюю полость 11 и далее в промысловый трубопровод, а через отверстие 8 в верхнем дисковом шибере 4 из одного Т-образного радиального канала 7 поступает в верхнюю полость 10 и далее в узел измерения дебита. Уплотнение поверхностей верхнего 4 и нижнего 5 дисковых шиберов с корпусом 1 происходит за счет подпружиненных седел 15, размещенных в вертикальных участках Т-образных радиальных каналов, за счет взаимодействия поверхности верхнего 4 и нижнего 5 шиберов с кольцевыми вставками 16, расположенными на подпружиненных седлах. Для предотвращения заклинивания верхнего 4 и нижнего 5 дисковых шиберов между корпусом 1 и верхней 2 и нижней 3 торцевыми крышками располагаются кольцевые подшипники скольжения 13 и 14, обеспечивающие свободное вращение шиберов по оси вращения вала 6.

[19]

Таким образом, предложенное изобретение позволяет упростить процесс распределения потока жидкой среды с одновременным обеспечением герметизации пространства между изолированными полостями устройства и повысить его надежность.

Как компенсировать расходы
на инновационную разработку
Похожие патенты