Изобретение относится к измерительной технике, представляет собой способ автоматизированного измерения сопротивлений и может применяться для удаленного контроля сопротивлений в случае их соизмеримости с сопротивлением линий связи и коммутации. При реализации способа входы двухпроводного мультиплексора подключают к двум точкам объекта контроля, выходы мультиплексора подключают к входам двухпроводного измерителя сопротивлений. При помощи ключей мультиплексора проводят четыре коммутации и четыре измерения соответствующих промежуточных сопротивлений. По значениям промежуточных измерений определяют искомое сопротивление. Техническим результатом является возможность с помощью двухпроводного мультиплексора контролировать сопротивление большого числа пар точек с учетом сопротивления подводящих проводов и коммутационных элементов мультиплексора, а также проверять целостность измерительных цепей. 1 ил.
Способ автоматизированного измерения сопротивлений, заключающийся в использовании двухпроводного мультиплексора, отличающийся тем, что подключают входы мультиплексора к двум точкам объекта контроля m и n, подключают выходы мультиплексора к входам двухпроводного измерителя сопротивлений Н и L, при помощи ключей мультиплексора KНm, KLm, KHn, KLn проводят четыре коммутации KHm - KLm, KHn - KLn, KHm - KLn, KHn - KLm и четыре измерения промежуточных сопротивлений R1, R2, R3, R4 соответственно, по значениям промежуточных измерений определяют искомое сопротивление Rx=(R4+R3-R2-R1)/2.
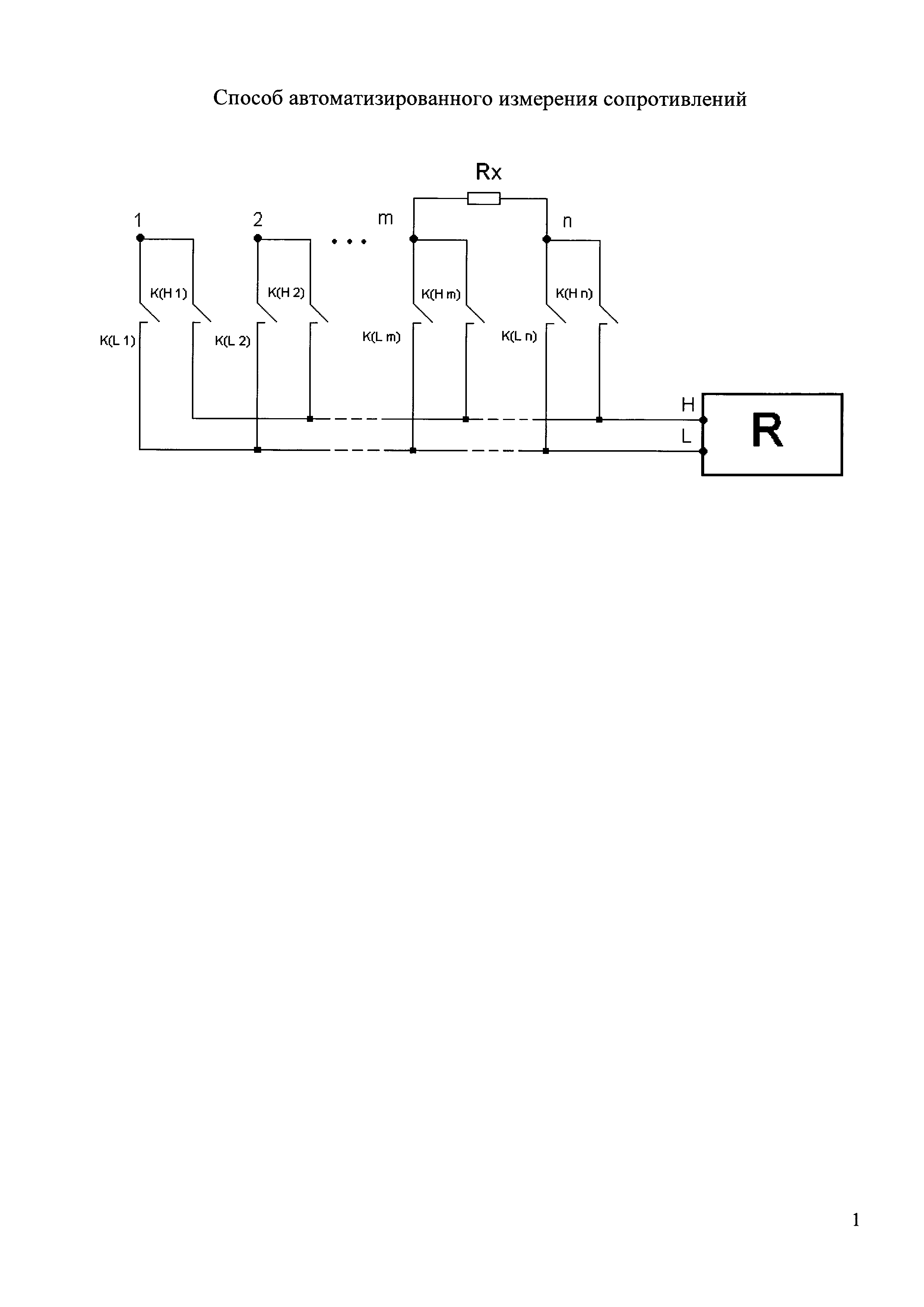
Изобретение относится к измерительной технике, в частности к способам удаленного контроля сопротивлений в случае их соизмеримости с сопротивлением линий связи и коммутации. При автоматизированном контроле объектов, имеющих несколько контролируемых точек с сопротивлением, соизмеримым с сопротивлением подводящих проводов и коммутаторов, в большинстве случаев используются следующие способы: - способ 2-проводного мультиплексора [1, стр. 379, прототип], в котором для учета сопротивления подводящих проводов и коммутаторов предварительно закорачиваются точки измерения m, n, производится измерение систематической (методической) составляющей погрешности и дальнейший ее учет; - способ 4-проводного мультиплексора [1, стр. 370, 380], когда к точкам измерения m, n подходят по два провода от измерителя, специально предназначенного для такого измерения. При достаточно большом числе пар точек измерения m, n оба эти способа имеют существенные недостатки: - способ учета систематической погрешности измерения при использовании 2-проводного мультиплексора требует предварительной операции закоротки точек измерения m, n, что затруднительно при автоматическом контроле большого числа пар; - способ 4-проводного измерения требует в два раза большего числа коммутаторов; так, система сбора данных/коммутации НР34970А имеет 10 каналов такого измерения на один слот, соответственно, 3 слота могут измерить не более 30 независимых пар точек контроля [1, стр. 409]. Создание аналогичного по схеме мультиплексора при большом числе пар снижает его надежность, повышает конструктивную громоздкость и стоимость. Задачей, на решение которой направлено изобретение, является разработать способ, позволяющий измерять сопротивление с учетом сопротивления подводящих проводов и коммутационных элементов. Техническим результатом является повышение точности измерения, обеспечение измерения сопротивления, соизмеримого или меньшего с сопротивлением линий связи мультиплексора, и обеспечение проверки целостности измерительных цепей. Технический результат достигается тем, что подключают входы двухпроводного мультиплексора к двум точкам объекта контроля, подключают выходы мультиплексора к входам двухпроводного измерителя сопротивлений, при помощи ключей мультиплексора проводят четыре коммутации и четыре измерения соответствующих промежуточных сопротивлений, по значениям промежуточных измерений определяют искомое сопротивление. На чертеже представлена схема 2-проводного мультиплексора для измерения сопротивления Rx. В данной схеме точки контроля 1, 2, …, m, …, n подключаются к одному измерительному каналу 2-проводного измерителя сопротивления в точках Н и L с помощью коммутаторов K(Н1), K(L1); …; K(Hm), K(Lm); …; K(Hn), K(Ln), где Н - потенциальный вывод измерителя сопротивления; L - низкопотенциальный вывод измерителя сопротивления; m, n - точки измерения сопротивления; K(Hm), K(Lm) - коммутаторы, подключающие точку m к входу Н, точку m к входу L измерителя сопротивления соответственно; K(Hn), K(Ln) - коммутаторы, подключающие точку n к входу Н, точку n к входу L измерителя сопротивления соответственно. При включении коммутаторов в данных измерительных каналах образуются паразитные сопротивления r(H1), r(L1); …; r(Hm), r(Lm); r(Hn), r(Ln); … (сопротивления коммутаторов и подводящих цепей), которые необходимо учитывать при измерении соизмеримого с ними неизвестного сопротивления Rx. Осуществление способа. Способ измерений состоит из определенной последовательности 4-х коммутаций, совместных измерений промежуточных сопротивлений R1, R2, R3, R4 и расчета Rx по значениям промежуточных измерений. Способ совместных измерений: - замыкаются коммутаторы K(Hm), K(Lm) (остальные разомкнуты) и измеряется сопротивление R1=[r(Hm)+r(Lm)], при этом дополнительно контролируется целостность измерительной цепи путем сравнения с установленным на него допуском R1доп Невыполнение неравенства (1) свидетельствует о нецелостности цепи; - замыкаются коммутаторы K(Hn), K(Ln) (остальные разомкнуты) и измеряется сопротивление R2=[r(Hn)+r(Ln)] с допуском R2доп Невыполнение неравенства (2) свидетельствует о нецелостности цепи; - замыкаются коммутаторы K(Hm), K(Ln) (остальные разомкнуты) и измеряется сопротивление R3=[r(Hm)+Rx+r(Ln)]; - замыкаются коммутаторы K(Hn), K(Lm) (остальные разомкнуты) и измеряется сопротивление R4=[r(Hn)+Rx+r(Lm)]. Рассчитывается неизвестное сопротивление Формула (3) получается из следующей системы уравнений: R1=r(Hm)+r(Lm); R2=r(Hn)+r(Ln); R3=r(Hm)+Rx+r(Ln); R4=r(Hn)+Rx+r(Lm). Нахождение неизвестного Rx из системы уравнений, обладающей внутренней симметрией относительно Rx ([r(Hn)+Rx+r(Lm)]+[r(Hm)+Rx+r(Ln)]-[r(Hn)+r(Ln)]-[r(Hm)+r(Lm)])/2=(r(Hn)+R+r(Lm)+r(Hm)+Rx+r(Ln)-r(Hn)-r(Ln)-r(Hm)-r(Lm))/2=(Rx+Rx)/2=Rx. Таким образом, способ позволяет повысить точность измерения сопротивлений за счет исключения паразитных сопротивлений линий связи измерительных цепей, обеспечивает измерение сопротивления, соизмеримого или меньшего с сопротивлением линий связи мультиплексора, и обеспечивает проверку целостности измерительных цепей. Также способ позволяет с помощью 2-проводного мультиплексора контролировать в два раза больше пар точек контроля, чем при использовании 4-проводного мультиплексора. Список использованных источников 1. НР34970А. Система сбора данных/коммутации. Руководство по эксплуатации. Кодовый номер инструкции 34970-ХХХХХ. Издано: Апрель 1998. Издание 1. 2. Н.П. Сергеев. Метрология, стандартизация и технические измерения в радиоэлектронике [текст]: учеб. пособие / Н.П. Сергеев. - М.: МАТИ, 2008. - 360 с.

