патент
№ RU 2652525
МПК G01N3/60

Установка для проведения испытаний стойкости к термоударам приборов космического назначения

Авторы:
Семенов Виктор Львович
Номер заявки
2017104286
Дата подачи заявки
09.02.2017
Опубликовано
26.04.2018
Страна
RU
Как управлять
интеллектуальной собственностью
Чертежи 
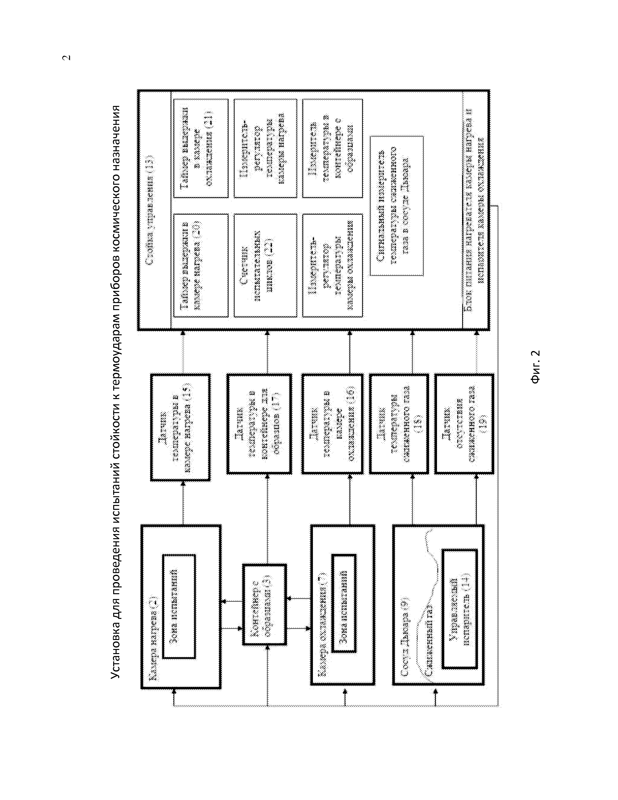
2
Реферат

Изобретение относится к технике для проведения испытаний, а именно для исследования устойчивости к воздействию резких температурных колебаний, и может быть использовано при испытаниях на термоудар приборов космического назначения. Установка для проведения испытаний стойкости к термоударам приборов космического назначения содержит соединенные между собой камеры охлаждения и нагрева с нагревателем, контейнер для размещения образцов, выполненный с возможностью перемещения между камерами на тяге, и сосуд Дьюара. Установка размещена на станине с возможностью перемещения для обеспечения замены сосуда Дьюара и снабжена датчиками температуры в камере нагрева, в камере охлаждения, в контейнере для образцов и датчиком температуры сжиженного газа, и счётчиком испытательных циклов камера охлаждения соединена с сосудом Дьюара посредством отверстия в термоизолирующей трубке, размещенной внутри сосуда Дьюара и на которой с возможностью замены и размещения с натягом установлен сосуд Дьюара, снабженный управляемым испарителем. Технический результат - повышение технологичности процесса испытания образцов. 7 з.п. ф-лы, 2 ил.

Формула изобретения

1. Установка для проведения испытаний стойкости к термоударам приборов космического назначения, содержащая соединенные между собой камеры охлаждения и нагрева с нагревателем, контейнер для размещения образцов, выполненный с возможностью перемещения между камерами на тяге, и сосуд Дьюара, отличающаяся тем, что установка размещена на станине с возможностью перемещения для обеспечения замены сосуда Дьюара и снабжена датчиками температуры в камере нагрева, в камере охлаждения, в контейнере для образцов и датчиком температуры сжиженного газа и счётчиком испытательных циклов, камера охлаждения соединена с сосудом Дьюара посредством отверстия в термоизолирующей трубке, размещенной внутри сосуда Дьюара и на которой с возможностью замены и размещения с натягом установлен сосуд Дьюара, снабженный управляемым испарителем.

2. Установка по п.1, отличающаяся тем, что нагреватель снабжен терморегулятором.

3. Установка по п.1, отличающаяся тем, что в камерах охлаждения и нагрева выполнены отверстия для регулирования давления сжиженного газа.

4. Установка по п.1, отличающаяся тем, что сосуд Дьюара снабжен датчиком отсутствия сжиженного газа.

5. Установка по п.4, отличающаяся тем, что датчик выполнен звуковым.

6. Установка по п.1, отличающаяся тем, что на станине выполнен трапециевидный паз для обеспечения перемещения установки.

7. Установка по п.1, отличающаяся тем, что снабжена таймерами выдержки в камере нагрева и охлаждения.

8. Установка по п.1, отличающаяся тем, что она снабжена стойкой управления, размещенной на штативе, который выполнен с обеспечением возможности перемещения и изменения высоты, на котором посредством соединительного элемента размещена станина.

Описание

[1]

Изобретение относится к технике для проведения испытаний, а именно для исследования устойчивости к воздействию резких температурных колебаний, и может быть использовано при испытаниях на термоудар приборов космического назначения.

[2]

Из уровня техники известно устройство для испытаний на термоудар, в котором испытуемое изделие установлено с возможностью поочередного соединения с магистралью горячей и магистралью холодной среды. Изделие соединено посредством вентиля, емкости и вентиля с вакуумным насосом. На трубопроводах установлены трехходовые краны. Изделие подвергают термоудару воздействием сред разной температуры. Вакуумным насосом откачивают профилированные полости изделия и регулирующей аппаратуры. Установка трехходовых кранов устраняет застойные зоны, возникающие при переключении с одной температурной среды на другую, что повышает точность испытаний за счет создания заданного перепада температур при термоударе (см. SU 1490600, 30.06.1989) (1).

[3]

К недостаткам известного технического решения (1) относится невозможность соблюдения условий испытаний при воздействии температур от 83 до 473 К, что не позволяет достоверно оценить работоспособность устройств, температуры эксплуатации которых находятся в указанном диапазоне.

[4]

Наиболее близким аналогом заявленного устройства является устройство для термоциклических испытаний образцов (см. SU1753364A1, 07.08.1992), содержащее соосно установленные и соединенные между собой посредством переходника камеру нагрева и камеру охлаждения в виде сосуда Дьюара со средством отвода среды в атмосферу и контейнер для размещения образцов с механизмом его перемещения из одной камеры в другую, причем на боковой поверхности переходника выполнена перфорация.

[5]

Недостатком наиболее близкого аналога (2) является сложность контроля и управления процессом испытания образцов, а также необходимость вынужденной остановки процесса испытаний при смене сосуда Дьюара, а также то, что размеры испытываемых образцов ограничены размерами сосуда Дьюара.

[6]

Техническим результатом заявленного изобретения является повышение технологичности процесса испытания образцов, обусловленное обеспечением контроля и управления процессом испытания образцов, а также обеспечением беспрерывной работы установки при смене сосуда Дьюара и возможности испытания образцов не ограниченных размерами сосуда Дьюара.

[7]

Технический результат достигается за счет создания установки для проведения испытаний стойкости к термоударам приборов космического назначения, содержащей соединенные между собой камеры охлаждения и нагрева с нагревателем, контейнер для размещения образцов, выполненный с возможностью перемещения между камерами на тяге и сосуд Дьюара, установка размещена на станине с возможностью перемещения для обеспечения замены сосуда Дьюара и снабжена датчиками температуры в камере нагрева, в камере охлаждения, в контейнере для образцов и датчиком температуры сжиженного газа и счётчиком испытательных циклов, камера охлаждения соединена с сосудом Дьюара посредством отверстия в термоизолирующей трубке, размещенной внутри сосуда Дьюара и на которой с возможностью замены и размещения с натягом установлен сосуд Дьюара, снабженный управляемым испарителем.

[8]

В частном варианте исполнения нагреватель снабжен терморегулятором.

[9]

В частном варианте исполнения в камерах охлаждения и нагрева выполнены отверстия для регулирования давления сжиженного газа.

[10]

В еще одном частном варианте исполнения сосуд Дьюара снабжен датчиком отсутствия сжиженного газа.

[11]

В другом частном варианте исполнения датчик выполнен звуковым.

[12]

В частном варианте исполнения на станине выполнен трапециевидный паз для обеспечения перемещения установки.

[13]

В частном варианте исполнения установка снабжена таймерами выдержки в камере нагрева и охлаждения.

[14]

В частном варианте исполнения установка снабжена стойкой управления, размещенной на штативе, который выполнен с обеспечением возможности перемещения и изменения высоты, на котором посредством соединительного элемента размещена станина.

[15]

Заявленное изобретение проиллюстрировано следующими чертежами:

[16]

Фиг.1 - общая схема установки для проведения испытаний стойкости к термоударам приборов космического назначения;

[17]

Фиг.2 - блок-схема установки для проведения испытаний стойкости к термоударам приборов космического назначения;

[18]

на которых отмеченные позиции отображают следующее:

[19]

1 - механизм перемещения контейнера;

[20]

2 - камера нагрева;

[21]

3 - контейнер для размещения образцов;

[22]

4 - регулируемый нагреватель;

[23]

5 - кварцевая труба;

[24]

6 - технологическое отверстие для стравливания паров жидкого азота;

[25]

7 - камера охлаждения;

[26]

8 – управляемый испаритель;

[27]

9 - сосуд Дьюара;

[28]

10 – камера из термоизолирующего материала;

[29]

11 – термоизолирующая трубка;

[30]

12 - станина;

[31]

13 - стойка управления;

[32]

14 - управляемый испаритель;

[33]

15 - датчик температуры в камере нагрева;

[34]

16 - датчик температуры в камере охлаждения;

[35]

17 - датчик температуры в контейнере для образцов;

[36]

18 - датчик температуры сжиженного газа;

[37]

19 - датчик отсутствия сжиженного газа;

[38]

20 - таймер выдержки в камере нагрева;

[39]

21 - таймер выдержки в камере охлаждения;

[40]

22 - счётчик испытательных циклов.

[41]

Установка для проведения испытаний стойкости к термоударам приборов космического назначения состоит из следующих основных составных частей: камера охлаждения (7), камера нагрева (2), сосуд Дьюара (9). Контейнер для размещения образцов для испытаний (3) размещен на тяге и перемещается между камерами охлаждения и нагрева. Камера нагрева (2) нагревается посредством регулируемого терморегулятором нагревателя (4). Охлаждение образцов проводят в камере охлаждения (7), которая охлаждается сжиженным газом (например, азотом), который проходит по термоизолирующей трубке (11), размещенной внутри сосуда Дьюара (9). Режим охлаждения в камере охлаждения (7) регулируется при помощи управляемого испарителя (8), размещенного в сосуде Дьюара (9). Установка размещена на станине (12) и может перемещаться за счет выполнения в станине трапециевидного паза для замены сосуда Дьюара, при этом процесс испытания образцов не прерывается. Сосуд Дьюара (9) после сигнала датчика отсутствия сжиженного газа (19) снимают с термоизолирующей трубки (11), на которую он посажен с натягом и меняют его на новый. Установка снабжена датчиками температуры в камере нагрева (15), в камере охлаждения (16), в контейнере для образцов (17), датчиком температуры сжиженного газа (18), а также таймерами выдержки в камере нагрева (20) и охлаждения (21) и счётчик испытательных циклов (22). Показания датчиков выводятся на стойке управления (13), при помощи которой также выставляется время выдержки образцов и регулируется охлаждение и нагрев. Стойка управления размещена на штативе, длина которого может изменяться. Штатив также может перемещаться посредством закрепленных на нем роликов. Станина (12) укреплена при помощи соединительных элементов на штативе и таким образом вся установка может перемещаться в трех плоскостях.

[42]

Точность измерений температуры обеспечивается наличием платиновых датчиков температуры с точностью измерения ± 0,2 % в четырёх зонах. Испытательный стенд обеспечивает проведение граничных испытаний и может быть использован в исследовательских целях.

[43]

Заявленная установка была использована при реализации группового испытания стойкости к термоударам бескорпусных диодов для солнечных батарей космических аппаратов. Микроэлектронные приборы подвергали воздействию ряду непрерывно следующих друг за другом испытательных циклов. Каждый цикл состоял из следующих этапов: диоды, предварительно помещённые в контейнер (4), помещали в камеру нагрева (2) посредством механизма перемещения контейнера (1), значение температуры, в которой заранее довели до верхнего рабочего значения температуры эксплуатации микроэлектронных приборов, и выдерживали при этой температуре до достижения теплового равновесия в течение требуемого времени в инертной среде азота в герметичной камере; после выдержки в камере тепла микроэлектронные приборы переносили в камеру охлаждения (7) посредством механизма перемещения контейнера (1), значение температуры, в которой заранее довели до нижнего рабочего значения температуры эксплуатации устройств и выдерживали испытываемые устройства до достижения теплового равновесия в течение требуемого времени в инертной среде азота в герметичной камере с регулируемыми характеристиками за счёт наличия управляемого испарителя (8) жидкого азота и системы поддержания стабильного потока паров жидкого азота в испытуемой камере, что обеспечивало независимость от условий окружающей среды. Первая итерация перемещения в камеру нагрева и последующая выдержка необходима для удаления с поверхности бескорпусных диодов влаги. После окончания последнего цикла объекты испытаний выдерживали при комнатной температуре при воздействии потока сжатого азота, температурой 295 ± 2 К, до достижения теплового равновесия во избежание образования конденсата на микроэлектронном приборе.

[44]

Установка для проведения испытаний стойкости к термоударам приборов космического назначения позволяет проводить граничные испытания, испытания на воздействие быстрого изменения температуры, термоциклирования в температурном интервале от 83 до 473 К при скорости изменения температуры dT/dτ от 10 К/с и точности измерения температуры ± 4 К. Основное преимущество предложенного решения заключается в возможности быстрого охлаждения изделий до заданной температуры за счет интенсивного обдува их парами азота. При этом обеспечена независимость тепловых режимов камер нагрева и охлаждения. Также обеспечен контроль и управление процессом испытания образцов и возможность беспрерывной работы установки при смене сосуда Дьюара. Также выполнение камеры охлаждения вне сосуда Дьюара позволяет не ограничивать размеры образцов размерами камеры Дьюара.

Как компенсировать расходы
на инновационную разработку
Похожие патенты