патент
№ RU 2476871
МПК G01N27/90

МНОГОЭЛЕМЕНТНЫЙ ВИХРЕТОКОВЫЙ ПРЕОБРАЗОВАТЕЛЬ

Авторы:
Самокрутов Андрей Анатольевич
Номер заявки
2011141936/28
Дата подачи заявки
18.10.2011
Опубликовано
27.02.2013
Страна
RU
Как управлять
интеллектуальной собственностью
Чертежи 
2
Реферат

Изобретение относится к неразрушающему контролю и может быть использовано при диагностике трубопроводов из ферромагнитных материалов. Технический результат - повышение технологичности изготовления, обеспечение полной диагностики всей контролируемой зоны и повышение чувствительности к обнаруживаемым дефектам. Сущность: многоэлементный вихретоковый преобразователь содержит группы 1-3 преобразователей, расположенных в ряд вдоль общей для всех групп шины возбуждения на печатной плате 4, выполненной на подложке 5. Преобразователи в каждой из групп 1-3 размещены поперек шины 15 возбуждения и содержат дифференциальный вихретоковый преобразователь 6 (7, 8), расположенный по центру относительно шины 15 возбуждения, и два индукционных преобразователя 9, 10 (11, 12; 13, 14) - с противоположных сторон. Шина 15 возбуждения имеет участок 16 прямого тока на печатной плате 4 и участок 17 обратного тока внутри экрана 18, накрывающего подложку 5. На печатной плате все элементы устройства создаются в едином технологическом процессе, что обеспечивает точное воспроизведение геометрии обмоток всех преобразователей. Применение только одной шины 15 (одно- или многовитковой) для возбуждения поля позволяет уменьшить чувствительность преобразователей к перекосам системы относительно контролируемой поверхности. 3 з.п. ф-лы, 2 ил.

Формула изобретения

1. Многоэлементный вихретоковый преобразователь, содержащий N>1 групп одноэлементных преобразователей, расположенных в ряд вдоль общей для всех групп шины возбуждения на печатной плате, выполненной на подложке, преобразователи в каждой группе размещены поперек шины возбуждения и содержат дифференциальный вихретоковый преобразователь по центру относительно шины возбуждения и два индукционных преобразователя с противоположных сторон или один индукционный преобразователь с одной стороны, шина возбуждения выполнена с участками прямого и обратного тока, при этом участок прямого тока размещен на печатной плате, а участок обратного тока - внутри экрана, накрывающего подложку.

2. Многоэлементный вихретоковый преобразователь по п.1, в котором одноэлементный дифференциальный вихретоковый преобразователь включает в себя прямоугольную измерительную катушку с выходом.

3. Многоэлементный вихретоковый преобразователь по п.1, в котором общая шина возбуждения выполнена одно- или многовитковой.

4. Многоэлементный вихретоковый преобразователь по п.1, в котором экран выполнен секционированным по длине.

Описание

[1]

Изобретение относится к неразрушающему контролю и может быть использовано при диагностике трубопроводов из ферромагнитных материалов.

[2]

Известен многоэлементный вихретоковый преобразователь, содержащий n одноэлементных преобразователей, расположенных на диэлектрической подложке, и включающий ферритовый сердечник, выполненный в виде стержня, на котором установлена катушка индуктивности, при этом количество одноэлементных преобразователей выбрано из условия:

[3]

,

[4]

где: n≥2;

[5]

w - ширина полосы контроля, мм;

[6]

Rс - радиус ферритового стержня, мм -

[7]

патент РФ на полезную модель №51748, G01N 27/90, 2006 г.

[8]

Недостатки известного многоэлементного преобразователя следующие:

[9]

- выполненное по традиционной технологии, устройство предусматривает намотку многовитковых катушек на жестком каркасе с использованием ферритовых сердечников. Конструкции преобразователей, выполненных с использованием намотки, нетехнологичны и трудоемки в случае многоканальных систем, состоящих из большого количества однотипных элементов;

[10]

- круглая форма преобразователя не позволяет обеспечить полное перекрытие зоны диагностики, т.е. имеется зона нечувствительности;

[11]

- принятое расстояние между катушками, равное 3 Rс, также увеличивает зону нечувствительности.

[12]

Известен многослойный вихретоковый преобразователь, содержащий параллельные ряды одноэлементных преобразователей, размещенные в гибкой структуре, состоящей из множества слоев, каждый из которых имеет двухмерный подмассив, при этом параллельные ряды одноэлементных преобразователей, расположенных в одном подмассиве, расположены в шахматном порядке по отношению к параллельным рядам преобразователей в других подмассивах - патент США №5659248, G01N 27/90, 1997 г.

[13]

В отличие от предыдущего аналога это устройство при диагностике полностью покрывает объект контроля (ОК) за счет большого количества преобразователей.

[14]

Недостаток устройства связан именно с избыточным количеством преобразователей, следствием чего является сложность изготовления и увеличенная стоимость.

[15]

Другой недостаток преобразователя - сниженная точность контроля из-за многослойности структуры вследствие ошибок, неизбежных при совмещении слоев всей структуры.

[16]

Прототипом изобретения является многоэлементный вихретоковый преобразователь на гибкой основе, содержащий два ряда одноэлементных преобразователей, при этом преобразователи одного ряда расположены в шахматном порядке относительно преобразователей другого ряда, в гибкой основе имеется центральный продольный вырез - заявка США №2010007342, G01N 27/90, 2010 г.

[17]

Прототип имеет следующие недостатки:

[18]

- нетехнологичность устройства вследствие трудоемкости изготовления намоточных изделий;

[19]

- круглая форма и размещение преобразователей одного ряда в шахматном порядке относительно преобразователей другого ряда не позволяет обеспечить полное перекрытие зоны диагностики, т.е. имеется зона нечувствительности;

[20]

- наличие в гибкой основе центрального продольного выреза, который обеспечивает гибкость платы, вносит неоднозначность в алгоритм обработки данных из-за изменения расстояния между рядами преобразователей.

[21]

В связи с этим технической задачей, решаемой изобретением, является повышение технологичности изготовления, обеспечение полной диагностики всей контролируемой зоны и повышение чувствительности к обнаруживаемым дефектам.

[22]

Эта задача решена многоэлементным вихретоковым преобразователем, содержащим N>1 групп одноэлементных преобразователей, расположенных в ряд вдоль общей для всех групп шины возбуждения на печатной плате, выполненной на подложке. Преобразователи в каждой группе размещены поперек шины возбуждения и содержат дифференциальный вихретоковый преобразователь - по центру относительно шины возбуждения и два индукционных преобразователя - с противоположных сторон или один индукционный преобразователь - с одной стороны, шина возбуждения выполнена с участками прямого и обратного тока, при этом участок прямого тока размещен на печатной плате, а участок обратного тока - внутри экрана, накрывающего подложку.

[23]

В частных случаях выполнения преобразователь может иметь следующие признаки:

[24]

- одноэлементный дифференциальный вихретоковый преобразователь включает в себя прямоугольную измерительную катушку с выходом;

[25]

- общая шина возбуждения выполнена одно- или многовитковой;

[26]

- экран выполнен секционированным по длине.

[27]

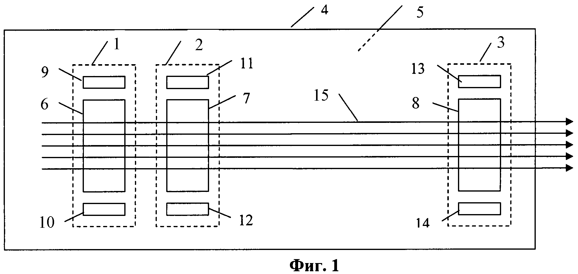
На фиг.1 приведена конструкция устройства с тремя группами преобразователей; на фиг.2 - вид устройства с экраном.

[28]

Многоэлементный вихретоковый преобразователь по фиг.1, 2 содержит группы 1, 2, 3 одноэлементных преобразователей, расположенных в ряд вдоль общей для всех групп шины возбуждения на печатной плате 4, выполненной на подложке 5. Каждая из групп 1-3 включает в себя дифференциальные вихретоковые преобразователи 6, 7, 8 и индукционные преобразователи 9, 10, 11, 12, 13, 14.

[29]

Преобразователи в каждой из групп 1-3 размещены поперек шины 15 возбуждения и содержат дифференциальный вихретоковый преобразователь 6 (7, 8) - по центру относительно шины 15 возбуждения и два индукционных преобразователя 9, 10 (11, 12; 13, 14) - с противоположных сторон.

[30]

На фиг.1, 2 представлено устройство с двумя индукционными преобразователями в каждой из групп 1-3 и многовитковой шиной 15 возбуждения, но возможно выполнение устройства с одним индукционным преобразователем в каждой из групп 1-3; например, преобразователем 9 (11, 13), размещенным только с одной стороны, и одновитковой шиной 15 возбуждения. Это выполнение зависит от объекта контроля и требуемой чувствительности.

[31]

Шина 15 возбуждения имеет участок 16 прямого тока на печатной плате 4 и участок 17 обратного тока внутри экрана 18, накрывающего подложку 5.

[32]

Расположением дифференциальных вихретоковых преобразователей 6-8 по центру относительно шины 15 возбуждения достигается высокая чувствительность к дефектам.

[33]

На печатной плате все элементы устройства создаются в едином технологическом процессе, что обеспечивает точное воспроизведение геометрии обмоток всех преобразователей.

[34]

Печатная плата 4 приклеивается к экрану 18, имеющему паз 19 для размещения участка 17 обратного тока шины 15.

[35]

Конструкция экрана 18 может быть разъемной (как показано на фиг.2) с целью упрощения изготовления паза.

[36]

Для осуществления диагностики криволинейной поверхности экран 18 может быть выполнен секционированным по длине. В этом случае преобразователь становится гибким и легко размещается на поверхности, имеющей изгибы и неровности.

[37]

Симметричность расположения индукционных преобразователей 9-14 в группах 1-3 при условии выполнения шины 15 возбуждения с участком 16 прямого тока и участком 17 обратного тока, полностью экранированным от участка 16, позволяет повысить уровень поля в материале ОК при одновременном сохранении высокой степени балансировки дифференциальных вихретоковых преобразователей 6-8.

[38]

Применение только одной шины 15 (одно- или многовитковой) для возбуждения поля в ОК позволяет уменьшить чувствительность преобразователей к перекосам системы относительно контролируемой поверхности.

[39]

Работа устройства осуществляется следующим образом.

[40]

Возбуждение тока в поверхностном слое ОК осуществляется участком 16 прямого тока шины 15 возбуждения, участок 17 обратного тока расположен внутри экрана 18 и не взаимодействует с металлом ОК.

[41]

Дифференциальные вихретоковые преобразователи 6-8 служат для диагностики дефектов в ОК путем измерения значений вихревых токов на высоких частотах. Назначение индукционных преобразователей 9-14 - измерение зазоров между поверхностью ОК и диэлектрической подложкой 5 путем измерения значений токов индукции на низких частотах. Поскольку каналы измерения зазоров работают на очень низкой частоте, влиянием вихревых токов в них можно пренебречь, вследствие чего преобразователи 9-14 являются индукционными.

[42]

Все индукционные и вихретоковые преобразователи 6-14 в группах 1-3 образуют матрицу элементов, участвующих в формировании карты поверхности ОК при движении многоэлементного вихретокового преобразователя, который может быть размещен на платформе любого мобильного устройства. Последовательность дифференциальных вихретоковых преобразователей 6-8 в группах 1-3, имеющих оптимальную прямоугольную форму измерительных катушек и размещенных вдоль общей шины 15 возбуждения без смещения и без зазора между группами 1-3, позволяет вести сканирование поверхности без пропусков, упрощая алгоритм преобразования принимаемой информации в карту поверхности ОК.

[43]

В случае параллельного расположения плоскости трещины ОК и шины 15 возбуждения тангенциальная составляющая магнитного потока пересекает дефект ОК в поперечном направлении. Вследствие его рассеяния на воздушном промежутке в металле, образованном полостью трещины или иного дефекта, изменяется магнитное поле в зоне дефекта, а также изменяются сопутствующие магнитному потоку вихревые токи, поэтому преобразователи 6-8 фиксируют сигнал дефекта.

[44]

В другом случае, при нормальном расположении плоскости трещины относительно шины 15 возбуждения, контур вихревых токов пересекает плоскость трещины и испытывает отклонение от прямолинейного направления, что также вызывает появление сигнала на выходе дифференциальных преобразователей 6-8.

[45]

Во всех остальных случаях взаимной ориентации трещин и шины возбуждения наблюдается совместный эффект взаимодействия двух описанных режимов.

[46]

За счет того, что измерительные катушки дифференциальных преобразователей 6-8 выполнены прямоугольными и симметрично расположены относительно шины 15 возбуждения, их суммарный сигнал отличен от нуля только при наличии дефекта в зоне возбуждения шины 15.

[47]

Выходное напряжение индукционных преобразователей 9-14 пропорционально суммарному магнитному потоку, выходящему из краев экрана 18 в металл ОК. Величина этого потока связана с расстоянием между экраном 18 и ОК.

[48]

Измеряя сигналы преобразователей 9-14, можно однозначно определить расстояния между соответствующей группой преобразователей и поверхностью ОК слева и справа относительно оси симметрии соответствующего преобразователя, определить расстояние до ОК в центре группы преобразователей, а также - разность расстояний до ОК по краям группы. По этим параметрам можно оценивать геометрию поверхности ОК, а также регулировать уровень усиления в соответствующем канале, чтобы компенсировать влияние на его чувствительность изменений расстояний до поверхности ОК.

[49]

Изобретение - технологичное устройство, все элементы которого, размещенные на печатной плате, создаются в едином технологическом процессе, обеспечивая полную диагностику всей контролируемой зоны при повышенной чувствительности к обнаруживаемым дефектам за счет взаиморасположения элементов.

Как компенсировать расходы
на инновационную разработку
Похожие патенты