патент
№ RU 2618057
МПК B01D17/028

Устройство для разделения нефтяной эмульсии

Авторы:
Гребенщиков Евгений Викторович Фазлыев Айрат Альбертович Чудновский Алексей Александрович
Все (4)
Номер заявки
2016119402
Дата подачи заявки
19.05.2016
Опубликовано
02.05.2017
Страна
RU
Как управлять
интеллектуальной собственностью
Чертежи 
2
Реферат

Изобретение относится к нефтяной промышленности и может быть использовано на нефтепромысле. Устройство для разделения нефтяной эмульсии включает цилиндрический корпус 1 с системой ввода эмульсии в виде трубчатого перфорированного коллектора 7 и патрубками вывода продуктов ее разделения 5, 6, установленный в продольном сечении корпуса 1 V-образный коалесцирующий пакет 15, систему сбора и вывода воды 3, 4, 21, датчики контроля уровня воды, систему контроля и управления открытием и закрытием системы вывода воды, перфорированную неполную перегородку 9, патрубок вывода газа 6, верхнюю сплошную наклонную поперечную перегородку 11, одинарный коалесцирующий пакет 10, нижнюю сплошную вертикальную перегородку 12, нижнюю вертикальную перфорированную в нижней части перегородку 13, нижнюю неполную перегородку 18, верхнюю вертикальную неполную перегородку 14, параллельные перегородки 16 со щелями 17 в нижней части от V-образного коалесцирующего пакета 15 до низа корпуса 1. Верхняя сплошная наклонная поперечная перегородка 11, одинарный коалесцирующий пакет 10 и нижняя сплошная вертикальная перегородка 12 делят корпус 1 на первый отсек 19 с вводом нефтяной эмульсии и второй отсек 20 с выводом нефти. Изобретение позволяет повысить полноту разделения нефтяной эмульсии на нефть и воду. 2 ил.

Формула изобретения

Устройство для разделения нефтяной эмульсии, включающее цилиндрический корпус с системой ввода эмульсии в виде трубчатого перфорированного коллектора и патрубками вывода продуктов ее разделения, установленный в продольном сечении корпуса V-образный коалесцирующий пакет, систему сбора и вывода воды, датчики контроля уровня воды, систему контроля и управления открытием и закрытием системы вывода воды, отличающееся тем, что дополнительно содержит перфорированную неполную перегородку, патрубок вывода газа, верхнюю сплошную наклонную поперечную перегородку, одинарный коалесцирующий пакет, установленный наклонно снизу верхней сплошной наклонной поперечной перегородки поперек оси цилиндрического корпуса, нижнюю сплошную вертикальную перегородку от внешнего нижнего торца одинарного коалесцирующего пакета до низа цилиндрического корпуса, нижнюю вертикальную перфорированную в нижней части перегородку от внутреннего нижнего торца одинарного коалесцирующего пакета до низа цилиндрического корпуса, нижнюю неполную перегородку между нижней вертикальной перфорированной в нижней части перегородкой и системой ввода нефтяной эмульсии, верхнюю вертикальную неполную перегородку между одинарным коалесцирующим пакетом и торцом V-образного коалесцирующего пакета, параллельные перегородки со щелями в нижней части от V-образного коалесцирующего пакета до низа цилиндрического корпуса, при этом патрубки системы сбора и вывода воды расположены под системой ввода нефтяной эмульсии, между нижней вертикальной перфорированной в нижней части перегородкой от внутреннего нижнего торца одинарного коалесцирующего пакета до низа цилиндрического корпуса и нижней неполной перегородкой, между параллельными перегородками и вблизи нижней сплошной вертикальной перегородки, между нижней сплошной вертикальной перегородкой и параллельными перегородками, верхняя сплошная наклонная поперечная перегородка, одинарный коалесцирующий пакет и нижняя сплошная вертикальная перегородка делят корпус на первый отсек с вводом нефтяной эмульсии и второй отсек с выводом нефти, патрубок вывода газа расположен в верхней части корпуса между торцом корпуса и перфорированной неполной перегородкой, а перфорированная неполная перегородка расположена вблизи патрубка вывода газа со стороны верхней сплошной наклонной поперечной перегородки.

Описание

[1]

Изобретение относится к нефтяной промышленности и может найти применение на нефтепромысле в условиях групповой замерной установки при разделении на фазы продукции добывающих скважин в виде нефтяной эмульсии (эмульсии) и замере дебита нефти.

[2]

Известен аппарат для обезвоживания нефти, при разработке которого решалась задача создания разделителя высокой производительности, стабильного в работе и позволяющего получить продукты разделения - нефть и воду с высоким качеством (низкое содержание нефти в воде и воды в нефти) (патент РФ №2032444, кл. B01D 17/04, опубл. 10.04.95). Известный аппарат включает емкость, устройства для ввода эмульсии и вывода продуктов ее разделения, распределители эмульсии, горизонтальный короб, установленный над устройствами ввода эмульсии, но под распределителями, содержащий внутренние перегородки с прорезями и поперечными ребрами.

[3]

В известном решении процесс обезвоживания нефти интенсифицирован за счет наличия на пути движения потока эмульсии различных механических преград (перегородки, щелевые отверстия и т.п.), обусловливающих гидродинамическое возмущение потока из-за изменений направления движения, чем создаются условия для коалесценции капель воды.

[4]

Однако конструкции такого типа, т.е. конструкции, в которых для разрушения бронирующих оболочек на глобулах воды используются различные механические элементы, установленные на пути движения эмульсии и вызывающие образование в потоке разделяемой эмульсии микровихрей, обладают целым рядом недостатков. Во-первых, такие конструкции, как правило, предназначены для переработки небольших объемов и имеют невысокую производительность. Во-вторых, образованные в потоке эмульсии вихревые течения частично попадают в зону отстоя, что приводит к выносу в зону отделенной воды обезвоженной нефти, а в зону нефти частиц воды, и к повторному перемешиванию разделенных фаз, т.е. известное устройство характеризуется невысокой эффективностью и низким качеством получаемого готового продукта.

[5]

Наиболее близким к предложенному изобретению по технической сущности является устройство для разделения эмульсии, включающее цилиндрический корпус с системой ввода эмульсии в виде разветвленного трубчатого перфорированного коллектора и патрубками вывода продуктов ее разделения, установленный в продольном сечении корпуса V-образный коалесцирующий пакет, систему сбора и вывода деэмульгированной воды, датчики контроля уровня воды, систему контроля и управления открытием и закрытием системы вывода деэмульгированной воды (патент РФ №2243814, кл. B01D 17/022, опубл. 10.01.2005 - прототип).

[6]

Недостатком известного устройства является невозможность его применения на нефтепромысле, связанная с неполным отделением нефти от воды и потерей нефти с утилизируемой не полностью деэмульгированной водой в условиях групповой замерной установки.

[7]

В предложенном изобретении решается задача применения установки на нефтепромысле в условиях групповой замерной установки, повышения полноты разделения нефтяной эмульсии на нефть и воду.

[8]

Задача решается тем, что устройство для разделения нефтяной эмульсии, включающее цилиндрический корпус с системой ввода эмульсии в виде трубчатого перфорированного коллектора и патрубками вывода продуктов ее разделения, установленный в продольном сечении корпуса V-образный коалесцирующий пакет, систему сбора и вывода воды, датчики контроля уровня воды, систему контроля и управления открытием и закрытием системы вывода воды, согласно изобретению, дополнительно содержит перфорированную неполную перегородку, патрубок вывода газа, верхнюю сплошную наклонную поперечную перегородку, одинарный коалесцирующий пакет, установленный наклонно снизу верхней сплошной наклонной поперечной перегородки поперек оси цилиндрического корпуса, нижнюю сплошную вертикальную перегородку от внешнего нижнего торца короба одинарного коалесцирующего пакета до низа корпуса, нижнюю вертикальную перфорированную в нижней части перегородку от внутреннего нижнего торца короба одинарного коалесцирующего пакета до низа корпуса с перфорационными отверстиями в сторону системы ввода нефтяной эмульсии, нижнюю неполную перегородку между нижней вертикальной перфорированной в нижней части перегородкой и системой ввода нефтяной эмульсии, верхнюю вертикальную неполную перегородку между одинарным коалесцирующим пакетом и торцом V-образного коалесцирующего пакета, параллельные перегородки со щелями в нижней части от V-образного коалесцирующего пакета до низа корпуса, при этом патрубки системы сбора и вывода воды расположены под системой ввода нефтяной эмульсии, между нижней вертикальной перфорированной в нижней части перегородкой и нижней неполной перегородкой, между нижней сплошной вертикальной перегородкой и параллельными перегородками со щелями и внутри параллельных перегородок со щелями, верхняя сплошная наклонная поперечная перегородка, одинарный коалесцирующий пакет и нижняя сплошная вертикальная перегородка делят корпус на первый отсек с вводом нефтяной эмульсии и второй отсек с выводом нефти, патрубок вывода газа расположен вблизи торца корпуса в первом отсеке, а перфорированная неполная перегородка расположена вблизи патрубка вывода газа со стороны верхней сплошной наклонной поперечной перегородки.

[9]

Сущность изобретения

[10]

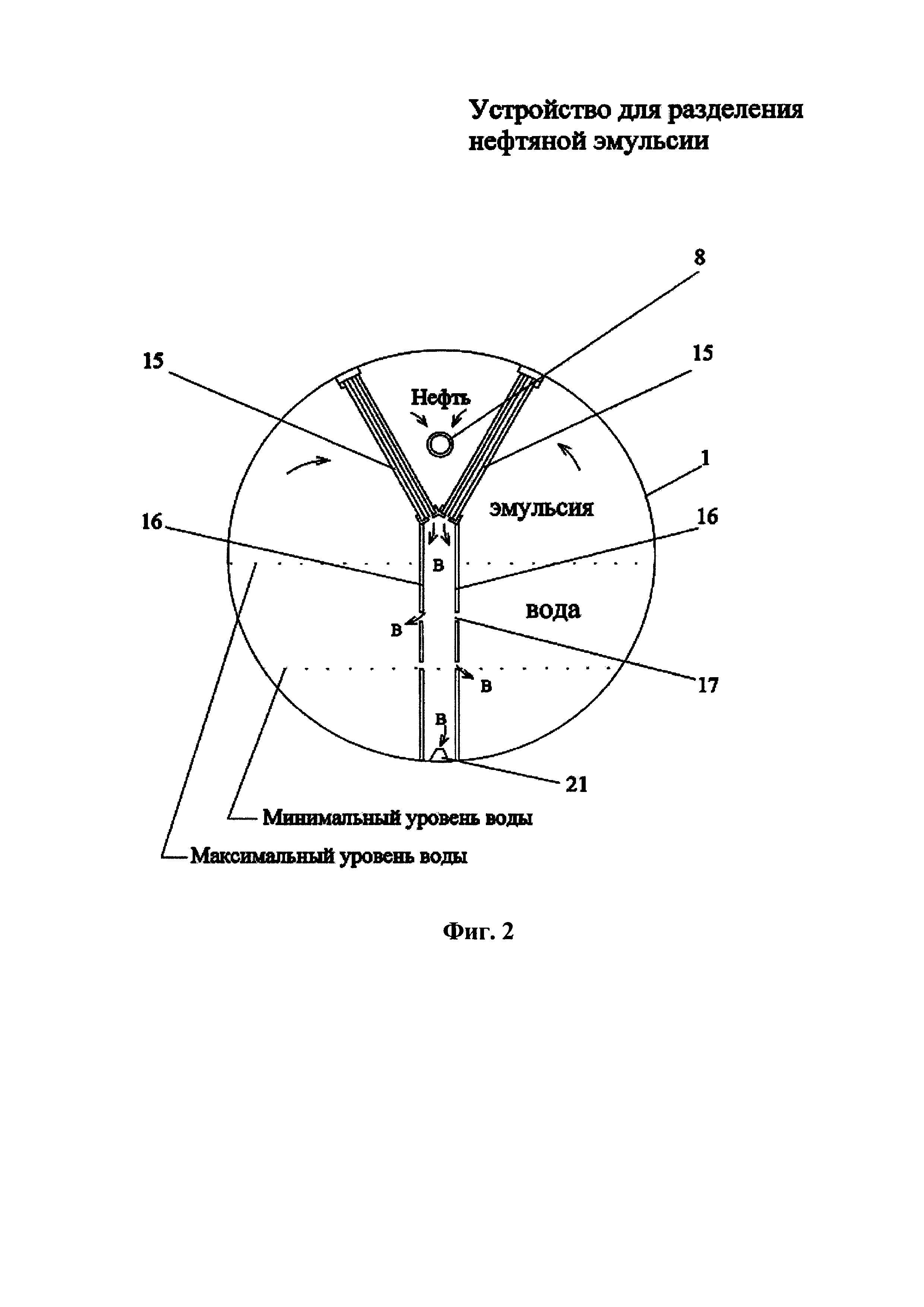
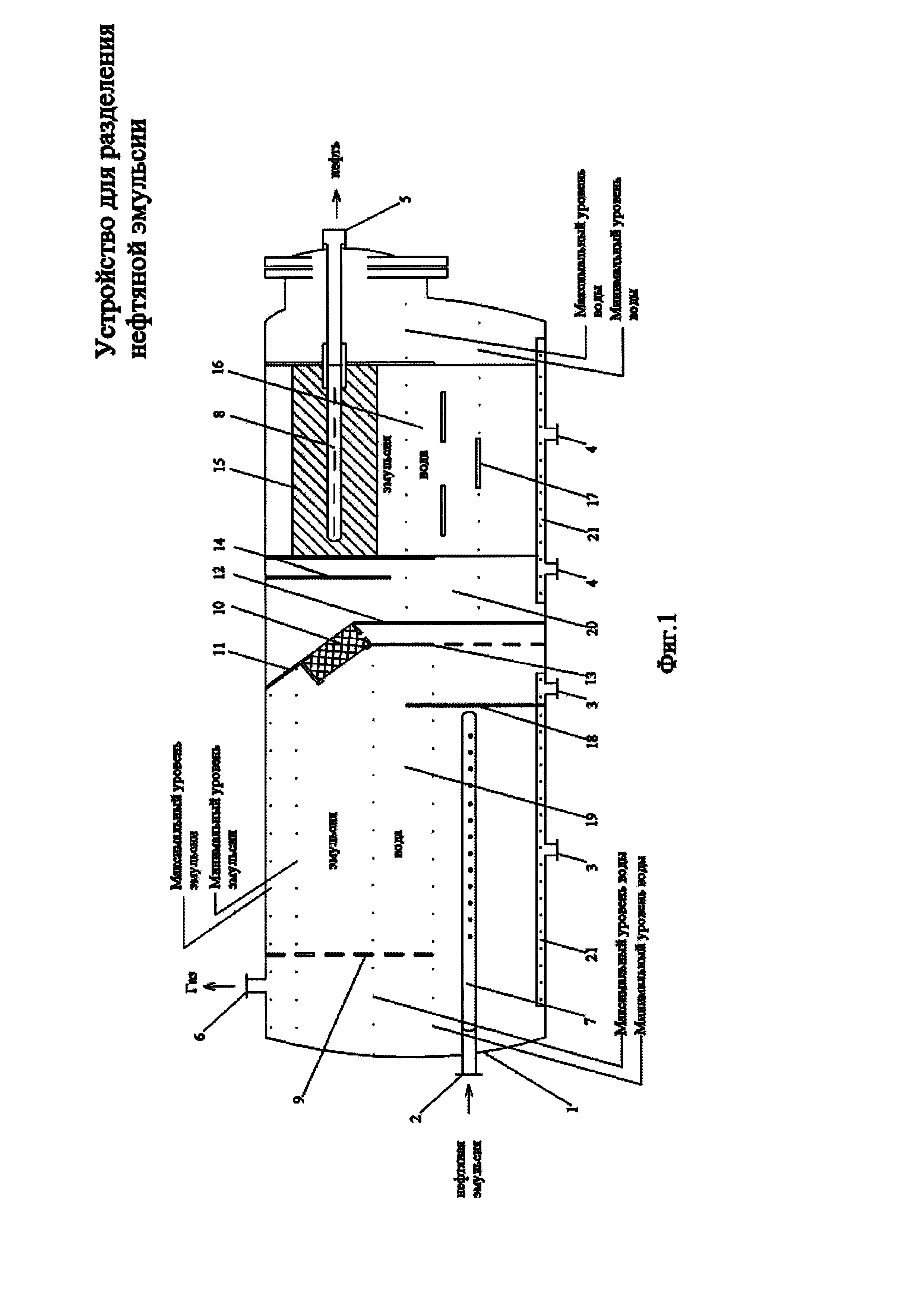
Существующие устройства для замера дебита в условиях нефтепромысла на групповой замерной установке не всегда обеспечивают достаточную точность измерений. Отклонения от истинных значений вызваны неполным разделением нефтяной эмульсии, добываемой через нефтедобывающие скважины, на нефть, воду и газ. Как правило, часть нефти теряется за счет неполного отделения и удаления на утилизацию вместе с пластовой водой. В предложенном изобретении решается задача повышения полноты разделения нефтяной эмульсии (эмульсии) на нефть и воду. Задача решается устройством для разделения нефтяной эмульсии, представленным на фиг. 1 и 2. На фиг. 1 представлен вид устройства в разрезе, на фиг. 2 представлен V-образный коалесцирующий пакет.

[11]

На фиг. 1 и 2 приняты следующие обозначения: 1 - цилиндрический корпус, 2 - патрубок ввода нефтяной эмульсии, 3, 4 - патрубки вывода воды, 5 - патрубок вывода нефти, 6 - патрубок вывода газа, 7 - маточник ввода нефтяной эмульсии, 8 - маточник вывода нефти, 9 - перфорированная неполная перегородка, 10 - одинарный коалесцирующий пакет, 11 - верхняя сплошная наклонная поперечная перегородка, 12 - нижняя сплошная вертикальная перегородка, 13 - нижняя вертикальная перфорированная в нижней части перегородка от внутреннего нижнего торца одинарного коалесцирующего пакета до низа цилиндрического корпуса, 14 - верхняя вертикальная неполная перегородка, 15 - V-образный коалесцирующий пакет, 16 - параллельные перегородки, 17 - щели, 18 - нижняя неполная перегородка.

[12]

Одинарный коалесцирующий пакет 10, верхняя сплошная наклонная поперечная перегородка 11, нижняя сплошная вертикальная перегородка 12 делят корпус 1 на первый 19 и второй 20 отсеки. Одинарный коалесцирующий пакет 10 установлен поперек оси цилиндрического корпуса 1.

[13]

Патрубок вывода газа 6 расположен в верхней части корпуса 1 между торцом корпуса 1 и перфорированной неполной перегородкой 9, которая отсекает часть первого отсека 19, гасит колебания и ликвидирует всплески жидкостей в пространстве под патрубком вывода газа 6. Перфорированная неполная перегородка 9 расположена вблизи патрубка вывода газа 6 со стороны верхней сплошной наклонной поперечной перегородки 11.

[14]

Маточник ввода нефтяной эмульсии 7 представляет собой систему ввода эмульсии в виде трубчатого перфорированного коллектора, разделенного на 2 ветви.

[15]

Патрубки вывода воды 3 и 4 расположены в нижней части корпуса 1. Патрубок 3 расположен в первом отсеке 19, патрубок 4 расположен во втором отсеке 20. В каждом отсеке 19 и 20 патрубки отвода воды объединены коллекторами распределенного сброса 21 и расположены под зонами активного потока, что обеспечивает полное расслоение воды от остатков нефтепродуктов. Патрубки 3 в первом отсеке 19 расположены под маточником ввода нефтяной эмульсии 7 и между нижней вертикальной перфорированной в нижней части перегородкой от внутреннего нижнего торца одинарного коалесцирующего пакета до низа цилиндрического корпуса 13 и нижней неполной перегородкой 18. Патрубки 4 расположены между параллельными перегородками 16 и вблизи нижней сплошной вертикальной перегородки 12, между нижней сплошной вертикальной перегородкой 12 и параллельными перегородками 16.

[16]

Во втором отсеке 20 верхняя вертикальная неполная перегородка 14 установлена на расстоянии от одинарного коалесцирующего пакета 10, обеспечивающем объем, необходимый для сглаживания и разворота вниз потока жидкости из одинарного коалесцирующего пакета 10.

[17]

V-образный коалесцирующий пакет 15 расположен вдоль оси цилиндрического корпуса 1 и представляет собой два коалесцирующих пакета расчетной площади, сложенные основаниями в виде буквы V.

[18]

Датчики контроля уровня воды и система контроля и управления открытием и закрытием системы вывода воды не показаны.

[19]

Устройство работает следующим образом.

[20]

Через патрубок ввода нефтяной эмульсии 2 и маточник ввода нефтяной эмульсии 7 в первый отсек 19 корпуса 1 под уровень воды подают нефтяную эмульсию. Под действием гравитации происходит отделение части воды и всплытие водонефтяной эмульсии, и выделение газа.

[21]

Выделившийся газ проходит через перфорированную неполную перегородку 9, выходит через патрубок вывода газа 6. Перфорированная неполная перегородка 9 отсекает часть первого отсека 19, гасит колебания жидкости и ликвидирует всплески жидкости в пространстве под патрубком вывода газа 6. Верхняя сплошная наклонная поперечная перегородка 11 препятствует попаданию газа во второй отсек 20 корпуса 1.

[22]

Отделившуюся и отстоявшуюся воду удаляют из первого отсека 19 корпуса 1 через патрубок вывода воды 3. Нефтяная эмульсия и частично вода проходят через одинарный коалесцирующий пакет 10, в котором большой объем нефтяной эмульсии разделяется на нефть и воду. Вода стекает вниз и через торец одинарного коалесцирующего пакета 10 проходит в пространство между нижней сплошной вертикальной перегородкой 12 и нижней вертикальной перфорированной в нижней части перегородкой от внутреннего нижнего торца одинарного коалесцирующего пакета до низа цилиндрического корпуса 13, проходит через перфорированную часть нижней вертикальной перфорированной в нижней части перегородки от внутреннего нижнего торца одинарного коалесцирующего пакета до низа цилиндрического корпуса 13 и накапливается в нижней части первого отсека 19 корпуса 1 между нижней вертикальной перфорированной в нижней части перегородкой от внутреннего нижнего торца одинарного коалесцирующего пакета до низа цилиндрического корпуса 13 и нижней неполной перегородкой 18. В пространстве между нижней вертикальной перфорированной в нижней части перегородкой от внутреннего нижнего торца одинарного коалесцирующего пакета до низа цилиндрического корпуса 13 и нижней неполной перегородкой 18 вода дополнительно отстаивается и из нее выделяется нефть, увлеченная этой водой. После отстоя воду сливают через патрубок 3. Нефть и неразделившаяся нефтяная эмульсия проходят через фронтальную поверхность одинарного коалесцирующего пакета 10 и попадают во второй отсек 20 корпуса 1.

[23]

Нефть и нефтяная эмульсия, прошедшие через одинарный коалесцирующий пакет 10, опускаются вниз вдоль нижней сплошной вертикальной перегородки 12 и верхней вертикальной неполной перегородки 14, заполняют нижний объем второго отсека 20 корпуса 1 и поднимаются вверх между верхней вертикальной неполной перегородкой 14 и параллельными перегородками 16 ко второму V-образному коалесцирующему пакету 15, проходят через него и окончательно разделяются на нефть и воду. Вода стекает вниз в коалесцирующих пакетах 15 и через торцы коалесцирующих пакетов 15 спускается между параллельными перегородками 16 к патрубку вывода воды 4, через который удаляется из второго отсека 20 корпуса 1. Нефть проходит через фронтальные поверхности коалесцирующих пакетов 15, стекает к основанию V-образного расположения пакетов и выводится через маточник вывода нефти 8 и патрубок вывода нефти 4.

[24]

Через щели 17 отстоявшаяся вода из второго отсека 20 попадает в пространство между параллельными перегородками 16 к патрубку вывода воды 4.

[25]

В результате удается добиться полного разделения нефтяной эмульсии на нефть и воду и с высокой точностью замерить дебит нефти.

[26]

Применение предложенного устройства позволит решить задачу полного разделения нефтяной эмульсии на нефть и воду в условиях групповой замерной установки на нефтепромысле и с высокой точностью замерить дебит нефти.

Как компенсировать расходы
на инновационную разработку
Похожие патенты