патент
№ RU 2594636
МПК G02B5/122

УСТРОЙСТВО СВЕТОВОЗВРАЩАЮЩЕЕ

Авторы:
Байков Андрей Николаевич Илларионов Александр Сергеевич Мурашкин Вячеслав Владимирович
Все (7)
Номер заявки
2015128303/28
Дата подачи заявки
14.07.2015
Опубликовано
20.08.2016
Страна
RU
Как управлять
интеллектуальной собственностью
Чертежи 
2
Реферат

Устройство световозвращающее содержит металлический корпус, в котором размещены: винт регулировочный, опора, ложемент, призменный уголковый световозвращатель с боковыми гранями в форме треугольников и срезами углов у входной грани, опорное кольцо с выступом, фиксирующий элемент. Срезы углов световозвращателя выполнены скругленными. В верхней части срезов параллельно входной грани выполнены установочные площадки, которые оперты на торец ложемента. Ложемент выполнен в виде полого перфорированного цилиндра и непосредственно опирается на кромку основания конусообразной опоры, имеющую отдельные ступенчатые ребра, которые создают пружинящий эффект. На внешней стороне одного из трех срезов углов световозвращателя выполнена вертикальная проточка от входной грани до установочной площадки. Другая проточка выполнена вертикально на внутренней стенке корпуса. При совмещении обе проточки образуют единый канал, в который введен фиксирующий выступ, выполненный на опорном кольце. Технический результат заключается в повышении точности измерения дальности, обеспечении температурной стабилизации, повышении виброустойчивости . 3 ил.

Формула изобретения

Устройство световозвращающее, содержащее установленный в металлический корпус на ложемент призменный уголковый световозвращатель с боковыми гранями в форме треугольника и срезами углов у входной грани, кольцо опорное, поджатое фиксирующим элементом, опору, винт регулировочный, отличающееся тем, что в верхней части срезов углов, которые выполнены скругленными, параллельно входной грани выполнены установочные площадки, опирающиеся на торец ложемента, выполненный в виде полого перфорированного цилиндра, опертого на кромку основания конусообразной опоры, имеющей отдельные ступенчатые ребра, создающие пружинящий эффект, кроме того, на внешней стороне одного из трех срезов углов световозвращателя выполнена вертикальная проточка от входной грани до установочной площадки, другая проточка выполнена вертикально на внутренней стенке корпуса, и при совмещении обе образуют единый канал, в который введен фиксирующий выступ, выполненный на опорном кольце, которое поджато фиксирующим элементом в виде прижимной гайки.

Описание

[1]

Изобретение относится к области оптического приборостроения, а именно к конструированию креплений, оправ оптических элементов, в частности призменных уголковых световозвращателей; устройство может быть использовано в качестве комплектующего элемента ретрорефлекторных оптических антенн (или единичного отражающего элемента) в оптических системах измерения дальности до наземных и космических объектов.

[2]

Известно наиболее близкое по технической сущности устройство, выбранное в качестве прототипа /«Разработка лазерных ретрорефлекторных антенн на основе уголковых световозвращателей для высокоточных измерений дальности до космических аппаратов», ж. Электромагнитные волны & Электронные системы, №2, т. 2, 1997, с. 50-57/.

[3]

Это устройство содержит призменный уголковый световозвращатель с боковыми гранями в форме треугольника и срезами углов у входной грани, установленный в корпусе на 6 посадочных площадок ложемента (оправы), опора, в качестве которой выступает шестигранное опорное кольцо, шайба разрезная в качестве фиксирующего элемента, кольцо пружинное, крышка-опора, винт регулировочный. Ложемент с помощью винта регулировочного и кольца пружинного поджимается к крышке-опоре на корпус. Вершина световозвращателя «свободно подвешена» в корпусе, что обеспечивает световозвращателю осевую степень свободы при вибрационно-ударных воздействиях.

[4]

Со стороны входной грани световозвращатель фиксируется по трем посадочным фаскам, имеющимся на срезах углов у входной грани, шестигранным опорным кольцом, которое поджимается разрезной шайбой, установленной в кольцевой паз, для прорезки которого корпус выполнен со специальным «приливом». На боковые грани световозвращателя может быть нанесено отражающее покрытие.

[5]

Недостатками прототипа являются следующие:

[6]

- сложность изготовления таких деталей, как шайба разрезная, шестигранное опорное кольцо, кольцо пружинное, представляющее собой сложный цилиндрический элемент с горизонтальными прорезями по поверхности, демпфирующие свойства которого существенно ухудшаются даже при незначительных отклонениях параметров материала кольца (сталь) от номинальных значений и в ходе эксплуатации (накапливаемая «усталость» материала);

[7]

- давление опоры на три фаски световозвращателя при вибрационных и ударных нагрузках иногда приводит к возникновению трещин, сколов на углах входной грани призмы, что может быть причиной разрушения призмы;

[8]

- подобные конструктивные контакты через посадочные фаски (размеры которых выдерживаются, как правило, с нежесткими допусками - «свободные размеры») не позволяют получить допустимую при прецизионных измерениях дальности погрешность расположения входной грани световозвращателя относительно посадочной плоскости корпуса, которая должна составлять величину порядка десятых долей мм. Погрешность расположения в прототипе может достигать 1-2 мм;

[9]

- как показал опыт использования прототипа, из-за остаточных погрешностей изготовления и сборки устройства между тремя не опорными ребрами входной грани световозвращателя и шестигранной опорой могут образовываться зазоры шириной до 2 мм. Через эти щели в ходе испытаний перед запуском космического аппарата (КА), а также при длительной эксплуатации в космосе может происходить пылевое загрязнение боковых граней световозвращателя или накопление статического электрического заряда на боковых поверхностях световозвращателя. Следствием загрязнения может быть нарушение полного внутреннего отражения на боковых гранях световозвращателя и снижение уровня отраженного сигнала. Накопление статического электричества также недопустимо, поскольку создает наводки и сбои при функционировании радиотехнических систем, часто расположенных на КА вблизи систем световозвращателей.

[10]

Задачей изобретения является создание световозвращающего устройства с повышенными эксплуатационными требованиями для использования в бортовой аппаратуре КА.

[11]

Технический результат - повышение точности измерений дальности; устойчивости конструкции к воздействию динамического изменения температур; устойчивости к вибрационным и ударным нагрузкам, что характерно для наземных испытаний аппаратуры и условий запуска КА; облегчения (минимизации веса) конструкции; предотвращения накопления статического заряда вследствие воздействия открытого космического пространства.

[12]

Это достигается тем, что в устройстве световозвращающем, содержащем установленный в металлический корпус на ложемент призменный уголковый световозвращатель с боковыми гранями в форме треугольника и срезами углов у входной грани, кольцо опорное, поджатое фиксирующим элементом, опору, винт регулировочный, - в верхней части срезов углов, которые выполнены скругленными, параллельно входной грани выполнены установочные площадки, опирающиеся на торец ложемента, выполненный в виде полого перфорированного цилиндра, опертого на кромку основания конусообразной опоры, имеющей отдельные ступенчатые ребра, создающие пружинящий эффект, кроме того, на внешней стороне одного из трех срезов углов световозвращателя выполнена вертикальная проточка от входной грани до установочной площадки, другая проточка выполнена вертикально на внутренней стенке корпуса, и при совмещении обе образуют единый канал, в который введен фиксирующий выступ, выполненный на опорном кольце, которое поджато фиксирующим элементом в виде прижимной гайки.

[13]

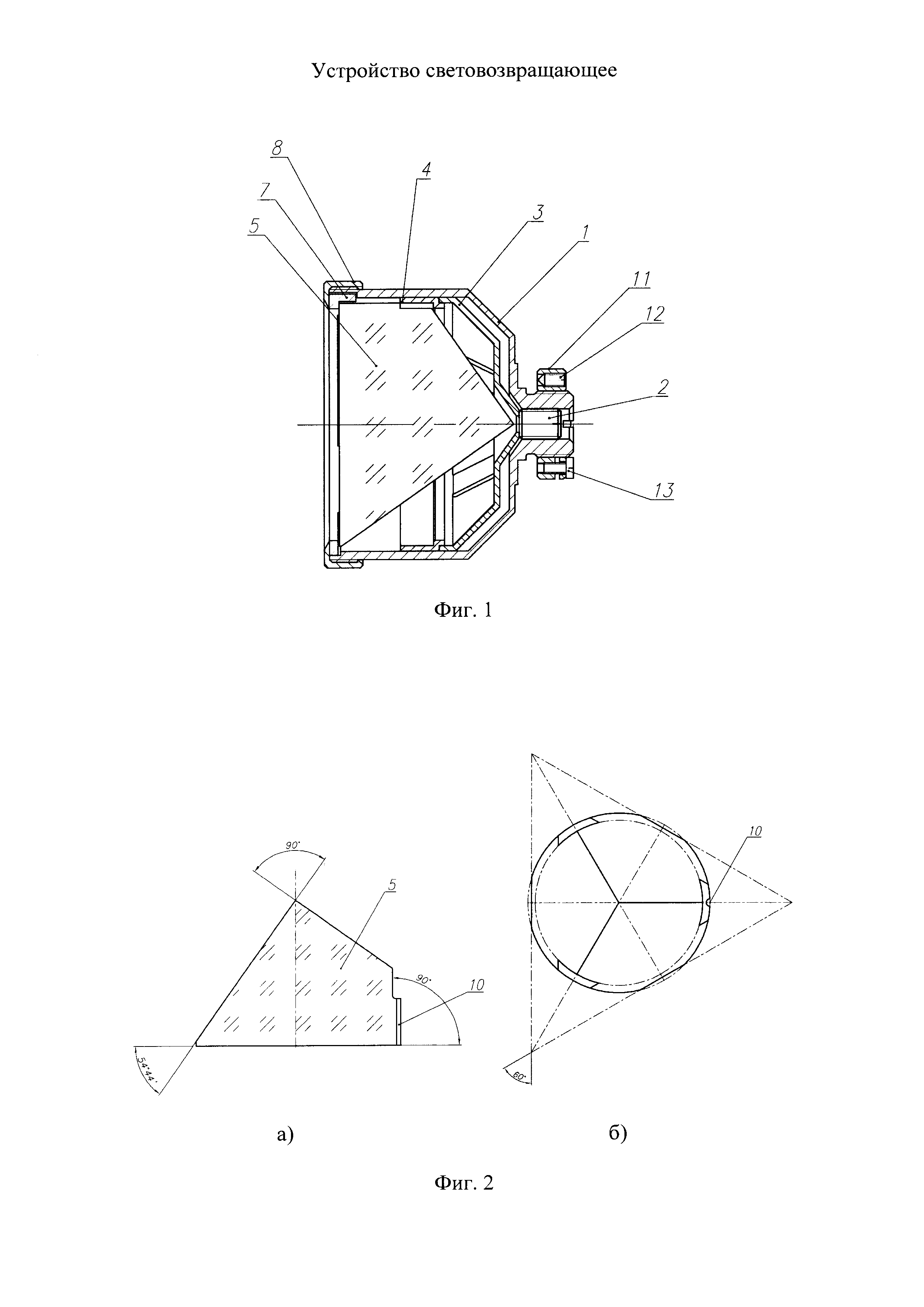
Предлагаемая конструкция поясняется чертежами, где изображены на

[14]

фиг. 1 - устройство световозвращающее в сборке;

[15]

фиг. 2а - призменный уголковый световозвращатель: вид сбоку;

[16]

фиг. 2б - призменный уголковый световозвращатель: вид сверху;

[17]

фиг. 3 - сборка предлагаемого устройства.

[18]

Устройство световозвращающее содержит металлический корпус 1, в котором размещены: винт регулировочный 2, опора 3, ложемент 4, призменный уголковый световозвращатель 5 с боковыми гранями в форме треугольников и срезами углов 6 у входной грани, опорное кольцо 7 с выступом, фиксирующий элемент 8. Срезы углов 6 световозвращателя выполнены скругленными. В верхней части срезов 6 параллельно входной грани выполнены установочные площадки 9, которые оперты на торец ложемента 4. Ложемент 4 выполнен в виде полого перфорированного цилиндра и непосредственно опирается на кромку основания конусообразной опоры, имеющую отдельные ступенчатые ребра, которые создают пружинящий эффект. На внешней стороне одного из трех срезов углов световозвращателя 5 выполнена вертикальная проточка 10 (фиг. 2) от входной грани до установочной площадки, а другая проточка выполнена вертикально на внутренней стенке корпуса 1. При совмещении обе проточки образуют единый канал, в который введен фиксирующий выступ, выполненный на опорном кольце 7. Опорное кольцо 7 поджато фиксирующим элементом 8, выполненным в виде гайки прижимной.

[19]

Корпус 1 с помощью гайки разрезной 11 с контровочными винтами 12, 13, навинчивающейся на резьбовой хвостовик корпуса 1, поджимается с необходимым усилием к посадочной плоскости КА. Контровочные винты 12, 13 предохраняют гайку разрезную 11 от самоотвинчивания.

[20]

В процессе сборки устройства световозвращающегося винт регулировочный 2, винты контровочные 11, 12 контрятся контровочным материалом (краской или клеем).

[21]

На боковые грани световозвращателя может быть нанесено отражающее покрытие, чем обеспечивается широкое поле углов падения на входную грань световозвращателя до 45÷50 угл. град. Если допустимы меньшие углы падения света, например, для высокоорбитальных КА, могут быть использованы световозвращатели без покрытия боковых граней, работающие на основе полного внутреннего отражения.

[22]

Технический результат достигается за счет следующих изменений в конструкции.

[23]

Во-первых, выбранная форма опорного кольца 7, изготавливаемого точно по плоскости входной грани, повышает точность установки входной грани световозвращателя 5 и исключает щели во внутреннюю часть устройства, что ведет к отсутствию пылевого загрязнения и электростатического заряда на боковых гранях световозвращателя 5.

[24]

Во-вторых, теплопередача между металлической частью предлагаемого устройства и призменным уголковым световозвращателем осуществляется через установочные площадки площадью C=11.7 мм2 и прижимные площадки кольца опорного площадью Д=31.39 мм2. Суммарная площадь контактов C+Д=43.1 мм2. Теплопередача от металлической части устройства на боковые грани световозвращателя в прототипе происходит через шесть посадочных площадок ложемента общей площадью А=16.6 мм2, а также через шестигранное опорное кольцо на три посадочные фаски световозвращателя площадью Б=55.5 мм2. Общая площадь контактов равна А+Б=71.1 мм2. Из расчета видно, что площадь теплопередачи у прототипа примерно в 1.7 раза больше, чем у предлагаемого устройства: (А+Б)/(С+Д)=71.1/43.1=1,7. Это позволяет снизить температурный градиент внутри световозвращателя и стабилизировать уровень отраженного сигнала.

[25]

Данные приведены при условии равенства размеров исходных входных граней прототипа и предлагаемого устройства (эквивалентный диаметр световой апертуры световозвращателя 28.2 мм). Как показала практика использования известного устройства в реальных условиях эксплуатации в открытом космосе, указанная площадь контактов достаточно велика и не позволяет эффективно минимизировать воздействие температурного фактора. Возникающий температурный градиент внутри светоотражателя приводит к искажению диаграммы направленности световозвращателя и к снижению уровня интенсивности отраженного сигнала.

[26]

Наличие отличительных от прототипа существенных признаков позволяет признать заявляемое техническое решение новым.

[27]

На основе предлагаемой конструкции возможна разработка и производство семейства устройств световозвращающих с различными массогабаритными параметрами, применение которых обусловлено различными задачами и конструкцией КА.

Как компенсировать расходы
на инновационную разработку
Похожие патенты