патент
№ RU 2640966
МПК H01P1/15

ПСЕВДОМОРФНОЕ КОММУТИРУЮЩЕЕ УСТРОЙСТВО НА ОСНОВЕ ГЕТЕРОСТРУКТУРЫ AlGaN/InGaN

Авторы:
Адонин Алексей Сергеевич Черных Алексей Владимирович Аветисян Грачик Хачатурович
Все (7)
Номер заявки
2016137297
Дата подачи заявки
19.09.2016
Опубликовано
12.01.2018
Страна
RU
Как управлять
интеллектуальной собственностью
Чертежи 
3
Реферат

Изобретение относится к области изготовления полупроводниковых изделий. Коммутирующее устройство является псевдоморфным, изготовленным на базе гетероструктуры AlGaN/InGaN, а емкостный элемент представляет собой конденсатор. Кроме того, коммутирующее устройство включает подложку из сапфира, на которой последовательно размещены: буферный слой из AlN, буферный слой из GaN, слой из нелегированного GaN i-типа проводимости, сверхрешетка из AlGaN/GaN, буферный слой из GaN, сильнолегированный слой n-типа проводимости из AlGaN, спейсер из твердого раствора AlGaN, сглаживающий слой из GaN, канал из твердого раствора InGaN, и в интерфейсе InGaN/AlGaN гетероструктуры образован двумерный электронный газ (ДЭГ) высокой плотности, который служит нижней обкладкой конденсатора. Поверх твердого раствора InGaN размещен химически устойчивый сглаживающий слой из GaN, поверх которого нанесен слой диэлектрика из двуокиси гафния. Поверх диэлектрика размещены металлические электроды полосковой формы, которые образуют верхнюю обкладку конденсатора. При этом емкостный элемент устройства выполнен с минимальным количеством глубоких электронных ловушек (DX), а канал выполнен упруго-напряженным псевдоморфным с концентрацией InGa 15-25%. Изобретение обеспечивает повышение надежности устройства, эффективности подавления токового коллапса, повышение скорости переключения и уровня выходной мощности, а также ослабление процесса деградации в гетероструктуре. 3 з.п. ф-лы, 3 ил.

Формула изобретения

1. Коммутирующее устройство, содержащее электроды, емкостной элемент, отличающееся тем, что коммутирующее устройство является псевдоморфным, изготовленным на базе гетероструктуры AlGaN/InGaN, а емкостной элемент представляет собой конденсатор, кроме того, коммутирующее устройство включает подложку из сапфира, на которой последовательно размещены: буферный слой из AlN, буферный слой из GaN, слой из нелегированного GaN i-типа проводимости, сверхрешетка из AlXGa1-XN/GaN, буферный слой из GaN, сильнолегированный слой n-типа проводимости из AlXGa1-XN, спейсер из твердого раствора AlXGa1-XN, сглаживающий слой из GaN, канал из твердого раствора InXGa1-XN, и в интерфейсе InXGa1-XN/AlGaN гетероструктуры образован двумерный электронный газ (ДГ) высокой плотности, который служит нижней обкладкой конденсатора, поверх твердого раствора InXGa1-XN размещен химически устойчивый сглаживающий слой из GaN, поверх которого нанесен слой диэлектрика из двуокиси гафния, а поверх диэлектрика размещены металлические электроды полосковой формы, которые образуют верхнюю обкладку конденсатора, при этом емкостной элемент устройства выполнен с минимальным количеством глубоких электронных ловушек (DX), а канал выполнен упруго-напряженным псевдоморфным с концентрацией InGa 15-25%.

2. Коммутирующее устройство по п. 1, отличающееся тем, что содержит ряд трехэлектродных двухканальных конфигураций.

3. Коммутирующее устройство по п. 1, отличающееся тем, что канал выполнен из In0,17Ga0,83N с шириной запрещенной зоны 5,35 эВ.

4. Коммутирующее устройство по п. 1, отличающееся тем, что канал выполнен с критической толщиной 7-16 нм.

Описание

[1]

Изобретение относится к области создания полупроводниковых изделий, а именно к полупроводниковым приборам, предназначенным для управления СВЧ электромагнитными колебаниями, и может быть использовано при создании нового поколения СВЧ элементной базы и интегральных схем на основе гетероструктур широкозонных полупроводников.

[2]

Из уровня техники известен СВЧ-коммутатор, содержащий лазер, фотокатод и отрезок прямоугольного волновода, на концах которого установлены соответственно входная и выходная щелевые диафрагмы, а на четвертьволновом расстоянии от них и одна от другой установлены индуктивные диафрагмы, в каждую из которых помещены соосно и попарно включенные емкостные конусы. При этом один из конусов, размещенный в индуктивной диафрагме, ближайшей к выходной щелевой диафрагме, выполнен усеченным со сквозным осевым отверстием, ось которого совпадает с оптической осью лазера, емкостные конусы, размещенные в остальных индуктивных диафрагмах, также выполнены усеченными. Другой конус, размещенный в индуктивной диафрагме, ближайшей к выходной щелевой диафрагме, выполнен неусеченным. В сквозном осевом отверстии герметично установлена перегородка из материала, прозрачного для излучения лазера, и на ней со стороны, обращенной к вершине усеченного конуса, размещен фотокатод (авторское свидетельство СССР №1739404, опубл. 07.06.1992 г.).

[3]

Недостатками известного устройства являются низкая надежность, низкая скорость переключения, низкий уровень переключаемой мощности и низкий уровень радиационной стойкости.

[4]

Из уровня техники известно также коммутирующее устройство СВЧ, содержащее электроды и емкостный элемент, отличающееся тем, что емкостный элемент представляет собой конденсатор, кроме того, коммутирующее устройство СВЧ включает подложку из сапфира, на которой последовательно размещены: буферный слой из AlN, буферный слой из GaN, слой из нелегированного GaN, слой из твердого раствора AlGaN, и в интерфейсе GaN/AlGaN гетероструктуры образован двумерный электронный газ высокой плотности, который служит нижней обкладкой конденсатора, поверх твердого раствора AlGaN размещен химически устойчивый сглаживающий слой из GaN, поверх которого нанесен диэлектрик, содержащий слой из двуокиси гафния, а поверх диэлектрика размещены металлические электроды полосковой формы, которые образуют верхнюю обкладку конденсатора. При необходимости поверх слоя диэлектрика из двуокиси гафния можно нанести дополнительный слой из оксида алюминия и отмечается, что коммутирующее устройство содержит ряд трехэлектродных двухканальных конфигураций (патент России №143079, опубл. 10.07.2014 г.).

[5]

К недостаткам традиционной гетероструктуры системы AlGaN/GaN, на основе которой разработана данная конструкция, относятся влияние DX центров в слое AlGaN:Si на приборные характеристики: низкая надежность устройства, низкая плотность носителей, снижение эффективности подавления токового коллапса, скорости переключения, уровня выходной мощности, а также в усилении процесса деградации в гетероструктуре.

[6]

Задачей настоящего изобретения является устранение всех перечисленных недостатков.

[7]

Технический результат заключается в повышении надежности устройства, в повышении плотности носителей, эффективности подавления токового коллапса, в повышении скорости переключения, уровня выходной мощности, а также в ослаблении процесса деградации в гетероструктуре.

[8]

Технический результат обеспечивается тем, что коммутирующее устройство содержит электроды, емкостный элемент. Коммутирующее устройство является псевдоморфным, изготовленным на базе гетероструктуры AlGaN/InGaN, а емкостный элемент представляет собой конденсатор. Кроме того, коммутирующее устройство включает подложку из сапфира, на которой последовательно размещены: буферный слой из AlN, буферный слой из GaN, слой из нелегированного GaN i-типа проводимости, сверхрешетка из AlXGa1-xN/GaN, буферный слой из GaN, сильнолегированный слой n-типа проводимости из AlXGa1-XN, спейсер из твердого раствора AlXGa1-XN, сглаживающий слой из GaN, канал из твердого раствора InXGa1-XN, и в интерфейсе InXGa1-XN/AlGaN гетероструктуры образован двумерный электронный газ (ДЭГ) высокой плотности, который служит нижней обкладкой конденсатора. Поверх твердого раствора InXGa1-XN размещен химически устойчивый сглаживающий слой из GaN, поверх которого нанесен слой диэлектрика из двуокиси гафния. Поверх диэлектрика размещены металлические электроды полосковой формы, которые образуют верхнюю обкладку конденсатора. При этом емкостный элемент устройства выполнен с минимальным количеством глубоких электронных ловушек (DX), а канал выполнен упруго-напряженным псевдоморфным с концентрацией InGa 15-25%.

[9]

В соответствии с частными случаями выполнения устройство имеет следующие конструктивные особенности:

[10]

содержит ряд трехэлектродных двухканальных конфигураций;

[11]

канал выполнен из In0,17Ga0,83N с шириной запрещенной зоны 5,35 эВ;

[12]

канал выполнен с критической толщиной 7-16 нм.

[13]

Сущность настоящего изобретения поясняется следующими чертежами:

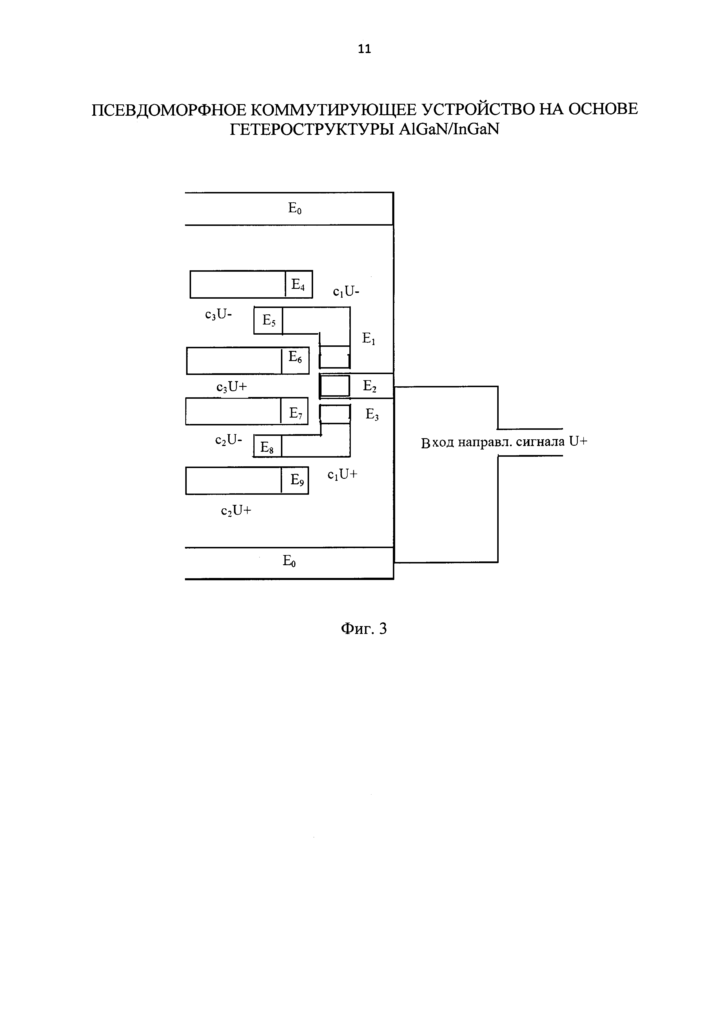
[14]

на фиг. 1 отображено устройство в разрезе;

[15]

на фиг. 2 отображена схема трехэлектродного двухканального устройства;

[16]

на фиг. 3 отображена схема четырехканального устройства.

[17]

На фиг. 1 отображены следующие конструктивные элементы:

[18]

1 - подложка из сапфира;

[19]

2 - буферный слой из AlN;

[20]

3 - буферный слой из GaN;

[21]

4 - буферный слой из GaN i-типа проводимости;

[22]

5 - сверхрешетка из AlXGa1-XN/GaN;

[23]

6 - буферный слой из GaN;

[24]

7 - сильнолегированный слой n-типа AlXGa1-XN;

[25]

8 - спейсер AlXGa1-XN;

[26]

9 - сглаживающий слой из GaN;

[27]

10 - канал InXGa1-XN;

[28]

11 - нижняя обкладка конденсаторов, образованная ДЭГ в интерфейсе AlGaN/InGaN;

[29]

12 - сглаживающий дополнительный слой из GaN;

[30]

13 - слой диэлектрика из двуокиси гафния;

[31]

14 - дополнительный слой диэлектрика из двуокиси металла;

[32]

15 - металлические электроды полосковой формы, которые образуют верхнюю обкладку конденсатора.

[33]

Настоящее устройство конструктивно изготовлено следующим образом.

[34]

На поверхности подложки из сапфира последовательно размещены: буферный слой из AlN 2 толщиной 0,1 мкм, затем буферный слой из GaN 3 и многослойная гетероэпитаксиальная структура из нелегированного буферного слоя GaN 3 толщиной 200 нм, нелегированный буферный слой (i-типа) GaN 4 толщиной 200 нм, нелегированная сверхрешетка состава AlXGa1-XN/GaN 5, нелегированный буферный слой 6 толщиной 100 нм, сильнолегированный слой твердого раствора AlXGa1-XN 7, толщиной 4,5 нм, в виде нелегированного слоя AlXGa1-XN (спейсер) 8, толщиной 2 нм, сглаживающий слой GaN 9 толщиной 3 нм, нелегированный слой из твердого раствора InXGa1-XN (канал) 10 толщиной 12 нм, нижняя обкладка конденсаторов, образованная ДЭГ в интерфейсе AlGaN/InGaN 11, сглаживающий дополнительный слой из GaN 12, слой диэлектрика из двуокиси гафния 13 и дополнительный слой диэлектрика из двуокиси металла 14, например из оксида алюминия, который применяется при необходимости повышения электрической прочности слоя диэлектрика. В качестве второго слоя диэлектрика могут быть использованы также ZrO2, или La2O3, или Y2O3. Затем поверх слоев из диэлектрика размещают металлические электроды полосковой формы 15, которые образуют верхнюю обкладку конденсатора. Конструкция переключателя состоит из двух отдельных конденсаторов (ДГМОП), соединенных по принципу «спина к спине», при этом между буферным слоем из AlN 2 и буферным слоем GaN 3 располагается переходная область, которая служит носителем для уменьшения рассогласования параметров решетки, буферных слоев и растущих на них многослойных эпитаксиальных слоев. Слой из InXGa1-XN 10 предназначен для образования в его приповерхностном слое проводящего канала (двумерного электронного газа (ДЭГ) с высокой подвижностью носителей заряда), возникающего за счет разрыва зон и поляризационных эффектов при образовании гетероперехода InXGa1-XN/AlXGa1-XN. Основным требованием к этому слою является структурное совершенство, достаточное для обеспечения высокой подвижности электронов и высокого сопротивления. Поэтому канальный слой не легируется.

[35]

Рассогласование параметров решеток в случае роста слоев InXGa1-XN на AlGaN может достигать более 7,5%. В случае относительно малых значений содержания In в слое InGaN или малых толщин InGaN, рассогласование параметров решетки может быть аккомодировано упруго. В этом случае постоянная решетки слоя InGaN принимает значение, отвечающее подложке AlGaN. Такое псевдоморфное строение гетероструктуры InGaN/(Al)GaN принципиально отличается от традиционных гетероструктур AlGaN/GaN, где с помощью буферных слоев согласовывают постоянные решеток, а псевдоморфный канал гетероструктуры InGaN/AlGaN является упруго-напряженным.

[36]

К недостаткам традиционной гетероструктуры системы AlGaN/GaN относится влияние DX центров в слое AlGaN:Si на приборные характеристики. Снизить влияние DX центров можно используя слои AlGaN с меньшим составом по Al, что невыгодно вследствие уменьшения разрыва зон на гетерогранице и, как следствие, снижения плотности электронов в канале. Снижение влияния DX центров, повышение плотности электронов, устранение деградации в гетероструктуре, а также подавление токового коллапса коммутирующего устройства, достигается за счет увеличения разрыва зоны проводимости на гетерогранице (ΔEC) в области канала, используя в составе канала твердого раствора полупроводника с большей шириной запрещенной зоны, например In0,17Ga0,83N с шириной запрещенной зоны 5,35 эВ, либо в результате увеличения концентрации InN в твердом растворе InGaN от 15 до 25% при критической толщине соответственно 7-16 нм.

[37]

Двуокись гафния, как диэлектрический материал с низкой плотностью состояния границы раздела, подходит для устройств с емкостно соединенными контактами. При необходимости повышения электрической прочности диэлектрика, поверх слоя двуокиси гафния размещается слой оксида алюминия. Использование слоев из двуокиси гафния и оксида алюминия позволяет минимизировать утечки тока и увеличить значение напряжения пробоя.

[38]

Между буферным слоем из нитрида алюминия 2 и слоем из нитрида галлия 4 i-типа располагается переходная область в виде второго буферного слоя из нитрида галлия 3, которая служит для уменьшения рассогласования параметров решетки и растущих на ней эпитаксиальных слоев. Между слоем твердого раствора InGaN 10 (канал) и диэлектрическим слоем 13 HfO2 размещен дополнительный слой 12 из химически более стабильного, по сравнению с AlGaN, материала из нитрида галлия (сглаживающий слой).

[39]

В процессе изготовления экспериментальных образцов коммутатора в гетероструктуре кристалла вместо буферного слоя нитрида галлия 3 был опробован дополнительный буферный слой в виде короткопериодной сверхрешетки AlGaN/GaN, что позволило существенно снизить плотность ростовых дефектов и улучшить электрическую изоляцию между каналом коммутирующего устройства и подложкой.

[40]

Таким образом, предлагается конструкция коммутирующего устройства, которая позволяет использовать емкостные соединенные контакты. Соединенные «спина к спине» конденсаторы (ДГМОП) образуют ВЧ-ключи, тем самым устраняя потребность в омических контактах. Процесс металлизации обходится без отжигов контактов. Приведенная конструкция коммутирующего устройства сочетает преимущества AlGaN/InGaN гетероперехода (канал ДЭГ высокой плотности с высокой подвижностью). Это приводит к очень низкому поверхностному сопротивлению канала, ниже 300 Ω/квадрат. Использование слоя из HfO2 обеспечивает низкие токи утечки и хорошую емкостную связь. Низкое сопротивление в открытом состоянии возникает в результате чрезвычайно высокой плотности в канале - сверх 1013 см-2, высокой подвижности электронов полей пробоя и широкого диапазона рабочих температур в пределах от криогенных до 300°C.

[41]

Перезарядка DX центров на высоких частотах вносит вклад в коэффициент шума, а захват электронов канала на центры при сильных полях приводит к коллапсу тока - сдвигу напряжения открытия устройства в сторону больших значений VG. Коллапс наиболее сильно сказывается при низких температурах, не позволяя в полной мере использовать улучшение транспортных свойств двумерных электронов при снижении температуры.

[42]

Расчеты показывают, что с учетом влияния DX-центров, характера зависимости ΔEC от мольной доли AlN, заглубления донорного уровня и ограничения на степень легирования слоя AlGaN, плотность электронов в канале МЛГС AlGaN/GaN не может превышать ~1.2-1.3×10-12 см-2. Одним из способов уменьшения «коллапса тока», возникающего из-за захвата электронов на ловушки в приповерхностном буферном слое, является его пассивация, что, однако, не спасает от захвата электронов на ловушки в буферном слое из GaN. Проблема усугубляется тем, что при легировании компенсирующие примеси создают дополнительные ловушки.

[43]

Одним из важнейших параметров является концентрация электронов в канале. Эта величина достаточно большая (ns>3.5⋅1012 см-2-≤8,5⋅1012 см-2), но в то же время она ограничена сверху. Примером оптимизации гетероструктуры может служить структура, опробованная в работе по проверке основных параметров гетероструктур, демонстрирующая при концентрации носителей в канале 8.9⋅1012 см-2 подвижность от 1500 до 2000 см2/В⋅с при комнатной температуре.

[44]

Для данного содержания In в слое InGaN (данной величины рассогласования) существует некоторая толщина слоя, который может быть выращен в псевдоморфном режиме. Дальнейшее увеличение толщины слоя приводит к формированию дислокаций несоответствия, снимающих механическое напряжение. Подвижность в рассогласованных структурах снижается в результате образования дислокаций превышении критической толщины слоя.

[45]

Критическая толщина зависит от упругих свойств материалов, образующих гетеропереход и уменьшается с увеличением содержания In в слое InGaN и для концентрации около 20% составляет примерно 15 нм. Ограничения, накладываемые критической толщиной, приводят к тому, что при содержании In свыше 30% слой, который может быть выращен бездислокационно, оказывается слишком тонким и неприемлем для использования в приборе. Таким образом, увеличение энергии размерного квантования в яме GaN/InXGa1-XN/AlGaN компенсирует увеличение ΔEC с ростом x. В рамках данного предложения при использовании в качестве канала псевдоморфных коммутирующих устройств использованы слои с содержанием In около 15-25% (толщина слоев около 6-17 нм).

[46]

Преимущество конструкции настоящего изобретения заключается в следующем:

[47]

- использование дополнительного буферного слоя в виде короткопериодной сверхрешетки AlGaN/GaN позволяет существенно снизить плотность ростовых дефектов и улучшить электрическую изоляцию между каналом гетероструктуры и подложкой;

[48]

- относительно малая суммарная толщина буферных слоев GaN, позволяющая улучшить ограничение носителей в канале;

[49]

- наличие дополнительного тонкого слоя нелегированного GaN между псевдоморфным InGaN каналом и AlGaN спейсером, улучшающего структурное качество границы раздела (сглаживающий слой);

[50]

- наличие дополнительного слоя n-типа из GaN под слоем диэлектрика из двуокиси гафния обеспечивает высокое качество границы диэлектрика с гетероструктурой на химически более стабильном по сравнению с AlGaN материале, кроме того, обеспечивает уменьшение шероховатости поверхности, что уменьшает окисление поверхности и повышает надежность коммутирующего устройства переключателя, препятствуя «коллапсу тока»;

[51]

- увеличение значений плотности и подвижности электронов в канале, изготовленном на основе InGaN, достигается оптимальным выбором независимых параметров структуры: концентрации легирующей примеси InN и критической толщины InGaN.

[52]

Принцип работы трехэлектродного двухканального устройства приведен на фиг. 2. Входной импульс может быть подан между землей E0 и электродом Е2, в то время как два маршрутных канала (каналы A, B) подсоединены между землей Е0 и электродами Е3 и E1 соответственно. Для работы коммутирующего устройства управляющее напряжение (+Uc1) может быть подано на E3, а отрицательное управляющее напряжение (-Uc1) может быть подано на E1. Когда полярность управляющего напряжения положительна, конденсатор для E1 будет включен, а для E3 будет выключен. В результате, входной сигнал будет направлен к каналу, подсоединенному между Е3 и Е0 (канал A). Аналогично, когда полярность управляющего напряжения отрицательна, то входной сигнал будет направлен между E1 и Е0 (канал B).

[53]

Принцип работы коммутирующего устройства может быть распространен на ВЧ коммутаторы любого количества каналов. На фиг. 3 показан четырехканальный коммутатор с вариантом реализации изобретения. В этом случае каждый выходной сигнал трехэлектродной конфигурации является входным сигналом для другой трехэлектродной конфигурации. В частности, входной сигнал подан между землей Е0 и электродом Е2, а четыре маршрутных канала подсоединены между землей и Е4, E6, Е7 и Е9 соответственно. Подавая три управляющих напряжения Uc1, Uc2, Uc3 между электродами E1 и Е3, Е4 и E6, а также Е7 и Е9 соответственно, и изменяя их полярности, как требуется, входной сигнал может быть направлен на любой желаемый канал, соединенный с Е4, Е6, Е7 или Е9.

Как компенсировать расходы
на инновационную разработку
Похожие патенты