Группа изобретений относится к области радиочастотной идентификации объектов с использованием поверхностных акустических волн (ПАВ) и может применяться при организации систем контроля и управления доступом. Технический результат заключается в повышении надежности контроля систем, использующих пассивные метки на ПАВ, и в повышении уровня безопасности. В способе и системе осуществляют радиозондирование пассивной радиометки на ПАВ путем облучения гармоническим сигналом, кодирование опросных сигналов радиометкой на ПАВ путем фазовой модуляции элементарных символов, формирование радиометкой на ПАВ ответных сигналов, содержащих идентификационный код радиометки, и их переизлучение в сторону приемопередающего тракта, радиозондирование осуществляют пакетом радиоимпульсов, содержащим по меньшей мере одну пару импульсов, один из импульсов которой имеет несущую частоту f, соответствующую центральной частоте полосы рабочих частот Δf, в которой радиометка формирует первую часть идентификационного кода, а другой импульс имеет частоту f, соответствующую центральной частоте полосы рабочих частот Δf, в которой радиометка формирует вторую часть идентификационного кода. Временной интервал между импульсами должен составлять не менее t=t+t+2t, где t- начальная задержка сигнала в радиометке; t- длительность кодовой части ответного сигнала радиометки; t- время распространения сигнала от приемопередающего тракта до радиометки. Порядок импульсов в паре задается случайным образом. В заявляемом способе помимо декодирования получают спектральные амплитудные характеристики каждого ответного сигнала, по которым вычисляют значения отношений максимумов амплитудных спектров ответных кодированных сигналов радиометки и сравнивают эти значения с критериями достоверности ответа истинной радиометки. 2 н. и 2 з.п .ф-лы, 4 ил.
1. Способ радиочастотной идентификации объектов, предусматривающий радиозондирование пассивной радиометки на поверхностных акустических волнах приемопередающим трактом путем облучения гармоническим сигналом, кодирование опросных сигналов радиометкой на ПАВ путем фазовой модуляции элементарных символов, формирование радиометкой на ПАВ ответных сигналов, содержащих идентификационный код радиометки, и их переизлучение в сторону приемопередающего тракта, прием ответных сигналов приемопередающим трактом с последующим их декодированием, отличающийся тем, что радиозондирование осуществляют пакетом радиоимпульсов, содержащим по меньшей мере пару импульсов, один из которых имеет несущую частоту f1, соответствующую центральной частоте полосы рабочих частот Δf1, в которой радиометка формирует первую часть идентификационного кода, а другой импульс имеет частоту f2, соответствующую центральной частоте полосы рабочих частот Δf2, в которой радиометка формирует вторую часть идентификационного кода, а временной интервал между импульсами составляет не менее tи=tз+tк+2tс, где tз - начальная задержка сигнала в радиометке, tк - длительность кодовой части ответного сигнала радиометки, tc - время распространения сигнала от приемопередающего тракта до радиометки, при этом порядок импульсов в паре задается случайным образом, а помимо декодирования получают спектральные амплитудные характеристики каждого ответного сигнала с последующим вычислением значений отношений максимумов амплитудных спектров ответных кодированных сигналов радиометки и сравнением этих значений с критериями достоверности ответа истинной радиометки. 2. Система для реализации способа по п. 1, включающая приемопередающий тракт и по меньшей мере одну пассивную радиометку на поверхностных акустических волнах, содержащую приемопередающую антенну, соединенную с по крайней мере одним встречно-штыревым преобразователем (ВШП), расположенным на пьезоэлектрической пластине, а также сформированные на пьезоэлектрической пластине группы отражающих структур, одна из которых предусмотрена для формирования части ответного сигнала, содержащей фиксированный код, предназначенный для измерения температуры радиометки, а другая группа отражающих структур предусмотрена для формирования части ответного сигнала, содержащей идентификационный код радиометки, при этом группа отражающих структур, предусмотренная для формирования части ответного сигнала, содержащей фиксированный код, предназначенный для измерения температуры радиометки, настроена на полосу рабочих частот группы отражающих структур, предусмотренной для формирования части ответного сигнала, содержащей идентификационный код радиометки, кроме того, положение отражающих структур относительно ВШП выбирается таким, чтобы временные интервалы, в которых передаются части ответного сигнала, не перекрывались, а количество и положение отражателей в отражающих структурах определяет кодирование ответного сигнала радиометки, отличающаяся тем, что отражающие структуры расположены по одну сторону от ВШП, при этом группа отражающих структур, формирующих часть сигнала, содержащую идентификационный код радиометки, включает отражающие структуры, настроенные на полосу рабочих частот Δf1 и отвечающие за формирование первой части идентификационного кода радиометки, и отражающие структуры, настроенные на полосу рабочих частот Δf2 и отвечающие за формирование второй части идентификационного кода радиометки. 3. Система по п. 2, отличающаяся тем, что отражающие структуры, настроенные на полосу рабочих частот Δf1 и отвечающие за формирование первой части идентификационного кода радиометки, располагаются на дополнительной пьезоэлектрической пластине с нанесенным на нее ВШП, при этом группа отражающих структур, предусмотренная для формирования части ответного сигнала, содержащей фиксированный код, предназначенный для измерения температуры радиометки, настроена на полосу рабочих частот Δf2. 4. Система по п. 2, отличающаяся тем, что отражающие структуры, настроенные на полосу рабочих частот Δf2 и отвечающие за формирование второй части идентификационного кода радиометки, располагаются на дополнительной пьезоэлектрической пластине с нанесенным на нее ВШП, при этом группа отражающих структур, предусмотренная для формирования части ответного сигнала, содержащей фиксированный код, предназначенный для измерения температуры радиометки, настроена на полосу рабочих частот Δf1.
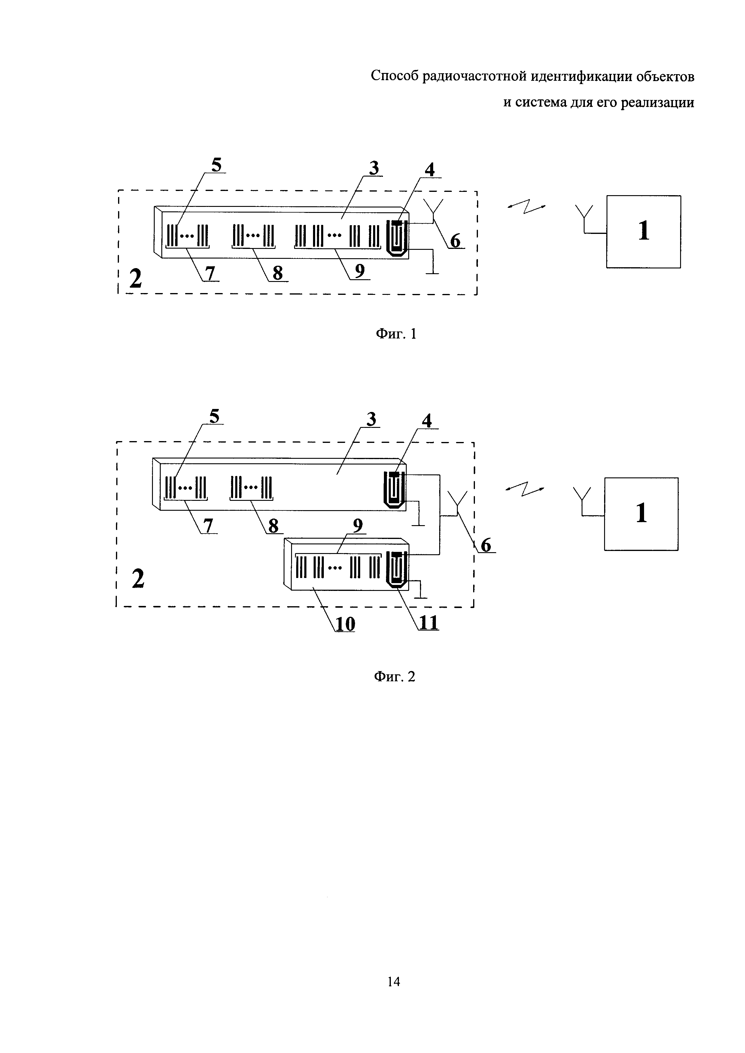
Группа изобретений относится к области радиочастотной идентификации объектов с использованием поверхностных акустических волн (ПАВ) и может применяться при организации систем контроля и управления доступом. Известны системы радиочастотной идентификации объектов с использованием пассивных ответчиков (радиометок) на ПАВ, а также соответствующие им способы идентификации (например, описанные в патентах РФ №2608259 С2, №2486665 С1, №2422848 С1, №2410716 С2, №2344437 С2, №2333513 С1, №2296304 С1, №2270517 С1, №2158936 С2, №2057334 С1; патентах США №6708881 В2, №4734698 А, №4625208 А, и др.). Наиболее близким по технической сущности аналогом (прототипом) заявляемого способа радиочастотной идентификации объектов является способ, описанный в патенте РФ №2057334 С1 («Способ идентификации объектов и установка для его осуществления», опубл. 27.03.1996 г., МПК6 G01N 33/02, B65D 88/00, Н03Н 9/145). Данный способ предназначен для идентификации крупногабаритных объектов, а также для контроля и слежения за перемещением грузовых, контейнерных и транспортных потоков, для осуществления сторожевых систем и устройств паспортизации в большом диапазоне расстояний от объекта в условиях нормального и неблагоприятного воздействия внешней среды. Способ идентификации предусматривает радиозондирование объекта приемопередающим трактом путем облучения пассивной радиометки на ПАВ радиосигналом. Радиометка принимает опросный сигнал, осуществляет его кодирование, формирует ответный сигнал, содержащий информационную часть с данными об объекте и идентификационный код радиометки, и переизлучает его в сторону приемопередающего тракта. Приемопередающий тракт принимает ответный сигнал и осуществляет его декодирование с целью идентификации радиометки и получения данных об объекте. При этом для радиозондирования объекта используют гармонический сигнал, а кодирование осуществляют путем фазовой модуляции элементарных символов. Предложенный способ не позволяет обеспечить имитозащищенность данных, получаемых приемопередающим трактом от пассивной радиометки на ПАВ, установленной на идентифицируемом объекте. Под «имитозащитой» здесь и далее следует понимать защиту системы радиочастотной идентификации от воспроизведения кодированного сигнала радиометки с помощью каких-либо устройств, в том числе изготовленной копии радиометки. Известна пассивная радиометка на ПАВ (патент РФ №2486665 С1, «Радиочастотное устройство идентификации на поверхностных акустических волнах», опубл. 27.06.2013, МПК8 Н03Н 9/145, G06K 7/01), содержащая приемопередающую антенну, соединенную с встречно-штыревым преобразователем (ВШП), расположенным на пьезоэлектрической пластине, на которой также по обе стороны от ВШП расположены группы отражающих структур. Кодирование ответного сигнала задают количеством и положением отражателей в отражающих структурах радиометки. При этом одна из групп отражающих структур участвует в формировании только первой части сигнала, которая содержит фиксированный код, предназначенный для измерения температуры радиометки, а другая группа отражающих структур участвует в формировании только второй части сигнала, которая содержит индивидуальный код радиометки. Для правильной идентификации индивидуального кода второй части сигнала используется значение температуры устройства идентификации, определенное по первой части сигнала, а для определения температуры и кода устройства используется корреляционный метод. Предложенная конструкция радиометки не позволяет защитить кодированный сигнал от его воспроизведения злоумышленниками и тем самым не обеспечивает имитозащиту системы радиочастотной идентификации. Кроме того, использование двунаправленного ВШП приводит к увеличению потерь сигнала, вносимых радиометкой на ПАВ. Из описания изобретения к данному патенту известно, что пассивная радиометка используется в системах идентификации объектов, в которых опрос радиометки осуществляется приемопередающим трактом (считывающим устройством). Таким образом, система радиочастотной идентификации, содержащая пассивную радиометку на ПАВ по патенту РФ №2486665 С1 и приемопередающий тракт, является прототипом заявляемой системы радиочастотной идентификации объектов и обладает всеми недостатками, присущими вышеописанной радиометке. Задачей изобретения является разработка способа и системы радиочастотной идентификации, которые способствуют повышению надежности систем контроля и управления доступом, использующих пассивные радиометки на ПАВ, и обеспечиваемого ими уровня безопасности. Техническим результатом группы изобретений является обеспечение имитозащищенности данных, получаемых приемопередающим трактом от пассивной радиометки на ПАВ, установленной на идентифицируемом объекте. Указанный результат достигается тем, что в способе радиочастотной идентификации объектов, предусматривающем радиозондирование пассивной радиометки на ПАВ приемопередающим трактом путем облучения гармоническим сигналом, кодирование опросных сигналов радиометкой на ПАВ путем фазовой модуляции элементарных символов, формирование радиометкой на ПАВ ответных сигналов, содержащих идентификационный код радиометки, и их переизлучение в сторону приемопередающего тракта, прием ответных сигналов приемопередающим трактом с последующим их декодированием, согласно изобретению радиозондирование осуществляют пакетом радиоимпульсов, содержащим по меньшей мере пару импульсов. При этом один из импульсов в паре имеет несущую частоту f1, соответствующую центральной частоте полосы рабочих частот Δf1, в которой радиометка формирует первую часть идентификационного кода, а другой импульс имеет частоту f2, соответствующую центральной частоте полосы рабочих частот Δf2, в которой радиометка формирует вторую часть идентификационного кода. Временной интервал между импульсами должен составлять не менее tи=tз+tк+2tс, где tз - начальная задержка сигнала в радиометке; tк -длительность кодовой части ответного сигнала радиометки; tс - время распространения сигнала от приемопередающего тракта до радиометки. Порядок импульсов в паре задается случайным образом. Кроме того, в заявляемом способе радиочастотной идентификации помимо декодирования получают спектральные амплитудные характеристики каждого ответного сигнала, по которым вычисляют значения отношений максимумов амплитудных спектров ответных кодированных сигналов радиометки и сравнивают эти значения с критериями достоверности ответа истинной радиометки. Вышеуказанный способ реализуется системой радиочастотной идентификации объектов, включающей приемопередающий тракт и по меньшей мере одну пассивную радиометку на поверхностных акустических волнах. Пассивная радиометка содержит приемопередающую антенну, соединенную с по крайней мере одним встречно-штыревым преобразователем (ВШП), расположенным на пьезоэлектрической пластине. Также на пьезоэлектрической пластине сформированы группы отражающих структур, одна из которых предусмотрена для формирования части ответного сигнала, содержащей фиксированный код, предназначенный для измерения температуры радиометки, а другая группа отражающих структур предусмотрена для формирования части ответного сигнала, содержащей идентификационный код радиометки. Группа отражающих структур, предусмотренная для формирования части ответного сигнала, содержащей фиксированный код, предназначенный для измерения температуры радиометки, настроена на полосу рабочих частот группы отражающих структур, предусмотренной для формирования части ответного сигнала, содержащей идентификационный код радиометки. Положение отражающих структур относительно ВШП выбирается таким, чтобы временные интервалы, в которых передаются части сигнала, не перекрывались, а количество и положение отражателей в отражающих структурах определяет кодирование ответного сигнала радиометки. При этом все отражающие структуры располагаются по одну сторону от ВШП, а группа отражающих структур, формирующих часть сигнала, содержащую идентификационный код радиометки, включает отражающие структуры, настроенные на полосу рабочих частот Δf1 и отвечающие за формирование первой части идентификационного кода радиометки, и отражающие структуры, настроенные на полосу рабочих частот Δf2 и отвечающие за формирование второй части идентификационного кода радиометки. Также возможен вариант реализации системы радиочастотной идентификации объектов, где отражающие структуры, настроенные на полосу рабочих частот Δf1 и отвечающие за формирование первой части идентификационного кода радиометки, или отражающие структуры, настроенные на полосу рабочих частот Δf2 и отвечающие за формирование второй части идентификационного кода радиометки, располагаются на дополнительной пьезоэлектрической пластине с нанесенным на нее ВШП, соединенным с приемопередающей антенной пассивной радиометки на ПАВ. При этом группа отражающих структур, предусмотренная для формирования части ответного сигнала, содержащей фиксированный код, предназначенный для измерения температуры радиометки, настроена на полосу рабочих частот отражающих структур, находящихся на одной с ней пьезоэлектрической пластине. Группа изобретений поясняется следующими чертежами и графиками: Фиг. 1 - структурная схема системы радиочастотной идентификации объектов, содержащей пассивную радиометку на ПАВ с одной пьезоэлектрической пластиной. Фиг. 2 - структурная схема системы радиочастотной идентификации объектов, содержащей пассивную радиометку на ПАВ с двумя пьезоэлектрическими пластинами. Фиг. 3 - осциллограммы отклика радиометки на ПАВ на импульс опроса: а) на частоте f1; б) на частоте f2. Фиг. 4 - спектральные амплитудные характеристики ответных сигналов радиометки на ПАВ: а) на частоте f1; б) на частоте f2. На фиг. 1 показана система радиочастотной идентификации объектов, состоящая из приемопередающего тракта 1 и минимум одной пассивной радиометки на ПАВ 2. Пассивная радиометка на ПАВ 2 включает в себя по крайней мере одну пьезоэлектрическую пластину 3, на поверхности которой сформированы один ВШП 4 и отражающие структуры, состоящие из отражателей 5. В качестве отражателей 5 могут использоваться канавки или металлизированные полоски. Количество и положение отражателей 5 в отражающих структурах определяет кодирование, а также начальную фазу элементарных символов ответного сигнала радиометки 2. ВШП 4 соединен с антенной 6 радиометки 2, а отражающие структуры располагаются по одну сторону от ВШП 4 и делятся на следующие группы: 7 - отражающие структуры, отвечающие за формирование части сигнала, содержащей фиксированный код, предназначенный для измерения температуры радиометки 2, и настроенные на одну из полос рабочих частот Δf1 или Δf2; 8 и 9 - отражающие структуры, предусмотренные для формирования части ответного сигнала, содержащей идентификационный код радиометки 2, при этом отражающие структуры 8 настроены на полосу рабочих частот Δf1 и отвечают за формирование первой части идентификационного кода радиометки 2, а отражающие структуры 9 настроены на полосу рабочих частот Δf2 и отвечают за формирование второй части идентификационного кода радиометки 2. При этом положение отражающих структур 7, 8 и 9 выбирается таким, чтобы временные интервалы, в которых передаются части ответного сигнала радиометки, не перекрывались. Возможен вариант осуществления системы радиочастотной идентификации объектов (фиг. 2) с пассивной радиометкой 2 на ПАВ, в которой отражающие структуры 8 или 9 располагаются на дополнительной пьезоэлектрической пластине 10 по одну сторону от сформированного на ней ВШП 11. ВШП 11 подключен к антенне 6 радиометки 2, а длина пьезоэлектрической пластины 3 превышает длину пьезоэлектрической пластины 10 на величину, которая определяется длительностью кодовой части пьезоэлектрической пластины 10. При этом отражающие структуры 7, отвечающие за формирование части сигнала, содержащей фиксированный код, предназначенный для измерения температуры радиометки 2, настроены на ту же полосу частот, что и отражающие структуры, расположенные на пьезоэлектрической пластине 3 (на фиг. 2 приведен пример осуществления системы радиочастотной идентификации объектов по п. 4 ф-лы). Способ радиочастотной идентификации объектов реализуется следующим образом. С помощью приемопередающего тракта 1 осуществляют опрос пассивной радиометки на ПАВ 2 гармоническим сигналом, представляющим собой пакет радиоимпульсов. Пакет радиоимпульсов содержит по меньшей мере пару импульсов. При этом один из импульсов в паре имеет несущую частоту f1, соответствующую центральной частоте полосы рабочих частот Δf1, в которой радиометка 2 формирует первую часть идентификационного кода, а другой импульс имеет частоту f2, соответствующую центральной частоте полосы рабочих частот Δf2, в которой радиометка 2 формирует вторую часть идентификационного кода. Порядок импульсов в паре задается приемопередающим трактом 1 случайным образом, а временной интервал между импульсами составляет не менее tи=tз+tк+2tc, где tз - время начальной задержки сигнала в радиометке 2 (время распространения сигнала от ВШП до ближайшего отражателя); tк - длительность кодовой части ответного сигнала радиометки 2; tc - время распространения сигнала от приемопередающего тракта 1 до радиометки 2. Если временной интервал будет меньше значения tи, то ответные сигналы радиометки 2 наложатся друг на друга и тогда осуществить их декодирование станет невозможно. Радиометка 2 поочередно принимает опросные импульсы и осуществляет их кодирование путем фазовой модуляции элементарных символов (т.е. преобразование каждого опросного импульса в последовательность откликов с модуляцией их начальной фазы) в зависимости от значения несущей частоты каждого импульса. Если импульс имеет частоту f1, основная часть его спектральной мощности принимается отражающими структурами 8, настроенными на полосу рабочих частот Δf1, а другая (очень малая) часть спектральной мощности импульса приходит на отражающие структуры 9, настроенные на полосу рабочих частот Δf2. Таким образом, в ответ на опросный импульс с частотой f1 радиометка 2 посылает сигнал, содержащий первую часть идентификационного кода и незначительный отклик от отражающих структур 9, который может быть зафиксирован в спектральной области (фиг. 3а). Если импульс имеет частоту f2, основная часть его спектральной мощности принимается отражающими структурами 9, настроенными на полосу рабочих частот Δf2, а другая (очень малая) часть спектральной мощности импульса приходит на отражающие структуры 8, настроенные на полосу рабочих частот Δf1. Таким образом, в ответ на опросный импульс с частотой f2 радиометка 2 посылает сигнал, содержащий вторую часть идентификационного кода и незначительный отклик от отражающих структур 8, который может быть зафиксирован в спектральной области (фиг. 3б). При этом группой отражающих структур 7, настроенных на одну из полос рабочих частот Δf1 или Δf2, формируется фиксированный код (например, код Баркера), предназначенный для измерения температуры радиометки 2 и позволяющий произвести компенсацию фазовых искажений ее импульсной характеристики, возникающих вследствие изменения температуры окружающей среды, который передается с одной из двух частей идентификационного кода. Температурная компенсация импульсной характеристики радиометки 2 необходима для правильного вычисления кода радиометки 2 при осуществлении корреляционной обработки сигнала или при вычислении кода радиометки 2 в посимвольном режиме, что является одним из условий обеспечения имитозащиты радиометки 2. Приемопередающий тракт 1 принимает ответные сигналы радиометки 2 и осуществляет их оцифровку и запись. Как только приемопередающим трактом 1 будут получены отклики радиометки 2 на все опросные импульсы в пакете, на основе полученных сигналов вычисляется уникальный идентификационный код радиометки 2. Кроме декодирования полученных сигналов также определяются спектральные амплитудные характеристики ответных сигналов радиометки 2 на каждый опросный импульс в пакете (фиг. 4а, б), находятся максимумы амплитудных спектров ответных кодированных сигналов радиометки 2 и вычисляются значения их отношений. Временные интервалы, на которых анализируются спектры сигнала, определяются временными интервалами, в которых передаются первая и вторая части идентификационного кода в радиометке 2. Полученные значения отношений максимумов амплитудных спектров ответных кодированных сигналов сравниваются с критериями достоверности ответа истинной радиометки 2: В формулах (1)-(6) приняты следующие обозначения: S1,max(ƒ1) и S1,max(ƒ2) - значения максимумов амплитудных спектров ответного сигнала на временном интервале, в котором передается первая часть идентификационного кода радиометки 2, в полосе рабочих частот Δƒ1 при ее опросе на частотах ƒ1 и ƒ2соответственно; S2,max(ƒ1) и S2,max(ƒ2) - значения максимумов амплитудных спектров ответного сигнала на временном интервале, в котором передается вторая часть идентификационного кода радиометки 2, в полосе рабочих частот Δƒ2 при ее опросе на частотах ƒ1 и ƒ2 соответственно; γ1, … γ6 - пороговые значения отношений максимумов амплитудных спектров ответных сигналов радиометки на каждый радиоимпульс опроса в пакете для заданного идентификационного кода радиометки 2. Достаточно проверять не все условия (1)-(6), а только часть из них, например условия (1)-(3). В случае если при идентификации зафиксирован уникальный код радиометки 2, и при этом все выбранные условия достоверности принятого сигнала выполнены, то такой код считается прошедшим проверку на аутентичность - делается вывод об истинности радиометки 2. В случае, если хотя бы одно из выбранных соотношений не выполняется, идентификационный код считается не прошедшим аутентификацию - делается вывод о попытке несанкционированного воспроизведения ответного сигнала радиометки 2. Таким образом, опрос радиометки парой импульсов с разными частотами, порядок которых меняется случайным образом, позволяет снизить вероятность правильного воспроизведения ответного сигнала радиометки другими техническими средствами, в том числе изготовленной копией радиометки, т.к. угадать частоту каждого импульса в конкретный момент времени довольно сложно. Также время формирования ответного сигнала радиометки не должно превышать временной интервал между опросными импульсами tи. В противном случае такой отклик не будет зарегистрирован приемопередающим трактом, поскольку он частично или полностью выходит за временной интервал, на котором выполняется анализ сигнала. При этом, т.к. часть временного интервала между опросными импульсами tи задается топологией каждой конкретной радиометки (tи=tз+tк+2tc, где tз - время начальной задержки сигнала в радиометке; tк - длительность кодовой части ответного сигнала радиометки; tс - время распространения сигнала от приемопередающего тракта до радиометки), то для успешной имитации ответного сигнала радиометки необходимо: - точно выдержать время начальной задержки сигнала в радиометке; - синхронизировать сымитированный сигнал по времени с каждым импульсом опроса в пакете с максимальной точностью (погрешность должна составлять не более 50 нс); - учесть выполнение фазовых соотношений (изменение фазы в каждом импульсе) в сымитированном сигнале. При этом время начальной задержки сигнала имеет очень малое значение (~ 1 мкс), за которое невозможно сымитировать ответный сигнал радиометки с заданной точностью. Кроме того, процесс несанкционированного воспроизведения ответного сигнала радиометки значительно усложняется тем, что для успешной имитации сигнала радиометки необходимо также: - обеспечить высокую топологическую точность при изготовлении копии чувствительного элемента радиометки (например, при использовании трехфазовой манипуляции в ответных импульсах радиометки допуск на точность расположения отражающих структур не должен превышать - обеспечить точность нанесения слоя металлизации или глубины травления канавок при формировании отражателей с допуском не более 10%. Данные требования возможно соблюсти только в условиях промышленного производства на специализированном оборудовании. Использование однонаправленного ВШП в обоих вариантах исполнения радиометки на ПАВ позволяет снизить потери сигнала, вносимые чувствительным элементом радиометки, что обеспечивает высокую эффективность работы имитозащищенной системы радиочастотной идентификации при больших дальностях опроса радиометки по сравнению с аналогичными техническими решениями.





где λ - длина акустической волны в пьезоэлектрической пластине);