Изобретение относится к области измерительной техники, в частности, к газоаналитическим датчикам - химическим сенсорам, предназначенным для анализа состава газовых смесей, обнаружения и количественного определения токсичных химических газообразных соединений в окружающей среде. Газовый мультисенсор включает в себя массив N органических полевых транзисторов, каждый из которых включает в себя по меньшей мере электрод - «сток», «исток», разделенные слоем органического полупроводника, электрод «затвор», диэлектрический слой и дополнительный рецепторный слой на основе металлопорфирина определенной химической формулы, полностью или частично покрывающий слой органического полупроводника в структуре N-го органического полевого транзистора, при этом каждый из N органических полевых транзисторов, входящих в массив, отличается от других органических полевых транзисторов массива химическим строением рецепторного слоя. Технический результат - уменьшение нижнего порога детектирования устройства типа «электронный нос» на основе хемисорбционных датчиков. 3 н. и 12 з.п. ф-лы, 14 ил.
1. Газовый мультисенсор, включающий в себя массив N органических полевых транзисторов, каждый из которых включает в себя по меньшей мере электроды - «сток», «исток», разделенные слоем органического полупроводника, электрод «затвор», диэлектрический слой и дополнительный рецепторный слой на основе металлопорфирина общей формулы 1 или 2, полностью или частично покрывающий слой органического полупроводника в структуре N-го органического полевого транзистора: где металл-ион порфирина М является переходным металлом, при этом каждый из N органических полевых транзисторов, входящих в массив, отличается от других органических полевых транзисторов массива химическим строением рецепторного слоя. 2. Газовый мультисенсор по п. 1, отличающийся тем, что металл-ион порфирина М представляет собой ион переходного металла Cu, Zn, Со, Fe, Ni, Cr, Mn, Ti или V. 3. Газовый мультисенсор по п. 1, отличающийся тем, что массив N органических полевых транзисторов сформирован на общей подложке. 4. Газовый мультисенсор по п. 1, отличающийся тем, что предназначен для определения наличия одного из следующих газов: аммиак, сероводород, диоксид азота, этилмеркаптан. 5. Газовый мультисенсор по п. 1, отличающийся тем, что слой органического полупроводника органического полевого транзистора представляет из себя самоорганизующийся монослой, выполненный из кремнийорганических химически инертных растворимых в органических растворителях производных олиготиофенов, бензотиенобензотиофенов или дифенилбитиофенов. 6. Газовый мультисенсор по п. 1, отличающийся тем, что толщина слоя органического полупроводника органического полевого транзистора составляет 2-20 нм. 7. Газовый мультисенсор, включающий в себя массив N органических полевых транзисторов, каждый из которых включает в себя по меньшей мере электрод - «сток», «исток», разделенные слоем органического полупроводника, электрод затвора, диэлектрический слой и дополнительный рецепторный слой на основе металлопорфирина общей формулы 1 или 2, полностью или частично покрывающим слой органического полупроводника в структуре N-го органического полевого транзистора: где металл-ион порфирина М является переходным металлом, причем каждый из N органических полевых транзисторов, входящих в массив, отличается от других органических полевых транзисторов массива химическим строением рецепторного слоя, при этом массив N органических полевых транзисторов содержит по меньшей мере один органический полевой транзистор, не имеющий рецепторного слоя, предназначенный для количественного определения концентрации нескольких низкомолекулярных токсичных газов в составе атмосферного воздуха или газовой смеси. 8. Газовый мультисенсор по п. 7, отличающийся тем, что металл-ион порфирина М представляет собой ион переходного металла Cu, Zn, Со, Fe, Ni, Cr, Mn, Ti или V. 9. Газовый мультисенсор по п. 7, отличающийся тем, что при формировании массива из N органических полевых транзисторов на общей подложке органические полевые транзисторы с рецепторным слоем размещены преимущественно по периметру подложки, а органический полевой транзистор, не имеющий рецепторного слоя, размещен преимущественно в центральной части подложки. 10. Газовый мультисенсор по п. 7, отличающийся тем, что рецепторные слои металлопорфиринов нанесены при помощи метода Ленгмюра-Блоджетт путем частичного окунания подложки в субфазу. 11. Газовый мультисенсор по п. 7, отличающийся тем, что слой органического полупроводника органического полевого транзистора представляет из себя самоорганизующийся монослой, выполненный из кремнийорганических химически инертных растворимых в органических растворителях производных олиготиофенов, бензотиенобензотиофенов или дифенилбитиофенов. 12. Газовый мультисенсор по п. 7, отличающийся тем, что толщина слоя органического полупроводника органического полевого транзистора составляет 2-20 нм. 13. Газовый мультисенсор по п. 7, отличающийся тем, что предназначен для определения наличия и концентрации одного из следующих газов: аммиак, сероводород, диоксид азота, этилмеркаптан. 14. Устройство для анализа многокомпонентной газовой смеси типа «Электронный нос», включающее в себя: газовый мультисенсор, выполненный по п. 1 или 7; измерительный блок, подключенный к каждому из органических полевых транзисторов в составе вышеупомянутого газового мультисенсора, при этом измерительный блок выполнен с возможностью измерения величин тока в каждом из N органических полевых транзисторов, входящих в массив, в зависимости от времени; микропроцессор, подключенный к измерительному блоку и выполненный с возможностью анализа отклика каждого из N органических полевых транзисторов и определения типа низкомолекулярного токсичного газа, присутствующего в газовой смеси, а также его концентрации, герметичную камеру с газовыми вводом и выводом, в которой размещен вышеупомянутый газовый мультисенсор. 15. Устройство по п. 10, отличающееся тем, что предназначено для определения наличия и концентрации одного из следующих газов: аммиак, сероводород, диоксид азота, этилмеркаптан.

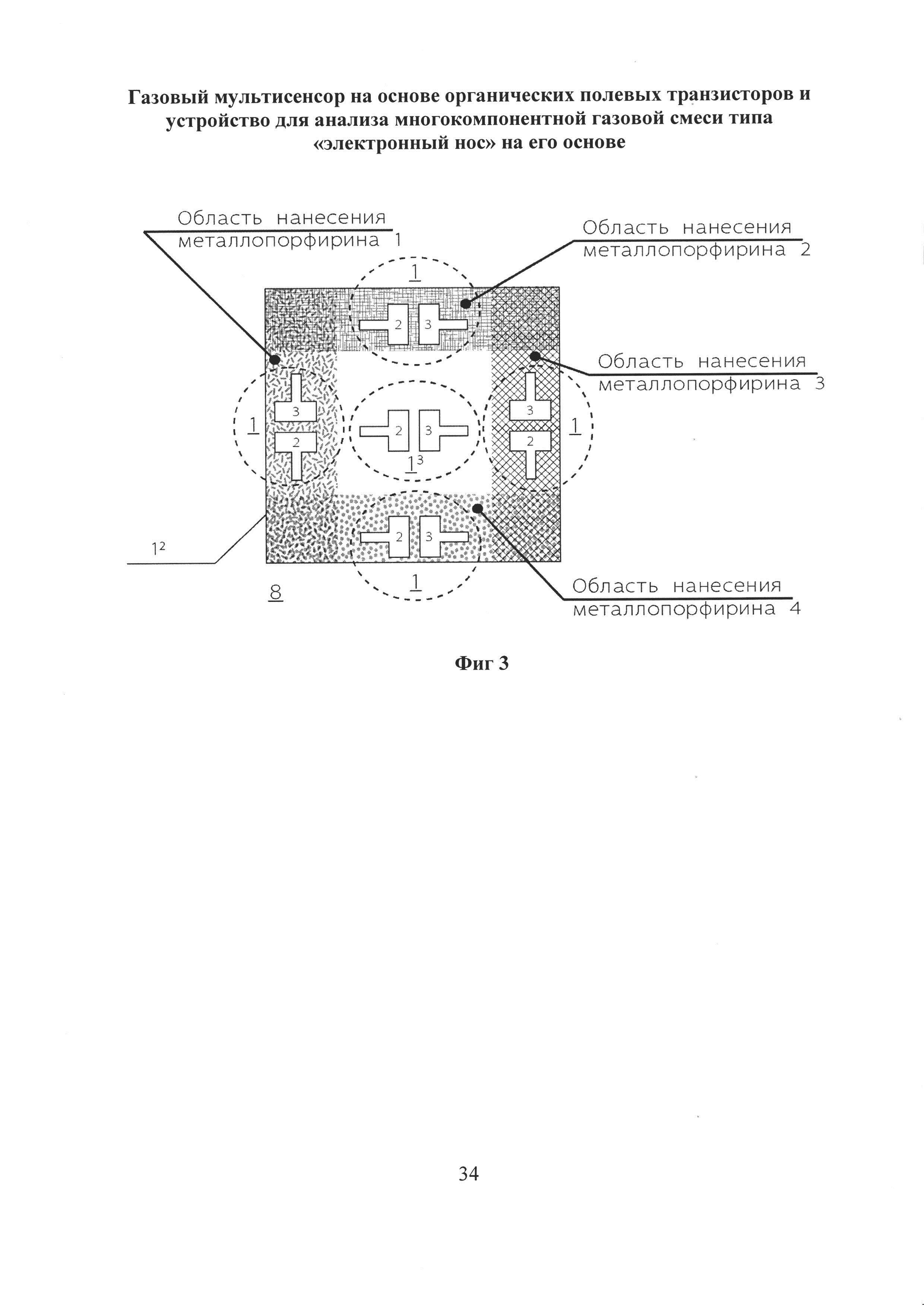
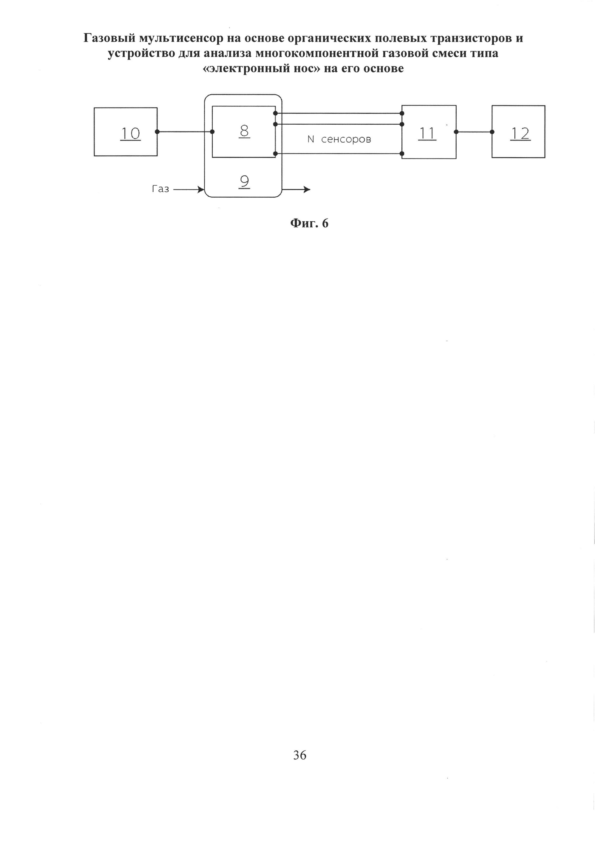
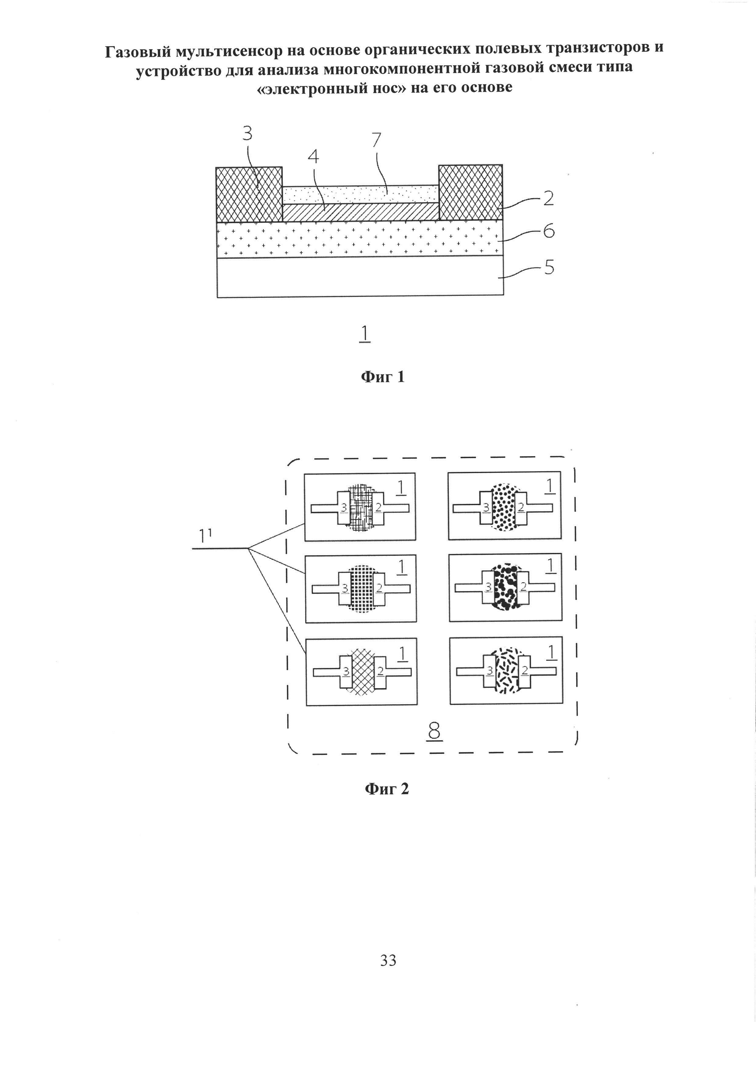
ОБЛАСТЬ ТЕХНИКИ Изобретение относится к области измерительной техники, в частности, к газоаналитическим датчикам - химическим сенсорам, предназначенным для анализа состава газовых смесей, обнаружения и количественного определения токсичных химических газообразных соединений в окружающей среде. Более конкретно изобретение относится к системам типа «Электронный нос», представляющим из себя искусственную систему обоняния, основанную на массиве химических сенсоров, каждый из которых представляет из себя органический полевой транзистор, обладающий ограниченной специфичностью. Заявляемое устройство для анализа многокомпонентной газовой смеси типа «Электронный нос» на основе органических полевых транзисторов предназначено для широкого набора практических приложений и призвана заменить обонятельную систему человека за счет создания интеллектуальных автоматизированных систем контроля воздуха и детектирования запахов. В частности, «Электронный нос» может быть использован для определения качества отдельных категорий дорогостоящих пищевых продуктов, таких как кофе, чай, оливковое масло или вино на производстве и в сетях розничной торговли [Taurino А.М., Zuppa М., Presicce D.S. [et. al.] Miniaturized Hybrid System for Olive Oil Evaluation // 2005 Ieee Sensors, Vols 1 and 2. - 2005. - P. 1022-1025]. Другим применением таких систем является неинвазивная медицинская диагностика отдельных видов заболеваний, таких как диабет [Ping W., Yi Т., Xie Н.В., Shen F.R. A Novel Method for Diabetes Diagnosis Based on Electronic Nose // Biosensors & Bioelectronics. - 1997. - V. 12, №9-10. - P. 1031-1036] или астма [Bates С.A., Silkoff P.E. Exhaled Nitric Oxide in Asthma: From Bench to Bedside // Journal of Allergy and Clinical Immunology. - 2003. - V. 111, №2. - P. 256-262]. Перспективным применением «Электронного носа» является также контроль качества окружающего воздуха в жилых и рабочих зонах [McNabola A., Broderick В.М., Gill L.W. A Principal Components Analysis of the Factors Effecting Personal Exposure to Air Pollution in Urban Commuters in Dublin, Ireland // Journal of Environmental Science and Health Part a-Toxic / Hazardous Substances & Environmental Engineering. - 2009. - V. 44, №12. - P. 1219-1226], а также контроль появления возгорания [Scorsone Е., Pisanelli А.М., Persaud K.С. Development of an Electronic Nose for Fire Detection // Sensors and Actuators B-Chemical. - 2006. - V. 116, №1-2. - P. 55-61]. УРОВЕНЬ ТЕХНИКИ Применение органических полевых транзисторов в качестве основы для системы «Электронный нос» является наиболее перспективным решением, поскольку позволяет совместить высокую чувствительность, низкое энергопотребление, а также возможность внедрения в структуру отдельных сенсоров, входящих в состав «электронного носа», рецепторных слоев различного химического строения, что позволяет увеличить селективность используемых датчиков. Дополнительным преимуществом является невысокая стоимость мультисенсора, являющегося основой «Электронного носа», что позволяет использовать его в варианте одноразового устройства и актуально в случае биомедицинских применений. Известен сенсор электронного носа или электронного языка, включающий одну подложку с множеством чувствительных зон. Каждая из рецепторных зон содержит смесь нескольких различных рецепторов в различных пропорциях. При взаимодействии образца с хотя бы одной из чувствительных зон меняются ее физические параметры, что позволяет определить наличие детектируемого соединения при помощи оптической, флуоресцентной или конфокальной микроскопии, а также посредством поверхностного плазмонного резонанса или путем измерения импеданса, [заявка ЕА 201491561 А1, дата публикации 2015.01.30]. Недостаток данного сенсора заключается в применении сложных методов регистрации сигнала, исключающих создание портативных устройств, а также изготовления смеси рецепторов в различных пропорциях, что удорожает стоимость конечного устройства. Также известен электронный нос на основе массива полевых транзисторов, в которых роль полупроводникового слоя выполняют изолированные неокисленные нанотрубки, поверхность которых покрыта различными функциональными группами, отличными от метальных. Известное устройство предназначено для детектирования летучих органических соединений в концентрациях ниже 1 ppm. Электрический сигнал, получаемый с каждого отдельного сенсора в составе электронного носа анализируется при помощи измерительного блока (распознавателя образов) в соответствии с одним из известных методов анализа данных, таких как метод принципиальных компонент или алгоритм искусственной нейронной сети. Прибор может быть использован для неинвазивной медицинской диагностики, в том числе раковых заболеваний [заявка US 2010/0198521 А1, дата публикации 05.08.2010]. Недостатком данного электронного носа является техническая сложность процесса изготовления полупроводникового слоя отдельных сенсоров, требующая точного размещения одиночной нанотрубки относительно электродов, а также возможность детектирования при помощи такого носа лишь ограниченного набора химических соединений (летучих органических соединений). Известен многоканальный «электронный нос» на пьезосенсорах, каждый из которых покрыт пленочными покрытиями различных сорбентов. Устройство позволяет анализировать пробы различного состава, в том числе мало отличающиеся друг от друга, содержащие определяемые компоненты на уровне микроконцентраций [патент RU 2327984 С1, дата публикации 19.02.2007]. Недостатком описанного прибора является применение крупногабаритной электрической системы снятия отклика с отдельных газовых сенсоров, что исключает создание на ее основе портативных газоаналитических систем. Известно устройство для анализа состава газовой смеси, включающее в себя диэлектрическую подложку с нагревательными элементами и нанесенным на поверхность подложки газочувствительным металл-оксидным слоем, полосковые электроды, расположенные по краям газочувствительного металл-оксидного слоя и, по крайней мере, один измерительный электрод, размещенный между полосковыми электродами, при этом полосковые электроды снабжены выводами для подключения к источнику напряжения, а измерительные электроды снабжены выводами для подключения к устройству измерения потенциала. Устройство позволяет различать между собой отдельные летучие органические соединения [патент RU 2392614 С1, дата публикации 03.06.2009]. Недостатком устройства является необходимость нагрева металл-оксидного слоя до высоких температур (100-400°С), что исключает возможность создания на его основе энергоэффективных систем. Кроме того, устройство ограничено по селективности. Известен способ формирования матрицы сенсоров на основе пьезокварцевых резонаторов, электроды которых модифицированы сорбентами различного химического строения. На основании откликов отдельных сенсоров на газовую смесь составляется визуальный образ, который затем анализируется [патент RU 2442158 С2, дата публикации 23.04.2010]. Недостатком устройств, реализующих данный метод, является ограниченный набор детектируемых аналитов ввиду узкого набора используемых сорбентов. Известен полевой транзистор с нанесенной поверх него липидной мембраной, покрывающей сток, исток, а также полупроводящий канал и содержащей белковый рецептор. При этом полупроводящий канал представляет из себя наноструктурированный полупроводник, состоящий из нанотрубок, нанонитей или представляющий из себя пленку нанометровой толщины. Устройство может быть использовано в системах типа «Электронный нос» и способно детектировать соединения биологического происхождения с высокой чувствительностью [патент US 8377706 В2, дата публикации 19.02.2013]. Недостатком описанного устройства является ограниченный круг детектируемых соединений, включающий только соединения биологического происхождения, но не включающий низкомолекулярные токсичные газы. Известен полевой транзистор на основе полупроводникового кремния, имеющий в своей структуре верхний и нижний затворы, а также рецепторный слой. Массив сенсоров на основе таких полевых транзисторов с различными рецепторными слоями может быть объединен в систему типа «Электронный нос» [заявка US 2011/0108892 А1, дата публикации 12.05.2011]. Недостатком описанного устройства является наличие двух электродов затвора - верхнего и нижнего, что усложняет процесс изготовления сенсора и электронного носа на его основе. Известен «электронный нос» на основе сенсоров одного из нескольких типов (в т.ч. транзисторов), при этом полупроводниковый слой состоит из нанонитей колончатых дискотических жидких кристаллов. Кроме того, отдельные сенсоры в составе электронного носа не имеют чувствительности к парам воды. Устройство предназначено для детектирования летучих органических соединений с высокой чувствительностью [заявка US 2010/0191474 А1, дата публикации 29.07.2010]. Недостатком описанного устройства является ограниченный круг детектируемых соединении, включающий только летучие органические соединения, но не включающий низкомолекулярные токсичные газы. Наиболее близким к заявляемому техническому решению является устройство типа «электронный нос», в котором в качестве отдельных сенсоров используются хемисорбционные датчики с различными чувствительными слоями на основе металлопорфиринов различного химического строения, отличающиеся друг от друга типом центрального атома металла. Принцип работы прибора основан на измерении оптических характеристик отдельных датчиков, входящих в состав «электронного носа», последующем анализе получаемых данных при помощи известных методов обработки, например, метода принципиальных компонент, и соотнесении получаемых характеристик с известными калибровочными кривыми. Устройство способно детектировать низкомолекулярные токсичные газы, такие как аммиак, оксиды азота, монооксид углерода и триэтиламин. [Filippini D., Alimelli A., Di Natale С., Paolesse R., Недостатком данного устройства является его недостаточная чувствительность (выше 2 ppm в случае аммиака, выше 20 ppm в случае азота), обусловленная слабочувствительным методом снятия отклика с отдельных датчиков. СУЩНОСТЬ ИЗОБРЕТЕНИЯ Техническая проблема, на решение которой направлено заявляемое изобретение, состоит в создании высокочувствительного устройства типа «электронный нос» для анализа многокомпонентной газовой смеси, а также определения концентраций различных низкомолекулярных токсичных газов в ее составе в диапазоне концентраций менее 1 ppm. Технический результат, достигаемый при реализации заявляемого изобретения, заключается в уменьшении нижнего порога детектирования устройства типа «электронный нос» на основе хемисорбционных датчиков с рецепторными слоями на основе металлопорфиринов различного химического строения, отличающимися друг от друга центральным атомом металла. Технический результат достигается за счет того, что газовый мультисенсор включает в себя массив N органических полевых транзисторов, каждый из которых включает в себя по меньшей мере электрод - «сток», «исток», разделенные слоем органического полупроводника, электрод «затвор», диэлектрический слой и дополнительный рецепторный слой на основе металлопорфирина общей формулы 1 или 2, полностью или частично покрывающий слой органического полупроводника в структуре N-го органического полевого транзистора: где металл-ион порфирина М является переходным металлом, при этом каждый из N органических полевых транзисторов, входящих в массив, отличается от других органических полевых транзисторов массива химическим строением рецепторного слоя. Кроме того, в частном случае реализации изобретения металл-ион порфирина М представляет собой ион переходного металла Cu, Zn, Со, Fe, Ni, Cr, Mn, Ti или V. Кроме того, в частном случае реализации изобретения массив N органических полевых транзисторов сформирован на общей подложке. Кроме того, в частном случае реализации изобретения газовый мультисенсор предназначен для определения наличия одного из следующих газов: аммиак, сероводород, диоксид азота, этилмеркаптан. Также технический результат достигается за счет того, что газовый мультисенсор включает в себя массив N органических полевых транзисторов, каждый из которых включает в себя по меньшей мере электрод - «сток», «исток», разделенные слоем органического полупроводника, электрод «затвор», диэлектрический слой и дополнительный рецепторный слой на основе металлопорфирина общей формулы 1 или 2, полностью или частично покрывающий слой органического полупроводника в структуре N-го органического полевого транзистора: где металл-ион порфирина М является переходным металлом, причем каждый из N органических полевых транзисторов, входящих в массив, отличается от других органических полевых транзисторов массива химическим строением рецепторного слоя, при этом массив N органических полевых транзисторов содержит по меньшей мере один органический полевой транзистор, не имеющий рецепторного слоя, предназначенный для количественного определения концентрации нескольких низкомолекулярных токсичных газов в составе атмосферного воздуха или газовой смеси. Кроме того, в частном случае реализации изобретения при формировании массива из N органических полевых транзисторов на общей подложки органические полевые транзисторы с рецепторным слоем размещены преимущественно по периметру подложки, а органический полевой транзистор, не имеющий рецепторного слоя, размещен преимущественно в центральной части подложки. Кроме того, в частном случае реализации изобретения рецепторные слои металлопорфиринов нанесены при помощи метода Ленгмюра-Блоджетт путем частичного окунания подложки в субфазу. Кроме того, в частном случае реализации изобретения, слой органического полупроводника органического полевого транзистора представляет из себя самоорганизующийся монослой, выполненный из кремнийорганических химически инертных растворимых в органических растворителях производных олиготиофенов, бензотиенобензотиофенов или дифенилбитиофенов. Кроме того, в частном случае реализации изобретения толщина слоя органического полупроводника органического полевого транзистора составляет 2-20 нм. Кроме того, в частном случае реализации изобретения газовый мультисенсор определения наличия и концентрации одного из следующих газов: аммиак, сероводород, диоксид азота, этилмеркаптан. Также технический результат достигается за счет того, что устройство для анализа многокомпонентной газовой смеси типа «Электронный нос» включает в себя газовый мультисенсор, выполненный по любому из вариантов реализации, приведенных выше; измерительный блок, подключенный к каждому из органических полевых транзисторов в составе вышеупомянутого газового мультисенсора, при этом измерительный блок выполнен с возможностью измерения величин тока в каждом из N органических полевых транзисторов, входящих в массив, в зависимости от времени; микропроцессор, подключенный к измерительному блоку и выполненный с возможностью анализа отклика каждого из N органических полевых транзисторов и определения типа низкомолекулярного токсичного газа, присутствующего в газовой смеси, а также его концентрации; герметичную камеру с газовыми вводом и выводом, в которой размещен вышеупомянутый газовый мультисенсор. Кроме того, в частном случае реализации изобретения устройство предназначено для определения наличия и концентрации одного из следующих газов: аммиак, сероводород, диоксид азота, этилмеркаптан. Уменьшение величины нижнего порога детектирования устройства типа «электронный нос» на основе хемосорбционных датчиков с рецепторными слоями на основе металлопорфиринов различного химического строения достигается за счет двух факторов. Во-первых, используемые хемосорбционные датчики в составе устройства представляют собой органические полевые транзисторы, в которых поверх слоя органического полупроводника нанесены рецепторные слои на основе металлопорфиринов различного химического строения, что позволяет регистрировать отклик сенсора в виде зависимостей величины тока от приложенного напряжения. Во-вторых, пленки органического полупроводника и рецептора на основе металлопорфирина имеют минимальную возможную толщину и в предпочтительном варианте реализации изобретения являются монослоями вещества, что соответствует толщинам пленок в диапазоне от 2 до 20 нм. СВЕДЕНИЯ, ПОДТВЕРЖДАЮЩИЕ РЕАЛИЗАЦИЮ ИЗОБРЕТЕНИЯ Пример реализации изобретения подтверждается чертежами, на которых изображены: на фиг. 1 - показана схема устройства газового мультисенсора на основе органических полевых транзисторов; на фиг. 2 - показана схема газового мультисенсора на основе органических полевых транзисторов, размещенных на разных подложках; на фиг. 3 - показана схема газового мультисенсора на основе органических полевых транзисторов, изготовленного на одной подложке; на фиг. 4 - показаны вольтамперные кривые органического полевого транзистора до нанесения металлопорфирина; на фиг. 5 - показаны вольтамперные кривые органического полевого транзистора после нанесения металлопорфирина; на фиг. 6 - показана схема устройства типа «электронный нос» на основе газового мультисенсора; на фиг. 7 - показана зависимость величины тока от времени для органического полевого транзистора с рецепторным слоем металлопорфирина TiO-TPP при различных концентрациях одного газа (аммиака); на фиг. 8 - показана зависимость величины тока от времени для органического полевого транзистора с рецепторным слоем металлопорфирина TiO-TPP для разных газов одной концентрации; на фиг. 9 - показана зависимость величины тока от времени для органического полевого транзистора с различными рецепторными слоями металлопорфиринов; на фиг. 10 - показаны результаты регистрации отклика газового мультисенсора на основе органических полевых транзисторов методом линейных дискриминат (LDA - linear discriminant analysis); на фиг. 11-14 показаны зависимости относительной величины тока в органическом полевом транзисторе без рецепторного слоя от концентрации для газовых смесей, содержащих газы аммиак (NH3), сероводород (H2S), диоксид азота (NO2), этилмеркаптан (Et-SH). На чертежах позиции имеют следующие обозначения: 1 - газовый сенсор на основе органического полевого транзистора с рецепторным слоем; 11 - подложка каждого органического полевого транзистора; 12 - общая подложка для размещения массива органических полевых транзисторов; 13 - органический полевой транзистор без рецепторного слоя; 2 - электрод «сток»; 3 - электрод «исток»; 4 - слой органического полупроводника; 5 - электрод «затвор»; 6 - диэлектрический слой; 7 - рецепторный слой; 8 - газовый мультисенсор на основе органических полевых транзисторов. 9 - герметичная камера; 10 - источник питания; 11 - измерительный блок; 12 - микропроцессор. Газовый мультисенсор 8, представленный на фиг. 1, представляет собой массив из N органических полевых транзисторов 1, каждый из которых включает в себя по меньшей мере электрод 2 - «сток», электрод 3 - «исток», разделенные слоем 4 органического полупроводника, электрод 5 - «затвор», диэлектрический слой 6 и рецепторный слой 7, полностью или частично покрывающий слой 4 органического полупроводника в структуре N органического полевого транзистора. В предпочтительном варианте реализации изобретения рецепторный слой 7 выполнен на основе металлопорфирина общей формулы 1 или 2: где металл-ион порфирина М представляет собой ион переходных металлов Cu, Zn, Со, Fe, Ni, Cr, Mn, Ti или V. В предпочтительном варианте реализации газового мультисенсора, представленного на фиг. 2, массив из N органических полевых транзисторов 1, используемых для качественного анализа состава атмосферного воздуха или газовой смеси, может содержать по меньшей мере один органический полевой транзистор 13, не имеющий рецепторного слоя, и который может использоваться для количественного определения концентрации низкомолекулярного токсичного газа в составе атмосферного воздуха или газовой смеси, содержащей газы аммиак (NH3), сероводород (H2S), диоксид азота (NO2), этилмеркаптан (Et-SH); В предпочтительном варианте реализации газового мультисенсора массив из N органических полевых транзисторов 1 формируют на общей подложке 12 (фиг. 3), при этом рецепторные слои 7 металлопорфиринов переносят при помощи метода Ленгмюра-Блоджетт путем частичного окунания подложки 12 в субфазу. В случае наличия в массиве N органических полевых транзисторов 1 по меньшей мере одного органического полевого транзистора 13, не имеющего рецепторного слоя, предпочтительно разместить такой транзистор в центральной части подложки 12, а N органические полевые транзисторы 1 с рецепторным слоем 7 размещают преимущественно по периметру подложки 12. Предложенное расположение N органических полевых транзисторов 1 позволяет осуществлять перенос каждого последующего рецепторного слоя 7 не повреждая рецепторные слои 7 других транзисторов массива. В предпочтительном варианте реализации газового мультисенсора 8 слой 4 органического полупроводника представляет собой самоорганизующийся монослой и может быть выполнен из кремнийорганических химически инертных растворимых в органических растворителях производных олиготиофенов, бензотиенобензотиофенов или дифенилбитиофенов, таких как, 1,3-бис[11-(5'''-гексил-2,2':5',2'':5'',2'''-кватротиофен-5-ил)ундецил]-1,1,3,3-тетраметилдисилоксан, 1,3-бис[11-([1]бензотиено[3,2-b][1]бензотиен-2-ил)ундецил]-1,1,3,3-тетраметилдисилоксан, 1,3-бис[11-(7-гексил[1]бензотиено[3,2-b][1]бензотиен-2-ил)удецил]-1,1,3,3-тетраметилдисилоксан, 1,3-бис[11-(4-{5-[4-(триметилсилил)фенил]-2,2-битиен-5-ил}фенил) ундецил]-1,1,3,3-тетраметилдисилоксан. Выполнение слоя 4 органического полупроводника не ограничивается приведенными выше примерами. Слой 4 органического полупроводника может быть получен любым из известных методов, в частности, методом Ленгмюра-Блоджетт [Sizov A.S., Agina Е.V., Gholamrezaie F. [et. al.] Oligothiophene-Based Monolayer Field-Effect Transistors Prepared by Langmuir-Blodgett Technique // Applied Physics Letters. - 2013. - V. 103, №4. - P. 043310], методом Ленгмюра-Шефера [Tanese M.C, Farinola G.M., Pignataro B. [et. al.] Poly(Alkoxyphenylene-Thienylene) Langmuir- В предпочтительном варианте реализации газового мультисенсора 8 толщина слоя 4 органического полупроводника может составлять от 2 до 20 нм, что обеспечивает высокую чувствительность сенсора. Поскольку электрический ток в N органическом полевом транзисторе, входящим в состав газового мультисенсора 8, локализован в тонком приповерхностном слое на границе «слоя 4 органического полупроводника - диэлектрического слоя 6», толщина слоя 4 органического полупроводника в диапазоне от 2 до 20 нм обеспечивает прямое влияние рецепторного слоя 7 на токонесущую часть полупроводникового слоя 4. Нижняя граница указанного диапазона 2 нм соответствует минимальной толщине слоя 4 органического полупроводника, при которой органические полевые транзисторы 1 демонстрируют электрические и газочувствительные свойства. Верхняя граница указанного диапазона 20 нм обеспечивает возможность детектирования низких концентраций целевых газов в диапазоне концентраций менее 1 ppm. При увеличении толщины слоя 4 органического полупроводника чувствительность газового мультисенсора в ppb-диапазоне уменьшается. В предпочтительном варианте реализации газового мультисенсора 8 рецепторный слой 7 представляет из себя монослой, что обеспечивает высокую чувствительность устройства. При взаимодействии детектируемого токсичного газа с поверхностью рецепторного слоя 7 возникают локальные дипольные моменты, создающие электростатические поля. Поскольку величина поля убывает с расстоянием, то малая толщина рецепторного слоя 7 металлопорфирина обеспечивает наибольшее влияние поверхности рецептора на проводящий канал транзистора. Необходимость использования отдельных полупроводникового 4 и рецепторного 7 слоев обусловлена тем фактом, что рецепторный слой 7 с малой толщиной обладает крайне низкими электрическими характеристиками, недостаточными для работы газового сенсора. Принципиальным фактором для достижения технического результата является сохранение высоких электрических характеристик монослойного органического полевого транзистора 1 при переносе рецепторного слоя 7. Данный результат достигается за счет того, что рецепторный слой 7 переносится на подложку 11 или 12, содержащую N органических полевых транзисторов 1, при помощи методов Ленгмюра-Блоджетт или Ленгмюра-Шеффера [Wei Z.М., Cao Y., Ma W.Z., Wang С.L., Xu W., Guo X.F., Hu W.P., Zhu D.В. Langmuir-Blodgett Monolayer Transistors of Copper Phthalocyanine // Applied Physics Letters. - 2009. - V. 95, №3], что исключает попадание органического растворителя в слой органического полупроводника 4 и нарушение его целостности. Для иллюстрации результата, на фиг. 4 приведены электрические характеристики органического полевого транзистора до нанесения рецепторного слоя 7, а на фиг. 5 приведены электрические характеристики органического полевого транзистора после нанесения рецепторного слоя 7. В предпочтительном варианте реализации газового мультисенсора 8 диэлектрический слой 5 может быть выполнен из термически выращенного сухого диоксида кремния модифицированного самособирающимся монослоем (SAM - self-assembled monolayer) октилдиметилхлорсилана (ОДМС) или другого алкилхлорсилана, обеспечивающего достаточно низкую шероховатость (<0,5 нм) поверхности диэлектрического слоя 5. Изготовление газового мультисенсора 8 на основе органических полевых транзисторов 1, представленного на фиг. 2 и фиг. 3, осуществляют предпочтительно следующим образом. Известными методами, например, [Sizov A.S., Anisimov D.S., Agina Е.V. [et. al.] Easily Processable Highly Ordered Langmuir-Blodgett Films of Quaterthiophene Disiloxane Dimer for Monolayer Organic Field-Effect Transistors // Langmuir. - 2014. - V. 30, №50. - P. 15327-34] на общей подложке l2 или на отдельных подложках 11 формируют массив из N органических полевых транзисторов 1, каждый из которых включает в себя по меньшей мере электрод 2 - «сток», электрод 3 - «исток», разделенные слоем 4 органического полупроводника, электрод 5 - «затвор» и диэлектрический слой 6. Затем поверх слоя 4 органического полупроводника каждого из N органических полевых транзисторов последовательно при помощи методов Ленгмюра-Блоджетт или Ленгмюра-Шеффера переносят рецепторные слои 7 металлопорфиринов различного химического строения. В качестве примера для формирования рецепторного слоя 7 на основе металлопорфиринов использовались следующие соединения: Технический результат достигается при использовании ряда из 4-6 различных металлопорфиринов, имеющих общую структурную формулу 1 или 2: где металл-ион порфирина М представляет собой ионы переходных металлов Cu, Zn, Со, Fe, Ni, Cr, Mn, Ti или V. Выбор указанных металлопорфиринов обусловлен двумя факторами. Первым является простота их химической формулы, не содержащей боковых заместителей, что упрощает их синтез и снижает стоимость конечных материалов и устройств на их основе. Второй фактор заключается в том, что использованные порфирины хорошо растворимы в обычных органических растворителях, таких как, например, толуол, и способны образовывать однородные протяженные монослои на поверхности воды, которые могут быть перенесены на твердую подложку методом Ленгмюра-Блоджетт. Формирование однородного протяженного рецепторного монослоя позволяет обеспечить высокую чувствительность данного слоя к присутствию токсичных газов, тогда как любые дефекты слоя, особенно его утолщение снижают нижний порог чувствительности сенсора. При этом увеличение числа органических полевых транзисторов 1, обладающих различными рецепторными слоями 7, в составе массива газового сенсора 8 увеличивает достоверность качественного анализа состава атмосферного воздуха или газовой смеси. В случае формирования массива N органических полевых транзисторов 1 на общей подложке 12 (фиг. 3) рецепторные слои металлопорфиринов переносят при помощи метода Ленгмюра-Блоджетт путем частичного окунания подложки в субфазу. Устройство для анализа многокомпонентной газовой смеси типа «Электронный нос», представленное на фиг. 6, включает в себя газовый мультисенсор 8 на основе органических полевых транзисторов 1 и 13 по любому из вариантов реализации, описанных выше, микропроцессор 9, измерительный блок 10, подключенный к электродами 2 «сток», 3 «исток» и 5 «затвор» каждого из N органических полевых транзисторов 1 и 13 в составе газового мультисенсора 8 и микропроцессору 12, герметичную камеру 9 с газовым входом и выходом, в которой размещен газовый мультисенсор 8, блок питания 10, связанный с электродами 2 «сток», 3 «исток» и 5 «затвор» каждого из N органических полевых транзисторов 1 и 13. Работа устройства для анализа многокомпонентной газовой смеси типа «Электронный нос» на основе газового мультисенсора 8, включающего массив N органических полевых транзисторов 1 осуществляется следующим образом. В герметичную камеру 9 подается газовая смесь с содержанием одного из детектируемых токсичных химических газообразных соединений в концентрациях от 10 ppb до 1 ppm. На электроды 2 «сток» и электроды 5 «затвор» каждого из N органических полевых транзисторов 1 с рецепторными слоями 7, входящими в состав газового мультисенсора 8 (фиг. 2 или фиг. 3), при помощи источника питания 10 подается постоянный отрицательный потенциал V. Величина V подбираются так, чтобы электрическое поле в диэлектрическом слое 6 составляло не менее 50 кВ/мм, а электрическое поле в слое 4 органического полупроводника не менее 0,5 кВ/мм. Далее, при помощи измерительного блока 11 измеряют величины тока Ik (k=0…N-1) для каждого из N органических полевых транзисторов 1 с рецепторными слоями 7, входящими в мультисенсор 8, в зависимости от времени t Далее, в микропроцессоре 12 с использованием программного обеспечения рассчитываются относительные изменения тока в N органических полевых транзисторах по формуле (1): где Ik - ток в канале N-го органического полевого транзистора в данный момент времени, А; Полученный ряд величин Возможность применения известных методов анализа для массива полученных данных и качественного анализа состава атмосферного воздуха или газовой смеси обусловлена совокупностью следующих факторов. Во-первых, величины Во-вторых, величины В-третьих, величины В качестве примера на фиг. 8 показан результат применения метода LDA для газовых смесей, содержащих один из газов: NH3, H2S, NO2, Et-SH. Точки, соответствующие разным газам, группируются в области на LDA диаграмме, причем указанные области являются непересекающимися. В соответствии с заданным алгоритмом в микропроцессоре 12 для полученного набора На последнем шаге по величине
A., Lundstrom I. Chemical Sensing with Familiar Devices // Angew Chem Int Ed Engl. - 2006. - V. 45, №23. - P. 3800-3].


Thin Films for Advanced Performance Transistors // Chemistry of Materials. - 2006. - V. 18, №3. - P. 778-784], методом вращающейся подложки [Hall D.В., Underhill P., Torkelson J.M. Spin Coating of Thin and Ultrathin Polymer Films // Polymer Engineering and Science. - 1998. - V. 38, №12. - P. 2039-2045], методом дозирующего лезвия [Yan Y., Huang L. В., Zhou Y. [et. al] Self-Aligned, Full Solution Process Polymer Field-Effect Transistor on Flexible Substrates // Sci Rep. - 2015. - V. 5. - P. 15770], методом полива [Diao Y., Shaw L., Bao Z., Mannsfeld S. С.B. Morphology Control Strategies for Solution-Processed Organic Semiconductor Thin Films // Energy Environ. Sci. -2014. - V. 7, №7. - P. 2145-2159].



- относительный ток, отн.ед.;
- начальный ток в канале N-го органического полевого транзистора, А.
(k=0…N-1) используется как входные данные для одного из известных методов анализа данных, реализуемых при помощи микропроцессора 12 по заданному алгоритму. В качестве такого метода могут быть использованы известные методы обработки данных систем типа «электронный нос»: Метод принципиальных компонент (PCA), Метод линейных дискриминант (LDA), нейронная сеть и пр. [Jurs Р.С, Bakken G.А., McClelland Н.Е. Computational Methods for the Analysis of Chemical Sensor Array Data from Volatile Analytes // Chemical Reviews. - 2000. - V. 100, №7. - P. 2649-2678; Pedregosa F., Varoquaux G., Gramfort A., Michel V., Thirion В., Grisel O., Blondel M., Prettenhofer P., Weiss R., Dubourg V., Vanderplas J., Passos A., Cournapeau D., Brucher M., Perrot M., Duchesnay E. Scikit-Learn: Machine Learning in Python // Journal of Machine Learning Research. - 2011. - V. 12. - P. 2825-2830].
для каждого из N органических полевых транзисторов 1 с рецепторным слоем 7 металлопорфирина в составе газового сенсора 8 зависят от содержания и концентрации низкомолекулярных токсичных газов в составе атмосферного воздуха или газовой смеси. При этом величины
в сухом воздухе и при содержании в нем аммиака в концентрациях 200 ppb - 1 ppm существенно различаются (см. фиг. 7).
для каждого из N органических полевых транзисторов 1 с рецепторным слоем 7 металлопорфирина зависят от типа низкомолекулярного токсичного газа, присутствующего в составе атмосферного воздуха или газовой смеси. Данный факт обусловлен различными свойствами молекул токсичных газов, таких как размер, величина дипольного момента, донорно-акцепторные свойства и пр. Для примера на фиг. 8 показана зависимость величины тока от времени для органического полевого транзистора с рецепторным слоем 7 металлопорфирина TiO-TPP для разных газов одной концентрации.
для каждого из N органических полевых транзисторов 1 с рецепторным слоем 7 металлопорфирина, в присутствии низкомолекулярного токсичного газа, зависят от центрального атома молекулы металлопорфирина. Данный факт обусловлен различиями кинетик сорбции одного и того же газа на поверхность слоя металлопорфиринов различного химического строения. Для примера на фиг. 9 показана зависимость величины тока от времени для органического полевого транзистора с различными рецепторными слоями 7 металлопорфиринов при содержании в газовой смеси аммиака в концентрации 200 ppb.
рассчитывается точка на LDA диаграмме и по ее отношению к одной из областей определяется тип детектируемого соединения.
, полученной для N органического полевого транзистора 13 без рецепторного слоя, определяется концентрация детектируемого соединения по калибровочным кривым (фиг. 11-14), предварительно занесенным в память микропроцессора 12, по следующему алгоритму. На калибровочной кривой величины тока от концентрации (фиг. 11-14), соответствующей определенному ранее типу детектируемого соединения, находится точка, ордината которой лежит ближе всего к полученному значению
, и ее абсцисса считается измеренным значением концентрации. Установленный класс детектируемого соединения, а также его измеренная в соответствии с алгоритмом концентрация выводится пользователю.