патент
№ RU 2679484
МПК F24D3/18

Теплонасосная установка для отопления и горячего водоснабжения

Авторы:
Красновский Сергей Владимирович
Номер заявки
2018112157
Дата подачи заявки
04.04.2018
Опубликовано
11.02.2019
Страна
RU
Как управлять
интеллектуальной собственностью
Чертежи 
1
Реферат

Изобретение относится к системам отопления с тепловыми насосами, использующими тепло низкотемпературных источников для автономного отопления и горячего водоснабжения. Задачей предложенного изобретения является обеспечение эффективности работы ТНУ компрессионного типа с горизонтальным грунтовым внешним контуром путем регулярного восстановления теплового баланса грунта в зоне теплообменника внешнего грунтового контура, а также повышение надежности работы компрессора ТНУ за счет улучшения условий смазки и охлаждения деталей компрессора. Это достигается за счет того, что теплонасосная установка содержит тепловой насос с испарителем, конденсатором, расширительным вентилем и помещенным в герметичный кожух компрессором, а также внешний горизонтальный контур с основным грунтовым трубчатым теплообменником, а также автоматический контроллер для управления работой теплонасосной установки, и отличается тем, что, с целью восстановления теплового потенциала грунта, внешний горизонтальный контур дополнительно содержит вспомогательный трубчатый грунтовый теплообменник, размещенный в грунте непосредственно под основным грунтовым теплообменником, а в герметичном кожухе компрессора дополнительно имеется замкнутая полость, соединенная трубопроводами с вспомогательным грунтовым теплообменником так, что образуется замкнутый контур для циркуляции технологического жидкого теплоносителя, а в составе теплонасосной установки имеется дополнительный гидравлический насос для обеспечения циркуляции технологического жидкого теплоносителя. 7 з.п. ф-лы, 3 ил.

Формула изобретения

1. Теплонасосная установка, содержащая тепловой насос с испарителем, конденсатором, расширительным вентилем и помещенным в герметичный кожух компрессором, а также внешний горизонтальный контур с основным грунтовым трубчатым теплообменником, а также автоматический контроллер для управления работой теплонасосной установки, отличающаяся тем, что, с целью восстановления теплового потенциала грунта, внешний горизонтальный контур дополнительно содержит вспомогательный трубчатый грунтовый теплообменник, размещенный в грунте непосредственно под основным грунтовым теплообменником, а в герметичном кожухе компрессора дополнительно имеется замкнутая полость, соединенная трубопроводами с вспомогательным грунтовым теплообменником так, что образуется замкнутый контур для циркуляции технологического жидкого теплоносителя, а в составе теплонасосной установки имеется дополнительный гидравлический насос для обеспечения циркуляции технологического жидкого теплоносителя.

2. Теплонасосная установка по п. 1, отличающаяся тем, что размеры основного и вспомогательного теплообменников внешнего горизонтального контура в поперечном и продольном направлениях равны друг другу.

3. Теплонасосная установка по п. 1, отличающаяся тем, что между основным и вспомогательным теплообменниками внешнего контура находится слой грунта толщиной 50…100 мм.

4. Теплонасосная установка по п. 1, отличающаяся тем, что замкнутая полость в герметичном кожухе компрессора представляет собой кольцевую герметичную полость, образованную двойными стенками кожуха и расположенную по периметру кожуха.

5. Теплонасосная установка по п. 1, отличающаяся тем, что в картере компрессора имеется датчик контроля температуры масла, сигналы от которого передаются на автоматический контроллер.

6. Теплонасосная установка по п. 1, отличающаяся тем, что в замкнутой полости в герметичном кожухе компрессора имеется датчик контроля температуры технологического жидкого теплоносителя, сигналы от которого передаются на автоматический контроллер.

7. Теплонасосная установка по п. 1, отличающаяся тем, что гидравлический насос, обеспечивающий циркуляцию технологического жидкого теплоносителя, имеет регулируемую производительность, которая изменяется по командам автоматического контроллера.

8. Теплонасосная установка по п. 1, отличающаяся тем, что в качестве технологического жидкого теплоносителя используется антифриз.

Описание

[1]

Изобретение относится к теплонасосным установкам (ТНУ), использующим низкотемпературное тепло грунта для автономного отопления и горячего водоснабжения помещений.

[2]

Известно, что при длительной эксплуатации таких ТНУ происходит постепенное снижение эффективности их работы вследствие переохлаждения грунта вокруг грунтового теплообменника первичного контура теплового насоса. Частичное восстановление теплового потенциала грунта в зоне расположения грунтового теплообменника за счет естественного притока тепла от окружающих слоев грунта возможно только во время прекращения эксплуатации ТНУ в межотопительный период, что затрудняет использование ТНУ для длительного стабильного снабжения помещений теплом и горячей водой.

[3]

Известны технические решения, направленные на повышение эффективности работы ТНУ путем восстановления и поддержания теплового потенциала грунта.

[4]

Известна система автономного теплоснабжения потребителей на основе установок с использованием низкопотенциальных геотермальных источников (патент RU №2350847). Система включает компрессионный тепловой насос типа грунт-вода, внутренний контур теплового насоса с высокотемпературным теплоносителем, внешний контур теплового насоса с теплообменником с низкотемпературным теплоносителем, а также солнечный коллектор, емкость для горячего водоснабжения, блок управления тепловыми потоками системы, жидкостные насосы для перекачивания теплоносителей и воды горячего водоснабжения.

[5]

Повышение эффективности системы теплоснабжения здесь достигается за счет использования солнечной энергии для догрева теплоносителя в контуре циркуляции низкопотенциального теплоносителя в отопительный период, при низкой интенсивности солнечной радиации, и восстановления температурного режима скважин в межотопительный период с одновременной выработкой тепла на горячее водоснабжение с помощью солнечных коллекторов и использованием потенциала охлажденных скважин на охлаждение помещений, а также обеспечение независимости системы отопления от централизованной системы электроснабжения.

[6]

Недостатком данного изобретения является необходимость, в дополнение к тепловому насосу, оборудовать контур солнечного коллектора, что существенно усложняет конструкцию и повышает стоимость такой системы теплоснабжения.

[7]

Кроме того, не предусмотрено полезное использование избыточного тепла, образующегося в процессе работы компрессора ТНУ. Это тепло бесполезно рассеивается в окружающую среду, что приводит к снижению эффективности системы теплоснабжения.

[8]

Наиболее близкой к заявленному техническому решению является система автономного обогрева помещений (патент РФ на полезную модель №140455).

[9]

Система включает контур циркуляции низкопотенциального теплоносителя с грунтовым теплообменником, вход которого связан с выходом испарителя теплового насоса и систему отопления, содержащую конденсатор теплового насоса, соединенный трубопроводом с отопительными приборами, и отличается тем, что дополнительно снабжена вторым грунтовым теплообменником и устройством переключения, включающим два полых цилиндра, установленных вертикально, с размещенными внутри них конусообразными клапанами, сужающиеся части которых соединены со штоками поршней, днища поршней размещены в герметичных сосудах с газом, расположенных в нижних частях полых цилиндров, соединенных с выходами грунтовых теплообменников, а над полыми цилиндрами расположено коромысло, ось которого находится посредине между полыми цилиндрами, при этом расширяющиеся части конусообразных клапанов посредством шарнирных связей соединены с плечами коромысла, на котором закреплена герметичная трубка с размещенным в ней шариком, причем верхние части полых цилиндров соединены трубопроводом со входом испарителя теплового насоса, а грунтовые теплообменники размещены на расстоянии 5…25 м друг от друга.

[10]

Благодаря поочередному отключению первого и второго грунтового теплообменника от участия в автономном обогреве помещения, грунт в зоне отключенного теплообменника естественным образом прогревается. Техническим результатом является исключение чрезмерного переохлаждения грунта в месте расположения грунтового теплообменника.

[11]

В данной полезной модели предлагается использовать два горизонтальных грунтовых внешних контура вместо одного, как обычно принято в конструкциях ТНУ с горизонтальным грунтовым внешним контуром. Однако при этом потребуется занять под горизонтальные грунтовые внешние контуры в два раза больший участок земли возле дома, а объем требующихся для этого земляных работ существенно возрастет. Все это приведет к значительному росту стоимости и снижению доступности для населения системы обогрева с ТНУ.

[12]

Кроме того, в предлагаемой полезной модели используется достаточно сложное устройство для переключения работы системы обогрева с одного горизонтального грунтового внешнего контура на другой. Это приведет к снижению надежности работы и усложнит эксплуатацию теплонасосной установки. В результате, снизится привлекательность и доступность систем обогрева с ТНУ, особенно для индивидуальных потребителей в частных домах.

[13]

Кроме того, в данной полезной модели предполагается, что восстановление теплового баланса грунта в зоне теплообменника временно отключенного горизонтального грунтового внешнего контура будет происходить только за счет естественного притока тепла от окружающих слоев грунта. Однако известно, что естественный процесс восстановления теплового баланса грунта, без организованного подвода тепловой энергии извне, весьма длительный, и грунт в зоне отключенного теплообменника, особенно в зимнее время, может не успеть прогреться к моменту необходимости подключения этого грунтового внешнего контура. В результате, эффективность работы ТНУ, даже при наличии двух горизонтальных грунтовых внешних контуров, будет постепенно снижаться.

[14]

Кроме того, избыточное тепло, которое отводится от компрессора ТНУ циркулирующей в кожухе компрессора смазкой, в основном, рассеивается через стенки кожуха в окружающую среду. Такие бесполезные потери тепла приводят к снижению эффективности работы ТНУ.

[15]

Задачей предложенного изобретения является обеспечение эффективности работы ТНУ компрессионного типа с горизонтальным грунтовым внешним контуром путем регулярного восстановления теплового баланса грунта в зоне теплообменника внешнего грунтового контура, а также повышение надежности работы компрессора ТНУ за счет улучшения условий смазки и охлаждения деталей компрессора.

[16]

Указанная задача решается за счет того, что теплонасосная установка содержит тепловой насос с испарителем, конденсатором, расширительным вентилем и помещенным в герметичный кожух компрессором, а также внешний горизонтальный контур с основным грунтовым трубчатым теплообменником, а также автоматический контроллер для управления работой теплонасосной установки, и отличается тем, что, с целью восстановления теплового потенциала грунта, внешний горизонтальный контур дополнительно содержит вспомогательный трубчатый грунтовый теплообменник, размещенный в грунте непосредственно под основным грунтовым теплообменником, а в герметичном кожухе компрессора дополнительно имеется замкнутая полость, соединенная трубопроводами с вспомогательным грунтовым теплообменником так, что образуется замкнутый контур для циркуляции технологического жидкого теплоносителя, а в составе теплонасосной установки имеется дополнительный гидравлический насос для обеспечения циркуляции технологического жидкого теплоносителя.

[17]

В качестве технологического жидкого теплоносителя может быть использован антифриз.

[18]

Размеры основного и вспомогательного теплообменников внешнего горизонтального контура в поперечном и продольном направлениях могут быть равны друг другу, а между основным и вспомогательным теплообменниками внешнего контура может находиться слой грунта толщиной 50…100 мм.

[19]

Замкнутая полость в герметичном кожухе компрессора может представлять собой кольцевую герметичную полость, образованную двойными стенками кожуха и расположенную по периметру кожуха.

[20]

В картере компрессора может быть расположен датчик контроля температуры масла, сигналы от которого передаются на автоматический контроллер. В замкнутой полости в герметичном кожухе компрессора может быть расположен датчик контроля температуры технологического жидкого теплоносителя, а сигналы от датчика передаются на автоматический контроллер. Гидравлический насос, обеспечивающий циркуляцию технологического жидкого теплоносителя, может иметь регулируемую производительность, которая может изменяться по командам автоматического контроллера.

[21]

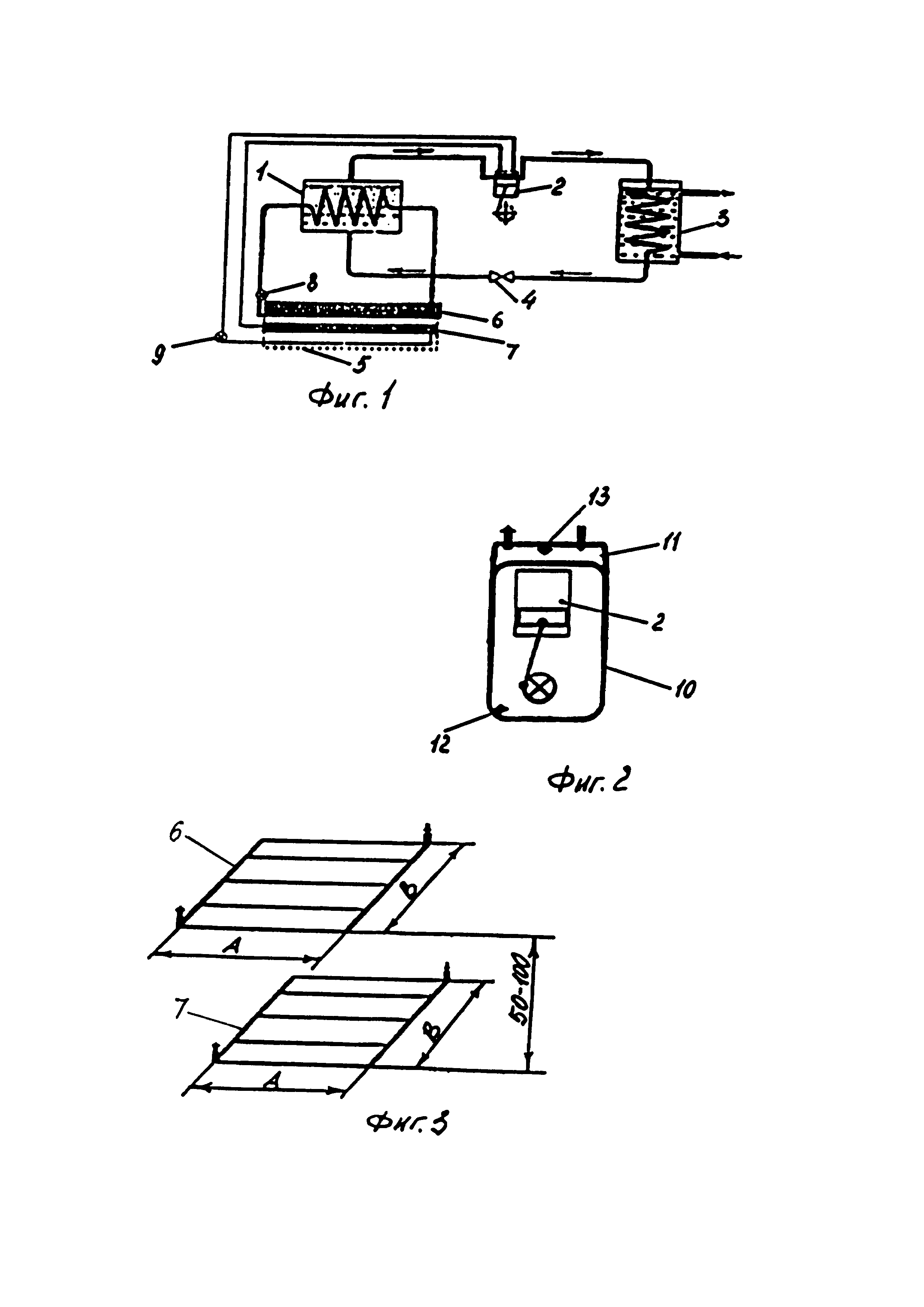
Содержание заявленного изобретения иллюстрируется ниже приведенными фигурами: фиг. 1 - принципиальная схема ТНУ для отопления и горячего водоснабжения; фиг. 2 - схема охлаждения компрессора; фиг. 3 - схема размещения в грунте теплообменников внешнего горизонтального контура.

[22]

ТНУ включает (фиг. 1) испаритель 1, компрессор 2, конденсатор 3, расширительный вентиль 4, внешний горизонтальный контур 5 с основным грунтовым трубчатым теплообменником 6 и вспомогательным трубчатым грунтовым теплообменником 7, автоматический контроллер для управления работой ТНУ (на фиг. не показан), гидравлический насос 8 для обеспечения циркуляции незамерзающего жидкого теплоносителя через основной грунтовый трубчатый теплообменник, дополнительный гидравлический насос 9 для обеспечения циркуляции технологического жидкого теплоносителя. В картере компрессора (фиг. 2) расположен датчик контроля температуры масла 12, сигналы от которого передаются на автоматический контроллер.

[23]

Компрессор 2 (фиг. 2) имеет герметичный кожух 10, в котором выполнена замкнутая герметичная полость 11. Замкнутая полость в герметичном кожухе компрессора может представлять собой кольцевую герметичную полость, образованную двойными стенками кожуха и охватывающую весь периметр кожуха. Замкнутая полость в герметичном кожухе компрессора может также представлять собой локальную герметичную полость, образованную двойными стенками кожуха и охватывающую часть периметра кожуха. В замкнутой полости в герметичном кожухе компрессора расположен датчик 13 контроля температуры технологического жидкого теплоносителя, а сигналы от датчика передаются на автоматический контроллер.

[24]

Основной 6 и вспомогательный 7 теплообменники внешнего грунтового горизонтального контура (фиг. 3) выполнены в виде систем горизонтально расположенных соединенных между собой трубопроводов.

[25]

Вспомогательный теплообменник 7 размещается в грунте на глубине, превышающей глубину промерзания грунта в данном регионе, а затем присыпается слоем грунта толщиной 50…100 мм. Поверх этого слоя грунта непосредственно над вспомогательным теплообменником укладывается основной теплообменник 6 таким образом, чтобы он также находился на глубине, превышающей глубину промерзания грунта. После укладки основной теплообменник присыпается грунтом до уровня земли. При этом дополнительный объем земляных работ, которые необходимо выполнить для размещения основного теплообменника непосредственно над вспомогательным теплообменником, очень незначителен.

[26]

Размеры А и В (фиг. 3) основного и вспомогательного теплообменников внешнего контура в поперечном и продольном направлениях равны друг другу, что важно для организации процесса прогрева грунта в зоне расположения основного теплообменника. При этом площадь участка земли, необходимого для размещения этих двух теплообменников (вместо только одного - основного), практически не возрастает.

[27]

Основной теплообменник внешнего грунтового горизонтального контура 6 (фиг. 1) соединен трубопроводами с испарителем 1 теплового насоса и по образовавшемуся замкнутому контуру происходит циркуляция незамерзающего жидкого теплоносителя.

[28]

Вспомогательный теплообменник 7 (фиг. 1 и 2) соединен трубопроводами с замкнутой герметичной полостью 11 в кожухе 10 компрессора, в результате чего образуется замкнутый контур, по которому происходит циркуляция незамерзающего технологического жидкого теплоносителя, например, антифриза. Прокачка жидкого технологического теплоносителя по замкнутому контуру обеспечивается гидравлическим насосом 9, который имеет регулируемую производительность.

[29]

ТНУ работает следующим образом. Основной горизонтальный трубчатый теплообменник 6 отбирает от грунта низкотемпературную тепловую энергию и передает ее хладагенту в испарителе 1 теплового насоса. Затем пары хладагента сжимаются и нагреваются в компрессоре 2. В конденсаторе 3 происходит теплообмен между нагретыми парами хладагента и водой, предназначенной для отопления и горячего водоснабжения.

[30]

В процессе работы компрессора 2 система смазки и охлаждения обеспечивает смазку деталей компрессора и отведение от них избыточного тепла. При этом часть отобранного от компрессора тепла циркулирующая жидкая смазка передает, за счет теплопроводности, через внутреннюю стенку герметичной полости 11 в кожухе компрессора технологическому жидкому теплоносителю, циркулирующему в замкнутом контуре. Нагретый технологический жидкий теплоноситель поступает во вспомогательный теплообменник 7 внешнего грунтового горизонтального контура, где происходит теплообмен между технологическим жидким теплоносителем и окружающим грунтом.

[31]

В процессе длительной работы ТНУ происходит постепенное охлаждение грунта вокруг основного грунтового теплообменника 6 внешнего контура. Однако, вследствие того, что часть тепла от нагретого технологического жидкого теплоносителя через стенки труб вспомогательного теплообменника 7 передается окружающему грунту, происходит повышение температуры грунта вокруг вспомогательного теплообменника 7, а также постепенное восстановление теплового потенциала грунта в зоне расположения основного теплообменника 6 внешнего контура, находящегося в непосредственной близости от вспомогательного теплообменника.

[32]

Благодаря тому, что размеры А и Б (фиг. 3) основного и вспомогательного теплообменников внешнего контура в поперечном и продольном направлениях равны друг другу, прогрев грунта происходит во всей области вблизи основного теплообменника внешнего контура.

[33]

Таким образом, прогрев грунта и восстановление его энергетического потенциала происходит круглогодично, как за счет естественного прогрева от солнечного тепла, поступающего в грунт в теплое время года, так и в результате регулярного отведения в грунт избыточного тепла от компрессора во время работы теплового насоса. Это позволяет существенно повысить эффективность и стабильность работы ТНУ.

[34]

В процессе работы теплового насоса автоматический контроллер (на фиг. не показан) поддерживает температуру масла в картере компрессора в заданном диапазоне для обеспечения наилучших условий для смазки и охлаждения деталей компрессора, а также не допускает закипания технологического жидкого теплоносителя для предотвращения ухудшения процессов теплообмена в замкнутом контуре для циркуляции технологического жидкого теплоносителя. Для этого в картере компрессора установлен датчик 12 контроля температуры масла (фиг. 2), сигналы от которого передаются на автоматический контроллер, а в замкнутой полости в герметичном кожухе компрессора установлен датчик 13 контроля температуры технологического жидкого теплоносителя, сигналы от которого также передаются на автоматический контроллер. Гидравлический насос 9 (фиг. 1), обеспечивающий циркуляцию технологического жидкого теплоносителя в замкнутом контуре, имеет регулируемую производительность. В зависимости от уровня температуры масла в картере компрессора и уровня температуры технологического жидкого теплоносителя в замкнутой полости в герметичном кожухе компрессора, автоматический контроллер передает команды на увеличение или уменьшение скорости вращения гидравлического насоса 9, что, в свою очередь, увеличивает или уменьшает скорость прокачки технологического жидкого теплоносителя по замкнутому контуру. Это позволяет регулировать количество тепла, отбираемого технологическим жидким теплоносителем от жидкой смазки и поддерживать в заданном диапазоне температуру масла в картере компрессора. Изменение скорости прокачки нагретого технологического жидкого теплоносителя через вспомогательный теплообменник внешнего контура также позволяет избегать закипания технологического жидкого теплоносителя за счет изменения количества тепла, отдаваемого от технологического жидкого теплоносителя окружающему грунту через стенки труб теплообменника.

[35]

В результате поддержания оптимальной температуры масла в картере компрессора и снижения тепловых нагрузок на детали компрессора, вследствие организации их эффективного охлаждения, повышается надежность работы компрессора ТНУ.

[36]

Таким образом, реализация предложенного изобретения позволяет повысить эффективность работы ТНУ за счет использования избыточного тепла, отводимого от компрессора, для регулярного восстановления теплового баланса грунта в зоне теплообменника внешнего грунтового контура, а также повысить надежность работы компрессора ТНУ вследствие улучшения условий смазки и охлаждения деталей компрессора.

Как компенсировать расходы
на инновационную разработку
Похожие патенты