патент
№ RU 2595106
МПК E21B43/20

СПОСОБ РАЗРАБОТКИ ЗАЛЕЖИ С ТРЕЩИНОВАТЫМИ КОЛЛЕКТОРАМИ

Авторы:
Ганиев Тимур Ильдарович Агафонов Сергей Геннадьевич Хабирова Луиза Камилевна
Все (4)
Номер заявки
2015140087/03
Дата подачи заявки
21.09.2015
Опубликовано
20.08.2016
Страна
RU
Как управлять
интеллектуальной собственностью
Чертежи 
1
Реферат

Изобретение относится к нефтяной промышленности и, в частности, к области разработки карбонатных коллекторов с трещинно-каверновым типом пустотного пространства в пределах сводовой части структуры при наличии сводовой кальдеры. Технический результат - увеличение дебита нефти добывающих скважин и конечного коэффициента извлечения нефти за счет повышения охвата выработкой запасов нефти в карбонатных трещинно-каверновых коллекторах. По способу определяют участки залежи со сводовой кальдерой, характеризующейся распространением радиальных трещин и кольцевой непроницаемой трещиной с уменьшающейся вниз по разрезу их раскрытостью. Определяют зоны распространения трещин различного типа и зоны кавернования на этом участке. Определяют направления движения регионального потока жидкости по зонам трещиноватости. В зонах кавернования располагают добывающие скважины со вскрытием всех коллекторов кальдеры по разрезу. Нагнетательные скважины располагают в северной части внутри кальдеры на расстоянии не менее 100 м до ближайшей добывающей скважины на одинаковом расстоянии между ближайшими трещинами со вскрытием и закачкой вытесняющего агента в нижний коллектор. Осуществляют закачку вытесняющего агента в нагнетательные скважины. Продукцию отбирают через добывающие скважины. 2 ил.

Формула изобретения

Способ разработки залежи с трещиноватыми коллекторами, включающий определение зон трещиноватости, строительство добывающих и нагнетательных скважин с учетом трещиноватости залежи по неравномерной сетке, закачку вытесняющего агента в нагнетательные скважины и отбор продукции через добывающие скважины, отличающийся тем, что определяют участки залежи со сводовой кальдерой, характеризующейся распространением радиальных трещин и кольцевой непроницаемой трещиной, с уменьшающейся вниз по разрезу их раскрытостью, определяют зоны распространения трещин различного типа и зоны кавернования на этом участке, определяют направления движения регионального потока жидкости по зонам трещиноватости, добывающие скважины располагают в зонах кавернования со вскрытием всех коллекторов кальдеры по разрезу, а нагнетательные скважины располагают в северной части внутри кальдеры на расстоянии не менее 100 м до ближайшей добывающей скважины на одинаковом расстоянии между ближайшими трещинами со вскрытием и закачкой вытесняющего агента в нижний коллектор.

Описание

[1]

Предлагаемый способ относится к нефтяной промышленности, в частности к области разработки карбонатных коллекторов с трещинно-каверновым типом пустотного пространства в пределах сводовой части структуры при наличии сводовой кальдеры.

[2]

Известен способ разработки нефтяной залежи (патент RU №2513962, МПК Е21В 43/20, опубл. 20.04.2014, бюл. №11), включающий определение направления трещиноватости коллектора, разбуривание залежи вертикальными и/или наклонно направленными и многозабойными скважинами по квадратной сетке и формирование пятиточечных элементов разработки бурением в центре и по углам элементов вертикальных и/или наклонно направленных нагнетательных скважин и бурением между центральной и угловыми скважинами в элементе разработки многозабойной добывающей скважины с закругленным окончанием ствола. Закачку рабочего агента осуществляют через нагнетательную скважину и отбор продукции через добывающие скважины. При обводнении добывающих скважин определяют интервалы обводнения и осуществляют изоляцию обводнившихся интервалов. В данном способе перед разбуриванием залежи выделяют участки с общими нефтенасыщенными толщинами более 6 м в карбонатных коллекторах и/или участки с эффективными нефтенасыщенными толщинами не менее 2 м в нефтяной зоне и не менее 4 м в водонефтяной зоне в терригенных коллекторах, на этих участках перед бурением многозабойной добывающей скважины проводят уточнение направления трещиноватости коллектора, многозабойную скважину выполняют в форме полуэллипса, большая ось которого направлена под углом 30-60° к направлению трещиноватости при отношении малой полуоси к большой полуоси эллипса 0,1-0,8, при этом стволы многозабойных добывающих скважин выполняют восходящими с минимальным расстоянием в нижней части до водонефтяного контакта 4 м для карбонатных коллекторов и 2 м для терригенных коллекторов, в верхней части - с минимальным расстоянием 1 м до кровли продуктивного пласта.

[3]

Недостатком этого способа является то, что при размещении нагнетательных скважин не учитывается расположение зон трещиноватости, когда основные потоки проходят по трещинам, в результате чего возрастает риск преждевременного обводнения добывающих скважин.

[4]

Известен способ разработки нефтяного месторождения (патент RU №2277630, МПК Е21В 43/14, Е21В 43/20, Е21В 43/30, опубл. 10.06.2006, бюл. №16), включающий бурение нагнетательных и добывающих скважин, закачку жидкости, отбор продукции. В данном способе бурение скважин ведут с изучением поднятий и впадин, определением направления движения естественного потока пластовых вод как направления этого потока от поднятия к впадине и определением созданных этим потоком анизотропий проницаемости пластов. При этом законтурные и приконтурные нагнетательные скважины размещают в соответствии с направлением движения естественного потока пластовых вод - а внешнем контуре нефтеносности со стороны поступления естественного потока пластовых вод, дополнительно размещают внутриконтурные ряды нагнетательных скважин субперпендикулярно направлению естественного потока пластовых вод, бурят горизонтальные добывающие скважины субперпендикулярно направлению естественного потока пластовых вод.

[5]

Недостатками этого способа являются низкий коэффициент извлечения нефти, высокая обводненность продукции и неполный охват заводнением нефтяных пластов при разработке коллекторов трещинно-кавернового типа из-за нерационального размещения добывающих и нагнетательных скважин относительно зон трещиноватости и кавернования.

[6]

Наиболее близким по технической сущности к предлагаемому является способ разработки трещиноватых коллекторов (патент RU №2526082, МПК Е21В 43/20, опубл. 20.08.2014, бюл. №23), включающий определение трещиноватости или линий разуплотнения залежи, строительство добывающих и нагнетательных скважин с учетом трещиноватости залежи, закачку вытесняющего агента в нагнетательные скважины и отбор нефти через добывающие скважины. В данном способе выбирают участок залежи для разработки с нефтенасыщенными толщинами более 10 м, предотвращающими быстрое обводнение добываемой нефти, определяют расположение узлов разуплотнений - пересечений линий разуплотнений, добывающие вертикальные скважины бурят по неравномерной сетке с попаданием в узлы разуплотнений, а нагнетательные скважины располагают в уплотненных карбонатных коллекторах с минимальной и средней трещиноватостью между несколькими узлами разуплотнений примерно на равном расстоянии от них.

[7]

Недостатком этого способа является низкая эффективность организации закачки при расположении нагнетательных скважин между узлами разуплотнений в плотной части пласта в районе отсутствия зон трещиноватости и кавернования. При размещении добывающих скважин в узлах разуплотнений возрастает риск быстрого обводнения.

[8]

Технической задачей предлагаемого способа является повышение коэффициента извлечения нефти и эффективности разработки залежей нефти в коллекторах с трещинно-каверновым типом пустотного пространства за счет рационального размещения добывающих и нагнетательных скважин с учетом расположения зон трещиноватости.

[9]

Техническая задача решается способом разработки, включающим определение зон трещиноватости, строительство добывающих и нагнетательных скважин с учетом трещиноватости залежи по неравномерной сетке, закачку вытесняющего агента в нагнетательные скважины и отбор продукции через добывающие скважины.

[10]

Новым является то, что определяют участки залежи со сводовой кальдерой, характеризующейся распространением радиальных трещин и кольцевой непроницаемой трещиной, с уменьшающейся вниз по разрезу их раскрытостью, определяют зоны распространения трещин различного типа и зоны кавернования на этом участке, определяют направления движения регионального потока жидкости по зонам трещиноватости, добывающие скважины располагают в зонах кавернования со вскрытием всех коллекторов кальдеры по разрезу, а нагнетательные скважины располагают в северной части внутри кальдеры на расстоянии не менее 100 м до ближайшей добывающей скважины на одинаковом расстоянии между ближайшими трещинами со вскрытием и закачкой вытесняющего агента в нижний коллектор.

[11]

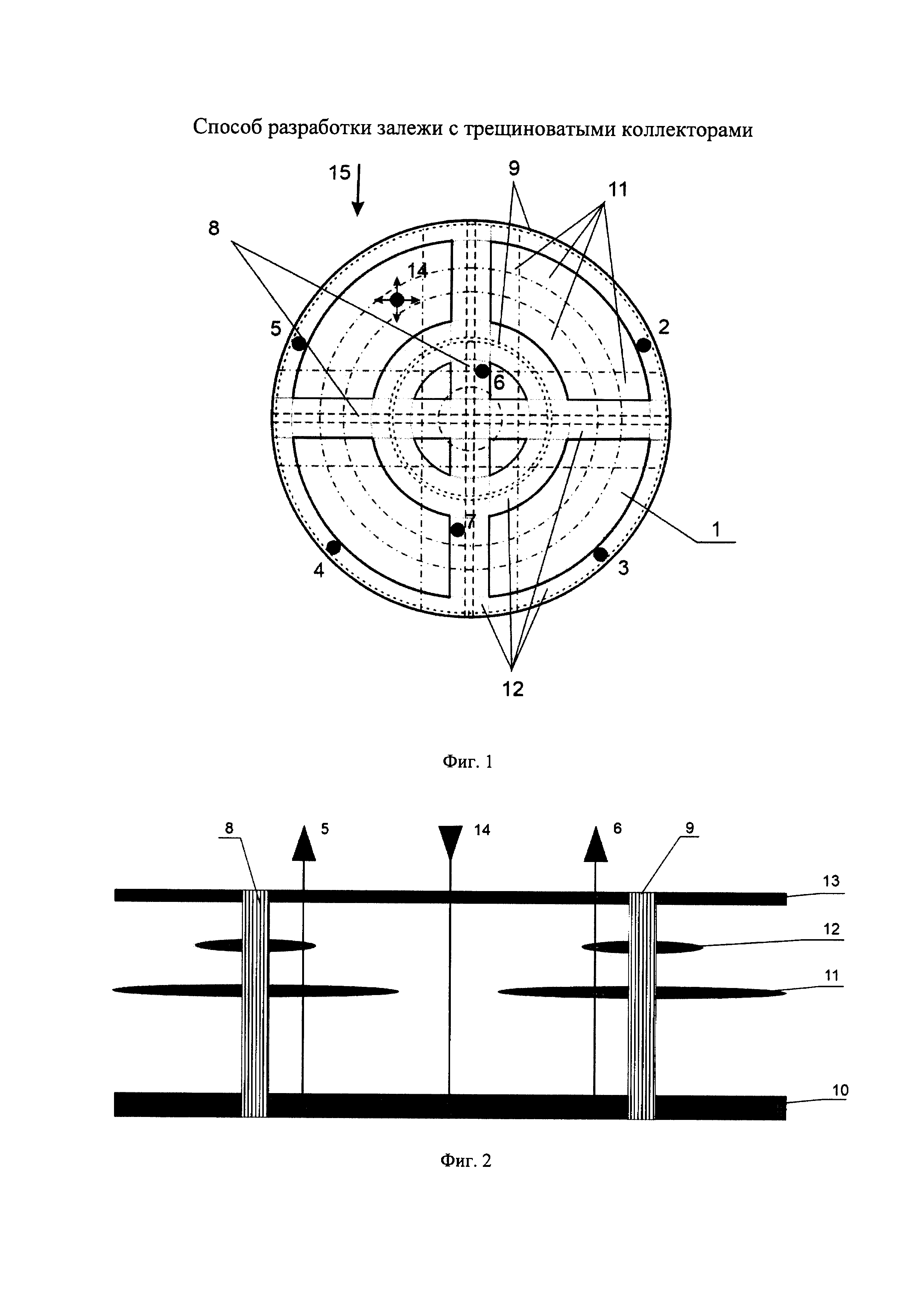
На фиг. 1 изображена схема осуществления предлагаемого способа разработки (вид сверху - север наверху).

[12]

На фиг. 2 изображена схема осуществления предлагаемого способа разработки в продольном разрезе.

[13]

Заявляемый способ осуществляют в следующей последовательности.

[14]

Участок нефтяной залежи в пределах сводовой кальдеры 1 (структуры образованной кольцевым сбросом, опущенный блок которого расположен внутри кольца) (фиг. 1) с трещинно-каверновыми карбонатными коллекторами разбуривают вертикальными добывающими скважинами 2-7 вне зон трещиноватости 8, 9, в зонах наличия всех коллекторов 10-13 (фиг. 2). На первом этапе проводят разработку на естественном водонапорном режиме до снижения дебитов в два раза. После этого бурят нагнетательную скважину 14 (фиг. 1, 2) с размещением ее в северной части кальдеры 1, со стороны направления движения регионального потока жидкости 15 (фиг. 1), т.к. суммарный вектор направления движения регионального потока жидкости имеет южное направление, при этом располагают нагнетательную скважину 14 (фиг. 2) в зоне наличия только нижнего кавернованного пласта на расстоянии не менее 100 м до ближайшей добывающей скважины за пределами зон трещиноватости. При закачке агента в самый нижний кавернованный коллектор 10 (фиг. 2) нефть будет вытесняться из зон кавернования сначала в радиальные 8 и кольцевые 9 трещины и, заполняя их, будет повышать пластовое давление, вытеснять нефть из нижнего 10 и увеличивать нефтенасыщение верхних 11-13 пластов. Поскольку объем трещин невелик, их раскрытость уменьшается вниз по разрезу в силу их строения, характерного для сводовой кальдеры, а кольцевая трещина 9 (фиг. 1), создавшая кальдеру, является непроницаемым барьером, проводящая система будет заполнена быстрее, чем тот же сегмент с поровой организацией проницаемости. Таким образом будет быстрее скомпенсирован отбор. Дальнейшая закачка будет содействовать повышению пластового давления во всем элементе залежи в пределах сводовой кальдеры 1, ограниченном кольцевой трещиной 9.

[15]

Пример конкретного выполнения

[16]

Осуществление данного способа рассмотрим на примере участка, характерного для залежей башкирского яруса, характеризующегося трещинно-каверновым типом коллектора.

[17]

На участке нефтяной залежи в пределах сводовой кальдеры 1 (фиг. 1) с наличием кольцевых 9 и радиальных 8 трещин организуют элемент разработки, включающий добывающие 2-7 и нагнетательную 14 скважины, размещенные по неравномерной сетке. Добывающие скважины 2-7 пробурили в зонах наличия всех коллекторов 10-13 на расстоянии 50-100 м от зон трещиноватости 8, 9 (фиг. 2). Среднесуточные дебиты нефти по добывающим скважинам 2-7 составили 5 т/сут. На первом этапе разрабатывали залежь на естественном водонапорном режиме до снижения дебитов в два раза - до 2,5 т/сут, при этом пластовое давление снизилось с 11,5 до 5 МПа. Пробурили нагнетательную скважину 14 (фиг. 1, 2) с размещением ее в северной части кальдеры 1, со стороны направления движения регионального потока жидкости 15 (фиг. 1), т.к. суммарный вектор направления движения регионального потока жидкости имеет южное направление, при этом располагали нагнетательную скважину 14 (фиг. 2) в зоне наличия только нижнего кавернованного пласта 10 на одинаковом расстоянии между ближайшими трещинами 8, 9. При закачке агента в самый нижний кавернованный коллектор 10 (фиг. 2) нефть вытесняется из зон кавернования сначала в радиальные 8 и кольцевые 9 трещины и, заполняя их, повышает пластовое давление, вытесняет нефть из нижнего 10 и увеличивает нефтенасыщение верхних 11-13 пластов. Поскольку объем трещин невелик, их раскрытость уменьшается вниз по разрезу в силу их строения, характерного для сводовой кальдеры, а кольцевая трещина 9 (фиг. 1), создавшая кальдеру, является непроницаемым барьером, проводящая система заполняется быстрее, чем тот же сегмент с поровой организацией проницаемости. Таким образом быстрее компенсируется отбор. В результате организации закачки по элементу разработки в пределах сводовой кальдеры 1 пластовое давление повысилось до 10 МПа, дебит нефти по добывающим скважинам 2-7 увеличился от 2,5 до 4 т/сут.

[18]

Предлагаемый способ разработки позволяет повысить охват выработкой запасов нефти в карбонатных трещинно-каверновых коллекторах, увеличить дебит нефти добывающих скважин, повысить конечный коэффициент извлечения нефти.

Как компенсировать расходы
на инновационную разработку
Похожие патенты