патент
№ RU 2624623
МПК H01L31/02

Открытая зондовая установка тестирования матричных фотоприёмников и способ ускоренного тестирования матричных фотоприемников

Авторы:
Лопухин Алексей Алексеевич Чишко Владимир Федорович Болтарь Константин Олегович
Все (9)
Номер заявки
2016133809
Дата подачи заявки
17.08.2016
Опубликовано
04.07.2017
Страна
RU
Как управлять
интеллектуальной собственностью
Чертежи 
5
Реферат

Изобретение относится к технологии изготовления полупроводниковых фотоприемников и может использоваться при создании матричных фотоприемников. Заявляемые зондовая установка и способ позволяют проводить межоперационный контроль матричных фотоприемников при температуре жидкого азота и различных фоновых условиях с подсчетом и исключением дефектных элементов исходя из качества полученного изображения с помощью ИК объектива после проведения двухточечной коррекции и оценкой объемной диффузионной длины по чувствительности до утоньшения матричного фотоприемника в установке открытого типа с помощью многоконтактной зондовой головки с фиксированным расположением зондов, прижимающей матричные фотоприемники к пьедесталу, расположенному в теплоизолирующей чашке, залитой жидким азотом до уровня, не превышающего верхнего уровня пьедестала. Технический результат - ускорение процесса межоперационного контроля матричных фотоприемников при температуре жидкого азота, где время термоцикла в основном ограничено временем охлаждения пьедестала. 2 н. и 6 з.п. ф-лы, 8 ил.

Формула изобретения

1. Открытая зондовая установка тестирования матричных фотоприемников для оперативного межоперационного контроля при температуре жидкого азота, отличающаяся тем, что тестирование осуществляют в установке открытого типа с помощью многоконтактной зондовой головки с фиксированным расположением зондов (УКФ, типично из вольфрама), прижимающей матричные фотоприемники к пьедесталу (типично из меди и тепловой массой, достаточной для стабилизации температуры) с усилием, обеспечивающим надежный тепловой контакт, расположенному в теплоизолирующей чашке (типично из пенопласта), залитой жидким азотом до уровня, не превышающего верхнего уровня пьедестала.

2. Открытая зондовая установка тестирования матричных фотоприемников по п. 1, отличающаяся тем, что с целью исключения выпадения конденсата используют экран из теплоизоляционного материала в виде плоского кольца, прикрывающего чашку сверху и создающего избыточное давление паров испаряющегося жидкого азота над поверхностью матричных фотоприемников.

3. Открытая зондовая установка тестирования матричных фотоприемников по п. 1, отличающаяся тем, что с целью уменьшения смещения зондовых иголок в направлении к центру при охлаждении жидким азотом зонды приклеивают к зондовой головке клеем на основе эпоксидной смолы с наполнителем (типично нитридом бора).

4. Открытая зондовая установка тестирования матричных фотоприемников по п. 1, отличающаяся тем, что для ускорения процесса тестирования тепловую массу пьедестала минимизируют таким образом, чтобы время охлаждения было больше или равно времени выхода МФПУ на основе тестируемого матричного фотоприемника, а пьедестал устанавливают в свободную посадку термоизолированной чашки для обеспечения быстрой его смены на аналогичный при отогревании зондовой установки после охлаждения.

5. Способ ускоренного тестирования матричных фотоприемников для межоперационного контроля при температуре жидкого азота, отличающийся тем, что тестирование матричных фотоприемников осуществляют в установке открытого типа с помощью многоконтактной зондовой головки с фиксированным расположением зондов (УКФ, типично из вольфрама), прижимающей матричные фотоприемники к пьедесталу (типично из меди и тепловой массой, достаточной для стабилизации температуры) с усилием, обеспечивающим надежный тепловой контакт, расположенному в теплоизолирующей чашке (типично из пенопласта), залитой жидким азотом до уровня, не превышающего верхнего уровня пьедестала, межоперационный контроль осуществляют на этапах формирования матричных фотоприемников: после формирования индиевых микроконтактов на БИС считывания, после гибридизации, после утоньшения матричного фоточувствительного элемента, после просветления тыльной стороны матричного фотоприемника и приклейки его на растр.

6. Способ ускоренного тестирования матричных фотоприемников по п. 5, отличающийся тем, что осуществляют тестирование при температуре жидкого азота после гибридизации и после утоньшения матричного фоточувствительного элемента с просветлением тыльной стороны матричного фотоприемника при различных фоновых условиях за счет использования набора зеркальных снаружи и черненных изнутри холодных экранов с различным относительным отверстием (типично 1:1, 1:2, 1:3, 1:4), а также зеркала для оценки уровня и распределения по площади темновых токов.

7. Способ ускоренного тестирования матричных фотоприемников по п. 5, отличающийся тем, что на зондовой установке при температуре жидкого азота получают изображение тест-объектов с помощью ИК объектива после проведения двухточечной коррекции неоднородности элементов МФПУ по чувствительности и смещению, подсчитывают и исключают дефектные элементы исходя из качества полученного изображения.

8. Способ ускоренного тестирования матричных фотоприемников по п. 5, отличающийся тем, что на зондовой установке при температуре жидкого азота измеряют чувствительность до утоньшения матричного фотоприемника на основе объемного материала антимонида индия (типично толщиной 500 мкм), по которой оценивают объемную диффузионную длину.

Описание

[1]

Изобретение относится к технологии изготовления полупроводниковых фотоприемников (ФП) и может использоваться при создании матричных фотоприемников (МФП) различного назначения.

[2]

Известен способ изготовления матричного фотоприемника, описанный в [RU 2460174 C1], в котором фоточувствительный элемент из InSb утоньшался, как правило, до толщины 8-12 мкм. Такой способ изготовления предполагает проведение технологического контроля МФП до и после утоньшения при температуре жидкого азота. Однако при обычном способе контроля изготовленный фоточувствительный модуль, как показано на фиг. 2, после гибридизации БИС считывания (2) и матрицы фоточувствительных элементов (1) при помощи индиевых микроконтактов приклеивался криостойким клеем на растр (3, типично из сапфира) и разваривался проволочками. Далее БИС считывания (2) разваривалась на растр (3). После приклейки сборки с помощью временного клеевого соединения со стеклянным держателем проводилась разварка проволочками с растра на контакты держателя. После чего проводилось откачивание внутренней полости и герметизация через стеклянный спай (4). Далее проводился контроль фотоэлектрических параметров. При таком способе практически невозможен межоперационный контроль (например, до и после утоньшения), а финишный контроль перед сборкой на штатный держатель трудоемок и длителен. Аналогичными недостатками обладает тестирование с помощью металлического криостата, описанного в патенте [RU 2492435 C1].

[3]

С другой стороны, существует множество контактных устройств с фиксированным расположением зондов [см. ссылки в патенте US 8410806 В2], однако, они не позволяют охлаждать МФП до температуры жидкого азота [Автомат зондового контроля ЭМ-6290 компании ПЛАНАР-СО, ОАО, Минск (Беларусь), http://planar-so.all.biz/ru/avtomat-zondovogo-kontrolya-em-6290-g176176. Устройство контактное с фиксированным расположением зондов - УКФ, КБТЭМ-СО, УП, Минск (Беларусь), http://belarus.oborudunion.ru/company.php?comp=2461065. Устройства для зондового контроля полупроводниковых приборов, НП ООО СПЕКТРИН, Минская область, г. Держинск (Беларусь), http://www.spektrin.com/ru/about/. Устройства контактные с фиксированной топологией зондов УКФ, УП «Аранэй», Минская область, Минский район, район деревни Боровая 1 (Беларусь)].

[4]

Наиболее близким аналогом заявляемого устройства является полуавтоматическая криогенная зондовая установка фирмы Cascade Microtech, Inc [РАС200: 200 mm Semi-automated Cryogenic Probe System, Cascade Microtech, Inc., www.cascademicrotech.com], которая позволяет проводить межоперационный контроль МФП на пластинах и отдельных чипах при криогенных температурах. Однако такая многофункциональная и дорогостоящая система не позволяет проводить тестирование достаточно оперативно из-за необходимости откачки внутреннего значительного объема до охлаждения, во время охлаждения и во время отогревания. Характерное время термоцикла такой системы составляет величину существенно больше 1 часа.

[5]

Заявляемое изобретение решает задачу оперативного межоперационного контроля матричных фотоприемников при температуре жидкого азота, где время термоцикла в основном ограничено временем охлаждения пьедестала (5 на фиг. 3) и может достигать пяти-десяти минут. Для этого использовалась зондовая установка открытого типа, как показано на фиг. 1, которая позволяла проводить охлаждения без временных затрат на откачку внутреннего объема. Основу ее составляло сменное контактное устройство с фиксированным расположением зондов, которое совмещалось с МФП, размещенном на съемном пьедестале (5) с помощью подвижек с микрометрическими винтами по осям X, Y, Z, поворотного механизма теплоизолированной чашки и микроскопа, размещенного на штанге с возможностью перемещения по окружности и радиусу (см. фиг. 1).

[6]

Сущность изобретения поясняется чертежами:

[7]

На фиг. 1 показан рисунок открытой зондовой установки ускоренного тестирования матричных фотоприемников при температуре жидкого азота.

[8]

На фиг. 2 показан рисунок стеклянного криостата, предназначенного для обычного способа тестирования МФП перед сборкой на держатель в штатный корпус.

[9]

На фиг. 3 показан рисунок, поясняющий конструкцию охлаждаемого держателя.

[10]

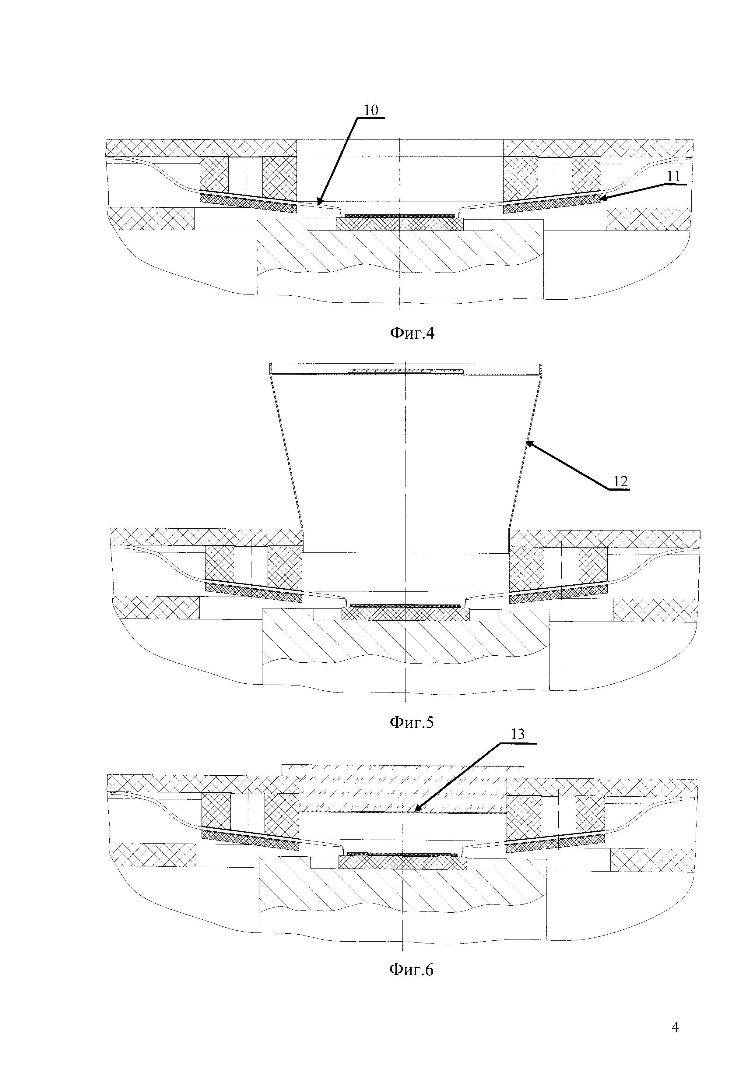
На фиг. 4 показан рисунок, поясняющий взаимодействие контактного устройства с фиксированным расположением зондов (УКФ) и МФП, размещенного на пьедестале.

[11]

На фиг. 5 показан рисунок, поясняющий способ измерения с фоном, регулируемым экраном, охлаждаемым парами азота.

[12]

На фиг. 6 показан рисунок, поясняющий способ измерения с минимальным фоном, создаваемым зеркальной металлической поверхностью, размещенной на минимальном расстоянии от МФП и охлаждаемой парами азота.

[13]

На фиг. 7 показан рисунок, полученный на зондовой установке открытого типа при температуре жидкого азота, поясняющий способ измерения дефектности и чувствительности после операции гибридизации матричного фотоприемника на основе антимонида индия формата 640×512 элементов с шагом 15 мкм.

[14]

На фиг. 8 показан рисунок, полученный на зондовой установке открытого типа при температуре жидкого азота, поясняющий способ измерения дефектности и чувствительности фотоприемных элементов после операции утоньшения и просветления матричного фотоприемника на основе антимонида индия формата 640×512 элементов с шагом 15 мкм.

[15]

Технический результат достигается тем, что в зондовой установке осуществляют ускоренный способ тестирования матричных фотоприемников для межоперационного контроля при температуре жидкого азота, тестирование осуществляют на зондовой установке открытого типа с помощью многоконтактной зондовой головки с фиксированным расположением зондов (УКФ, типично из вольфрама), прижимающей матричные фотоприемники к пьедесталу (типично из меди и тепловой массой, достаточной для стабилизации температуры) с усилием, обеспечивающим надежный тепловой контакт. Сменный пьедестал (5) расположен в свободной посадке теплоизолирующей чашки (6, типично из пенопласта), залитой жидким азотом до уровня (9) не превышающего верхнего уровня пьедестала (фиг. 3). Кроме этого с целью исключения выпадения конденсата на МФП, помимо обеспечения надежного теплового контакта к пьедесталу (5) за счет прижима УКФ, необходимо использовать экран из теплоизоляционного материала (например, пластик) в виде плоского кольца (7), прикрывающего чашку сверху и создающего избыточное давление паров испаряющегося жидкого азота над поверхностью матричного фотоприемника. Также для решения проблемы значительного смещения зондовых иголок (10) в направлении к центру и выходом их за пределы контактных площадок БИС считывания при охлаждении жидким азотом зонды необходимо приклеить к зондовой головке клеем (11) на основе эпоксидной смолы с наполнителем (типично нитридом бора) (фиг. 4).

[16]

Для ускорения процесса тестирования тепловую массу пьедестала (5) минимизируют таким образом, чтобы время охлаждения было больше или равно времени выхода МФПУ на основе тестируемого матричного фотоприемника, а пьедестал (5) необходимо установить в свободную посадку термоизолированной чашки (6) для обеспечения быстрой его смены на аналогичный при отогревании зондовой установки после охлаждения. В результате время тестирования при таком термоциклировании уменьшается до 5-10 минут.

[17]

На вышеописанной открытой зондовой установке возможно осуществление межоперационного контроля при температуре жидкого азота на следующих этапах формирования матричных фотоприемников: после формирования индиевых микроконтактов на БИС считывания, после гибридизации, после утоньшения матричного фоточувствительного элемента, после просветления тыльной стороны матричного фотоприемника и приклейки его на растр. Также возможно тестированияе при температуре жидкого азота после гибридизации и после утоньшения матричного фоточувствительного элемента с просветлением тыльной стороны матричного фотоприемника при различных фоновых условиях за счет использования набора зеркальных снаружи и черненных изнутри холодных экранов (12) с различным относительным отверстием (типично 1:1, 1:2, 1:3, 1:4) (фиг. 5), а при использовании зеркальной металлической поверхности (13, типично из золота), приближенной на минимальное расстояние к МФП (фиг. 6), возможна оценка уровня и распределения по площади темновых токов. Кроме этого, на зондовой установке при температуре жидкого азота возможно получение изображения тест-объектов с помощью ИК объектива (8) после проведения двухточечной коррекции неоднородности фотоэлементов для качественной оценки МФП, подсчета и исключения дефектных элементов исходя из качества полученного изображения (фиг. 3). Еще одной возможностью является измерение на зондовой установке при температуре жидкого азота чувствительности до утоньшения матричного фотоприемника на основе объемного материала антимонида индия (типично толщиной 500 мкм), по которой возможна оценка объемной диффузионной длины [Болтарь К.О., Власов П.В., Лопухин А.А., Полунеев В.В., Рябова А.А. Характеристики серийных матричных фотоприемных устройств на основе антимонида индия формата 320×256, Успехи прикладной физики №6, 2013, том 1, С. 733-738].

[18]

Открытая зондовая установка ускоренного тестирования матричных фотоприемников и способ ускоренного тестирования при температуре жидкого азота были опробованы и используются на предприятии-изготовителе при создании экспериментальных, опытных и серийных образцов матричных фотоприемных устройств на основе антимонида индия [см. последний источник]. Предлагаемая открытая зондовая установка и способ применимы и к матричным фотоприемным устройствам на основе других полупроводниковых материалов (например, на основе QWIP структур).

[19]

Пример 1.

[20]

Открытая зондовая установка ускоренного тестирования матричных фотоприемников на основе антимонида индия формата 640×512 элементов с шагом 15 мкм при температуре жидкого азота на этапах после гибридизации и после утоньшения, пассивирования и просветления тыльной стороны МФП за счет формирования однослойного покрытия ZnS. В зондовой установке применен пьедестал из меди диаметром 24 мм и высотой 28 мм, свободно расположенный в пенопластовой чашке диаметром 80 мм, глубиной 24 мм и толщиной стенок 10 мм. Сверху чашку прикрывает экран, изготовленный из пластика толщиной 1 мм и внутренним диаметром отверстия 35 мм, разбитый на два полукольца, позволяющие оперативно устанавливать экран после прижима УКФ к контактным площадкам БИС считывания. УКФ состоит из 30 шт. иголок из вольфрама, приклеенных к держателю с помощью эпоксидного клея «ЭПК-1» с наполнителем из нитрида бора. Среднее время охлаждения МФП в вышеописанном варианте составило 8 мин, что с учетом времени проведения измерений и отогрева до комнатной температуры (с учетом быстрой смены пьедестала) привело к среднему времени термоцикла 12 мин.

[21]

Пример 2.

[22]

Способ ускоренного тестирования матричного фотоприемника на основе антимонида индия формата 640×512 элементов с шагом 15 мкм в установке, описанной в примере 1, при температуре жидкого азота после гибридизации и после утоньшения матричного фоточувствительного элемента с просветлением тыльной стороны матричного фотоприемника при использовании холодного экрана с относительным отверстием 1:4 (высота 24 мм и диаметр отверстия 6 мм) и фильтром на спектральный диапазон 3-5 мкм. Примеры полученных изображений без коррекции приведены на рисунках до (фиг. 7) и после (фиг. 8) утоньшения и просветления. Полученная дефектность после гибридизации составила 0.12% (404 шт.), чувствительность на dA4T 12°С - 0.9 мВ при времени накопления 100 мкс. После утоньшения до толщины 15 мкм и просветления тыльной стороны ZnS дефектность составила 0.11%) (365 шт.), чувствительность на dАЧТ 12°С - 78.6 мВ при времени накопления 100 мкс.

Как компенсировать расходы
на инновационную разработку
Похожие патенты