Изобретение относится к технике измерения электрических токов и может быть использовано для градуировки и исследования характеристик бесконтактных волоконно-оптических датчиков электрического тока на основе кристаллов BSO. Изобретение позволяет повысить точность градуировки указанных датчиков. Устройство для градуировки волоконно-оптических датчиков электрического тока на кристаллах BSO содержит источник излучения с источником питания, входной и выходной поляризаторы, расположенные с торцов кристалла в поворотных оправах, источник переменного напряжения, соленоидную катушку, фотоприемный модуль со встроенным усилителем, отличается тем, что в устройство введены источник питания для нагревательного элемента, входной коллиматор, выходной коллиматор, многомодовый световод, компьютер, интерфейс для связи с компьютером, теплоизолирующий кожух, содержащий нагревательный элемент, оправу из немагнитного материала, миниатюрный датчик температуры. 1 ил.
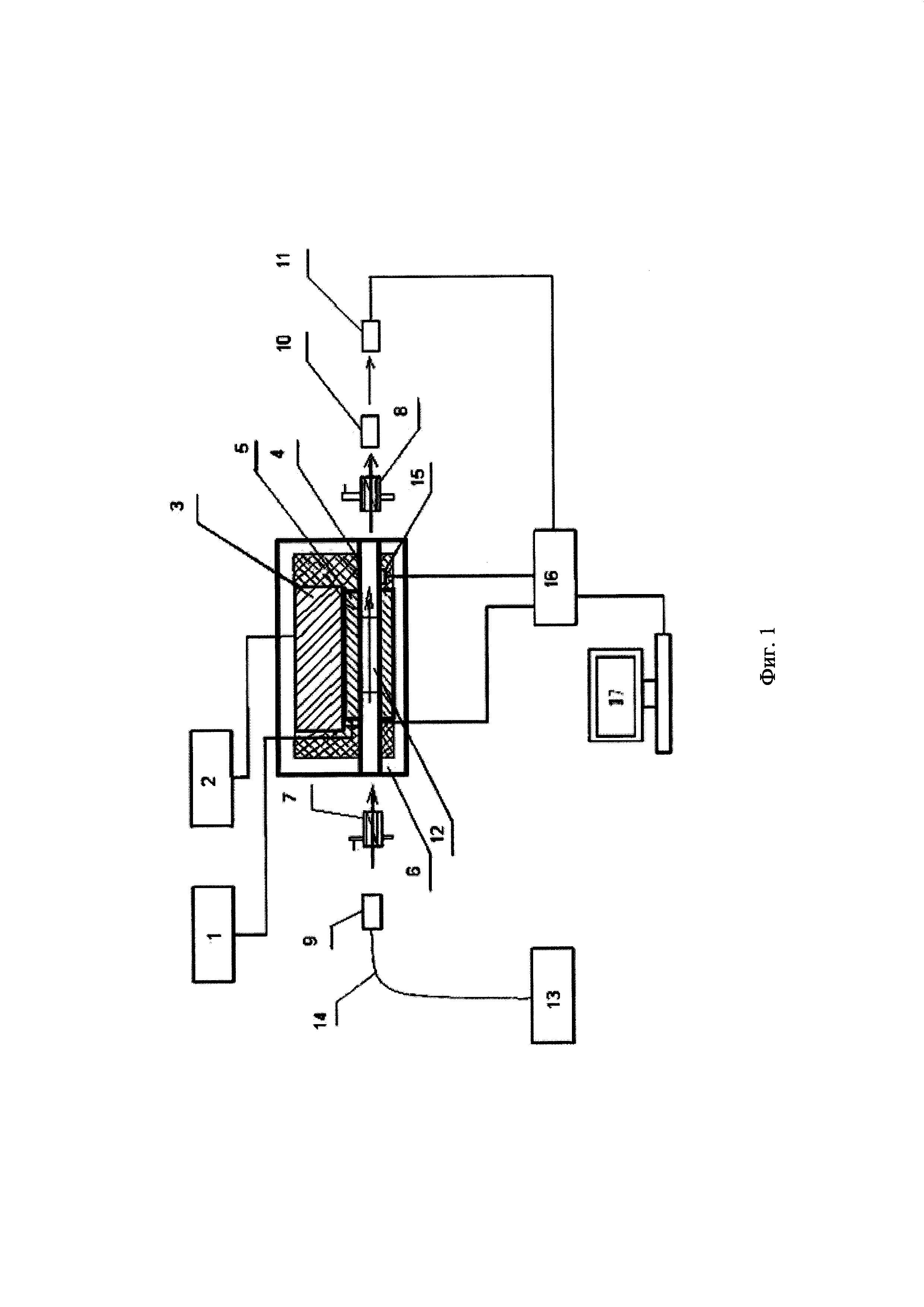
Устройство для градуировки волоконно-оптических датчиков электрического тока на кристаллах BSO, содержащее источник излучения с источником питания, входной и выходной поляризаторы, расположенные с торцов кристалла в поворотных оправах, источник переменного напряжения, соленоидную катушку, фотоприемный модуль со встроенным усилителем, отличающееся тем, что в устройство введены источник питания для нагревательного элемента, входной коллиматор, выходной коллиматор, многомодовый световод, компьютер, интерфейс для связи с компьютером, теплоизолирующий кожух, содержащий нагревательный элемент, оправу из немагнитного материала, миниатюрный датчик температуры, причем соленоидная катушка выполнена трубчатой формы и расположена на оправе из немагнитного материала, поворотные оправы имеют шкалы отсчета угла поворота с точностью 0,5°, первый вход интерфейса для связи с компьютером соединен с выходом встроенного усилителя фотоприемного модуля, второй вход - с выходом миниатюрного датчика температуры, третий вход - с выходом контроля и задания электрического тока источника переменного напряжения, соленоидная катушка имеет трубчатую форму и расположена поверх оправы из немагнитного материала, а кристалл BSO при градуировке размещается внутри оправы из немагнитного материала в области расположения соленоида трубчатой формы.
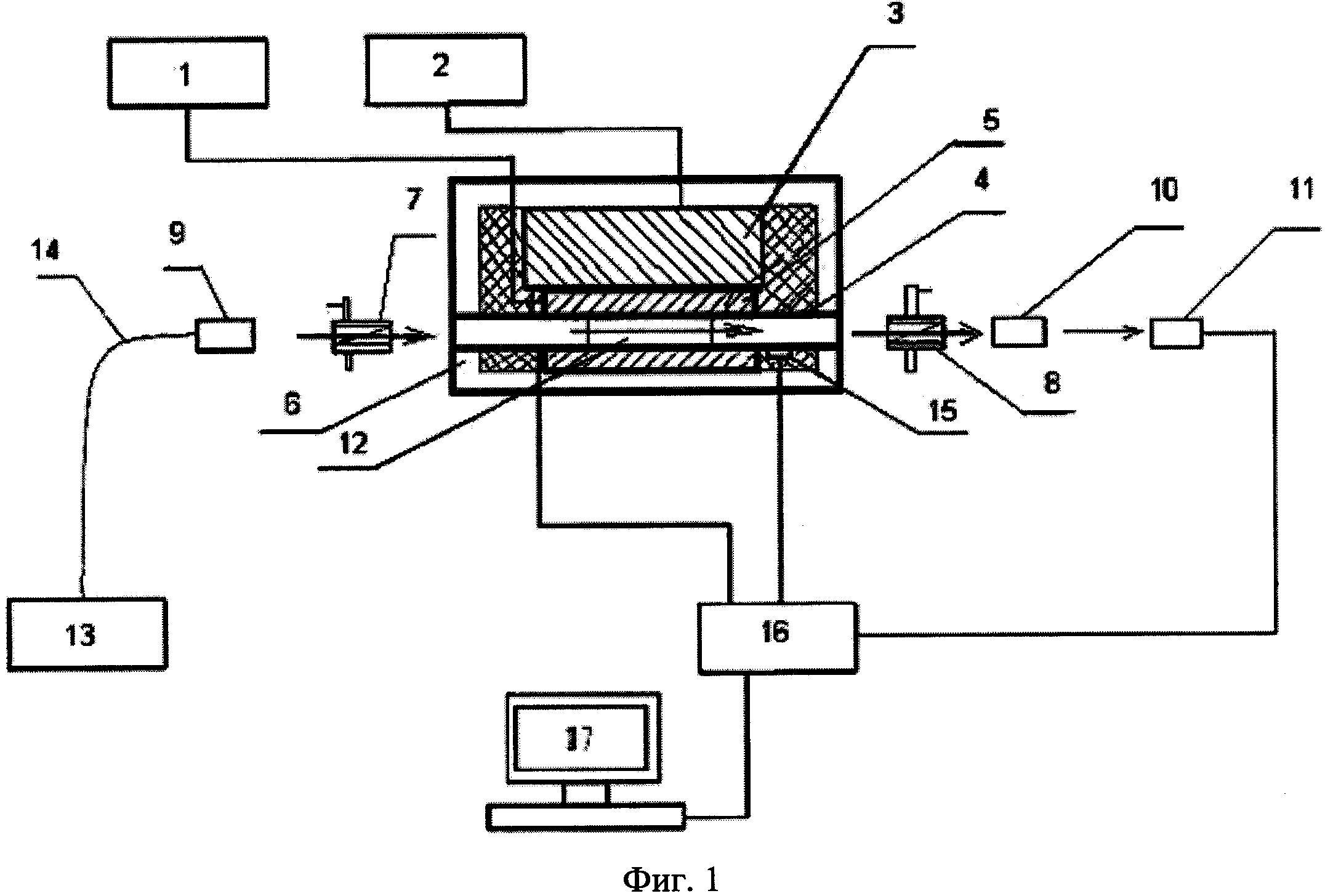
Изобретение относится к устройствам для градуировки бесконтактных датчиков электрического тока и может быть использовано при градуировке и контроле характеристик бесконтактных волоконно-оптических датчиков электрического тока (ВОДТ) на основе кристаллов BSO, в частности, Bi12SiO20, Bi12GeO20. Известен стенд для градуировки волоконно-оптических датчиков электрического тока на основе кристаллов BSO, описанный в статье «Fiber optic current sensors for high current surge measurements» // In Proceedings of the Sensor Conference 2007. - Указанный стенд для градуировки ВОДТ на основе кристаллов BSO содержит конденсатор большой емкости, образцовый шунт, устройство управления разрядом конденсатора через токопровод с шунтом, источник оптического излучения, фотоприемник, устройство синхронизации работы оптической и электроразрядной частей стенда, устройство сравнения и регистрации напряжения с выхода датчика и напряжения на шунте. Стенд для градуировки работает следующим образом. Кристалл BSO датчика размещается рядом с токопроводом таким образом, что силовые линии магнитного поля от протекающего по токопроводу импульсного тока совпадают с осью чувствительности датчика, что обеспечивает максимальную чувствительность датчика. При градуировке датчика разрядный ток конденсатора протекает через мощный токопровод, вокруг которого формируется магнитное поле. Свет постоянной интенсивности направляется по оптическому волокну от источника оптического излучения к датчику на основе оптически активного кристалла BSO. Пройдя через поляризатор, световое излучение приобретает линейную поляризацию. Линейно поляризованное излучение направляется в кристалл BSO, где происходит вращение плоскости поляризации светового луча под действием внешнего (измеряемого) магнитного поля от протекающего импульсного электрического тока в токопроводе и собственного кругового двулучепреломления кристалла. Угол поворота плоскости поляризации светового излучения можно записать как где ΨA - угол поворота вследствие эффекта Фарадея; ΨF - угол поворота вследствие собственного кругового двулучепреломления; V - константа Верде материала; H - приложенное магнитное поле; L - длина кристалла; Θ - собственное круговое двулучепреломление кристалла. После выхода светового излучения из кристалла, оно проходит через анализатор. После анализатора по оптическому волокну световое излучение поступает на фотоприемное устройство. Напряжение с выхода фотоприемного устройства регистрируется и запоминается совместно с величиной напряжения на образцовом шунте с помощью устройства регистрации и запоминания. Калибровка волоконно-оптического датчика BSO производится на основе сравнения сигналов с образцового шунта и с выхода фотоприемного устройства. Недостатком описанного стенда является низкая точность калибровки. Указанное обусловлено необходимостью калибровки на больших по амплитуде импульсных токах (величины которых соответствует рабочим измеряемым токам), отличных от прямоугольной формы, упрощенной схемой измерения с помощью шунта, невозможностью проведения термокомпенсации датчика при его градуировке. Из известных устройств наиболее близким по технической сущности к заявляемому является устройство, описанное в статье «Методика исследования магнитооптического эффекта в кристаллах BSO (Bi12SiO20, Bi12GeO20) для датчика магнитного поля» // Спецвыпуск «ФОТОН-ЭКСПРЕСС-НАУКА». - 2013. - №6. - С. 66-67. Данное устройство включает источник излучения (гелий-неоновый лазер ЛГН-208А с длиной волны излучаемого света 0,63 мкм и мощностью 2 мВт), первый и второй поляризаторы, расположенные с торцов кристалла BSO в поворотных оправах (поляризатор и анализатор, соответственно), соленоидную катушку, запитываемую от источника переменного напряжения и размещенную на ферромагнитной пластине U-образной формы, шунтирующую перемычку с микрометрическим винтом, фокусирующую линзу, фотоприемный модуль со встроенным усилителем, два блока питания, осциллограф и вольтметр. Исследуемый магниточувствительный кристалл BSO располагается между полюсами ферромагнитной пластины U-образной формы, на которой размещается обмотка соленоида. Устройство работает следующим образом. Излучение с выхода источника через поляризатор на поворотной оправе, с помощью которой настраивается на максимум пропускания коллимированного лазерного излучения, попадает на торец магниточувствительного кристалла BSO. Под воздействием магнитного поля происходит изменение показателя преломления магниточувствительного кристалла BSO и, соответственно, поворот плоскости поляризации проходящего через кристалл линейно поляризованного светового излучения. Второй поляризатор (анализатор) с помощью своей поворотной оправы настраивается на максимальную чувствительность к изменению магнитного поля. С помощью линзы излучение с выхода второго поляризатора фокусируется на чувствительном элементе фотоприемного модуля. Фотоприемный модуль преобразует оптическое излучение в электрический сигнал, который контролируется осциллографом, и величина которого измеряется вольтметром. Таким образом, формируется магнитное поле для задания продольного магнитооптического эффекта, соответствующего воздействию протекающего электрического тока. При этом на осциллографе можно наблюдать, а с помощью вольтметра - измерять, напряжение на выходе фотоприемного модуля, которое соответствует изменению напряженности магнитного поля в кристалле BSO, расположенному между полюсами ферромагнитной пластины U-образной формы. Анализ прототипа выявляет его существенный недостаток, который заключается в повышенной погрешности градуирования волоконно-оптических датчиков на основе кристаллов BSO, что обусловлено рассеиванием и неравномерностью распределения магнитного поля в зазоре ферромагнитной пластины U-образной формы, т.к. продольная ось ВОДТ на магниточувствительном кристалле BSO должна размещаться вдоль направления силовых линий магнитного поля. Указанное особенно критично для ВОДТ с повышенной чувствительностью и расширенным динамическим диапазоном измерения. Действительно, в соответствии с (1), для увеличения чувствительности и динамического диапазона датчика, т.е. угла поворота ΨA плоскости поляризации поляризованного светового излучения, проходящего через магнитооптический кристалл BSO датчика, необходимо увеличивать длину L кристалла и, соответственно, датчика в целом. Соответствующим образом должно увеличиваться расстояние в зазоре между полюсами ферромагнитной пластины U-образной формы. Это приводит к существенной неравномерности пространственного распределения силовых линий магнитного поля между полюсами ферромагнитной пластины U-образной формы и рассеиванию магнитного поля в окружающем пространстве. Кроме того, из-за рассеивания магнитного поля в зазоре между полюсами ферромагнитной пластины U-образной формы (в месте расположения датчика), при проведении градуировки волоконно-оптических датчиков на верхних пределах диапазона измерения требуется задание чрезвычайно больших значений электрического тока в катушке. Указанное становится особенно критичным при градуировании широкодиапазонных датчиков на основе кристаллов BSO с верхним пределом измерения 104 А и выше, т.к. требует протекания в соленоидной катушке существенного электрического тока, сравнимого с величиной верхнего предела измерения тока датчика. Также анализ прототипа показывает, что устройство при градуировке датчиков на кристаллах BSO не позволяет производить компенсацию температурной погрешности датчиков, что обусловлено отсутствием возможности задания и поддержания нормированной температуры в условиях воздействия нормированного переменного магнитного поля. Ожидаемым техническим результатом является повышение точности градуировке ВОДТ с высокой чувствительностью и расширенным динамическим диапазоном измерения на основе кристаллов BSO за счет применения в устройстве для градуировки длинной соленоидной катушки трубчатой формы, расположенной на немагнитной оправе, которая помещена в термостабилизированную камеру с задаваемой температурой. При этом кристалл BSO при градуировке помещается внутри соленоидной катушки таким образом, что ось чувствительности кристалла расположена вдоль оси соленоида. Указанный технический результат достигается тем, что в устройство для градуировки волоконно-оптических датчиков электрического тока на кристаллах BSO, содержащее источник излучения с источником питания, входной и выходной поляризаторы, расположенные с торцов кристалла в поворотных оправах, источник переменного напряжения, соленоидную катушку, фотоприемный модуль со встроенным усилителем, введены источник питания для нагревательного элемента, входной коллиматор, выходной коллиматор, многомодовый световод, компьютер, интерфейс для связи с компьютером, теплоизолирующий кожух, содержащий нагревательный элемент, оправу из немагнитного материала, миниатюрный датчик температуры, причем соленоидная катушка выполнена трубчатой формы и расположена на оправе из немагнитного материала, поворотные оправы имеют шкалы отсчета углов поворота с точностью 0,5°, первый вход интерфейса для связи с компьютером соединен с выходом встроенного усилителя фотоприемного модуля, второй вход - с выходом миниатюрного датчика температуры, третий вход - с выходом контроля и задания электрического тока источника переменного напряжения, соленоидная катушка имеет трубчатую форму и расположена поверх оправы из немагнитного материала, а кристалл BSO при градуировке размещается внутри оправы из немагнитного материала в области расположения соленоидной катушки трубчатой формы. На Фиг. 1 приведена структурная схема устройства для градуировки бесконтактных волоконно-оптических датчиков электрического тока на основе кристаллов BSO. Устройство работает следующим образом. При проведении градуировки чувствительный элемент ВОДТ - кристалл BSO размещается внутри оправы 4 из немагнитного материала, который также является теплопроводом. На плечо оправы также намотана соленоидная катушка трубчатой формы 5. Магнитное поле в соленоидной катушке 5 создается при помощи источника питания переменного напряжения 1. На другом плече теплопроводящей оправы смонтирован нагревательный элемент 3. Нагревательный элемент 3 позволяет менять температуру от нормальных условий до +120°C. Для питания нагревательного элемента 3 используется источник постоянного тока 2. Для измерения температуры используется миниатюрный датчик температуры 15. С целью обеспечения равномерности прогрева вся система заключена в теплоизолирующий кожух 6. Оптическая часть устройства состоит из отрезка многомодового световода 14, входного 9 и выходного 10 коллиматоров, представляющих собой короткофокусные линзы, входного 7 и выходного 8 поляризаторов в поворотной оправе, фотоприемного модуля со встроенным усилителем 11, источника излучения 13 с источником питания, компьютером 17, интерфейсом для связи с компьютером 16. С фотоприемного модуля со встроенным усилителем 11 через интерфейс 16 связи с компьютером на аналого-цифровой преобразователь компьютера 17 подается электрический сигнал, пропорциональный уровню освещенности фотоприемного элемента. С помощью интерфейса 16 на компьютер 17 также подаются сигнал с датчика температуры 15 и сигнал с источника питания 1 о значении тока, протекающего в соленоидной катушке 5. Применение соленоидной катушки трубчатой формы позволяет создать внутри нее однородное магнитное поле с напряженностью: где Ic - величина тока в соленоидной катушке; rс - радиус соленоидной катушки; n - число витков соленоидной катушки. Так, например, взятый для градуировки длинный соленоид с длиной равной Lc>>dc=2rc, где Lc - длина соленоидной катушки, dc - диаметр соленоидной катушки, rс=3 мм - радиус соленоидной катушки с числом витков n=1000, позволяет получить поле с напряженностью, равной напряженности поля единичного проводника на расстоянии 3 мм от его центра при протекании тока 104 А. С выхода источника излучения с источником питания 13 лазерное излучение через входной поляризатор 7 в поворотной оправе, с помощью которой происходит настройка на максимум пропускания коллимированного лазерного излучения, входной коллиматор 9 попадает на торец магниточувствительного кристалла BSO 12. Под воздействием магнитного поля, создаваемого соленоидной катушкой трубчатой формы 5, происходит изменение показателя преломления магниточувствительного кристалла BSO 12 и, соответственно, поворот плоскости поляризации проходящего через кристалл линейно поляризованного светового излучения. Выходной поляризатор в поворотной оправе 8 (анализатор) с помощью своей поворотной оправы настраивает ВОДТ на максимальную чувствительность к изменению магнитного поля и минимальную чувствительность к воздействию температуры. С помощью выходного коллиматора 10 излучение фокусируется на фотоприемнике фотоприемного модуля со встроенным усилителем 11. С его выхода электрический сигнал, пропорциональный величине светового потока, прошедшего через магниточувствительный кристалл BSO 12, поступает на вход интерфейса связи с компьютером 16 и далее - на компьютер 17. Получение максимальной чувствительности (максимальной глубины модуляции магнитным полем) осуществляется путем поворота с помощью поворотной оправы оптической оси выходного поляризатора 8 относительно оптической оси входного поляризатора 7 на угол α0. Отсчет угла α0 производится с помощью шкалы угла поворота выходного поляризатора. Угол α0 выбирается из условия максимальной чувствительности: где L - длина оптически активного кристалла; Θ - величина собственного кругового двулучепреломления чувствительного кристалла. Достижение максимальной чувствительности ВОДТ контролируется по достижению максимального сигнала с выхода фотоприемного модуля с встроенным усилителем при задании калибровочного сигнала переменного напряжения от источника питания 1. Затем производится настройка минимальной температурной погрешности ВОДТ при условии соблюдения максимальной чувствительности за счет того, что отклонение от температуры величины константы Верде V будет компенсироваться отклонением от температуры величины оптической активности кристалла Θ. Указанное производится путем коррекции угла между оптической осью выходного поляризатора 8 и оптической оси входного поляризатора 7 до значения α1 для заданных значений длины L кристалла BSO и рабочего диапазона температур Δt: где ΔV/Δt - изменение от температуры константы Верде, ΔΘ/Δt - изменение от температуры коэффициента собственной оптической активности. Достижение минимальной температурной погрешности ВОДТ при условии соблюдения максимальной чувствительности контролируется измерением сигнала с выхода фотоприемного модуля с встроенным усилителем 11 при задании калибровочного сигнала переменного напряжения от источника питания 1 для разных значений диапазона рабочих температур Δt. Рабочие температуры задаются с помощью нагревательного элемента 3 при прохождении через него электрического тока от источника питания 2. Одновременное измерение выходного сигнала ВОДТ, тока в соленоидной катушке 5 и температуры с помощью миниатюрного датчика температуры 15 производится с помощью компьютера 17 через интерфейс 16.
- Vol. II. - 22-24 May 2007. - P. 135-139.


