патент
№ RU 2604775
МПК F23R5/00

ИМПУЛЬСНЫЙ МАЛОГАБАРИТНЫЙ ПОРОХОВОЙ ВЫТЕСНИТЕЛЬ РАБОЧЕЙ ЖИДКОСТИ

Авторы:
Лебедев Игорь Олегович
Номер заявки
2015127380/06
Дата подачи заявки
08.07.2015
Опубликовано
10.12.2016
Страна
RU
Как управлять
интеллектуальной собственностью
Чертежи 
2
Реферат

Импульсный малогабаритный пороховой вытеснитель рабочей жидкости содержит камеру сгорания с пороховым зарядом, пиропатрон и емкость, разделенную выворачивающей диафрагмой на две полости - газовую, сообщающуюся с камерой сгорания, и жидкостную, заполненную рабочей жидкостью. Камера сгорания выполнена в виде стакана, установленного в газовой полости, внутри которого в торце закреплен заряд, а с открытого конца стакана расположен пиропатрон. Между зарядом и пиропатроном с зазором с обеих сторон установлена перегородка с отверстиями, оси которых располагаются под острым углом к продольной оси стакана с вершинами в сторону пиропатрона. Полость между перегородкой и зарядом сообщена боковыми отверстиями в стакане с газовой полостью емкости, при этом оси отверстий в стакане расположены между точками пересечения осей отверстий в перегородке с внутренней поверхностью стакана и торцом заряда и выполнены под углом к продольной оси стакана с вершинами в сторону перегородки. Изобретение позволяет уменьшить габариты вытеснителя и исключить непосредственное воздействие продуктов сгорания пиропатрона и заряда на выворачиваемую диафрагму в начальный момент работы вытеснителя. 1 з.п. ф-лы, 2 ил.

Формула изобретения

1. Импульсный малогабаритный пороховой вытеснитель рабочей жидкости, содержащий камеру сгорания с пороховым зарядом, пиропатрон и емкость, разделенную выворачивающейся диафрагмой на две полости - газовую, сообщающуюся с камерой сгорания, и жидкостную, заполненную рабочей жидкостью, отличающийся тем, что камера сгорания выполнена в виде стакана, установленного в газовой полости, внутри которого в торце закреплен заряд, а с открытого конца стакана расположен пиропатрон, причем между зарядом и пиропатроном с зазором с обеих сторон установлена перегородка с отверстиями, оси которых располагаются под острым углом к продольной оси стакана с вершинами в сторону пиропатрона, при этом полость между перегородкой и зарядом сообщена боковыми отверстиями в стакане с газовой полостью емкости, а оси отверстий расположены между точками пересечения осей отверстий в перегородке с внутренней поверхностью стакана и торцом заряда.

2. Импульсный малогабаритный пороховой вытеснитель рабочей жидкости по п. 1, отличающийся тем, что оси боковых отверстий в стакане выполнены под углом к продольной оси стакана с вершиной в сторону перегородки.

Описание

[1]

Изобретение относится к ракетно-космической технике и может быть использовано при проектировании вытеснительных систем рабочей жидкости в приводах для органов управления летательных аппаратов.

[2]

Одной из проблем работы насосной системы привода является проявление кавитации жидкости на входе в насос, возникающей из-за оттока рабочей жидкости от входа в насос вследствие действующих на летательный аппарат перегрузок.

[3]

Это явление особо опасно при запуске насоса, работающего от электропривода, что может вывести из строя электромотор, т.к. он работает без нагрузки. Для исключения явления кавитации на входе в насос необходимо поддерживать уровень рабочей жидкости в начальный момент запуска за счет впрыска некоторого количества жидкости непосредственно на входе в насос. При дальнейшей работе насосная система сама поддерживает требуемый уровень за счет закольцовки гидросистемы. В качестве устройства впрыска используются пороховые вытеснители.

[4]

Известна конструкция, в которой вытеснитель выполнен в едином корпусе в виде емкости, разделенной вытеснительной диафрагмой на две полости - жидкостную для хранения рабочей жидкости и газовую, соединенную с камерой сгорания заряда (см. Труды МИТ, том 12, часть 2, стр. 134. М. 2012 г.).

[5]

Недостатком такой конструкции помимо увеличенных габаритов является непосредственное воздействие истекающих непрореагированных продуктов сгорания твердотопливного заряда и воспламенителя на вытеснительную диафрагму и их ударное нагружение диафрагмы в начальный момент работы. Это может привести к нерасчетной форме выворачивания диафрагмы, что особенно важно для малогабаритных конструкций, а также возможному разрушению диафрагмы, что вообще недопустимо.

[6]

Кроме того, для надежного зажжения заряда необходимо, с одной стороны, иметь достаточно мощный форс от продуктов сгорания пиропатрона, а с другой стороны, увеличенная мощность создает ударное воздействие на выворачиваемую диафрагму, особенно в начальный момент работы вытеснителя. При слабой мощности форса пиропатрона не обеспечивается надежное зажжение заряда. Обеспечение оптимального выбора мощности пиропатрона практически недостижимо, т.к. навески составов пиропатронов выполнены дискретно с достаточно большим интервалом между ними при практически одинаковом энергетическом потенциале на единицу массы навески.

[7]

Задачей предлагаемого изобретения является создание импульсного малогабаритного порохового вытеснителя рабочей жидкости, позволяющего исключить непосредственное воздействие продуктов сгорания на диафрагму в начальный момент, а также уменьшить габариты вытеснителя за счет размещения камеры сгорания в газовой полости вытеснителя.

[8]

Это достигается тем, что в известном импульсном малогабаритном вытеснителе рабочей жидкости, содержащем камеру сгорания, которая выполнена в виде стакана, установленного в газовой полости, внутри которого в торце закреплен заряд, а с открытого конца стакана расположен пиропатрон, причем между зарядом и пиропатроном с зазором с обеих сторон установлена перегородка с отверстиями, оси которых располагаются под острым углом к продольной оси стакана с вершинами в сторону пиропатрона, при этом полость между перегородкой и зарядом сообщена боковыми отверстиями в стакане с газовой полостью емкости, а оси боковых отверстий расположены между точками пересечения осей отверстий в перегородке с внутренней поверхностью стакана и торцом заряда.

[9]

За счет такой конструкции поток продуктов сгорания от форса пиропатрона, истекая в направлении перегородки, притормаживается, увеличивая полноту сгорания, а затем через отверстия в перегородке истекает в объем за перегородкой на стенку стакана камеры сгорания и, отражаясь от нее, воздействует на торец заряда, воспламеняя его. Продукты сгорания заряда, истекая в сторону перегородки, также притормаживаются на перегородке, разворачиваются в обратную сторону и истекают через боковые отверстия в стакане в газовую полость емкости с потерей скорости. А так как отверстия в стакане расположены под углом к продольной оси в стакане, то исключается прямое воздействие продуктов сгорания заряда на выворачиваемую диафрагму и стенку газовой полости. Выполнение отверстий в стакане между точками пересечения осей отверстий в перегородке с внутренней поверхностью стакана и торцом заряда исключает непосредственное истечение продуктов сгорания пиропатрона в газовую полость емкости, а отраженный поток воздействует на заряд, обеспечивая его зажжение. Размещение стакана камеры сгорания непосредственно в объеме газовой полости емкости вытеснителя, которая при малых габаритах для расчетной работы выворачиваемой диафрагмы практически равна объему жидкостной полости вытеснителя, существенно сокращает его габариты. Кроме того, в процессе работы и после окончания горения заряда теплопотери продуктов сгорания аккумулируются в газовой полости, уменьшая потери давления, которое обеспечивает выворачивание диафрагмы и сохранение ее формы после выворачивания.

[10]

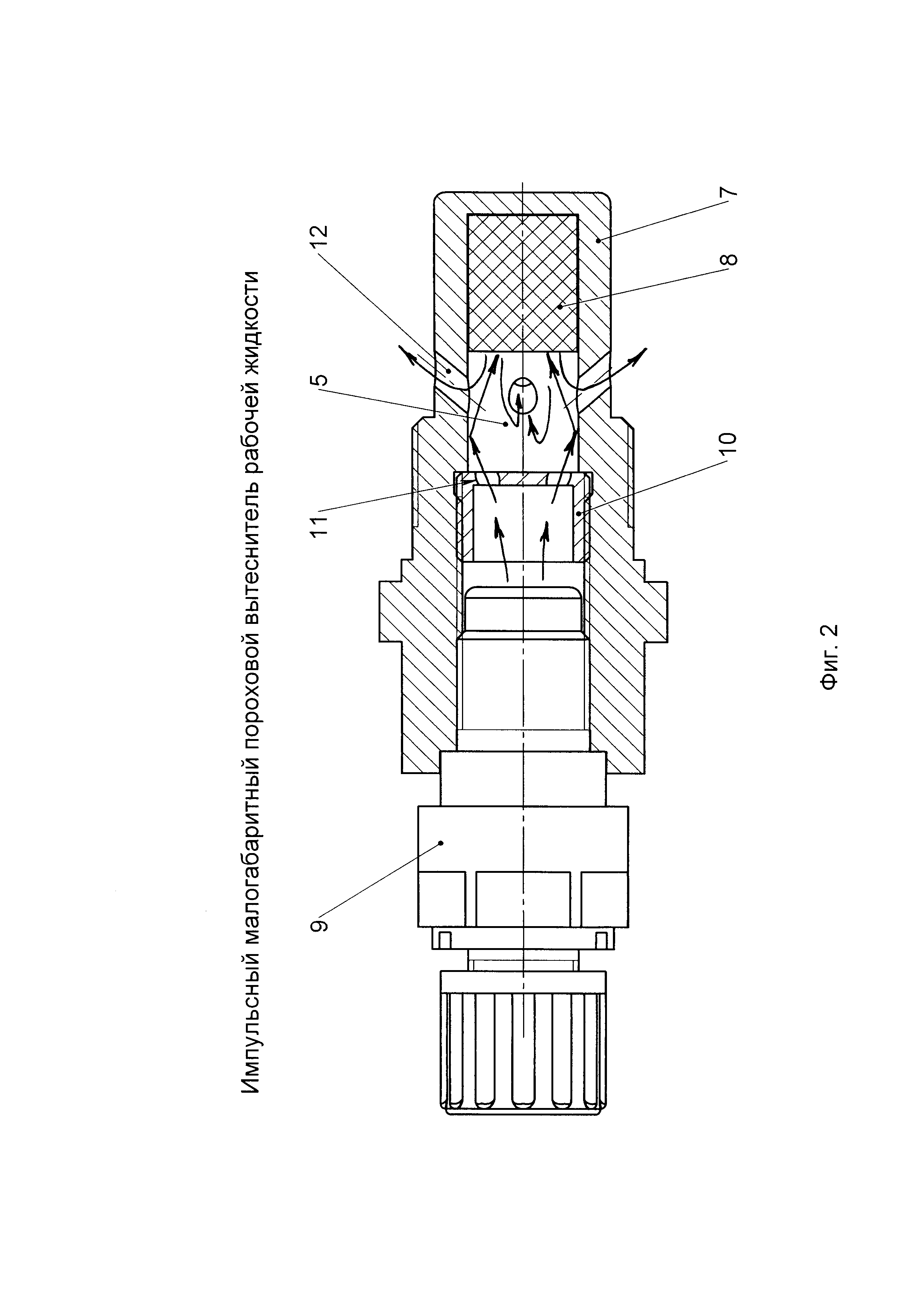
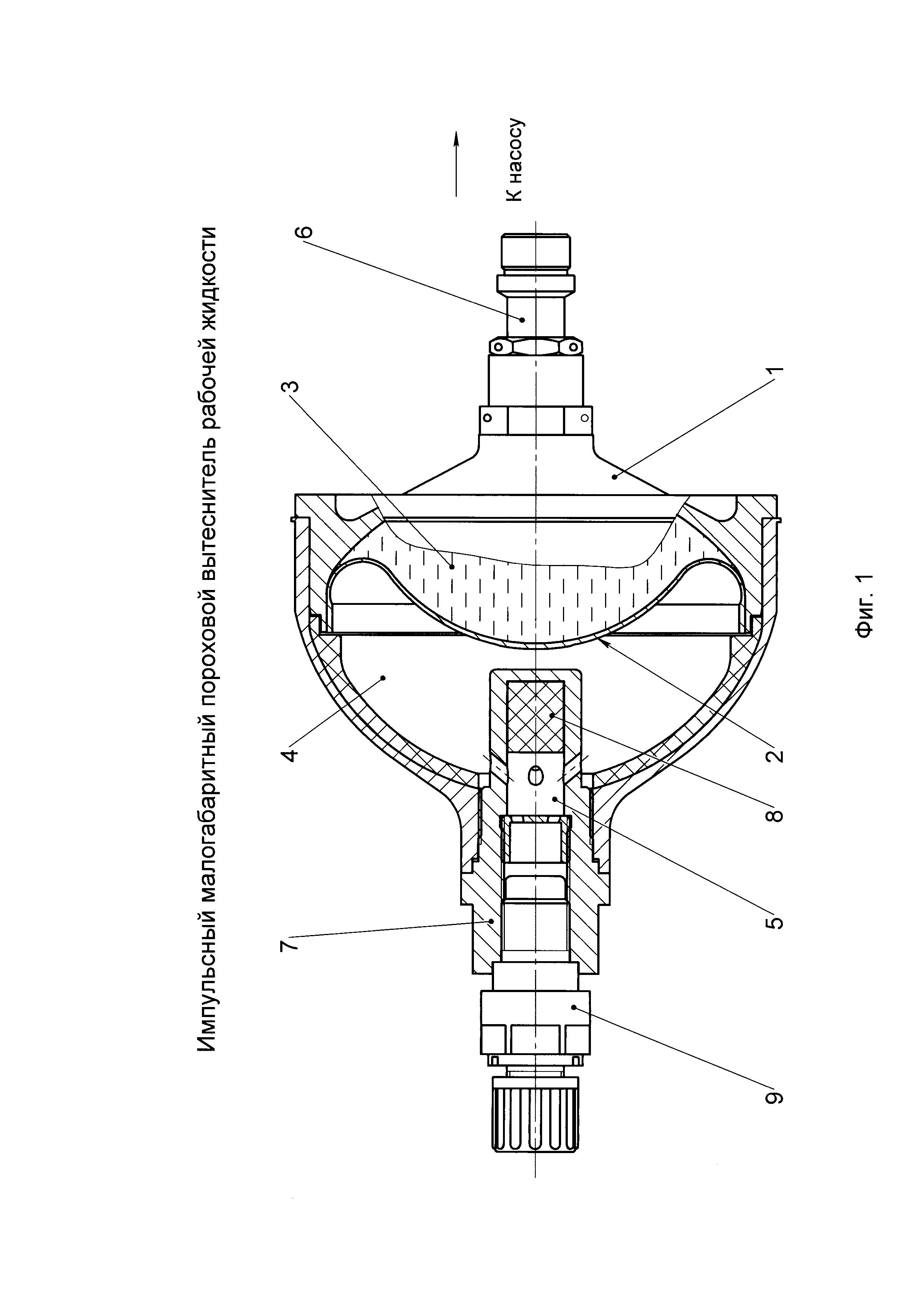
Предложенная конструкция импульсного малогабаритного порохового вытеснителя рабочей жидкости поясняется чертежами, на которых представлены: Фиг. 1 - общий вид вытеснителя, Фиг. 2 - увеличенная конструкция камеры сгорания.

[11]

Вытеснитель состоит из емкости (1), разделенной выворачиваемой диафрагмой (2) на две полости - жидкостную (3) и газовую (4). В жидкостной полости (3) размещена рабочая жидкость, а в газовой (4) размещена камера сгорания (5). Со стороны жидкостной полости емкость (1) закрыта гидроразъемом (6), а со стороны газовой полости (4) - стаканом (7), являющимся корпусом камеры сгорания (5). В донной части стакана (7) закреплен пороховой заряд (8), а с открытого торца закрыт пиропатроном (9). Между пиропатроном (9) и зарядом (8) с зазором с обеих сторон расположена перегородка (10) с отверстиями (11), оси которых расположены под острым углом к продольной оси стакана (7) с вершинами в сторону пиропатрона (9) так, чтобы отраженный от внутренней стенки стакана (7) форс продуктов сгорания пиропатрона (9) был направлен на торец заряда (8). Между точками пересечения осей отверстий (11) в перегородке с внутренней поверхностью стакана (7) и сечением по торцу заряда (8) на боковой поверхности стакана (7) выполнены отверстия (12), сообщающие полость камеры сгорания (5) с газовой полостью (4) емкости (1). Оси отверстий (12) в стакане (7) выполнены под углом с вершиной в сторону пиропатрона (9).

[12]

Вытеснитель работает следующим образом.

[13]

При подаче команды на срабатывание пиропатрона (9) его форс продуктов сгорания истекает в направлении перегородки (10), а затем через отверстие (11) истекает на стенку стакана (7) камеры сгорания (5) и, отражаясь от нее, воздействует на торец заряда (8). Продукты сгорания заряда (8) истекают в сторону перегородки (10) и, разворачиваясь в обратную сторону, истекают через отверстия (12) в стакане (7) камеры сгорания (5) в газовую полость (4) емкости (1), создавая в ней давление, которое выворачивает диафрагму (2).

[14]

Вытеснитель данной конструкции планируется использовать в приводе органов управления вновь создаваемого высокоскоростного летательного аппарата.

Как компенсировать расходы
на инновационную разработку
Похожие патенты