патент
№ RU 2671244
МПК G01S7/40
Номер заявки
2017139346
Дата подачи заявки
14.11.2017
Опубликовано
30.10.2018
Страна
RU
Как управлять
интеллектуальной собственностью
Чертежи 
1
Реферат

Изобретение относится к радиотехническому испытательному оборудованию для проведения стендовых испытаний радиоэлектронных комплексов космических аппаратов (КА) и может использоваться для имитации помеховых радиосигналов, включая излучение электрических ракетных двигателей (ЭРД), на бортовые радиосистемы КА. Достигаемый технический результат - расширение функциональных возможностей за счет одновременной имитации полного спектра воздействующих на радиосистемы КА излучений, включая информационный сигнал с тепловыми шумами и излучение ЭРД. Указанный результат достигается за счет того, что имитатор помеховых радиосигналов содержит двухканальный векторный генератор (1), при этом каждый канал векторного генератора (1) включает генератор несущей частоты (2, 5), квадратурный модулятор (3, 6), подключенный к выходу генератора несущей частоты (2, 5), и блок управления (4, 7), выходы которого подключены к управляющим входам генератора несущей частоты и квадратурного модулятора. К входам блоков управления (4, 7) через преобразователи сигналов (10, 11) подключены блоки памяти (8, 9). Первый блок памяти (8) содержит данные об информационном сигнале, второй (9) - данные о помеховом излучении, создаваемом ЭРД. Выход первого квадратурного модулятора (3) подключен к первому входу сумматора сигналов (16) через последовательно соединенные первый коммутатор (12) и первый усилитель мощности сигнала (14) с управляемым коэффициентом усиления. Выход второго квадратурного модулятора (6) подключен ко второму входу сумматора сигналов (16) через последовательно соединенные второй коммутатор (13) и второй усилитель мощности сигнала (15) с управляемым коэффициентом усиления. Выход сумматора (16) соединен с излучающей антенной (18) через усилитель мощности результирующего сигнала (17). Выходы управляющей ПЭВМ (19) подключены к управляющим входам блоков управления (4, 7), коммутаторов (12, 13) и усилителей мощности сигналов (14, 15). 2 з.п. ф-лы, 1 ил.

Формула изобретения

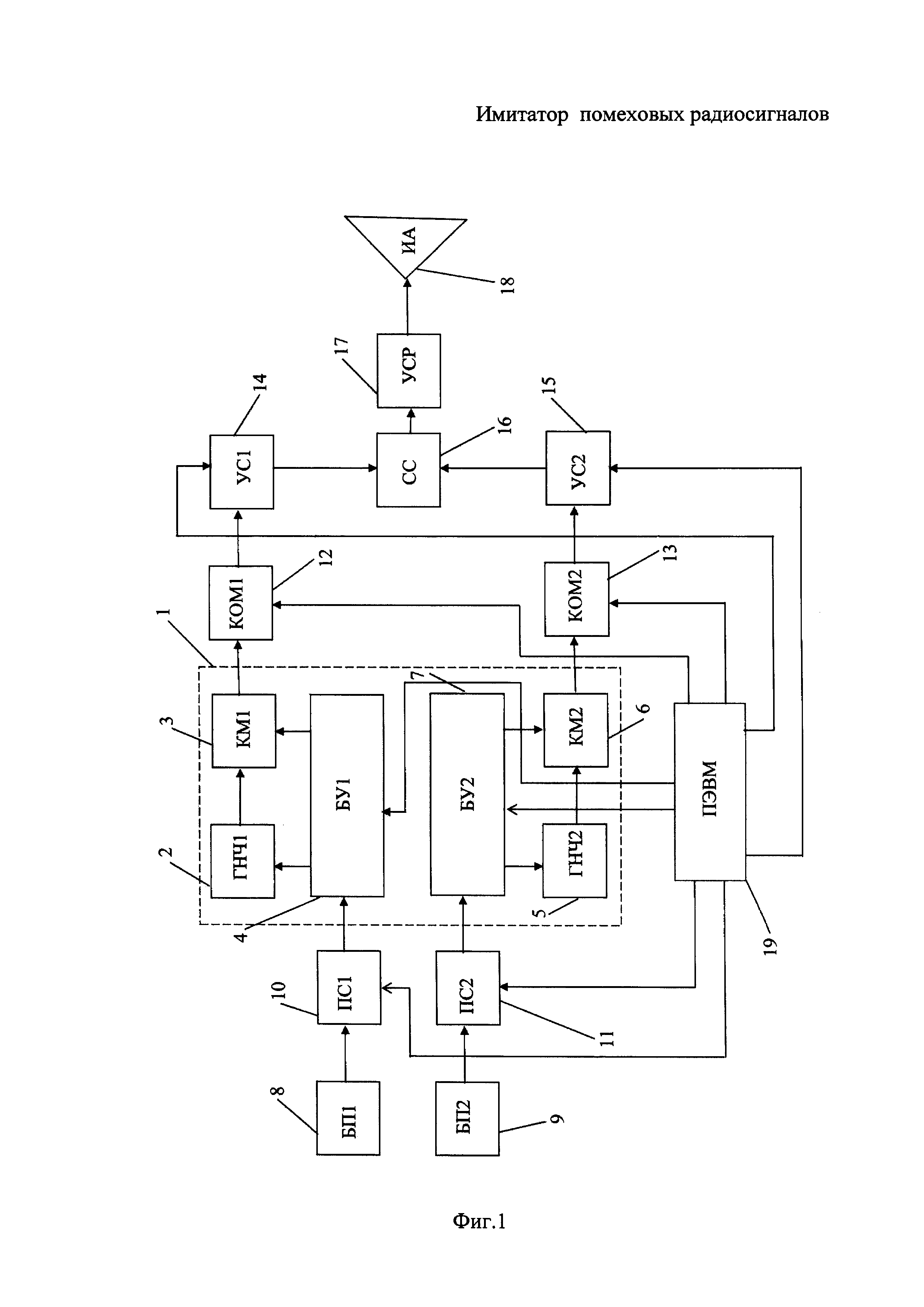
1. Имитатор помеховых радиосигналов, включая излучение электрических ракетных двигателей, воздействующих на радиосистемы космического аппарата, содержащий векторный генератор, управляющий процессор, блоки памяти, усилители мощности сигналов и по меньшей мере одну излучающую антенну, отличающийся тем, что векторный генератор выполнен двухканальным, каждый из каналов которого включает генератор несущей частоты, квадратурный модулятор, подключенный к выходу генератора несущей частоты, и блок управления, выходы которого подключены к управляющим входам генератора несущей частоты и квадратурного модулятора, в состав имитатора входят два блока памяти, два коммутатора, два усилителя мощности сигналов с управляемыми коэффициентами усиления, сумматор сигналов с двумя входами и одним выходом и усилитель мощности результирующего сигнала, при этом первый блок памяти, содержащий данные об информационном сигнале, подключен к первому блоку управления векторного генератора, второй блок памяти, содержащий данные о помехах, создаваемых электрическими ракетными двигателями, подключен ко второму блоку управления векторного генератора, выход первого квадратурного модулятора подключен к первому входу сумматора сигналов через последовательно соединенные первый коммутатор и первый усилитель мощности сигнала с управляемым коэффициентом усиления, выход второго квадратурного модулятора подключен ко второму входу сумматора сигналов через последовательно соединенные второй коммутатор и второй усилитель мощности сигнала с управляемым коэффициентом усиления, выход сумматора соединен с излучающей антенной через усилитель мощности результирующего сигнала, выходы управляющего процессора подключены к управляющим входам блоков управления векторного генератора, коммутаторов и усилителей мощности сигналов с управляемым коэффициентом усиления.

2. Имитатор по п. 1, отличающийся тем, что содержит два преобразователя сигналов, при этом первый блок памяти, содержащий данные об информационном сигнале, подключен к первому блоку управления векторного генератора через первый преобразователь сигнала, второй блок памяти, содержащий данные о помехах, создаваемых электрическими ракетными двигателями, подключен ко второму блоку управления векторного генератора через второй преобразователь сигнала, причем управляющие входы преобразователей сигналов подключены к выходам управляющего процессора.

3. Имитатор по п. 1, отличающийся тем, что в качестве управляющего процессора использована персональная электронно-вычислительная машина.

Описание

[1]

Изобретение относится к радиотехническому испытательному оборудованию для проведения стендовых испытаний радиоэлектронных комплексов космических аппаратов (КА) и может использоваться для имитации в наземных условиях воздействия широкого спектра помехового излучения (радиосигналов), включая излучение электрических ракетных двигателей (ЭРД), на бортовые радиосистемы КА.

[2]

Известны имитаторы радиосигналов различной формы с модуляцией, структурными признаками и другими параметрами реальных сигналов. Так, например, в патенте RU 2207586 C2 (опубликован 27.06.2003) описан имитатор радиосигналов, содержащий генератор синхросигнала опорной частоты, устройство считывания данных (цифровой процессор), устройство записи данных (цифровой процессор), блок памяти, устройство управления потоками данных, полосовой фильтр, устройство переноса сигналов на требуемую радиочастоту, аналого-цифровой преобразователь и управляемые делители частоты. При работе имитатора радиосигналов генератор синхросигнала опорной частоты непрерывно формирует синусоидальное колебание с фиксированной высокостабильной частотой или поток прямоугольных импульсов с фиксированной частотой. Набор данных для каждого вида имитируемого сигнала получают либо в результате предварительного формирования цифровой математической модели сигнала, либо путем записи принятого из эфира сигнала в цифровом виде. Имитируемый радиосигнал воспроизводится из блока памяти или входной сигнал записывается в блок памяти без пропуска отдельных мгновенных значений сигнала.

[3]

Имитатор источников радиоизлучений, описанный в патенте RU 2591045 C1 (опубликован 10.07.2016), обеспечивает расширение функциональных возможностей за счет имитации пространственно разнесенных источников радиоизлучений. Имитатор содержит генератор синхросигналов, устройство управления, запоминающее устройство, накапливающий сумматор. Каналы формирования сигналов включают запоминающее устройство хранения значений фазовых сдвигов, фазосдвигающее устройство и устройство формирования сигнала. Имитируемые сигналы формируются с заданными фазовыми сдвигами относительно сигнала в опорном канале.

[4]

Указанные выше известные имитаторы помеховых радиосигналов не обеспечивают генерацию широкого спектра помеховых сигналов, характерных для условий космического пространства и воздействующих на радиосистемы КА. Расширение спектра и параметров имитируемых радиосигналов относится к одной из важных задач при исследовании воздействия помехового излучения на бортовой радиотехнический комплекс КА в случае использования в составе двигательной установки ЭРД, являющихся интенсивными источниками широкополосного помехового излучения (Электрические ракетные двигатели космических аппаратов и их влияние на радиосистемы космической связи / Н.А. Важенин [и др.]. М.: ФИЗМАТЛИТ, 2013. С. 122-126).

[5]

Наиболее близким аналогом изобретения является программируемый имитатор помеховых радиосигналов, выполненный на базе векторного генератора сигналов (Кубов Е.И., Болдырев А.И. Применение векторных генераторов в области радиоконтроля и защиты информации // Специальная техника. 2007. №1. URL: http://www.ess.ru/sites/default/files/files/articles/2007/01/2007_01_05.pdf (дата обращения: 16.10.2017). Известный имитатор включает в свой состав блок управления, персональную электронно-вычислительную машину (ПЭВМ) со специальным программным обеспечением, включающим библиотеку моделей сигналов, блок внешней памяти, генератор несущей частоты, квадратурный модулятор, двухканальный усилитель мощности и антенны с различными частными диапазонами.

[6]

Применение в имитаторе унифицированного векторного генератора сигналов позволяет реализовать структурную схему, посредством которой диапазон выходных частот имитатора определяется генератором несущей частоты. Вид модуляции, структура и ширина спектра модулированного сигнала зависят от характеристик универсального квадратурного модулятора. Мощность выходного сигнала определяется характеристиками усилителя мощности. Усилитель мощности для повышения качества усиления выходного сигнала разделен на два блока (канала) с независимыми выходами. К каждому блоку подключена антенна с выделенным частотным поддиапазоном.

[7]

За счет использования векторного генератора сигналов устройство позволяет имитировать различные типы радиосигналов:

[8]

- сигнал с аналоговой амплитудной, частной и фазовой модуляцией несущей частоты с возможностью установки параметров модуляции;

[9]

- сигнал передатчика с цифровыми видами модуляции;

[10]

- сигнал передатчика шумоподобного сигнала;

[11]

- сигнал передатчика, работающего в режиме с псевдослучайной перестройкой рабочей частоты.

[12]

С помощью векторных генераторов сигналов осуществляется модуляция сигнала с формированием характеристик сигнала во временной и частотной областях посредством двухкомпонентного (векторного) процесса, отражающего изменения во времени амплитуды и фазы исходного сигнала (Силантьев В.А. Применение векторных анализаторов сигналов в системах радиоконтроля. / Специальная техника, 2002, №5, с. 31-40).

[13]

Следует отметить, что при использовании в имитаторе одноканального векторного генератора можно формировать только один излучающий сигнал с конкретным видом модуляции, имитирующим сигнал передачи определенного радиоэлектронного устройства. При решении задачи, связанной с оценкой помехоустойчивости радиоэлектронного комплекса КА, требуется создавать не только информационный сигнал конкретной радиолинии связи, но и помеховую обстановку на борту КА в целом. При этом одним из интенсивных источников помехового радиоизлучения являются ЭРД, входящие в состав двигательной установки КА.

[14]

Изобретение направлено на создание условий для полной имитации помеховой обстановки на борту КА в условиях космического пространства при работающих ЭРД. Вместе с имитацией помехового излучения во всем диапазоне воздействия радиосигналов на бортовые системы КА необходимо обеспечить возможность одновременной имитации информационного сигнала (канала радиосвязи) и излучения работающих ЭРД. Решение данных проблем позволяет достичь новый технический результат, связанный с расширением функциональных возможностей имитатора помеховых радиосигналов за счет одновременной имитации полного спектра воздействующих на радиосистемы КА излучений, включая информационный сигнал (канал связи) и помеховое излучение ЭРД. Кроме того, с помощью изобретения обеспечивается возможность имитации отдельного вида помехового излучения и различных комбинаций спектров помехового излучения с информационным сигналом. Создание таких условий, за счет расширенных функциональных возможностей имитатора, позволит достоверно и полно исследовать в наземных условиях воздействие помехового излучения на радиосистемы КА, соответствующее реальным условиям функционирования КА в космическом пространстве. Проведение таких исследований необходимо для оценки помехоустойчивости бортовых радиосистем КА при работающих ЭРД.

[15]

Технический результат достигается с помощью имитатора помеховых радиосигналов, включая излучение ЭРД, воздействующих на радиосистемы космического аппарата. Имитатор содержит двухканальный векторный генератор, каждый из каналов которого включает генератор несущей частоты, квадратурный модулятор, подключенный к выходу генератора несущей частоты, и блок управления, выходы которого подключены к управляющим входам генератора несущей частоты и квадратурного модулятора. В состав имитатора входят два блока памяти, два коммутатора, два усилителя мощности сигналов с управляемыми коэффициентами усиления, усилитель мощности результирующего сигнала, сумматор сигналов с двумя входами и одним выходом и управляющий процессор. Первый блок памяти, содержащий данные об информационном сигнале, подключен к первому блоку управления векторного генератора. Второй блок памяти, содержащий данные о помехах, создаваемых ЭРД, подключен ко второму блоку управления векторного генератора.

[16]

Выход первого квадратурного модулятора векторного генератора подключен к первому входу сумматора сигналов через последовательно соединенные первый коммутатор и первый усилитель мощности сигнала с управляемым коэффициентом усиления. Выход второго квадратурного модулятора подключен ко второму входу сумматора сигналов через последовательно соединенные второй коммутатор и второй усилитель мощности сигнала с управляемым коэффициентом усиления. Выход сумматора соединен с излучающей антенной через усилитель мощности результирующего сигнала. Управляющий процессор подключен к управляющим входам блоков управления векторного генератора, коммутаторов и усилителей мощности сигналов с управляемым коэффициентом усиления. В качестве управляющего процессора может использоваться ПЭВМ.

[17]

В случае использования баз данных информационных и помеховых радиосигналов в формате, не совместимом с базовым форматом «.wv» входных данных векторного генератора, в состав имитатора включаются два преобразователя сигнала. Совместимость формата передаваемых данных обеспечивается за счет подключения первого блока памяти, содержащего данные об информационном сигнале, к первому блоку управления векторного генератора через первый преобразователь сигнала. Второй блок памяти, содержащий данные о помехах, создаваемых ЭРД, подключается ко второму блоку управления векторного генератора через второй преобразователь сигнала. Управляющие входы преобразователей сигналов подключаются выходам управляющего процессора.

[18]

Далее изобретение поясняется описанием конкретного примера выполнения имитатора помеховых радиосигналов, включая излучение ЭРД, воздействующих на радиосистемы КА. Имитатор предназначен для проведения наземных стендовых испытаний бортового радиотехнического оборудования КА. На поясняющем чертеже изображена общая схема имитатора.

[19]

Имитатор помеховых радиосигналов, включая излучение ЭРД, воздействующих на бортовые радиосистемы КА, содержит двухканальный векторный генератор (ДВГ) 1. Первый канал ДВГ 1 образован последовательно соединенными первым генератором несущей частоты (ГНЧ1) 2 и первым квадратурным модулятором (КМ1) 3. Управляющие входы ГНЧ1 2 и КМ1 3 подключены к выходам первого блока управления (БУ1) 4. Второй канал ДВГ 1 образован последовательно соединенными вторым генератором несущей частоты (ГНЧ2) 5 и вторым квадратурным модулятором (КМ2) 6. Управляющие входы ГНЧ2 5 и КМ2 6 подключены к выходам второго блока управления (БУ2) 7.

[20]

Имитатор содержит два блока памяти (БП1 и БП2) 8 и 9 и два преобразователя сигналов (ПС1 и ПС2) 10 и 11.. Первый блок памяти (БП1) 8, содержащий данные об информационном сигнале, подключен к входу БУ1 4 через первый преобразователь сигнала (ПС1) 10. Второй блок памяти (БП2) 9, содержащий данные о помехах, создаваемых ЭРД, подключен к входу БУ2 7 через второй преобразователь сигнала (ПС2) 11. Преобразователи ПС1 10 и ПС2 11 используются в рассматриваемом примере реализации изобретения для преобразование библиотек данных, содержащихся в блоках БП1 8 и БП2 9, в файлы формата «.wv», который является базовым форматом для современных векторных генераторов.

[21]

В состав имитатора входят также коммутаторы (КОМ1, КОМ2) 12 и 13, усилители мощности сигналов (УС1, УС2) 14 и 15 с управляемыми коэффициентами усиления, сумматор сигналов (СС) 16 с двумя входами и одним выходом, усилитель мощности результирующего сигнала (УСР) 17 и излучающую антенну (ИА) 18.

[22]

Выходы модуляторов КМ1 3 и КМ2 6 соединены соответственно с входами первого коммутатора КОМ1 12 и второго коммутатора КОМ2 13. Выходы коммутаторов КОМ1 12 и КОМ2 13 подключены соответственно к входам первого и второго усилителей УС1 14 и УС2 15. Выход усилителя УС1 14 связан с первым входом сумматора СС 16, выход усилителя УС2 15 - со вторым входом сумматора СС 16. Выход сумматора СС 16 подключен через усилитель УСР 17 к антенне ИА 18.

[23]

В качестве управляющего процессора в рассматриваемом примере используется ПЭВМ 19. Управляющие выходы ПЭВМ 19 подключены к управляющим входам блоков БУ1 4 и БУ2 7, управляемых преобразователей ПС1 10 и ПС2 11, коммутаторов КОМ1 12 и КОМ2 13 и усилителей УС1 14 и УС2 15.

[24]

Имитация помеховых радиосигналов, включая излучение ЭРД, осуществляется с помощью имитатора следующим образом.

[25]

Исходная информация о помехах, включая помеховое излучение ЭРД, и информационных сигналах хранится в виде баз данных в блоках памяти БП1 8 и БП2 9. Информация представляется в виде цифровых отсчетов I и Q, являющихся компонентами (составляющими) вектора сигнала. Компоненты I и Q представляют собой проекции амплитуды (вектора) сигнала на действительную и мнимую оси. Технически цифровые отсчеты I и Q могут быть получены в виде временных реализаций на выходе типового спектроанализатора, работающего в режиме «zero-Span» (на чертеже не показан). На вход спектроанализатора подаются соответствующие информационные радиосигналы или помеховые сигналы. Спектроанализатор настраивается на заданную центральную частоту спектра сигналов, воздействующих на радиосистемы КА, и оцифровывает все сигналы, попадающие в его полосу пропускания шириной, например, 160 МГц. Перекрытие всего частотного диапазона излучения обеспечивается за счет изменения центральной частоты с шагом, равным ширине полосы пропускания (160 МГц), при этом на каждом шаге изменения частоты записываются временные реализации I и Q компонент.

[26]

Цифровые отсчеты компонент I и Q хранятся в базах данных (библиотеках), записанных в блоки памяти БП1 8 и БП2 9. В первый блок БП1 8 записываются цифровые отсчеты, относящиеся к информационному сигналу (каналу связи) радиосистемы КА и шумовым помехам окружающего космического пространства. Во второй блок БП2 9 записываются цифровые отсчеты, относящиеся к помеховому излучению, создаваемому работающими ЭРД. Для сопряжения форматов файлов данных, хранящихся в блоках БП1 8 и БП2 9 с файловой системой блоков управления генератора ДВГ 1 используются преобразователи ПС1 10 и ПС2 11, с помощью которых файлы баз данных преобразуются в файлы формата «.wv», воспринимаемые операционной системой типовых векторных генераторов. Применение преобразователей сигналов не требуется, если файлы баз данных записаны в блоках БП1 8 и БП2 9 в формате «.wv».

[27]

По управляющим сигналам ПЭВМ 19 значения квадратурных составляющих I и Q считываются в заданном формате и передаются в блоки управления БУ1 4 и БУ2 7. В каждом канале ДВГ 1 с помощью блоков управления БУ1 4 и БУ2 7 выставляется необходимая центральная частота для генераторов ГНЧ1 2 и ГНЧ2 5. Данная частота соответствует частоте испытываемого радиоприемного тракта радиосистемы КА. С помощью генераторов ГНЧ1 2 и ГНЧ2 5 осуществляется генерация сигналов в заданном частотном диапазоне и модуляция генерируемых сигналов квадратурными составляющими I и Q в каналах генератора ДВГ 1. Модуляция генерируемых сигналов производится в квадратурных модуляторах КМ1 3 и КМ2 6, управляемых соответствующими блоками БУ1 4 и БУ2 7. Следует отметить, что модуляция сигналов осуществляется независимо в каждом канале векторного генератора ДВГ 1. Предполагается, что полоса пропускания бортового радиоприемного тракта всегда меньше полосы оцифровки информационного сигнала и помех.

[28]

Далее модулированные информационные сигналы и помехи из двух каналов ДВГ 1 поступают через коммутаторы КОМ1 12 и КОМ2 13, управляемые ПЭВМ 19, в усилители УС1 14 и УС2 15, с помощью которых задается весовое соотношение (отношение сигнал/помеха по мощности) модулированных сигналов и помех, которые генерируются в первом и втором каналах генератора ДВГ 1. После установки соотношения сигнал/помеха по мощности сформированные процессы, первый из которых имитирует информационный сигнал с шумовой составляющей, а второй -помеховое излучение, создаваемое ЭРД, поступают на входы сумматора СС 16. На выходе сумматора СС 16 формируется результирующий сигнал, содержащий излучение ЭРД и информационный сигнал с тепловыми шумами, при заданном соотношении составляющих компонент результирующего сигнала.

[29]

Сигнал, получаемый на выходе из сумматора СС 16, усиливается с помощью усилителя УСР 17 и излучается в окружающее пространство через антенну ИА 18. В случае использования имитатора для излучения в широком диапазоне частот могут применяться несколько каналов излучения сигнала с усилителями мощности сигнала и излучающими антеннами, перекрывающими заданный частотный диапазон. Данный вариант выполнения передатчика используется в устройстве-прототипе.

[30]

Описанный выше имитатор обеспечивает имитацию помеховых радиосигналов при различных комбинациях и соотношениях по уровню мощности информационных сигналов (каналов радиосвязи) с тепловыми шумами и помехового излучения ЭРД, которые можно задавать с помощью управляющего процессора. Имея предварительно сформированные базы данных, содержащие цифровые отсчеты I и Q для информационных сигналов и реализаций излучения ЭРД, можно последовательно моделировать различные режимы помеховой обстановки для бортовых радиосистем КА, в том числе: при работающих ЭРД, при выключенных ЭРД, при изменении параметров помехового излучения, связанного с изменением режима работы ЭРД. Функциональные возможности имитатора позволяют достоверно и полно исследовать воздействие помехового излучения на радиосистемы КА при проведении наземных стендовых испытаний в условиях, наиболее приближенных к условиям функционирования КА в космическом пространстве.

Как компенсировать расходы
на инновационную разработку
Похожие патенты