патент
№ RU 2367977
МПК G01T1/167
Номер заявки
2008109639/28
Дата подачи заявки
11.03.2008
Опубликовано
20.09.2009
Страна
RU
Как управлять
интеллектуальной собственностью
Чертежи 
4
Реферат

Изобретение относится к области охраны окружающей среды, а более конкретно к средствам регистрации радиационно-опасных веществ при перемещении их через монитор в транспортных средствах. Сущность изобретения заключается в том, что монитор выполнен в виде закрываемого автоматическими воротами помещения типа ангара, в бетонном полу которого равномерно по всей длине выполнены канавки. В этих канавках размещены первые детекторы 1 (напольные), а вторые детекторы 2 размещены на двух балках, установленных по обе стороны вдоль потолочной части закрытого помещения, перекрывая зоны пониженной чувствительности напольных детекторов 1. Канавки с детекторами 1 в напольной части помещения заподлицо закрыты защитными заглушками, а электрические кабели от детекторов, ворот и светофоров выведены за пределы закрытого помещения для транспортного средства в помещение оператора, где расположен блок управления монитором. Технический результат - повышение чувствительности контроля за счет максимальной приближенности детекторов к транспортному средству. 2 з.п. ф-лы, 5 ил.

Формула изобретения

1. Транспортный портальный радиационный монитор, содержащий объем для размещения транспортного средства, детекторы для регистрации радиоактивного излучения, блок электроники с микропроцессором, пультом управления и блоком отображения информации, датчики присутствия и дорожные блокираторы, отличающийся тем, что объем для размещения транспортного средства выполнен в виде закрытого помещения с автоматическими воротами въезда-выезда и светофорами, первые детекторы размещены в поперечных канавках, выполненных равномерно по всей длине бетонного пола закрытого помещения, а вторые детекторы размещены на двух балках, установленных по обе стороны вдоль потолочной части закрытого помещения перпендикулярно по отношению к первым детекторам и с перекрытием пониженных зон чувствительности первых детекторов, при этом поперечные канавки с детекторами в напольной части помещения заподлицо закрыты защитными заглушками, а электрические кабели от детекторов, ворот и светофоров выведены за пределы закрытого помещения для транспортного средства в помещение оператора.

2. Транспортный портальный радиационный монитор по п.1, отличающийся тем, что датчики присутствия транспортного средства выполнены в виде оптических пар передатчик-приемник и установлены несколькими группами, в каждой из которых находится по две пары датчиков, при этом расстояние между датчиками в группе выбирается таким образом, чтобы зоны контроля не перекрывались объектом с длиной, меньше заданной.

3. Транспортный портальный радиационный монитор по п.2, отличающийся тем, что группы датчиков присутствия выполнены с возможностью перемещения относительно друг друга.

Описание

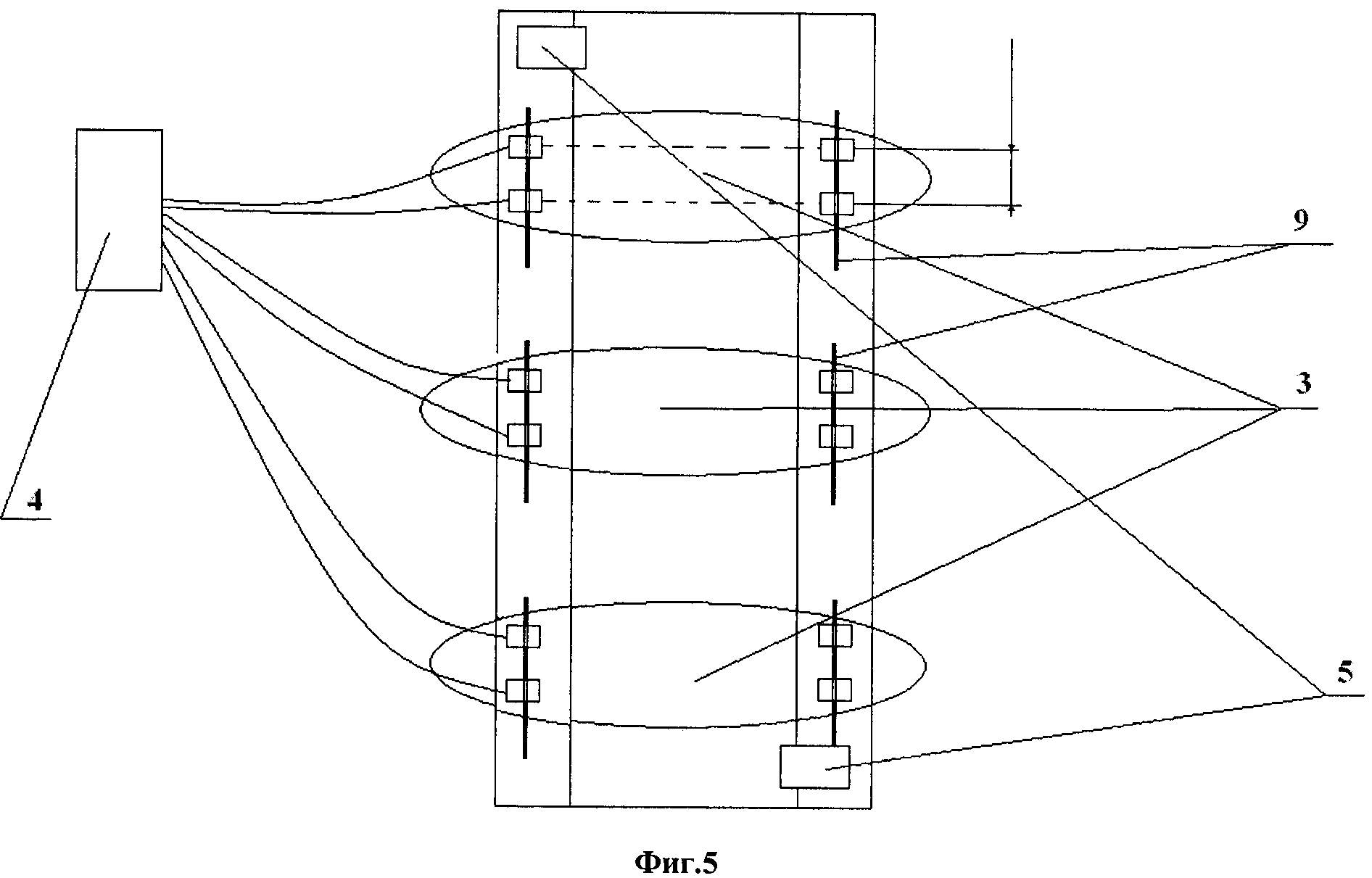
[1]

Изобретение относится к области охраны окружающей среды, а более конкретно к средствам регистрации радиационно-опасных веществ при перемещении их через монитор в транспортных средствах.

[2]

В известных портальных радиационных мониторах для контроля транспортных средств сцинтилляционные детекторы размещают в боковых стойках. Количество стоек может быть различно и зависит от максимальной длины пропускаемых через монитор транспортных средств и от решаемой задачи.

[3]

В частности, известен портальный монитор, реализующий способ выявления источника ионизирующего излучения в движущемся объекте по патенту РФ №2142644, МПК G01T 1/166, от 23.06.1998, содержащий две измерительные колонны, блок электроники с микропроцессором и выносной пульт со светодиодами, обеспечивающий стилизованное изображение автомобиля (мнемосхему).

[4]

Недостаток заключается в удаленном положении детекторов от объекта измерения и невозможности определения наличия источника излучения по ширине транспортного средства.

[5]

В качестве прототипа выбран транспортный портальный радиационный монитор, содержащий некоторый объем для размещения транспортного средства, детекторы для регистрации радиоактивного излучения, размещенные в двух боковых и четырех угловых стойках, блок электроники с микропроцессором, пультом управления и блоком отображения информации, датчики присутствия и дорожные блокираторы (патент РФ №2245563, МПК G01T 1/167 от 18.08.2003).

[6]

Как и в вышеприведенном устройстве, детекторы радиоактивного излучения размещены в боковых стойках. При этом могут возникнуть те же проблемы, что и в указанном выше аналоге.

[7]

Задачей настоящего изобретения является создание защищенного объема для мониторинга транспортного средства с высокой чувствительностью контроля и максимальной приближенностью детекторов к транспортному средству и с обеспечением контроля по трем координатам.

[8]

Поставленная задача решается следующим образом.

[9]

В транспортном портальном радиационном мониторе, содержащем объем для размещения транспортного средства, детекторы для регистрации радиоактивного излучения, блок электроники с микропроцессором, пультом управления и блоком отображения информации, а также датчики присутствия, согласно изобретению объем для размещения транспортного средства выполнен в виде закрытого помещения с автоматическими воротами въезда-выезда и светофорами, первые детекторы размещены в поперечных канавках, выполненных равномерно по всей длине бетонного пола закрытого помещения, а вторые детекторы размещены на двух балках установленных по обе стороны вдоль потолочной части закрытого помещения перпендикулярно по отношению к первым детекторам и с перекрытием зон пониженной чувствительности первых детекторов, при этом поперечные канавки с детекторами в напольной части помещения заподлицо закрыты защитными заглушками, а электрические кабели от детекторов, ворот и светофоров выведены за пределы закрытого помещения для транспортного средства в помещение оператора.

[10]

Технический результат заключается в повышенной чувствительности монитора за счет оптимального размещения детекторов радиоактивного излучения по отношению к транспортному средству с обеспечением максимальной защищенности детекторов, размещенных в напольной части помещения, от помех с других направлений. Определение места расположения источников излучения осуществляется не только по длине и ширине транспортного средства, но и по высоте. Достигается это формированием трехмерной координатной сетки зон измерения за счет особого размещения верхних и нижних детекторов относительно друг друга.

[11]

Кроме того, датчики присутствия транспортного средства выполнены в виде оптических пар передатчик-приемник и установлены несколькими группами, в каждой из которых находится по две пары датчиков, при этом расстояние между одноименными датчиками в группе выбирается таким образом, чтобы зоны контроля не перекрывались объектом с длиной меньше заданной. В этом случае датчики присутствия не будут реагировать на проходящего человека, а будут реагировать только на транспортное средство.

[12]

Кроме того, группы датчиков выполнены с возможностью перемещения относительно друг друга. Таким образом, задается минимальная длина проезжающего транспорта, на которую должна реагировать данная группа.

[13]

На фиг.1 показан общий вид заявляемого портала (в изометрии), где

[14]

1 - напольные детекторы радиоактивного излучения;

[15]

2 - потолочные детекторы радиоактивного излучения;

[16]

3 - оптические датчики излучения;

[17]

4 - блок управления монитором;

[18]

5 - светофоры.

[19]

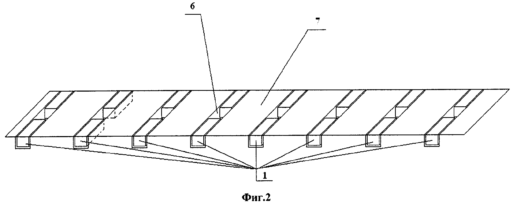
На фиг.2 показано размещение напольных детекторов 1 излучения в канавках 6 бетонного пола 7.

[20]

На фиг.3 приведен вид сбоку заявляемого портала.

[21]

На фиг.4 показан разрез напольной канавки 6 с установленным в ней детектором 1, закрытым защитной заглушкой 8.

[22]

На фиг.5 приведена схема размещения оптических датчиков присутствия объекта (транспортного средства), установленных на кронштейнах 9, обеспечивающих возможность перемещения оптических датчиков относительно друг друга в своей группе на регулируемую величину L.

[23]

Работа портала осуществляется следующим образом.

[24]

Въезд транспортного средства на территорию монитора (в ангар) осуществляется по сигналу светофора 5 через автоматически открываемые ворота (не показаны). Внутренний светофор меняет разрешительный сигнал на красный, когда транспортное средство, передвигающееся с минимальной скоростью, оказывается в оптимальной зоне измерения, что определяется оптическими датчиками 3 присутствия. Размер транспортного средства может быть любым: от малогабаритного автомобиля до большегрузного. Минимальный размер транспортного средства задается расстоянием L между оптическими датчиками в паре, которые должны сработать одновременно, т.е. должны быть одновременно перекрыты. Поскольку расстояние между датчиками 3 в любом случае должно превышать габариты человека, то они реагируют только на транспортное средство, позволяя перемещаться персоналу без введения в заблуждение системы регистрации. После срабатывания датчиков 3 присутствия о размещении транспортного средства в наиболее благоприятной зоне контроля, формируется сигнал к началу измерений, и осуществляется контроль состояния всех детекторов 1 и 2 с отображением их на мнемосхеме, входящей в состав блока управления монитором. Напольные детекторы 1 наиболее приближены к транспортному средству, и их диаграммы направленности перекрывают практически всю поверхность днища. Кроме того, размещение в канавках бетонного пола защищает детекторы от помех с других направлений, позволяя поднять их чувствительность. Фальшпанели или защитные заглушки 8 защищают детекторы 1 от грязи и пыли, одновременно обеспечивая скрытность контроля. Верхние детекторы 2 смонтированы таким образом, чтобы обеспечить перекрытие зон пониженной чувствительности нижних напольных детекторов 1. Они также устанавливаются без защитных экранов, что позволяет поднять их чувствительность. Таким образом, контролируемым пространством становится весь объем транспортного средства, а выходные сигналы конкретных детекторов 1 и 2 позволяют определить скрытое место размещения радиоактивного материала, при этом вертикальная координата определяется расчетным методом. Поскольку транспортное средство находится в стационарном положении в закрытом ангаре, то в случае обнаружения несанкционированного провоза радиоактивных материалов его дальнейшее движение может быть надежно заблокировано закрытыми автоматическими воротами до выяснения ситуации.

Как компенсировать расходы
на инновационную разработку
Похожие патенты