патент
№ RU 2539678
МПК G02F1/00

СПОСОБ ГЕНЕРАЦИИ ЭЛЕКТРОМАГНИТНОГО ИЗЛУЧЕНИЯ В ТЕРАГЕРЦОВОМ ДИАПАЗОНЕ И УСТРОЙСТВО ДЛЯ ПОЛУЧЕНИЯ ЭЛЕКТРОМАГНИТНОГО ИЗЛУЧЕНИЯ В ТЕРАГЕРЦОВОМ ДИАПАЗОНЕ

Авторы:
ГАРНОВ Сергей Владимирович
Номер заявки
2013117078/28
Дата подачи заявки
16.04.2013
Опубликовано
20.01.2015
Страна
RU
Как управлять
интеллектуальной собственностью
Чертежи 
1
Реферат

Изобретение относится к оптоэлектронике. Способ генерации электромагнитного излучения в терагерцовом диапазоне заключается во взаимодействии направленного возбуждающего излучения с активной средой образца и получении вторичного электромагнитного излучения. В качестве активной среды образца используют материал со свойствами топологического изолятора, при этом возбуждение осуществляют импульсным излучением с длительностью возбуждающих импульсов τ=10-10с, энергией в импульсе E=10-10Дж и длиной волны λ=350-5000 нм, причем возбуждающее излучение направляют на плоскость образца с активной средой под углом α≠90°. В качестве активной среды может быть использована тонкая пленка или кристалл селенида висмута (BiSe) или теллурида висмута (BiTe). В качестве детектирующего элемента может быть использован теллурид цинка (ZnTe). Технический результат заключается в обеспечении возможности контроля и управления параметрами генерации при возбуждении материалов, обладающих свойствами топологического изолятора. 3 н. и 2 з.п. ф-лы, 2 ил.

Формула изобретения

1. Способ генерации электромагнитного излучения в терагерцовом диапазоне, заключающийся во взаимодействии направленного возбуждающего излучения с активной средой образца и получении вторичного электромагнитного излучения, отличающийся тем, что в качестве активной среды образца используют материал со свойствами топологического изолятора, при этом возбуждение осуществляют импульсным излучением с длительностью возбуждающих импульсов τ=10-12-1014 с, энергией в импульсе Еимп=10-5-10-2 Дж и длиной волны λвозб=350-5000 нм, причем возбуждающее излучение направляют на плоскость образца с активной средой под углом α≠90°.

2. Способ по п.1, отличающийся тем, что в качестве активной среды используют тонкую пленку или кристалл селенида висмута (Bi2Se3).

3. Способ по п.1, отличающийся тем, что в качестве активной среды используют тонкую пленку или кристалл теллурида висмута (Bi2Te3).

4. Устройство для получения электромагнитного излучения в терагерцовом диапазоне, содержащее лазер накачки, оптически связанный через волновую пластинку с образцом, выполненным из материала активной среды, отличающееся тем, что образец выполнен из материала топологического изолятора с соединением Bi2Se3 или Bi2Te3, при этом указанный образец оптически связан через последовательно расположенные оптический фильтр и поляризатор с оптоакустическим преобразователем, выполненным в виде ячейки Голея, и подключенным к синхронному детектору, причем плоскость образца с активной средой ориентирована по отношению к оптической оси лазера накачки под углом α≠90°.

5. Устройство для получения электромагнитного излучения в терагерцовом диапазоне, содержащее лазер накачки, оптически связанный с одной стороны через делительную пластинку с образцом, выполненным из материала активной среды, отличающееся тем, что образец выполнен из материала топологического изолятора с соединением Bi2Se3 или Bi2Te3, который связан через последовательно расположенные на оптической оси фокусирующую линзу, полупрозрачное зеркало, кристаллический детектирующий элемент, четвертьволновую пластинку и призму Волластона с балансным фотодетектором, подключенным к регистратору, причем лазер накачки оптически связан с другой стороны через указанную делительную пластинку, линию задержки и отражательное зеркало с упомянутым полупрозрачным зеркалом, плоскость которого ориентирована под углом 45° к оси оптического канала.

Описание

[1]

Изобретение относится к оптоэлектронике и может быть использовано для генерации электромагнитного излучения в терагерцовом диапазоне.

[2]

Терагерцовое (ТГц) излучение - вид электромагнитного излучения, спектр частот которого расположен между инфракрасным (ИК) и сверхвысокочастотным (СВЧ) диапазонами.

[3]

В изобретении предлагаются способ генерации и два варианта устройства для получения электромагнитного излучения в терагерцовом частотном диапазоне на основе материалов (в частности, объемных кристаллов и тонких пленок Bi2Se3 и Bi2Te3), обладающих свойствами топологического изолятора с возможностью контроля, регистрации и управления параметрами излучения.

[4]

Топологическим изолятором (topological insulator - TI) называют особый тип материала, внутри объема который представляет собой диэлектрик (изолятор), а на поверхности проводит электрический ток.

[5]

Известен способ генерации в вакууме электромагнитного излучения в терагерцовом диапазоне (см. патент РФ №2381603, МПК H01S 3/09 от 09.06.2008), заключающийся в рассеивании пучка электронов на углеродной наноструктуре в виде нанотора с магнитным потоком во внутренней полости, при этом пучок электронов направляют вдоль оси нанотора, а магнитный поток во внутренней полости нанотора сформирован в процессе выращивания во внешнем однородном магнитном поле.

[6]

Недостатком такого способа является сложность реализации, обусловленная необходимостью создания углеродной наноструктуры в виде нанотора с магнитным потоком во внутренней полости.

[7]

Известны способ и устройство широкополосной генерации и обнаружения терагерцового излучения (ТГц) (европейская заявка WO 2007121598 (A1) МПК G01N 21/35; H01S 1/02 от 01.11.2007). Терагерцовое излучение генерируется в устройстве, содержащем лазер накачки, генерирующий возбуждающее электромагнитное излучение, оптические кристаллы и оптический детектор.

[8]

При этом используется оптический кристалл из теллурида цинка ZnTe. Выбирается определенное сочетание длин волн и нелинейных материалов кристаллов.

[9]

Недостатком такого способа и устройства является недостаточная эффективность и стабильность при получении электромагнитного излучения в терагерцовом диапазоне.

[10]

Из известных технических решений наиболее близким к предлагаемому способу является способ, реализованный в оптоэлектронном устройстве (см. патент РФ №2273946, МПК H03B 17/00 от 25.05.2004), включающем создание направленного возбуждающего лазерного излучения, взаимодействие его с активной средой образца и получение вторичного электромагнитного излучения в терагерцовом диапазоне.

[11]

Наиболее близким к предлагаемым вариантам устройства (2 варианта) является указанное известное оптоэлектронное устройство для генерации ультракоротких электрических импульсов, регистрации формы и измерения мощности импульсов оптического излучения (патент РФ №2273946, МПК H03B 17/00 от 25.05.2004), состоящее из источника света (лазервозбуждающий), преобразователя света в электрический сигнал и электродов, расположенных на поверхности преобразователя света по разные стороны от области, освещаемой источником оптического излучения, и имеющих с ним электрический контакт, отличающееся тем, что преобразователь света выполнен в виде пленки из углеродного материала, обладающего свойством оптического выпрямления, поверхность которой расположена наклонно к падающему пучку от источника света, и дополнительно снабжено устройством для измерения амплитуды, формы и длительности импульсов электрического напряжения.

[12]

При этом преобразователь света выполнен в виде пленки, нанесенной на подложку с электропроводностью, существенно более низкой, чем электропроводность материала пленки; электроды расположены между углеродной пленкой и подложкой.

[13]

Устройство дополнительно снабжено расширителем пучка, размещенным между источником ультракоротких импульсов и преобразователем света, а также оптическим устройством для преобразования излучения от источника ультракоротких импульсов света в линейно поляризованное излучение в плоскости, перпендикулярной плоскости пленки, и размещенным между источником и преобразователем света, причем упомянутые электроды выполнены в виде линейных электрических проводников, расположенных параллельно друг другу и перпендикулярно плоскости падения света.

[14]

Недостатком известных способов и устройств получения терагерцового излучения является низкая эффективность, ограниченный спектральный диапазон, а также ограниченные функциональные возможности устройств, реализующих известные способы.

[15]

Целью изобретения является создание способа и устройств - источников электромагнитного излучения терагерцового частотного диапазона с заданными параметрами излучения на основе материалов, обладающих свойствами топологического изолятора (объемных кристаллов и тонких пленок Bi2Se3 и Bi2Te3), и с использованием импульсного лазера с длиной волны в видимом - ближнем ИК спектральном диапазоне.

[16]

Технический результат изобретения состоит в устранении недостатков прототипа при разработке способа получения электромагнитного излучения в терагерцовом диапазоне с расширением функциональных возможностей, а именно - с обеспечением возможности управления параметрами генерации (интенсивность, спектр, поляризация, диаграмма направленности излучения) при возбуждении материалов, обладающих свойствами топологического изолятора, лазерным излучением видимого и ближнего ИК спектрального диапазона.

[17]

Технический результат, заключающийся в повышении стабильности характеристик получаемого электромагнитного излучения в терагерцовом диапазоне и расширением функциональных возможностей, достигается в предлагаемом способе генерации электромагнитного излучения в терагерцовом диапазоне, заключающемся во взаимодействии направленного возбуждающего излучения с активной средой образца и получении вторичного электромагнитного излучения тем, что в качестве активной среды образца используют материал со свойствами топологического изолятора, при этом возбуждение осуществляют импульсным излучением с длительностью возбуждающих импульсов τ=10-12-10-14 с, энергией в импульсе Еимп=10-5-10-2 Дж и длиной волны λвозб=350-5000 нм, причем возбуждающее излучение направляют на плоскость образца с активной средой под углом α≠90°.

[18]

При этом в качестве активной среды используют тонкую пленку или кристалл селенида висмута (Bi2Se3) или теллурида висмута (Bi2Te3).

[19]

Технический результат, заключающийся в повышении стабильности получаемого электромагнитного излучения в терагерцовом диапазоне с расширением функциональных возможностей, достигается в первом варианте предлагаемого устройства для получения электромагнитного излучения в терагерцовом диапазоне, содержащего лазер накачки, оптически связанный через волновую пластинку с образцом, выполненным из материала активной среды, тем, что образец выполнен из материала топологического изолятора с соединением Bi2Se3 или Bi2Te3, при этом указанный образец оптически связан через последовательно расположенные оптический фильтр и поляризатор с оптоакустическим преобразователем, выполненным, например, в виде ячейки Голея и подключенным к синхронному детектору, причем плоскость образца с активной средой ориентирована по отношению к оптической оси лазера накачки под углом α≠90°.

[20]

Указанный технический результат, достигается во втором варианте предлагаемого устройства для получения электромагнитного излучения в терагерцовом диапазоне, содержащего лазер накачки, оптически связанный с одной стороны через делительную пластинку с образцом, выполненным из материала активной среды, тем, что образец выполнен из материала топологического изолятора с соединением Bi2Se3 или Bi2Te3, который связан через последовательно расположенные на оптической оси фокусирующую линзу, полупрозрачное зеркало, кристаллический детектирующий элемент (теллурид цинка ZnTe), четвертьволновую пластинку и призму Волластона с балансным фотодетектором, подключенным к регистратору, например осциллографу, причем лазер накачки оптически связан с другой стороны через указанную делительную пластинку, линию задержки и отражательное зеркало с упомянутым полупрозрачным зеркалом, плоскость которого ориентирована под углом 45° к оси оптического канала.

[21]

Сущность изобретения поясняется чертежами, где:

[22]

- на фиг.1 представлена функциональная схема первого варианта устройства, реализующего предлагаемый способ;

[23]

- на фиг.2 представлена функциональная схема второго варианта устройства, реализующего предлагаемый способ.

[24]

Предлагаемый способ осуществляется следующим образом.

[25]

Выходное излучение импульсного лазера с длительностью импульсов τ=10-12-10-14 с, энергией в импульсе Еимп=10-5-10-2 Дж и длиной волны λвозб=350-5000 нм, направленное на образец с активной средой. В качестве такого образца используют пленку или кристалл со свойствами топологического изолятора. В предлагаемом способе в качестве такого материала используют тонкую пленку или кристалл селенида висмута (Bi2Se3) или теллурида висмута (Bi2Te3). При этом возбуждающее излучение направляют на плоскость образца с активной средой под углом α≠90°. В результате взаимодействия направленного импульсного лазерного излучения в образце из топологического изолятора возбуждается вторичное электромагнитное излучение терагерцового диапазона.

[26]

Первый вариант устройства (фиг.1), реализующего предлагаемый способ, содержит лазер 1 накачки, предназначенный для возбуждения активной среды образца 2, волновую пластинку 3 (полуволновую или четвертьволновую), при этом плоскость образца 2 с активной средой ориентирована по отношению к оптической оси лазера накачки под углом α≠90°.

[27]

Образец 2 с активной средой оптически связан через последовательно расположенные оптический фильтр 4 и поляризатор 5 с оптоакустическим преобразователем 6, выполненным, например, в виде ячейки Голея и подключенным к синхронному детектору 7.

[28]

Ячейка Голея - оптоакустический преобразователь (ОАП) - приемник излучения. Основой диапазон измерений: терагерцовое и ближнее ИК-излучение.

[29]

На фиг.1 и фиг.2 импульсное возбуждающее электромагнитное излучение условно обозначено поз.8, а вторичное электромагнитное излучение терагерцового диапазона обозначено затушеванной стрелкой с поз.9.

[30]

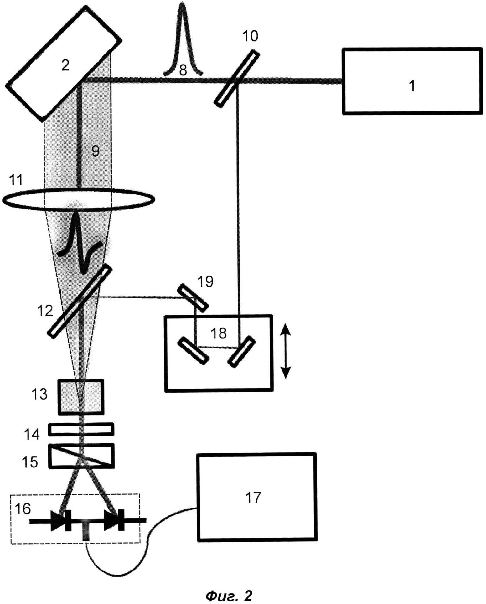
Второй вариант устройства (фиг.2), реализующий предлагаемый способ, содержит лазер 1 накачки, предназначенный для возбуждения активной среды образца 2. С одной стороны лазер 1 оптически связан через делительную пластинку 10 с образцом 2, который связан через последовательно расположенные на оптической оси фокусирующую линзу 11, полупрозрачное зеркало 12, кристаллический детектирующий элемент 13 (теллурид цинка ZnTe), четвертьволновую пластинку 14 и призму Волластона 15 с балансным фотодетектором 16, подключенным к регистратору 17, например осциллографу.

[31]

С другой стороны лазер 1 накачки оптически связан через указанную делительную пластинку 10, линию задержки 18 и отражательное зеркало 19 с полупрозрачным зеркалом 12, плоскость которого ориентирована под углом 45° к оси оптического канала.

[32]

Устройство по первому варианту (фиг.1) работает следующим образом.

[33]

Лазер накачки 1 генерирует импульсное возбуждающее излучение с длительностью импульсов t=10-12-10-14 с, энергией в импульсе Eимп=10-5-10-2 Дж и длиной волны λвозб=350-5000 нм, направленное на образец с активной средой, выполненный в виде пленки кристалла топологического изолятора.

[34]

Полуволновая (четвертьволновая) пластинка 3, установленная между лазером 1 и образцом 2, используется для преобразовании поляризации лазерного излучения из произвольной в линейную и поворота плоскости линейной поляризации за счет поворота пластины вокруг своей оси (для преобразования поляризации лазерного излучения из произвольной в круговую и изменения степени эллиптичности поляризации. При этом активной средой образца 2 (топологическим изолятором) генерируется терагерцовое излучение 9. Оптический фильтр 4 и поляризатор 5, установленные на оптической оси, используются для разделения оптического и терагерцового излучения, а оптоакустический преобразователь (ячейка Голея) используется для детектирования (преобразования) терагерцового излучения в электрический сигнал, поступающий на синхронный детектор 7, который усиливает полезный сигнал с увеличением отношения сигнал/шум.

[35]

В первом варианте устройства (фиг.1) для разделения оптического излучения и сгенерированного ТГц излучения оптическое излучение подавляется с помощью оптически поглощающего фильтра 4 (например черной бумаги), расположенного после образца 2. Выделение линейной поляризации ТГц излучения осуществляется с помощью поляризатора 5 (например, проволочного). Вращение поляризатора 5 вокруг своей оси позволяет изменять мощность сгенерированного ТГц сигнала. Регистрация амплитуды ТГц поля осуществляется с помощью детектора 6 на основе оптоакустического преобразователя (ячейки Голея), подключенного к синхронному детектору 7.

[36]

Устройство по второму варианту (фиг.2) работает следующим образом.

[37]

Лазер накачки 1 генерирует импульсное возбуждающее излучение с длительностью импульсов t=10-12-10-14 с, энергией в импульсе Eимп=10-5-10-2 Дж и длиной волны λвозб=350-5000 нм, направленное на образец с активной средой, выполненный в виде пленки кристалла топологического изолятора.

[38]

Делительная пластина 10, установленная между лазером 1 и образцом 2, разделяет пучок лазерного излучения на два: основной (более мощный) и вспомогательный (более слабый). Активная среда образца 2 (топологического изолятора) генерирует терагерцовое излучение.

[39]

Далее терагерцовое излучение поступает на фокусирующую линзу 11, предназначенную для фокусировки терагерцового излучения, и полупрозрачное зеркало 12, выполненное из материала, прозрачного для терагерцового излучения и отражающего оптическое излучение. С другой стороны лазерное излучение поступает от делительной пластинки 10 через линию задержки 18 и отражательное зеркало 19 на упомянутое полупрозрачное зеркало 12, которое используется для совмещения пучков терагерцового и лазерного излучения.

[40]

Указанная схема образует балансный детектор, который используется для детектирования терагерцового излучения и определения его временной формы и спектрального состава. Линия задержки 18 выполнена в виде двух зеркал, ориентированных под углом 90° друг к другу и размещенных на подвижном оптическом столике, оснащенном микрометрическим винтом (на чертеже не показаны). Линия задержки 18 используется для изменения времени задержки между импульсами терагерцового и лазерного излучения.

[41]

После полупрозрачного зеркала 12 излучение поступает на кристаллический детектирующий элемент 13 (теллурид цинка ZnTe), предназначенный для детектирования терагерцового излучения за счет двулучепреломления, наведенного терагерцовой волной. Четвертьволновая пластинка 14, установленная после элемента 13, используется для выравнивания интенсивностей ортогонально поляризованных световых волн, возникающих в кристалле ZnTe в результате двулучепреломления. После этого излучение поступает на призму Волластона 15, используемую для пространственного разделения ортогонально поляризованных лучей, и далее на балансный фотоприемник 16, который осуществляет преобразование оптического излучения в электрический сигнал, поступающий на регистратор 17, например осциллограф, с помощью которого осуществляется регистрация амплитуды и временной формы сигналов с фотоприемника.

[42]

Отличие второго варианта устройства от первого заключается в системе регистрации сгенерированного ТГц излучения, которая позволяет регистрировать не только амплитуду поля, но и форму ТГц импульса (спектр). В данной схеме (фиг.2) сгенерированное в кристалле (тонкой пленке) топологического изолятора ТГц излучение собирается тефлоновой линзой 11 (или параболическим зеркалом), а затем фокусируется на электрооптическом кристалле ZnTe 13. Слабый зондирующий лазерный пучок, пройдя через линию задержки 18, также попадает на кристалл ZnTe 13. Измерение временной формы ТГц импульса, индуцированного в образце 2, осуществляется изменением временной задержки между генерирующим и зондирующим оптическими пучками. Для регистрации ТГц импульсов используются четвертьволновая пластина 14, призма Волластона 15 и два сбалансированных фотодиода 16. Разностный сигнал с фотодиодов после усиления направлялся в регистратор 17 (осциллограф или компьютер для дальнейшей обработки). Последующее Фурье преобразование временной развертки ТГц импульсов позволяет определять спектральный состав индуцированного ТГц импульса.

[43]

Технический результат, достигнутый в изобретении, состоит в создании эффективного способа генерации и устройств получения электромагнитного излучения в терагерцовом диапазоне с возможностью контроля и управления параметрами генерации (интенсивность, спектр, поляризация, диаграмма направленности излучения) при возбуждении материалов, обладающих свойствами топологического изолятора.

[44]

Изобретение было реализовано в лабораторных условиях с использованием современных средств лазерной техники, оптоэлектроники и микроэлектроники.

Как компенсировать расходы
на инновационную разработку
Похожие патенты