патент
№ RU 2606212
МПК H01H9/24

ГЕРМЕТИЧНАЯ КОЛОДКА ПРЕЦИЗИОННОГО ВЫСОКОТЕМПЕРАТУРНОГО ВИБРОУСТОЙЧИВОГО ПРИБОРА

Авторы:
Демин Андрей Николаевич
Номер заявки
2015131364
Дата подачи заявки
28.07.2015
Опубликовано
10.01.2017
Страна
RU
Как управлять
интеллектуальной собственностью
Чертежи 
1
Реферат

[15]

Изобретение относится к области радио- и электротехники и может быть использовано в приборостроении, в том числе для коммутации электрических цепей в условиях воздействия высоких температур. Изобретение позволяет повысить температурную и механическую стойкость герметичной колодки для прецизионного прибора, например для термопарного прибора измерения температуры. Герметичная колодка прецизионного высокотемпературного виброустойчивого прибора содержит керамическую пластину с выводами, герметично заделанными в тело пластины, которая покрыта изолирующим слоем из стекла, металлическое кольцо по внешнему диаметру керамической пластины с нанесенным слоем из стекла, металлическое кольцо по внешнему диаметру керамической пластины с нанесенным слоем стекла и выводы, выполненные в виде штырей из коррозионно-стойкого металла, имеют коэффициент линейного расширения, соответствующий коэффициенту линейного расширения керамики с нанесенным слоем стекла, выводы сгруппированы по поверхности керамической пластины в ряды с одинаковой высотой штырей, штыри в ряду изогнуты в сторону ряда с меньшей высотой штырей, концы штырей в месте заделки подводимых проводников имеют сквозное отверстие под обжимку и лазерную сварку концов подводимых проводников со стороны ряда с меньшей высотой, а на металлическое кольцо по внешнему его диаметру герметично на компаунд устанавливается экранирующий кожух. 1 ил.

Формула изобретения

Герметичная колодка прецизионного высокотемпературного виброустойчивого прибора, содержащая керамическую пластину с выводами, герметично заделанными в тело пластины, которая покрыта изолирующим слоем из стекла, металлическое кольцо по внешнему диаметру керамической пластины с нанесенным слоем из стекла, отличающаяся тем, что металлическое кольцо по внешнему диаметру керамической пластины с нанесенным слоем стекла и выводы, выполненные в виде штырей из коррозионно-стойкого металла, имеют коэффициент линейного расширения, соответствующий коэффициенту линейного расширения керамики с нанесенным слоем стекла, причем выводы сгруппированы по поверхности керамической пластины в ряды с одинаковой высотой штырей, штыри в ряду изогнуты в сторону ряда с меньшей высотой штырей, концы штырей в месте заделки подводимых проводников имеют сквозное отверстие под обжимку и лазерную сварку концов подводимых проводников со стороны ряда с меньшей высотой, при этом разница в высоте соседних рядов штырей является достаточной для подведения сварочного лазерного луча со стороны ряда с меньшей высотой, а на металлическое кольцо по внешнему его диаметру герметично на компаунд устанавливается экранирующий кожух.

Описание

[1]

Предлагаемое устройство относится к области радио- и электротехники и может быть использовано в приборостроении.

[2]

Известна электроизоляционная колодка для коммутации электрических цепей в условиях воздействия высоких температур (патент РФ №146229, МПК4 H01R 9/24, 1989 г.). Колодка содержит корпус (манжету), керамический изолятор с отверстиями, жесткие контактные штыри (выводы) с резьбой для подключения проводников. Керамический изолятор установлен в корпус, а контактные штыри установлены в отверстия изолятора, а коммутирующие проводники зафиксированы гайкой на штырях.

[3]

Недостаток данной колодки состоит в том, что изолятор в корпусе и штыри в отверстиях изолятора не загерметизированы, что не позволяет использовать колодку для коммутации электрических цепей объектов, находящихся внутри загерметизированного объема, в частности внутри высоковакуумных приборов. Кроме того, торцы штырей расположены в одной плоскости, что не позволяет их использовать для коммутации таких объектов, как плоские контактные площадки, расположенные на разной высоте относительно друг друга. При использовании колодки в качестве вилки при ограниченном количестве штырей процесс сборки колодки с ответной частью (например, розеткой коммутируемого объекта) достаточно прост, но если количество штырей возрастает, то одновременно может накапливаться суммарная непараллельность штырей по отношению друг к другу и отверстий в ответной части коммутируемого объекта за счет погрешностей при изготовлении, что вызывает усложнение процесса сборки. Также известная колодка не содержит таких конструкционных элементов, как экраны, обеспечивающих при ее использовании помехозащищенность коммутируемых сигналов.

[4]

Из известных устройств наиболее близким по технической сущности к заявляемому является герметичная колодка выводов, которая содержит керамическую пластину с металлическими выводами (гермовыводами), герметично заделанными в тело пластины, и металлизацией в месте контакта с корпусом (манжетой), выводы расположены на поверхности керамической пластины, нанесены методом толстопленочной технологии и покрыты изолирующим слоем стекла. На слой стекла нанесен слой металлизации для герметизации пайкой колодки и корпуса (патент РФ №1709427, МПК4 H01J 23/48, 1992 г.).

[5]

Анализ прототипа выявляет его существенный недостаток, который заключается в том, что колодка не может быть использована для коммутации электрических цепей объектов, работающих при температурах выше 200°C. Токоведущие элементы в виде плоских металлических проводников (выводов) изготовлены по толстопленочной технологии, которая предполагает использование в качестве напыляемых материалов таких чистых металлов, как медь, хром и им подобных, термические коэффициенты линейного расширения которых в 3-4 раза выше, чем у керамики или стекла. Поэтому при нагреве известной колодки до температур выше 200°C происходит механическое разрушение выводов с обрывом электрической связи. Кроме того, торцы выводов расположены на колодке на одном уровне, что не позволяет ее использовать для коммутации таких объектов в ответной части, как плоские контактные площадки, расположенные на разной высоте друг относительно друга. Несмотря на наличие слоя металлизации, ширина слоя металлизации, как правило, выбирается исходя из глубины заделки колодки в корпус, что не обеспечивает полноценного выполнения такого конструкционного элемента, как экран, отсутствие которого снижает помехозащищенность коммутируемых сигналов. Недостатком данной колодки является также низкая виброустойчивость, что обусловлено отсутствием заделки выводов в керамическую пластину, выступанием краев керамической пластины колодки в виде консольной балки за край металлизации, по которой производится заделка колодки в корпус прибора.

[6]

Ожидаемым техническим результатом настоящего изобретения является повышение температурной и механической стойкости герметичной колодки для прецизионного прибора, например для термопарного прибора измерения температуры.

[7]

Указанный технический результат достигается тем, что в герметичной колодке прецизионного высокотемпературного виброустойчивого прибора, содержащей керамическую пластину с выводами, герметично заделанными в тело пластины, которая покрыта изолирующим слоем из стекла, металлическое кольцо по внешнему диаметру керамической пластины с нанесенным слоем стекла и выводы, выполненные в виде штырей из коррозионно-стойкого металла, имеют коэффициент линейного расширения, соответствующий коэффициенту линейного расширения керамики с нанесенным слоем стекла, причем выводы сгруппированы по поверхности керамической пластины в ряды с одинаковой высотой штырей, штыри в ряду изогнуты в сторону ряда с меньшей высотой штырей, концы штырей в месте заделки подводимых проводников имеют сквозное отверстие под обжимку и лазерную сварку концов подводимых проводников со стороны ряда с меньшей высотой, при этом разница в высоте соседних рядов штырей является достаточной для подведения сварочного лазерного луча со стороны ряда с меньшей высотой, а на металлическое кольцо по внешнему его диаметру герметично на компаунд устанавливается экранирующий кожух.

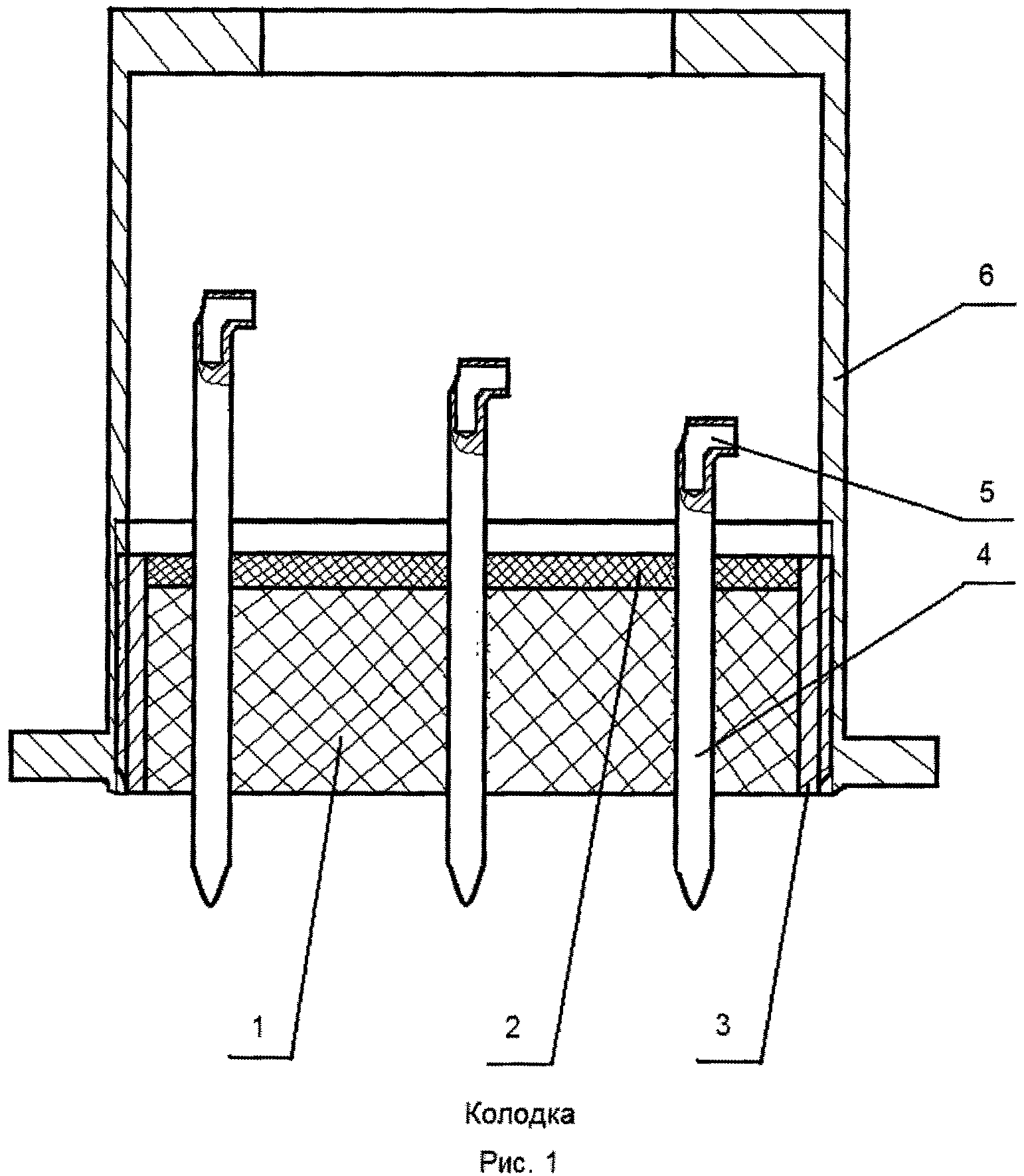
[8]

На рис. 1 изображен общий вид колодки в разрезе. Колодка содержит керамическую пластину 1 (например, из керамики 22ХС), слой стекла 2 (например, тонкая пленка стекла С84-2), нанесенный на керамическую пластину, металлическое кольцо 3 (например, из сплава 34 НК), штыри 4 (например, из сплава 34 НК) с отверстием 5 под обжим и сварку подводимого проводника, кожух 6 (например, из сплава 34 НК) с выходным отверстием для подводимых проводников.

[9]

Подбор вышеуказанных материалов обеспечивает согласованный и малый коэффициент линейного расширения элементов колодки не более 7,0⋅10-6 [1/°C] в рабочем диапазоне температур от 20 до 550°C, что является приемлемым для значительного числа технических применений. За счет этого, а также за счет коррозионно-стойкости применяемых материалов обеспечивается высокая температурная устойчивость колодки.

[10]

Увеличенная по сравнению с прототипом глубина заделки штырей в керамическую пластину и нанесение дополнительного слоя стекла приводят к увеличению механической устойчивости колодки и ее герметичности.

[11]

Применение штырей различной длины при их рядном расположении с предварительной заделкой подводимых проводников в отверстие с помощью предварительного обжима и последующей лазерной сварки обеспечивают механическую и температурную устойчивость подсоединения.

[12]

Применение кожуха обеспечивает экранирование электрического сигнала в подводимых проводниках в месте соединения со штырями колодки.

[13]

Использование колодки осуществляется следующим образом. Все подходящие проводники предварительно протягиваются через отверстие кожуха 6 (предварительно находится в отсоединенном положении от остальной части колодки) и заводятся в отверстия 5 штырей 4, начиная с ряда штырей максимальной длины со стороны изгиба штыря. Затем производится обжим подходящих проводников по внешней стороне штырей для ряда штырей максимальной длины в месте расположения отверстия с целью предварительного закрепления подходящих проводников. После чего производится разваривание каждого из подходящих проводников по периметру отверстия со стороны конца штыря и по внешней поверхности штыря в месте расположения отверстия. Затем указанные операции повторяются для штырей всех оставшихся рядов колодки, начиная со следующего по высоте в сторону уменьшения и - до последнего. Затем по резьбе на колодку навинчивается кожух 6 и контрится с помощью термостойкого герметика (например, герметик К600). После установки кожуха внутренняя полость колодки заполняется термостойкой массой (например, алюмофосфатным цементом АФ-5), фиксирующим положение подходящих проводников в кожухе 6.

[14]

Проведенные испытания показали повышенные характеристики температурной устойчивости и виброустойчивости герметичной колодки прецизионного прибора.

Как компенсировать расходы
на инновационную разработку
Похожие патенты