патент
№ RU 2641411
МПК F04D29/20

УСТРОЙСТВО КРЕПЛЕНИЯ ОБТЕКАТЕЛЯ РАБОЧЕГО КОЛЕСА НАСОСА

Авторы:
Стрельцов Сергей Александрович
Номер заявки
2016135229
Дата подачи заявки
30.08.2016
Опубликовано
17.01.2018
Страна
RU
Как управлять
интеллектуальной собственностью
Чертежи 
3
Реферат

Изобретение относится к машиностроению, а именно к устройствам крепления обтекателя рабочего колеса циркуляционных насосных агрегатов, применяемых в системах водоснабжения тепловых и атомных электростанций. Устройство крепления рабочего колеса насоса содержит обтекатель, выполненный с фиксирующим кольцевым выступом для сопряжения с ответной поверхностью рабочего колеса, крепежный болт с резьбой для закрепления обтекателя соосно на рабочем колесе. Во внутренней центральной полости обтекателя выполнен стакан, обращенный донной частью к рабочему колесу. Донная часть стакана снабжена центральным отверстием для размещения резьбовой части крепежного болта и цилиндрическим упором, взаимодействующим с внутренней поверхностью головки крепежного болта, которая выполнена с кольцевой торцевой проточкой и галтельным переходом между ней и цилиндрической поверхностью крепежного болта. Внешняя сторона головки крепежного болта выполнена с кольцевой проточкой и выступом, ограненным для взаимодействия с монтажным инструментом в виде ключа. Между выступом и кольцевой проточкой выполнен галтельный переход, а обтекатель дополнительно снабжен крышкой. Изобретение направлено на создание устройства крепления рабочего колеса насоса, обладающего высокой надежностью. 3 з.п. ф-лы, 3 ил.

Формула изобретения

1. Устройство крепления рабочего колеса насоса, содержащее обтекатель, выполненный с фиксирующим кольцевым выступом для сопряжения с ответной поверхностью рабочего колеса, крепежный болт с резьбой для закрепления обтекателя соосно на рабочем колесе, отличающееся тем, что во внутренней центральной полости обтекателя выполнен стакан, обращенный донной частью к рабочему колесу, донная часть стакана снабжена центральным отверстием для размещения резьбовой части крепежного болта и цилиндрическим упором, взаимодействующим с опорной поверхностью головки крепежного болта, которая выполнена с кольцевой торцевой проточкой и галтельным переходом между ней и цилиндрической поверхностью крепежного болта, внешняя сторона головки крепежного болта выполнена с кольцевой проточкой и выступом, ограненным для взаимодействия с монтажным инструментом в виде ключа, между выступом и кольцевой проточкой выполнен галтельный переход, а обтекатель дополнительно снабжен крышкой.

2. Устройство крепления рабочего колеса насоса по п. 1, отличающееся тем, что в кольцевой донной части стакана выполнены симметрично по кругу сквозные отверстия для центровки и крепления обтекателя к рабочему колесу.

3. Устройство крепления рабочего колеса насоса по п. 1, отличающееся тем, что крепление крышки к обтекателю осуществляется при помощи винтовых соединений с фиксацией от отворачивания кернением.

4. Устройство крепления рабочего колеса насоса по п. 1, отличающееся тем, что в центральной торцевой части головки крепежного болта выполнен выступающий шестигранник для взаимодействия с монтажным инструментом.

Описание

[1]

Изобретение относится к машиностроению, а именно к конструкциям крепежных деталей, в частности к устройствам крепления обтекателя рабочего колеса циркуляционных насосных агрегатов, применяемых в системах циркуляции теплоносителя тепловых и атомных электростанций.

[2]

Надежное крепление обтекателя рабочего колеса циркуляционных насосных агрегатов является одной из важных проблем тепловой и атомной энергетики. В связи с тем, что обтекатель рабочего колеса подвержен постоянному воздействию вибрации, важной проблемой является предотвращение разрушения головок болтов крепления обтекателя при постоянном вращении рабочего колеса. Вследствие воздействия вибрации в определенных областях крепления возникают концентрации напряжений, приводящие к разрушению крепления обтекателя, что может привести к выходу из строя всего агрегата. Одним из известных технических решений, призванных повысить надежность крепления обтекателя рабочего колеса циркуляционных насосных агрегатов, является применение крепежного болта с резьбой, вставляемого в центральную часть рабочего колеса.

[3]

Известно крепление элементов конструкций при помощи фланцевого болта с фасонной головкой (пат. РФ №2168076, МПК F16B 23/00, F16B 35/00), содержащего резьбовой стержень, фланец с опорной поверхностью и фасонную головку с наружными элементами зацепления под монтажный инструмент, выполненными в виде чередующихся продольных выступов и впадин, сопряженных по радиусам. Опорная поверхность фланца выполнена тарельчатой с углом наклона опорной поверхности. Фланцевый болт с фасонной головкой обладает высокой прочностью в осевом направлении, обеспечивает стабильность затяжки и обладает стопорящими свойствами.

[4]

Недостатком такого решения является низкая надежность, обусловленная ограниченной прочностью и циклической стойкостью вследствие большой массы головки болта и наличия концентраторов напряжений на линии перехода резьбового стержня и опорной поверхности.

[5]

Известно крепление обтекателя вентилятора газотурбинного двигателя (пат. РФ №2235909, МПК F04C 19/00, опубл. 20.05.2004 г.) с рабочими лопатками вентилятора и диском, на Г-образном выступе которого установлен опорный кольцевой фланец, на котором осевыми болтами закреплен входной обтекатель компрессора с конусным кольцевым выступом. Между фланцем и хвостовиком лопатки установлено С-образное уплотнительное кольцо с внутренним и внешним осевыми выступами, контактирующими с хвостовиком и нижней полкой лопатки соответственно, и в осевых отверстиях уплотнительного кольца размещены полые головки осевых болтов, а между уплотнительным кольцом и выступом входного обтекателя выполнен кольцевой целевой зазор.

[6]

Недостатком такого решения является низкая надежность, обусловленная воздействием циклических радиальных усилий вследствие смещения центра масс обтекателя относительно оси вращения при монтаже обтекателя из-за смещения осевых болтов относительно осевых отверстий уплотнительного кольца и крепежных болтов относительно отверстий Г-образного выступа.

[7]

Известно устройство для крепления обтекателя к рабочему колесу вентилятора (пат. РФ №1466395, МПК F01D 29/32 F02K 3/04, опубл. 30.04.1995 г.), содержащее фланцы обтекателя и рабочего колеса с соосными отверстиями и установленные в них поворотные втулки, зафиксированные от осевого перемещения. Отверстия фланцев расположены радиально, втулки снабжены цанговыми лепестками, размещенными в зоне фланца обтекателя, и цилиндрическими хвостовиками, установленными в отверстиях фланца рабочего колеса. Фланец рабочего колеса со стороны боковой поверхности снабжен кольцевым пазом, сообщенным с отверстиями, а хвостовики втулок двумя параллельными лысками. Каждая втулка снабжена цилиндрическим эксцентричным пояском, расположенным между лепестками и хвостовиком и контактирующим с фланцем рабочего колеса и призматическим сухарем, установленным на цилиндрическом пояске с возможностью относительного поворота вокруг оси втулки и контактирующим одной из граней с фланцем рабочего колеса.

[8]

Недостатком такого решения является низкая надежность, обусловленная воздействием биений из-за смещений центра масс обтекателя относительно оси вращения, возникающих при монтаже втулки с цилиндрическим эксцентричным пояском и позиционировании призматического сухаря относительно стенки фланца рабочего колеса.

[9]

Наиболее близким к предлагаемому устройству является принятый за прототип узел крепления рабочего колеса насоса на валу (пат. РФ №2293884, МПК F04D 29/20 опубл. 20.02.2007 г.), содержащий обтекатель, в котором соосно с валом насоса выполнено гладкое отверстие для центрального винта, своей головкой замыкающего поверхность обтекателя. На торце центрального винта, предназначенном для взаимодействия с ведущим диском рабочего колеса, выполнен фиксирующий кольцевой выступ для сопряжения своей наружной радиальной поверхностью с ответной поверхностью стенки выполненного в ведущем диске рабочего колеса аксиального углубления. Фиксирующий кольцевой выступ на торце обтекателя и аксиальное углубление в ведущем диске рабочего колеса выполнены с возможностью относительного осевого смещения указанных торца и диска. Резьбовое отверстие для центрального винта выполнено в торце вала насоса, центральный винт снабжен фланцем, предназначенным для сопряжения с ответной поверхностью торца вала насоса с помощью винтового соединения, у которого резьбовые отверстия выполнены в торце вала насоса, а гладкие - в указанном фланце. На стержне винта под его головкой выполнен радиальный выступ с возможностью осевого упругого взаимодействия с фланцем при деформации радиального выступа.

[10]

Недостатком такого решения является низкая надежность, обусловленная воздействием циклических радиальных усилий вследствие смещения центра масс обтекателя и большой массы головки болта относительно оси вращения и низкой циклической прочностью болта из-за наличия концентратора напряжений по линии перехода резьбового стержня и опорной поверхности головки болта.

[11]

Признаки, общие с предлагаемым устройством:

[12]

- обтекатель,

[13]

- фиксирующий кольцевой выступ для сопряжения с ответной поверхностью рабочего колеса,

[14]

- крепежный болт с резьбой для закрепления обтекателя соосно на рабочем колесе.

[15]

Отличительные признаки:

[16]

- стакан, выполненный во внутренней центральной полости обтекателя, обращенный донной частью к рабочему колесу,

[17]

- центральное отверстие в донной части стакана для размещения резьбовой части крепежного болта,

[18]

- цилиндрический упор в донной части стакана, взаимодействующий с внутренней поверхностью головки крепежного болта,

[19]

- кольцевая торцевая проточка и галтельный переход между головкой и цилиндрической поверхностью крепежного болта,

[20]

- внешняя сторона головки крепежного болта выполнена с кольцевой проточкой и выступом, ограненным для взаимодействия с инструментом в виде ключа,

[21]

- между выступом и кольцевой проточкой выполнено закругление - галтельный переход,

[22]

- обтекатель дополнительно снабжен крышкой.

[23]

Задачей заявляемого изобретения является создание устройства крепления рабочего колеса насоса, обладающего высокой надежностью.

[24]

Технический результат заключается в обеспечении высокой надежности путем повышения прочности и циклической стойкости крепежного болта за счет снижения массы головки болта, устранения концентраторов напряжений и выполнения опорной поверхности головки болта, обеспечивающей большое значения момента при закручивании и ослабление влияния вибраций за счет применения крышки, предотвращающей при аварийных ситуациях выпадение продуктов разрушения из внутренней полости обтекателя.

[25]

Технический результат достигается тем, что в устройстве крепления рабочего колеса насоса, содержащем обтекатель, выполненный с фиксирующим кольцевым выступом для сопряжения с ответной поверхностью рабочего колеса, крепежный болт с резьбой для закрепления обтекателя соосно на рабочем колесе, новым является то, что во внутренней центральной полости обтекателя выполнен стакан, обращенный донной частью к рабочему колесу, донная часть стакана снабжена центральным отверстием для размещения резьбовой части крепежного болта и цилиндрическим упором, взаимодействующим с внутренней поверхностью головки крепежного болта, которая выполнена с кольцевой торцевой проточкой и галтельным переходом между ней и цилиндрической поверхностью крепежного болта, внешняя сторона головки крепежного болта выполнена с кольцевой проточкой и выступом, ограненным для взаимодействия с монтажным инструментом в виде ключа, между выступом и кольцевой проточкой выполнен галтельный переход, а обтекатель дополнительно снабжен крышкой.

[26]

Целесообразно в устройстве крепления рабочего колеса насоса в кольцевой части донной части стакана выполнять симметрично по кругу сквозные отверстия для центровки и крепления обтекателя к рабочему колесу.

[27]

Предпочтительно в устройстве крепления рабочего колеса насоса крепление крышки к обтекателю осуществлять при помощи винтовых соединений с фиксацией от отворачивания кернением.

[28]

В устройстве крепления рабочего колеса насоса центральная торцевая часть головки крепежного болта может быть выполнена в виде выступающего шестигранника для взаимодействия с монтажным инструментом.

[29]

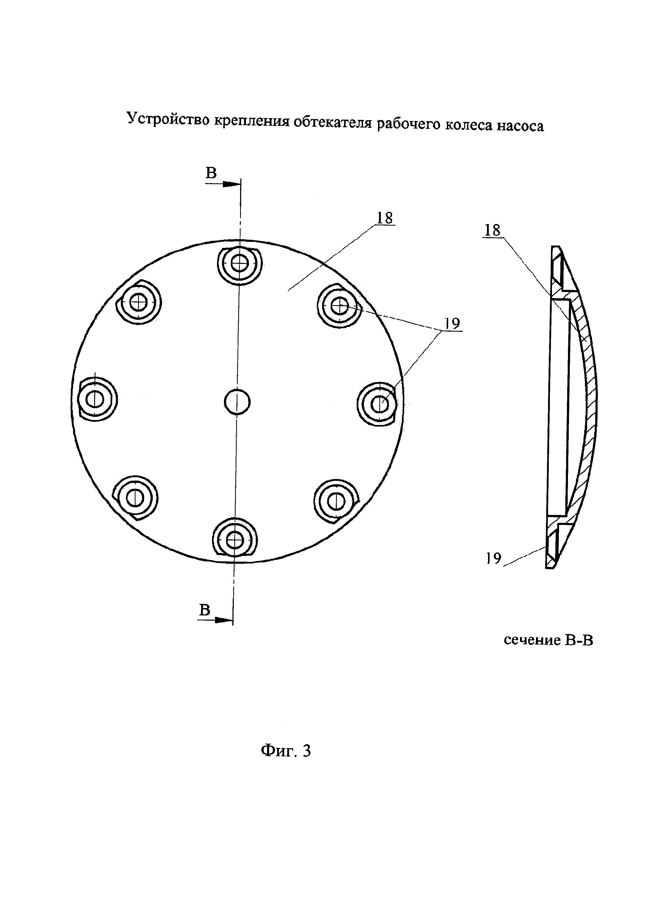
Устройство крепления рабочего колеса насоса поясняется чертежами, где на фиг. 1 представлено осевое сечение устройства крепления рабочего колеса в сборке, на фиг. 2 показан крепежный болт, а на фиг. 3 изображена крышка обтекателя.

[30]

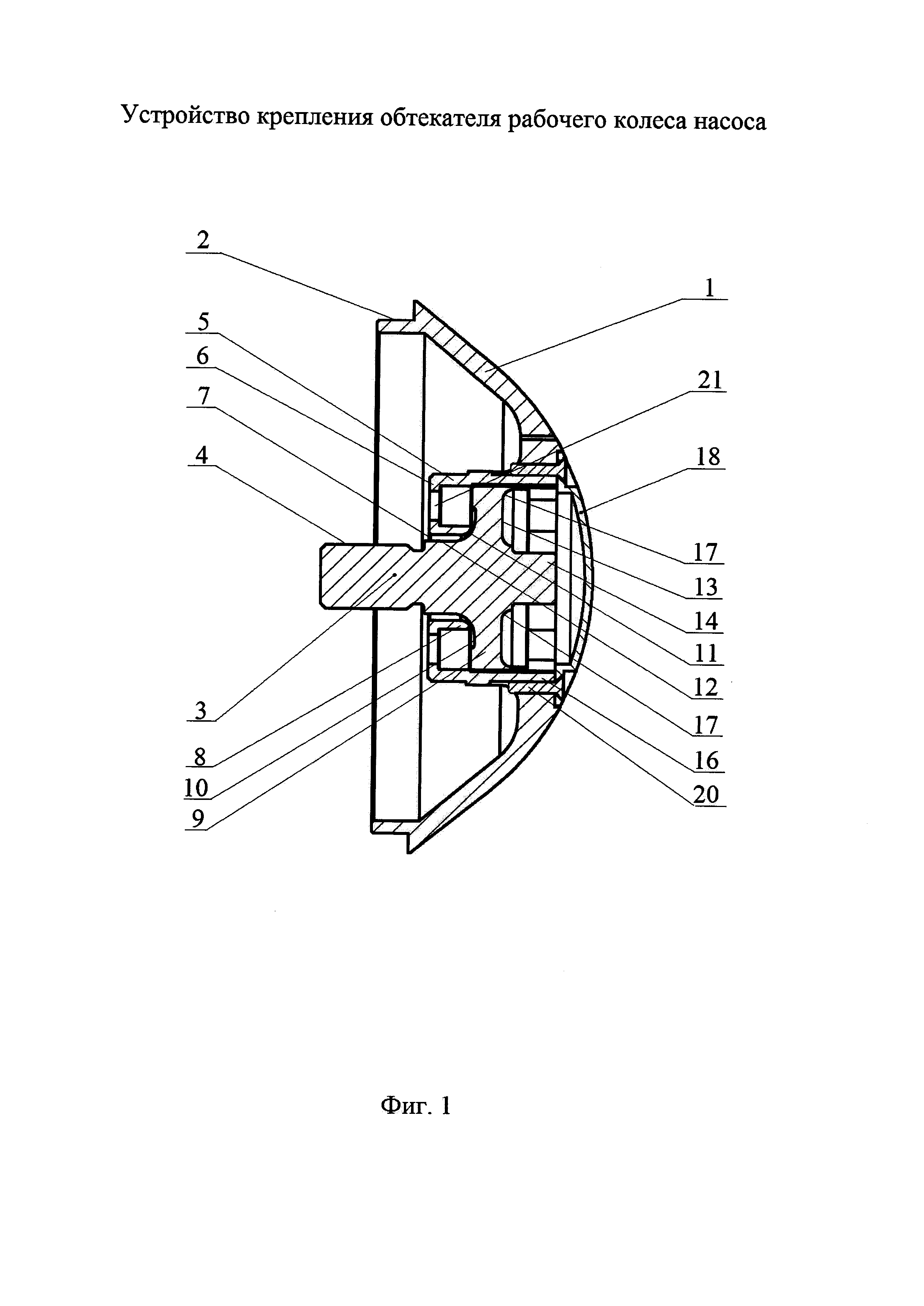
Устройство крепления рабочего колеса насоса содержит (фиг. 1) обтекатель 1, выполненный с фиксирующим кольцевым выступом 2 для сопряжения с ответной поверхностью рабочего колеса, крепежный болт 3 с резьбой 4 для закрепления обтекателя 1 соосно на рабочем колесе (на фигурах не показано).

[31]

Во внутренней центральной полости обтекателя выполнен стакан 5, обращенный донной частью 6 к рабочему колесу, донная часть стакана 6 снабжена центральным отверстием 7 для размещения цилиндрической части 4 крепежного болта 3 и цилиндрическим упором 8, взаимодействующим с внутренней поверхностью головки крепежного болта 9, которая выполнена с кольцевой торцевой проточкой 10 и галтельным переходом 11 между ней и цилиндрической поверхностью крепежного болта 12. Внешняя сторона головки крепежного болта 3 (фиг. 1, 2) выполнена с кольцевой проточкой 13 и выступом 14, выполненным с огранением 15 для взаимодействия с монтажным инструментом, например торцевым ключом. Между кольцевой проточкой 13, выступом 14 и кольцевым выступом 16 выполнены галтельные переходы 17. Галтельные переходы 11, 16 и 17 уменьшают возникновение концентраторов напряжений, что позволяет повысить прочность и циклическую стойкость, а также обеспечить увеличение момента затяжки крепежного болта 3 в резьбовую часть рабочего колеса.

[32]

Обтекатель 1 дополнительно снабжен (фиг. 1, 3) крышкой 18 с отверстиями 19, расположенными симметрично по окружности, для крепления крышки 18 к обтекателю 1. Крепление крышки 18 к обтекателю 1 осуществляется при помощи винтов 20. В кольцевой донной части 6 стакана 5 выполнены симметрично по кругу сквозные отверстия 21, через которые обтекатель крепится к крыльчатке насоса.

[33]

Используется предлагаемое устройство крепления рабочего колеса насоса следующим образом.

[34]

При установке обтекателя 1 кольцевой выступ 16 вводится в аксиальное углубление, в центральное отверстие 7 стакана 5 вставляется цилиндрическая часть 4 крепежного болта 3 и при помощи монтажного инструмента, например торцевого ключа, головка которого надевается на ограненный выступ 14, производится ввинчивание крепежного болта 3 в резьбовую часть вала насоса. На начальной стадии процесса завинчивания цилиндрическая поверхность головки 9 и кольцевого выступа 16 крепежного болта 3 входит во внутреннюю цилиндрическую полость стакана 5 и происходит центрирование обтекателя 1 относительно оси вращения рабочего колеса. На второй стадии кольцевая торцевая проточка 10 и поверхность галтельного перехода 11 вступают во взаимодействие и происходит прижим торцевой части 6 стакана 5 к торцевой поверхности рабочего колеса и окончательная центровка обтекателя 1. При этом все размеры выбраны так, что болт кругом имеет зазоры и работает только опорная часть на прижим, а центровка происходит по отверстиям в донной части стакана.

[35]

Наличие гантельных переходов 11, 17 головки крепежного болта 3 существенно уменьшает возникновение концентраций напряжений, повышает прочность и циклическую стойкость, позволяет увеличить момент затяжки крепежного болта 3 в резьбовую часть вала насоса и значительно повысить надежность крепления обтекателя 1.

[36]

Предлагаемая конструкция головки болта позволяет снизить ее массу, в значительной мере уменьшить вибрации при вращении в совокупности с цилиндрическим упором 8, взаимодействующим с внутренней поверхностью головки крепежного болта 9, и заметно уменьшить передачу вибраций от обтекателя 1 к крепежному болту 3.

[37]

После затяжки крепежного болта с требуемым моментом на обтекатель 1 устанавливается крышка 18 и закрепляется при помощи винтов 20, расположенных симметрично по кругу относительно ее оси. Такое решение обеспечивает развязку по массе крышки 18 с крепежным болтом 3, исключает воздействие вибраций на крепежный болт 3, в аварийных ситуациях не позволяет продуктам разрушения выпасть из внутренней полости обтекателя, что в совокупности повышает надежность крепления обтекателя 1.

[38]

Предлагаемое устройство модели способствует созданию устройства крепления рабочего колеса насоса, обладающего высокой надежностью.

Как компенсировать расходы
на инновационную разработку
Похожие патенты