патент
№ RU 2313428
МПК B23H7/26
Номер заявки
2006104727/02
Дата подачи заявки
17.02.2006
Опубликовано
27.12.2007
Страна
RU
Как управлять
интеллектуальной собственностью
Чертежи 
1
Реферат

[33]

Изобретение касается электрохимических и электрофизических методов обработки металлов, в частности инструментальных головок для обработки цилиндрических или кольцевых деталей на электрохимических и электроэрозионных станках. Инструментальная головка содержит, по меньшей мере, один электрод-инструмент 1, цилиндрический хвостовик 2 для установки и фиксации инструментальной головки в шпинделе станка, корпус 3, наружное 4 и внутреннее 5 прижимные кольца для крепления электрода-инструмента 1 к корпусу 3 при помощи крепежного элемента 6, причем в качестве электрода-инструмента 1 используется лента. Инструментальная головка позволяет обрабатывать наружные и внутренние цилиндрические поверхности по отдельности и одновременно, а также обрабатывать кольцевые детали на электроэрозионных и электрохимических станках при одновременном повышении качества и точности этой обработки за счет обеспечения возможности совмещения вертикального перемещения с вращением относительно вертикальной оси. 4 з.п. ф-лы, 2 ил.

Формула изобретения

1. Инструментальная головка для обработки цилиндрических или кольцевых деталей на электрохимических и электроэрозионных станках, содержащая, по меньшей мере, один электрод-инструмент, цилиндрический хвостовик для установки и фиксации инструментальной головки в шпинделе станка, корпус, наружное и внутреннее прижимные кольца для крепления электрода-инструмента к корпусу при помощи крепежного элемента, причем в качестве электрода-инструмента используется лента.

2. Инструментальная головка по п.1, отличающаяся тем, что лента установлена между корпусом и, по меньшей мере, одним из прижимных колец и укреплена крепежным элементом.

3. Инструментальная головка по п.1, отличающаяся тем, что ленточный электрод-инструмент выполнен длиной L≤πD, где

L - длина ленточного электрода инструмента,

D - диаметр поверхности, к которой крепится лента,

π - иррациональное число ≈3,14.

4. Инструментальная головка по п.1, отличающаяся тем, что ленточный электрод-инструмент установлен под углом к оси кольца с зазором.

5. Инструментальная головка по п.1, отличающаяся тем, что в корпусе выполнены дренажные отверстия, служащие для отвода газов, образующихся в процессе обработки.

Описание

[1]

Изобретение касается электрохимических и электрофизических методов обработки металлов, в частности инструментальных головок для электрохимических и электроэрозионных станков.

[2]

Известен электрод-инструмент для электроэрозионной резки, у которого токопроводящие электроды-инструменты выполнены в виде отрезков лент (а.с. SU №677863, В 23 Р 1/12, опубл. 05.08.1979 г., бюл. №29) - аналог.

[3]

Данное устройство предназначено только для резки детали и не осуществляет обработку поверхности.

[4]

Известен электрод-инструмент для электрохимической обработки кольцевых полостей (а.с. SU №1039681 А, В 23 Р 1/12, опубл. 07.09.1983 г., бюл. №33) - аналог. Причем, в качестве электрода-инструмента используется металлическая трубка.

[5]

Недостатком данной конструкции является невозможность обработки внутренних и наружных цилиндрических поверхностей больших диаметров (более 60 мм).

[6]

Техническим результатом данного изобретения является создание универсального устройства, позволяющего обрабатывать наружные и внутренние цилиндрические поверхности по отдельности и одновременно, а также обрабатывать кольцевые детали на электроэрозионных и электрохимических станках, при одновременном повышении качества и точности этой обработки за счет обеспечения возможности совмещения вертикального перемещения с вращением относительно вертикальной оси.

[7]

Указанный технический результат достигается тем, что инструментальная головка для обработки цилиндрических или кольцевых деталей на электрохимических и электроэрозионных станках содержит, по меньшей мере, один электрод-инструмент, цилиндрический хвостовик для установки и фиксации инструментальной головки в шпинделе станка, корпус, наружное и внутреннее прижимные кольца для крепления электрода-инструмента к корпусу при помощи крепежного элемента, причем в качестве электрода-инструмента используется лента.

[8]

При этом лента может быть установлена между корпусом и, по меньшей мере, одним из прижимных колец и укреплена крепежным элементом.

[9]

Ленточный электрод-инструмент может быть выполнен длиной, равной L≤πD, где

[10]

L - длина ленточного электрода инструмента;

[11]

D - диаметр поверхности, к которой крепится лента;

[12]

π - иррациональное число ≈3,14.

[13]

Ленточный электрод-инструмент может быть установлен под углом к оси кольца с зазором. Такая установка ленточного электрода-инструмента в измерительной головке обеспечивает касание всех точек ленты с поверхностью детали при ее обработке, в том числе и без вращения, только при вертикальном перемещении.

[14]

В корпусе могут быть выполнены дренажные отверстия, служащие для отвода газов, образующихся в процессе обработки.

[15]

Выполнение электрода-инструмента в виде ленты позволяет снизить трудоемкость изготовления электрода-инструмента.

[16]

Причем, при использовании одной ленты обрабатывается либо наружная, либо внутренняя цилиндрическая поверхность, а при использовании двух лент обрабатываются наружная и внутренняя цилиндрические поверхности одновременно.

[17]

Обработка детали может производиться как с вращением инструментальной головки с электродом-инструментом и подачей вдоль оси, так и лишь при одном осевом ее перемещении.

[18]

Такое техническое решение позволяет повысить качество обработки наружных и внутренних цилиндрических поверхностей (в основном значительных, больше 60 мм в диаметре), а также кольцевых деталей на электроэрозионных и электрохимических станках.

[19]

На фиг.1 показан общий вид инструментальной головки;

[20]

на фиг.2 - продольный разрез инструментальной головки.

[21]

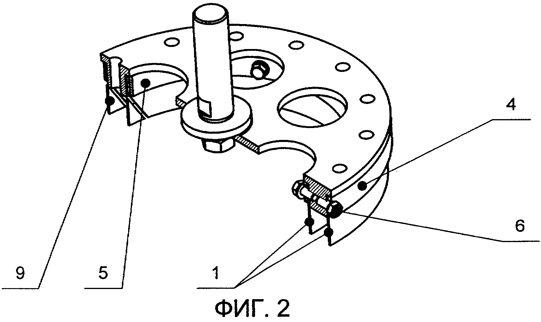
Инструментальная головка содержит, по меньшей мере, один электрод-инструмент 1, цилиндрический хвостовик 2 для установки и фиксации инструментальной головки в шпинделе станка (не показан), корпус 3, наружное 4 и внутреннее 5 прижимные кольца для крепления электрода-инструмента 1 к корпусу 3 при помощи крепежного элемента 6, причем в качестве электрода-инструмента 1 используется лента. Причем, лента устанавливается между корпусом 3 и, по меньшей мере, одним из прижимных колец (4, 5) и крепится крепежным элементом 6.

[22]

В корпусе выполнены дренажные отверстия (7, 8), служащие для отвода газов, образующихся в процессе обработки.

[23]

Ленточный электрод-инструмент 1 может быть установлен в инструментальную головку под углом к оси кольца с зазором 9.

[24]

При установке одной ленты производится обработка либо внутренней цилиндрической поверхности детали, либо наружной цилиндрической поверхности детали, а при установке двух лент производится одновременная обработка внутренней и наружной цилиндрических поверхностей либо обработка кольцевых деталей.

[25]

Ленточный электрод-инструмент может быть выполнен длиной, равной L≤πD, где

[26]

L - длина ленточного электрода инструмента;

[27]

D - диаметр поверхности, к которой крепится лента (либо внутренний диаметр наружного прижимного кольца, либо наружный диаметр внутреннего прижимного кольца);

[28]

π - иррациональное число ≈3,14.

[29]

При использовании ленточного электрода-инструмента длиной L=πD, обработка детали может производиться без вращения инструментальной головки, лишь при одном ее осевом перемещении.

[30]

При использовании ленты длиной менее чем длина окружности L<πD (т.е. когда работает лишь дуга, а не вся окружность) необходимо дополнительное вращение инструментальной головки.

[31]

При обработке деталь устанавливается и фиксируется на рабочем столе-ванне станка (не показан). Инструментальная головка устанавливается и фиксируется в шпинделе станка при помощи цилиндрического хвостовика. Стол-ванна станка заполняется рабочей средой, после чего осуществляется плановая обработка детали.

[32]

Таким образом, заявляемое изобретение позволяет обрабатывать наружные и внутренние цилиндрические поверхности (в основном значительные, больше 60 мм в диаметре) по отдельности и одновременно, а также обрабатывать кольцевые детали на электроэрозионных и электрохимических станках, при одновременном повышении качества и точности этой обработки за счет обеспечения возможности совмещения вертикального перемещения с вращением относительно вертикальной оси.

Как компенсировать расходы
на инновационную разработку
Похожие патенты