патент
№ RU 2683583
МПК H02H7/06

Способ диагностики эксцентриситета ротора электрической машины переменного тока

Авторы:
Исупова Наталья Александровна (KZ)
Номер заявки
2018124624
Дата подачи заявки
05.07.2018
Опубликовано
29.03.2019
Страна
RU
Как управлять
интеллектуальной собственностью
Чертежи 
2
Реферат

Изобретение относится к способу диагностики эксцентриситета ротора электрической машины переменного тока. Способ основан на измерении емкости относительно ротора в четырех расположенных равномерно по окружности точках, сравнении значений емкостей в диаметрально противоположно расположенных точках на основе вычисления их разности и формировании сигнала о наличии эксцентриситета ротора электрической машины переменного тока по одной или двум его осям. По величине разности емкостей определяют значение эксцентриситета ротора по конкретной его оси на основе формирования сигнала тока, величина которого зависит от величины сдвига ротора по конкретной оси, причем соответствие этого сигнала тока определенному значению эксцентриситета ротора определяют с использованием тарировочной кривой, построенной для соответствующей оси при выравнивании воздушного зазора электрической машины переменного тока, последовательно замеряя величину этого сигнала тока при сдвиге ротора по вертикальной и горизонтальной осям на 10%, 30%, 50%, 70%, 90% от номинальной величины воздушного зазора. Техническим результатом является обеспечение возможности диагностики величины эксцентриситета ротора электрической машины при любом его значении. 3 ил.

Формула изобретения

Способ диагностики эксцентриситета ротора электрической машины переменного тока, основанный на измерении емкости относительно ротора в четырех расположенных равномерно по окружности точках, сравнении значений емкостей в диаметрально противоположно расположенных точках на основе вычисления их разности и формировании сигнала о наличии эксцентриситета ротора электрической машины переменного тока по одной или двум его осям, отличающийся тем, что по величине разности емкостей определяют значение эксцентриситета ротора по конкретной его оси на основе формирования сигнала тока, величина которого зависит от величины сдвига ротора по конкретной оси и соответственно от величины разности емкостей по соответствующей оси, причем соответствие этого сигнала тока определенному значению эксцентриситета ротора определяют с использованием тарировочной кривой, построенной для соответствующей оси при выравнивании воздушного зазора электрической машины переменного тока, последовательно замеряя величину этого сигнала тока при сдвиге ротора по вертикальной и горизонтальной осям на 10%, 30%, 50%, 70%, 90% от номинальной величины воздушного зазора.

Описание

[1]

Изобретение относится к электроэнергетике и предназначено для диагностики эксцентриситета ротора электрических машин переменного тока.

[2]

Известен способ измерения динамического эксцентриситета электрической машины (авторское свидетельство SU №1332466, публ. 23.08.1987, МПК Н02K 11/00), основанный на измерении емкости относительно ротора и формировании сигнала о наличии эксцентриситета.

[3]

Недостатками настоящего технического решения является недостаточная чувствительность из-за того, что измерение емкости относительно ротора производится только в одной точке.

[4]

Наиболее близким по технической сущности к предлагаемому изобретению является способ диагностики эксцентриситета ротора электрической машины (патент KZ №25896, публ. 16.07.2012, МПК Н02K 11/00), основанный на получении сигнала о наличии эксцентриситета ротора электрической машины, в качестве которого используют непрерывно измеряемые параметры четырех емкостей, емкости расположены попарно диаметрально в четырех точках, в качестве одной из обкладок конденсатора используется поверхность ротора машины, а второй - пазовые клинья из фольгированного гетинакса, емкостные датчики являются плечами моста переменного тока, и если разность емкостей расположенных горизонтально превысит пороговую величину, то формируется сигнал - эксцентриситет по горизонтальной оси, а если разность емкостей расположенных вертикально превысит пороговую величину, то формируется сигнал - эксцентриситет по вертикальной оси.

[5]

Недостатками настоящего технического решения являются малая функциональная возможность, и как следствие этого узкая область применения, так как согласно данному способу возможно диагностировать эксцентриситет ротора только при одном значении сдвига ротора, по горизонтальной и (или) вертикальной оси, определенным пороговыми элементами устройства, что не позволяет узнать о наличии эксцентриситета ранее данной пороговой величины, и оценить потери электроэнергии из-за наличия эксцентриситета.

[6]

Технической задачей предлагаемого изобретения является обеспечение возможности диагностики величины эксцентриситета ротора электрической машины при любом его значении.

[7]

Технический результат заключается в расширении функциональных возможностей и области применения способа диагностики эксцентриситета ротора электрической машины.

[8]

Это достигается тем, что в известном способе диагностики эксцентриситета ротора электрической машины переменного тока, основанном на измерении емкости относительно ротора в четырех расположенных равномерно по окружности точках, сравнении значений емкостей в диаметрально противоположно расположенных точках на основе вычисления их разности и формировании сигнала о наличии эксцентриситета ротора электрической машины переменного тока по одной или двум его осям, по величине разности емкостей определяют значение эксцентриситета ротора по конкретной его оси на основе формирования сигнала тока, величина которого зависит от величины сдвига ротора по конкретной оси, причем соответствие этого сигнала тока определенному значению эксцентриситета ротора определяют с использованием тарировочной кривой, построенной для соответствующей оси при выравнивании воздушного зазора электрической машины переменного тока, последовательно замеряя величину этого сигнала тока при сдвиге ротора по вертикальной и горизонтальной осям на 10%, 30%, 50%, 70%, 90% от номинальной величины воздушного зазора.

[9]

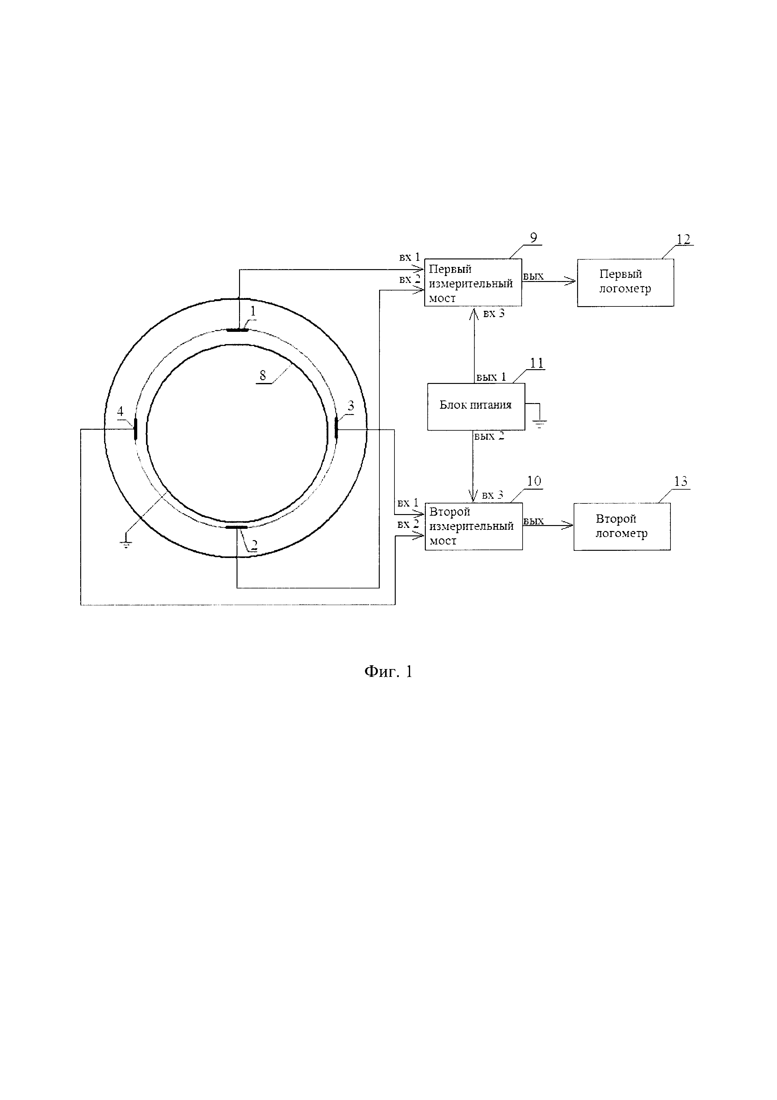
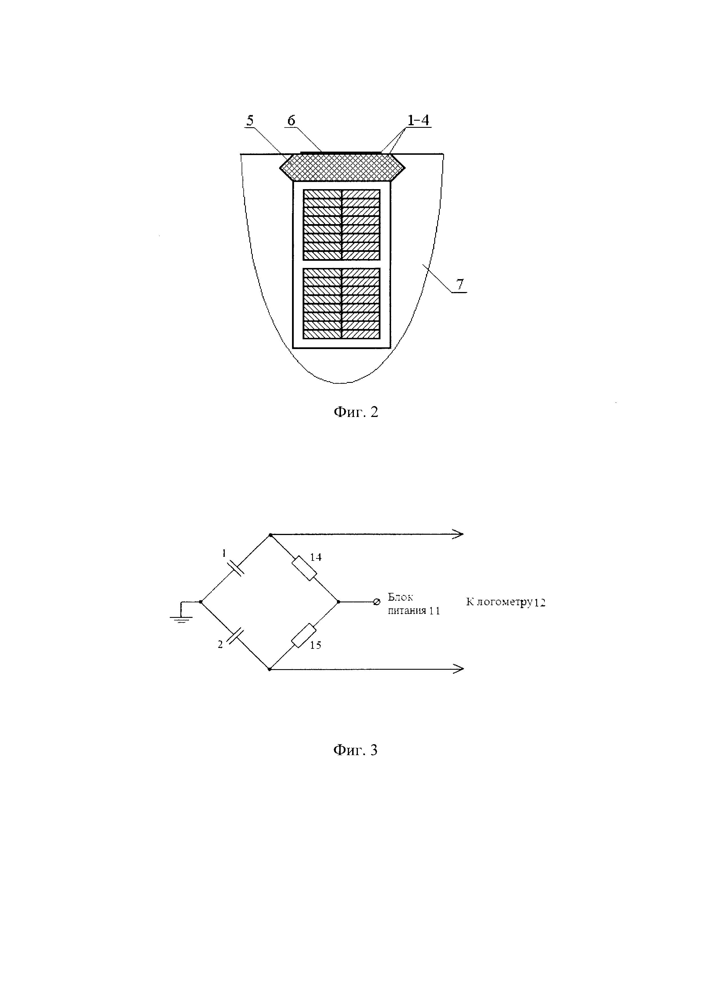
Сущность изобретения поясняется чертежами, где на фиг. 1 изображена схема устройства, реализующего предлагаемый способ диагностики эксцентриситета ротора электрической машины переменного тока, на фиг. 2 представлена конструкция емкостного датчика для измерения емкости относительно ротора, на фиг. 3 показана схема измерительного моста для формирования сигнала тока.

[10]

Устройство, реализующее предлагаемый способ диагностики эксцентриситета ротора электрической машины переменного тока, содержит первую пару емкостных датчиков 1, 2 и вторую пару емкостных датчиков 3, 4, каждый из которых представляют собой пазовый клин 5 из гетинакса или текстолита с наклеенной на нем металлической фольгой 6, забитый в головку паза статора электрической машины переменного тока с торца сердечника 7. При этом пары емкостных датчиков 1, 2 и 3, 4 расположены равномерно по окружности, соответственно, на вертикальной и горизонтальной осях ротора 8 электрической машины переменного тока, причем одной их обкладкой является вся поверхность ротора 8, а второй обкладкой - металлическая фольга 6 на пазовом клине 5.

[11]

Вторые обкладки первой пары емкостных датчиков 1, 2 подключены, соответственно к первому и второму входам первого измерительного моста 9. Вторые обкладки второй пары емкостных датчиков 3, 4 подключены, соответственно к первому и второму входам второго измерительного моста 10. К третьим входам первого 9 и второго 10 измерительных мостов подключены, соответственно, первый и второй выходы блока питания 11. К выходам первого 9 и второго 10 измерительных мостов подключены, соответственно, первый 12 и второй 13 электродинамические логометры.

[12]

Первый 9 и второй 10 измерительные мосты выполнены идентичными. При этом вторые обкладки первой пары емкостных датчиков 1, 2 являются, соответственно, первым и вторым плечами первого измерительного моста 9, третьим и четвертым плечами которого являются активные сопротивления одинакового значения 14, 15. Вторые обкладки второй пары емкостных датчиков 3, 4 являются, соответственно, первым и вторым плечами второго измерительного моста 10, третьим и четвертым плечами которого являются активные сопротивления одинакового значения. Первая диагональ первого измерительного моста 9, показанная на схеме как его третий вход, подключена к первому выходу блока питания 11, а вторая его диагональ, показанная на схеме в виде его выхода, подключена к первому электродинамическому логометру 12. Первая диагональ второго измерительного моста 10, показанная на схеме как его третий вход, подключена ко второму выходу блока питания 11, а вторая его диагональ, являющаяся на схеме его выходом, подключена ко второму электродинамическому логометру 13. Блок питания 11 представляет собой источник переменного тока.

[13]

Реализация указанным устройством предлагаемого способа диагностики эксцентриситета ротора электрической машины переменного тока осуществляется следующим образом.

[14]

Во время работы электрической машины переменного тока внешняя поверхность ее ротора 8 находится на определенном расстоянии от емкостных датчиков 1, 2 и 3, 4. На первый 9 и второй 10 измерительные мосты подается переменное напряжение с блока питания 11.

[15]

Если поверхность ротора 8 находится на одинаковом расстоянии от первой пары емкостных датчиков 1 и 2, а также от второй пары емкостных датчиков 3 и 4, то эксцентриситет ротора 8 отсутствует. При этом емкости первой и второй пар емкостных датчиков 1, 2 и 3, 4 одинаковы, первый 9 и второй 10 измерительные мосты сбалансированы, и стрелки первого 12 и второго 13 электродинамических логометров не отклоняются.

[16]

Если произошел сдвиг ротора 8 по вертикальной оси, то расстояние между обкладками первой пары емкостных датчиков 1 и 2 и, соответственно, их емкости будут разными. При подаче переменного напряжения с блока питания 11 на первую диагональ первого измерительного моста 9, на второй диагонали первого измерительного моста 9 возникнет разность потенциалов и к первому электродинамическому логометру 12 потечет ток, который вызовет отклонение его стрелки, что укажет на наличие эксцентриситета по вертикальной оси.

[17]

Если произошел сдвиг ротора 8 по горизонтальной оси, то расстояние между обкладками второй пары емкостных датчиков 3 и 4 и, соответственно, их емкости будут разными. При подаче переменного напряжения с блока питания 11 на первую диагональ второго измерительного моста 10, на второй диагонали второго измерительного моста 10 возникнет разность потенциалов и ко второму электродинамическому логометру 13 потечет ток, который вызовет отклонение его стрелки, что укажет на наличие эксцентриситета по горизонтальной оси.

[18]

При этом по углу отклонения стрелок первого 12 и второго 13 электродинамических логометров определяют значение эксцентриситета ротора 8, используя тарировочные кривые, соответственно, для вертикальной и горизонтальной осей. Тарировочные кривые представляют собой кривые, полученные экспериментальным путем. По оси X которых откладывается значение сдвига ротора по вертикальной или горизонтальной осям (10%, 30%, 50%, 70%, 90%), а по оси Y показание логометра.

[19]

Построение тарировочных кривых начинают с измерения величины воздушного зазора ротора 8 электрической машины переменного тока. Затем на основе значений показаний первого 12 и второго 13 электродинамических логометров проводят построение тарировочных кривых, соответственно, для вертикальной и горизонтальной осей.

[20]

Тарировочную кривую для вертикальной оси строят по пяти точкам, значения для которых находятся опытным путем после установки первой пары емкостных датчиков 1 и 2 во время выравнивания величины воздушного зазора, следующим образом: сдвигают ротор 8 электрической машины переменного тока на 10% от номинальной величины воздушного зазора по вертикальной оси, включают блок питания 11 и снимают значение показания первого логометра 12, зависящее от величины сигнала тока, поступающего на первый логометр 12 с измерительного моста, отключают блок питания 11; сдвигают ротор на 30% от номинальной величины воздушного зазора по вертикальной оси, включают блок питания 11 и снимают значение показания первого логометра 12, отключают блок питания 11; сдвигают ротор на 50% от номинальной величины воздушного зазора по вертикальной оси, включают блок питания 11 и снимают значение показания первого логометра 12, отключают блок питания 11; сдвигают ротор на 70% от номинальной величины воздушного зазора по вертикальной оси, включают блок питания 11 и снимают значение показания первого логометра 12, отключают блок питания 11; сдвигают ротор на 90% от номинальной величины воздушного зазора по вертикальной оси, включают блок питания 11 и снимают значение показания первого логометра 12, отключают блок питания 11. По полученным данным строят тарировочную зависимость для вертикальной оси.

[21]

Тарировочную кривую для горизонтальной оси строят аналогично тарировочной кривой для вертикальной оси по пяти точкам, значения для которых находят опытным путем после установки второй пары емкостных датчиков - 3, 4 во время выравнивания величины воздушного зазора, следующим образом: сдвигают ротор на 10% от номинальной величины воздушного зазора по горизонтальной оси, включают блок питания 11 и снимают значение показания второго логометра 13, отключают блок питания 11; сдвигают ротор на 30% от номинальной величины воздушного зазора по горизонтальной оси, включают блок питания 11 и снимают значение показания второго логометра 13, отключают блок питания 11; сдвигают ротор на 50% от номинальной величины воздушного зазора по горизонтальной оси, включают блок питания 11 и снимают значение показания второго логометра 13, отключают блок питания 11; сдвигают ротор на 70% от номинальной величины воздушного зазора по горизонтальной оси, включают блок питания 11 и снимают значение показания второго логометра 13, отключают блок питания 11; сдвигают ротор на 90% от номинальной величины воздушного зазора по горизонтальной оси, включают блок питания 11 и снимают значение показания второго логометра 13, отключают блок питания 11. По полученным данным строят тарировочную зависимость для горизонтальной оси.

[22]

Построение в данном способе тарировочных кривых и использование их во время диагностики эксцентриситета ротора позволяет получить значение эксцентриситета ротора электрической машины при любом его значении, что позволит рассчитать потери электроэнергии от данной неисправности. Это расширит функциональные возможности и область применения данного способа диагностики эксцентриситета ротора электрической машины.

[23]

Использование предлагаемого изобретения позволяет расширить функциональные возможности диагностирования эксцентриситета ротора электрической машины и расширить область применения способа диагностики эксцентриситета ротора электрической машины.

Как компенсировать расходы
на инновационную разработку
Похожие патенты