патент
№ RU 2605934
МПК H04N5/33

УСТРОЙСТВО КОНТРОЛЯ И УПРАВЛЕНИЯ ТЕПЛОВИЗИОННЫМИ КАНАЛАМИ

Авторы:
Иванов Владимир Петрович Зарипов Ренат Исламович Балоев Виллен Арнольдович
Все (4)
Номер заявки
2015141265/07
Дата подачи заявки
28.09.2015
Опубликовано
27.12.2016
Страна
RU
Как управлять
интеллектуальной собственностью
Чертежи 
1
Реферат

Изобретение относится к электронному приборостроению и предназначено для контроля и управления тепловизионными каналами (ТВК). Техническим результатом является расширение функциональных возможностей устройства за счет обеспечения проверки работоспособности ТВК, не имеющих органов ручного управления, и автоматизации измерения основных качественных характеристик ТВК, при повышении точности результатов измерений. Предложено устройство контроля и управления ТВК, содержащее устройство отображения, записи и обработки информации, включающее в себя персональный компьютер и преобразователь форматов видеосигналов, вход которого является видеовходом устройства, а выход подключен к первому порту персонального компьютера, преобразователь стандартов обмена, первый порт ввода-вывода которого является портом ввода-вывода устройства, а второй порт ввода-вывода подключен к второму порту ввода-вывода персонального компьютера, формирователь команд управления, вход которого подключен к третьему порту персонального компьютера, а выход является управляющим выходом устройства, формирователь рабочих напряжений, выходы которого являются выходами рабочих напряжений устройства, при этом персональный компьютер снабжен четвертым портом ввода-вывода. 1 ил.

Формула изобретения

Устройство контроля и управления тепловизионными каналами, содержащее устройство отображения, записи и обработки информации, включающее в себя персональный компьютер и преобразователь форматов видеосигналов, вход которого является видеовходом устройства контроля и управления тепловизионными каналами и служит для приема сигнала с видеовыхода контролируемого тепловизионного канала, а выход подключен к первому порту персонального компьютера, отличающееся тем, что в него дополнительно введены преобразователь стандартов обмена, первый порт ввода-вывода которого является портом ввода-вывода устройства контроля и управления тепловизионными каналами и служит для выдачи цифровых сигналов во второй порт ввода-вывода контролируемого тепловизионного канала, а второй порт ввода-вывода подключен к второму порту ввода-вывода персонального компьютера, формирователь команд управления, вход которого подключен к третьему порту персонального компьютера, а выход является управляющим выходом устройства контроля и управления тепловизионными каналами и служит для подачи силовых команд управления на третий вход контролируемого тепловизионного канала, формирователь рабочих напряжений, выходы которого являются выходами рабочих напряжений устройства контроля и управления тепловизионными каналами, служит для подачи данных напряжений на четвертый вход контролируемого тепловизионного канала, при этом персональный компьютер снабжен четвертым портом ввода-вывода для возможности подключения к управляющему входу инфракрасного коллиматорного комплекса.

Описание

[1]

Изобретение относится к электронному приборостроению и предназначено для контроля и управления тепловизионными каналами (ТВК).

[2]

Известно устройство контроля (регистрации) выходных параметров ТВК (Бугаенко А.Г., Иванов В.П., Омелаев А.И., Тевяшов В.И., Филиппов В.Л. Физические основы и техника измерений в тепловидении. Казань, Отечество, 2003 г., стр. 190, 193), выполненное на осциллографе и обеспечивающее визуализацию выходного сигнала ТВК.

[3]

Недостаток этого устройства заключается в том, что оно не обеспечивает запись и хранение поступающей на него информации, что затрудняет ее дальнейшую обработку и оценку.

[4]

Наиболее близким к предлагаемому изобретению по наибольшему количеству совпадающих признаков является устройство контроля ТВК (выходной регистрирующий блок) (В.В. Тарасов, Ю.Г. Якушенков. Инфракрасные системы "смотрящего" типа. М.: Логос, 2004 г., стр. 292), содержащее устройство отображения, записи и обработки информации, состоящее, как правило, из персонального компьютера и преобразователя форматов видеосигналов, вход которого является видеовходом устройства контроля ТВК, а выход подключен к порту персонального компьютера.

[5]

Подобное устройство контроля ТВК обеспечивает визуализацию выходного сигнала контролируемого ТВК, его запись и обработку.

[6]

К основным недостаткам данного устройства контроля относятся:

[7]

- невозможность автономной работы этого устройства с ТВК, не имеющими органов ручного управления (работающими по сигналам с объекта установки, например по сигналам системы управления огнем танка или боевой машины пехоты) и требующими для работы подачи на них ряда внешних рабочих напряжений;

[8]

- невозможность автоматизации измерений характеристик ТВК (при совместной работе с инфракрасными коллиматорными комплексами), позволяющей повысить точность измерений за счет автоматического выбора оптимального режима работы ТВК и исключения ошибок оператора.

[9]

Целью предлагаемого изобретения является расширение функциональных возможностей устройства за счет обеспечения проверки работоспособности ТВК, не имеющих органов ручного управления, и автоматизации измерения основных качественных характеристик ТВК, при повышении точности результатов измерений.

[10]

Указанная цель достигается тем, что в устройство контроля и управления тепловизионными каналами, содержащее устройство отображения, записи и обработки информации, включающее в себя персональный компьютер и преобразователь форматов видеосигналов, вход которого является видеовходом устройства контроля и управления тепловизионными каналами и служит для приема сигнала с видеовыхода контролируемого тепловизионного канала, а выход подключен к первому порту персонального компьютера, дополнительно введены преобразователь стандартов обмена, первый порт ввода-вывода которого является портом ввода-вывода устройства контроля и управления тепловизионными каналами и служит для выдачи цифровых сигналов во второй порт ввода-вывода контролируемого тепловизионного канала, а второй порт ввода-вывода подключен к второму порту ввода-вывода персонального компьютера, формирователь команд управления, вход которого подключен к третьему порту персонального компьютера, а выход является управляющим выходом устройства контроля и управления тепловизионными каналами и служит для подачи силовых команд управления на третий вход контролируемого тепловизионного канала, формирователь рабочих напряжений, выходы которого являются выходами рабочих напряжений устройства контроля и управления тепловизионными каналами, служит для подачи данных напряжений на четвертый вход контролируемого тепловизионного канала, при этом персональный компьютер снабжен четвертым портом ввода-вывода для возможности подключения к управляющему входу инфракрасного коллиматорного комплекса.

[11]

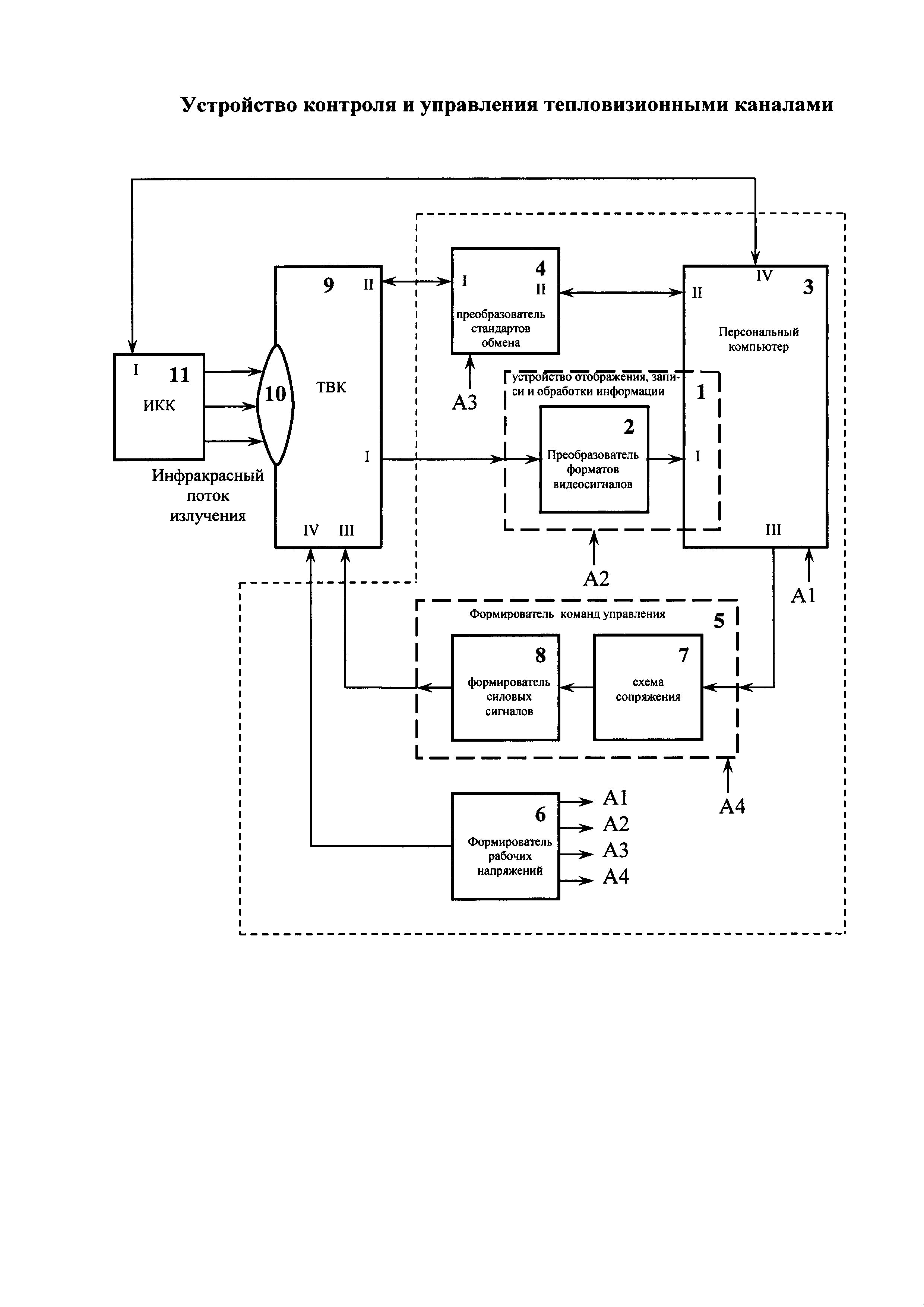
На чертеже представлена функциональная схема устройства контроля и управления тепловизионными каналами.

[12]

Устройство контроля и управления тепловизионными каналами содержит устройство 1 отображения, записи и обработки информации, включающее в себя преобразователь 2 форматов видеосигналов, например преобразователь видеосигнала аналогового формата или цифрового формата CAMERA LINK в цифровой видеосигнал формата, воспринимаемого видеосистемой (не показана) персонального компьютера 3. Вход преобразователя 2 форматов видеосигналов является видеовходом устройства контроля и управления тепловизионными каналами, а выход подключен к порту I персонального компьютера 3, в качестве которого может быть использован, например, промышленный ноутбук типа РАМЭК-113, Корвет и др., с повышенной защитой от внешних воздействий. В преобразователе 4 стандартов обмена порт I ввода-вывода является портом ввода-вывода устройства контроля и управления тепловизионными каналами, а порт II ввода-вывода подключен к порту II ввода-вывода персонального компьютера 3. Преобразователь 4 стандартов обмена может, например, выполнять такие типы преобразований стандартов, как RS232C - RS422, CAN - USB и т.д. Вход формирователя 5 команд управления подключен к порту III персонального компьютера 3, а выход является управляющим выходом устройства контроля и управления тепловизионными каналами. Выходы формирователя 6 рабочих напряжений являются выходами рабочих напряжений устройства контроля и управления тепловизионными каналами. Персональный компьютер 3 снабжен IV портом ввода-вывода для подключения внешних устройств.

[13]

Формирователь 5 команд управления может содержать, например, последовательно соединенные схему 7 сопряжения, вход которой является входом формирователя 5 команд управления, и формирователь 8 силовых сигналов, выход которого является выходом формирователя 5 команд управления.

[14]

На чертеже показан также контролируемый ТВК 9 с входящим в его состав объективом 10 и инфракрасный коллиматорный комплекс (ИКК) 11.

[15]

Работает устройство контроля и управления тепловизионными каналами следующим образом.

[16]

После включения формирователя 6 рабочих напряжений, выполненного, например, на импульсных преобразователях AC-DC и DC-DC типа TOL300-24, TEN5-4811WI, соответствующие напряжения подаются на вход IV ТВК 9 и на все составные части устройства контроля и управления тепловизионными каналами (напряжения питания - на чертеже - связи A1, А2, A3, А4). После включения персонального компьютера 3 на его экране появляется изображение пульта управления, с помощью которого оператор задает требуемые команды, которые в цифровом виде выдаются через порт III персонального компьютера 3 на формирователь 5 команд управления, в котором эти команды принимаются и обрабатываются схемой 7 сопряжения, выполненной, например, на контроллере типа MSC1211Y5, преобразуются в силовые сигналы формирователем 8 силовых сигналов, в состав которого могут входить, например, твердотельные реле типа РВВ150 и LAA110P, мостовые драйверы типа TLE5205-2G, и затем с его выхода эти силовые сигналы подаются на вход III ТВК 9 и обеспечивают работу ТВК 9 (включение ТВК 9, открывание защитной крышки (не показана) объектива 10 ТВК 9, включение подогрева элементов ТВК 9 при низких температурах окружающей среды и т.д.).

[17]

После включения ТВК 9 и открывания защитной крышки объектива 10 сигнал с видеовыхода I ТВК 9 поступает в устройство 1 отображения, записи и обработки информации, а именно на вход преобразователя 2 форматов видеосигналов и с его выхода в порт I персонального компьютера 3. На определенном участке экрана, не занятого изображением пульта, формируется изображение, выдаваемое ТВК 9. Настройки ТВК 9 при его включении устанавливаются усредненные. Для улучшения качества изображения необходима адаптация параметров ТВК 9 к текущим условиям. Для этого оператор с помощью пульта на экране персонального компьютера 3 проводит калибровку, установку по изображению на экране персонального компьютера 3 оптимальных с его точки зрения значений яркости, контраста, осуществляет подфокусировку и т.д. Соответствующие цифровые сигналы для выполнения этих операций передаются из порта II ввода-вывода персонального компьютера 3 через преобразователь 4 стандартов обмена в порт II ввода-вывода ТВК 9.

[18]

При работе устройства контроля и управления тепловизионными каналами с ТВК 9, когда на оптический вход ТВК 9 поступает произвольный оптический сигнал (излучение от случайных окружающих объектов), осуществляется проверка функционирования ТВК 9, что является достаточным при проверках в процессе хранения и ремонта.

[19]

Устройство контроля и управления тепловизионными каналами может быть использовано и при измерении основных качественных характеристик ТВК 9, таких как минимально разрешаемая разность температур и температурно-частотная характеристика при совместной работе с инфракрасным коллиматорным комплексом 11. Для этого на оптический вход ТВК 9 подается с оптического выхода инфракрасного коллиматорного комплекса 11 нормированный инфракрасный контрастный коллимированный поток излучения.

[20]

Работа устройства контроля и управления тепловизионными каналами при использовании инфракрасного коллиматорного комплекса 11 может осуществляться в ручном режиме, когда всем процессом измерения характеристик управляет оператор, и в автоматическом режиме.

[21]

При работе устройства контроля тепловизионными каналами и управления совместно с инфракрасным коллиматорным комплексом в ручном режиме проводится стандартная процедура измерения характеристик ТВК 9 (Дж. Ллойд. Системы тепловидения. М., Мир, 1978 г., стр. 393).

[22]

При работе устройства контроля и управления тепловизионными каналами в автоматическом режиме устанавливается связь между портом IV ввода-вывода персонального компьютера 3 и портом I инфракрасного коллиматорного комплекса 11. После включения устройства контроля и управления тепловизионными каналами и инфракрасного коллиматорного комплекса 11 и задания устройству контроля и управления тепловизионными каналами режима измерения характеристик ТВК 9 оно автоматически выдает команду в инфракрасный коллиматорный комплекс 11 на установку одной из мир и одного из ряда поочередно устанавливаемых значений разности радиационных температур. Распознавание этой миры осуществляется устройством контроля и управления тепловизионными каналами автоматически в соответствии с введенными в персональный компьютер 3 устройства контроля и управления тепловизионными каналами значениями разности радиационных температур при всех возможных поочередно устанавливаемых устройством контроля и управления тепловизионными каналами вариантах режима работы ТВК 9. По окончании процедуры выбирается лучший результат, т.е. выбирается минимальное из всех значений разностей температур значение, при котором мира распознается. Затем автоматически поочередно устанавливаются все остальные миры инфракрасного коллиматорного комплекса 11, и операция распознавания повторяется. После перебора всех мир устройство контроля и управления тепловизионными каналами автоматически рассчитывает, выдает и запоминает основные характеристики ТВК 9.

[23]

Таким образом, выполнение устройства контроля и управления тепловизионными каналами в соответствии с заявляемыми признаками позволяет расширить его функциональные возможности за счет:

[24]

- автономной проверки функционирования тепловизионных каналов, не имеющих органов управления, без установки на носитель;

[25]

- автоматизации выбора оптимального режима работы тепловизионного канала и исключения ошибок оператора. При этом обеспечивается повышение точности измерения основных характеристик тепловизионных каналов.

Как компенсировать расходы
на инновационную разработку
Похожие патенты