патент
№ RU 2518500
МПК B60R13/10

РАМКА ДЛЯ КРЕПЛЕНИЯ НОМЕРНОГО ЗНАКА ТРАНСПОРТНОГО СРЕДСТВА (ВАРИАНТЫ)

Авторы:
Гвоздев Виктор Павлович
Номер заявки
2013111036/11
Дата подачи заявки
13.03.2013
Опубликовано
10.06.2014
Страна
RU
Как управлять
интеллектуальной собственностью
Реферат

Группа изобретений относится к транспортному машиностроению. Рамка содержит изготовленный из полимерного материала корпус прямоугольной в плане формы со скругленными углами и с углублением для расположения номерного знака в виде пластины смежно обратной стороной донной части (3) углубления с расположением выступающих участков корпуса по периметру вокруг номерного знака в виде окантовки. В донной части (3) углубления выполнены элементы с отверстиями для крепления номерного знака к корпусу с использованием вворачиваемых крепежных элементов. Отверстия для крепления корпуса к транспортному средству расположены зеркально-симметрично относительно поперечной прямой в средней части корпуса. По периметру каждого отверстия для крепления корпуса к транспортному средству с обеих сторон донной части углубления выполнены замкнутые буртики (9). В первом варианте отверстия для крепления корпуса к транспортному средству выполнены круглой и вытянутой по прямой в плоскости донной части (3) углубления формы. Во втором варианте отверстия выполнены вытянутой по прямой в плоскости донной части (3) углубления формы. В третьем варианте выполнены двух типов: вытянутой по прямой в плоскости донной части (3) углубления формы и вытянутой по сторонам прямого угла в плоскости донной части (3) углубления формы. Обеспечивается повышение надежности крепления рамки. 3 н. и 27 з.п. ф-лы, 30 ил.

Формула изобретения

1. Рамка для крепления номерного знака транспортного средства, содержащая
изготовленный из полимерного материала корпус прямоугольной в плане формы со скругленными углами и с углублением для расположения номерного знака в виде пластины смежно обратной стороной донной части углубления с расположением выступающих участков корпуса по периметру вокруг номерного знака в виде окантовки,
в донной части углубления выполнены элементы с отверстиями для крепления номерного знака к корпусу с использованием вворачиваемых крепежных элементов,
отверстия для крепления корпуса к транспортному средству, расположенные зеркальносимметрично относительно поперечной прямой в средней части корпуса,
при этом отверстия для крепления корпуса к транспортному средству выполнены круглой и вытянутой по прямой в плоскости донной части углубления формы,
а по периметру каждого отверстия для крепления корпуса к транспортному средству с обеих сторон донной части углубления выполнены замкнутые буртики.

2. Рамка по п.1, отличающаяся тем, что буртики отверстий для крепления корпуса к транспортному средству, расположенные относительно друг друга на расстояниях между смежными участками боковых поверхностей, не превышающих двух толщин буртиков у их основания, выполнены пересекающимися с образованием участков буртиков, общих для обоих из этих отверстий для крепления корпуса к транспортному средству.

3. Рамка по п.2, отличающаяся тем, что буртики, по меньшей мере, с одной из сторон донной части выполнены в поперечном сечении скругленными.

4. Рамка по п.3, отличающаяся тем, что корпус в плане выполнен с длиной, кратно превышающей по величине ширину, а отверстия вытянутой по прямой в плоскости донной части углубления формы расположены параллельно, перпендикулярно и под углом к боковым сторонам корпуса.

5. Рамка по п.4, отличающаяся тем, что на обращенных навстречу друг другу внутренних боковых поверхностях углубления корпуса выполнены дополнительные элементы для крепления номерного знака,
причем на одной боковой поверхности углубления дополнительные элементы для крепления номерного знака выполнены каждый в виде отходящего от наружного края боковой поверхности под прямым углом к ней прямого выступа,
а на другой боковой поверхности углубления дополнительные элементы для крепления номерного знака выполнены каждый в виде отходящего от наружного края боковой поверхности под острым углом к ней наклонного прямого выступа, ориентированного в направлении донной части углубления,
либо в виде расположенного на боковой поверхности смежно ее наружному краю выступа с поперечным сечением в форме с вписанным прямоугольным треугольником с наклонной поверхностью, отходящей от наружного края боковой поверхности под острым углом к ней в направлении донной части углубления.

6. Рамка по п.5, отличающаяся тем, что с одной из продольных сторон корпуса выполнен расширенный от боковой поверхности углубления участок,
в котором выполнен продольно корпусу со стороны углубления для расположения номерного знака паз с закрепленной в нем планкой из полимерного материала для размещения текстовой и/или графической информации,
в пазу на его поперечных боковых поверхностях выполнены отверстия, а планка выполнена на поперечных боковых поверхностях с выступами, входящими в эти отверстия,
на продольных боковых поверхностях паза выполнены фиксирующие углубления, имеющие по направлению из паза упорные плоские поверхности, параллельные донной части углубления для расположения номерного знака,
а планка выполнена на продольных боковых поверхностях с выступами, входящими в эти фиксирующие углубления,
причем в поперечном сечении выступы на продольных боковых поверхностях планки имеют каждый в поперечном сечении форму острого угла,
одна часть которого параллельна наружной поверхности планки и образует поверхность сопряжения с упорной плоской поверхностью соответствующего фиксирующего углубления,
а вторая - направлена к стороне планки, противоположной ее наружной поверхности.

7. Рамка по п.6, отличающаяся тем, что вторая часть острого угла формы поперечного сечения каждого выступа на продольной боковой поверхности планки имеет выступающую форму дуги.

8. Рамка по п.7, отличающаяся тем, что внутренние боковые поверхности углубления выполнены ступенчатыми, образующими выступающими по периметру участками опорные поверхности для сопряжения с обратной поверхностью закрепляемого на корпусе номерного знака,
а каждый элемент с отверстием для крепления номерного знака к корпусу выполнен в виде прилива на донной части углубления, высота которого не превышает высоту расположения участков опорных поверхностей внутренних боковых поверхностей углубления,
причем с обратной стороны донной части углубления в каждом приливе отверстие выполнено с расширением, имеющим в поперечном сечении шестигранную форму для установки в него с натягом вкладной втулки с ответной наружной поверхностью, выполненной с возможностью вворачивания в нее крепежного элемента для крепления номерного знака к корпусу.

9. Рамка по п.8, отличающаяся тем, что с обратной стороны донная часть углубления выполнена выступающей на корпусе и по ее краю по периметру выполнен замкнутый буртик, тождественный в поперечном сечении по форме, ее ориентации и размерам буртикам вокруг отверстий для крепления корпуса к транспортному средству,
кроме того, с обратной стороны донная часть углубления пересечена ребрами жесткости в виде выступов, которые также тождественны в поперечном сечении по форме, ориентации и размерам буртикам вокруг отверстий для крепления корпуса к транспортному средству.

10. Рамка по п.9, отличающаяся тем, что донная часть углубления с внутренней стороны выполнена с пересекающими ее ребрами жесткости, высота которых не превышает высоту расположения участков опорных поверхностей внутренних боковых поверхностей углубления.

11. Рамка по п.10, отличающаяся тем, что корпус изготовлен из полипропилена, а планка - из акрилонитрилбутадиенстирола.

12. Рамка для крепления номерного знака транспортного средства, содержащая
изготовленный из полимерного материала корпус прямоугольной в плане формы со скругленными углами и с углублением для расположения номерного знака в виде пластины смежно обратной стороной донной части углубления с расположением выступающих участков корпуса по периметру вокруг номерного знака в виде окантовки,
в донной части углубления для расположения номерного знака выполнены элементы с отверстиями для крепления номерного знака к корпусу с использованием вворачиваемых крепежных элементов,
отверстия для крепления корпуса к транспортному средству, расположенные зеркальносимметрично относительно поперечной прямой в средней части корпуса,
при этом отверстия для крепления корпуса к транспортному средству выполнены вытянутой по прямой в плоскости донной части углубления формы,
а по периметру каждого отверстия для крепления корпуса к транспортному средству с обеих сторон донной части углубления выполнены замкнутые буртики.

13. Рамка по п.12, отличающаяся тем, что буртики, по меньшей мере, с одной из сторон донной части выполнены в поперечном сечении скругленными.

14. Рамка по п.13, отличающаяся тем, что корпус в плане выполнен с длиной, не превышающей по величине значения двойной ширины,
а отверстия для крепления корпуса к транспортному средству расположены, по меньшей мере, двумя расположенными вдоль коротких противоположных боковых сторон корпуса группами расположенных параллельно и ориентированных под углом к боковым сторонам корпуса отверстий для крепления корпуса к транспортному средству,
группой расположенных последовательно и ориентированных вдоль прямой отверстий для крепления корпуса к транспортному средству, лежащей геометрически по середине рамки параллельно коротким боковым сторонам корпуса,
а также параллельными между собой и длинным боковым сторонам корпуса рядами отверстий для крепления корпуса к транспортному средству, расположенных в каждом ряду последовательно и ориентированных вдоль прямой, причем отверстия в смежных рядах смещены относительно друг друга в продольном рядам направлении.

15. Рамка по п.14, отличающаяся тем, что на обращенных навстречу друг другу внутренних боковых поверхностях углубления для расположения номерного знака выполнены дополнительные элементы для крепления номерного знака,
причем на одной боковой поверхности углубления для расположения номерного знака дополнительные элементы для крепления номерного знака выполнены каждый в виде отходящего от наружного края боковой поверхности под прямым углом к ней прямого выступа,
а на другой боковой поверхности углубления для расположения номерного знака дополнительные элементы для крепления номерного знака выполнены каждый в виде отходящего от наружного края боковой поверхности под острым углом к ней наклонного прямого выступа, ориентированного в направлении донной части углубления,
либо в виде расположенного на боковой поверхности смежно ее наружному краю выступа с поперечным сечением в форме с вписанным прямоугольным треугольником с наклонной поверхностью, отходящей от наружного края боковой поверхности под острым углом к ней в направлении донной части углубления.

16. Рамка по п.15, отличающаяся тем, что с одной из продольных сторон корпуса выполнен расширенный от боковой поверхности углубления участок,
в котором выполнен продольно корпусу со стороны углубления для расположения номерного знака паз с закрепленной в нем планкой из полимерного материала для размещения текстовой и/или графической информации,
в пазу на его поперечных боковых поверхностях выполнены отверстия, а планка выполнена на поперечных боковых поверхностях с выступами, входящими в эти отверстия,
на продольных боковых поверхностях паза выполнены фиксирующие углубления, имеющие по направлению из паза упорные плоские поверхности, параллельные донной части углубления для расположения номерного знака,
а планка выполнена на продольных боковых поверхностях с выступами, входящими в эти фиксирующие углубления, причем в поперечном сечении выступы на продольных боковых поверхностях планки имеют каждый в поперечном сечении форму острого угла,
одна часть которого параллельна наружной поверхности планки и образует поверхность сопряжения с упорной плоской поверхностью соответствующего фиксирующего углубления,
а вторая - направлена к стороне планки, противоположной ее наружной поверхности.

17. Рамка по п.16, отличающаяся тем, что вторая часть острого угла формы поперечного сечения каждого выступа на продольной боковой поверхности планки имеет выступающую форму дуги.

18. Рамка по п.17, отличающаяся тем, что внутренние боковые поверхности углубления выполнены ступенчатыми, образующими выступающими по периметру участками опорные поверхности для сопряжения с обратной поверхностью закрепляемого на корпусе номерного знака,
а каждый элемент с отверстием для крепления номерного знака к корпусу выполнен в виде прилива на донной части углубления, высота которого не превышает высоту расположения участков опорных поверхностей внутренних боковых поверхностей углубления,
причем с обратной стороны донной части углубления в каждом приливе отверстие выполнено с расширением, имеющим в поперечном сечении шестигранную форму для установки в него с натягом вкладной втулки с ответной наружной поверхностью, выполненной с возможностью вворачивания в нее крепежного элемента для крепления номерного знака к корпусу.

19. Рамка по п.18, отличающаяся тем, что донная часть углубления с внутренней стороны выполнена с пересекающими ее ребрами жесткости, высота которых не превышает высоту расположения участков опорных поверхностей внутренних боковых поверхностей углубления.

20. Рамка по п.19, отличающаяся тем, что корпус изготовлен из полипропилена, а планка - из акрилонитрилбутадиенстирола.

21. Рамка для крепления номерного знака транспортного средства, содержащая
изготовленный из полимерного материала корпус прямоугольной в плане формы со скругленными углами и с углублением для расположения номерного знака в виде пластины смежно обратной стороной донной части углубления с расположением выступающих участков корпуса по периметру вокруг номерного знака в виде окантовки,
в донной части углубления для расположения номерного знака выполнены элементы с отверстиями для крепления номерного знака к корпусу с использованием вворачиваемых крепежных элементов,
отверстия для крепления корпуса к транспортному средству, расположенные зеркальносимметрично относительно поперечной прямой в средней части корпуса,
при этом отверстия для крепления корпуса к транспортному средству выполнены двух типов,
в первом - вытянутой по прямой в плоскости донной части углубления формы,
а во втором - вытянутой по сторонам прямого угла в плоскости донной части углубления формы,
причем по периметру каждого отверстия для крепления корпуса к транспортному средству с обеих сторон донной части углубления выполнены замкнутые буртики.

22. Рамка по п.21, отличающаяся тем, что буртики, по меньшей мере, с одной из сторон донной части выполнены в поперечном сечении скругленными.

23. Рамка по п.22, отличающаяся тем, что корпус в плане выполнен с длиной, не превышающей по величине значения двойной ширины,
а отверстия для крепления корпуса к транспортному средству расположены
первой группой отверстий для крепления корпуса к транспортному средству, расположенных последовательно и ориентированных вдоль образующих геометрически крест прямых,
четырьмя расположенными между лучами указанного геометрического креста вторыми группами, в каждой из которых отверстия для крепления корпуса к транспортному средству расположены параллельными между собой и длинным боковым сторонам корпуса рядами, в каждом ряду последовательно и с ориентацией вдоль прямой, причем отверстия в смежных рядах смещены относительно друг друга в продольном рядам направлении,
двумя третьими группами отверстий для крепления корпуса к транспортному средству, расположенных со стороны части корпуса, смежной одной его длинной боковой стороне, каждая из которых образована идущими от средней части корпуса вдоль длинной стороны отверстием второго типа, затем отверстиями первого типа, затем снова отверстием второго типа, которое располагается геометрически внутри угла корпуса, а далее отверстиями первого типа вдоль короткой стороны корпуса,
и двумя четвертыми группами из пары отверстий второго типа, расположенных со стороны части корпуса, смежной его второй длинной боковой стороне, в каждой группе из которых отверстия располагаются смежно коротким сторонам корпуса с расположением со стороны внутри их углов одной из вторых групп.

24. Рамка по п.23, отличающаяся тем, что на обращенных навстречу друг другу внутренних боковых поверхностях углубления для расположения номерного знака выполнены дополнительные элементы для крепления номерного знака,
причем на одной боковой поверхности углубления для расположения номерного знака дополнительные элементы для крепления номерного знака выполнены каждый в виде отходящего от наружного края боковой поверхности под прямым углом к ней прямого выступа,
а на другой боковой поверхности углубления для расположения номерного знака дополнительные элементы для крепления номерного знака выполнены каждый
в виде отходящего от наружного края боковой поверхности под острым углом к ней наклонного прямого выступа, ориентированного в направлении донной части углубления,
либо в виде расположенного на боковой поверхности смежно ее наружному краю выступа с поперечным сечением в форме с вписанным прямоугольным треугольником с наклонной поверхностью, отходящей от наружного края боковой поверхности под острым углом к ней в направлении донной части углубления.

25. Рамка по п.24, отличающаяся тем, что с одной из продольных сторон корпуса выполнен расширенный от боковой поверхности углубления участок,
в котором выполнен продольно корпусу со стороны углубления для расположения номерного знака паз с закрепленной в нем планкой из полимерного материала для размещения текстовой и/или графической информации,
в пазу на его поперечных боковых поверхностях выполнены отверстия, а планка выполнена на поперечных боковых поверхностях с выступами, входящими в эти отверстия,
на продольных боковых поверхностях паза выполнены фиксирующие углубления, имеющие по направлению из паза упорные плоские поверхности, параллельные донной части углубления для расположения номерного знака,
а планка выполнена на продольных боковых поверхностях с выступами, входящими в эти фиксирующие углубления, причем в поперечном сечении выступы на продольных боковых поверхностях планки имеют каждый в поперечном сечении форму острого угла,
одна часть которого параллельна наружной поверхности планки и образует поверхность сопряжения с упорной плоской поверхностью соответствующего фиксирующего углубления,
а вторая - направлена к стороне планки, противоположной ее наружной поверхности.

26. Рамка по п.25, отличающаяся тем, что вторая часть острого угла формы поперечного сечения каждого выступа на продольной боковой поверхности планки имеет выступающую форму дуги.

27. Рамка по п.26, отличающаяся тем, что внутренние боковые поверхности углубления выполнены ступенчатыми, образующими выступающими по периметру участками опорные поверхности для сопряжения с обратной поверхностью закрепляемого на корпусе номерного знака,
а каждый элемент с отверстием для крепления номерного знака к корпусу выполнен в виде прилива на донной части углубления, высота которого не превышает высоту расположения участков опорных поверхностей внутренних боковых поверхностей углубления,
причем с обратной стороны донной части углубления в каждом приливе отверстие выполнено с расширением, имеющим в поперечном сечении шестигранную форму для установки в него с натягом вкладной втулки с ответной наружной поверхностью, выполненной с возможностью вворачивания в нее крепежного элемента для крепления номерного знака к корпусу.

28. Рамка по п.27, отличающаяся тем, что с обратной стороны донная часть углубления выполнена выступающей на корпусе и по ее краю по периметру выполнен замкнутый буртик, тождественный в поперечном сечении по форме, ориентации и размерам буртикам вокруг отверстий для крепления корпуса к транспортному средству,
кроме того, с обратной стороны донная часть углубления пересечена сплошными и прерывистыми ребрами жесткости в виде выступов, которые также тождественны в поперечном сечении по форме, ориентации и размерам буртикам вокруг отверстий для крепления корпуса к транспортному средству.

29. Рамка по п.28, отличающаяся тем, что донная часть углубления с внутренней стороны выполнена с ребрами жесткости, высота которых не превышает высоту расположения участков опорных поверхностей внутренних боковых поверхностей углубления.

30. Рамка по п.29, отличающаяся тем, что корпус изготовлен из полипропилена, а планка - из акрилонитрилбутадиенстирола.

Описание

[1]

Область использования

[2]

Изобретение относится к транспортному машиностроению, а конкретно к рамке для крепления номерного знака транспортного средства. Рамка позволяет закреплять номерные знаки на транспортных средствах российского или какого-либо зарубежного производителя, когда может предусматриваться различное расположение элементов крепления номерных знаков на кузовах, бамперах, иных элементах транспортных средств, часто не соответствующее расположению отверстий крепления на номерных знаках, принятых на территории РФ. Рамка может быть использована для крепления номерных знаков на автомобилях, мотоциклах, снегоходах, квадроциклах, тракторах и на иных транспортных средствах как пассажирского, так и специального назначения.

[3]

Уровень техники

[4]

Известна рамка для крепления номерного знака на кузове транспортного средства, содержащая изготовленный из полимерного материала корпус прямоугольной в плане формы со скругленными углами и с углублением для расположения номерного знака в виде пластины смежно обратной стороной донной части углубления корпуса с расположением выступающих участков корпуса по периметру вокруг номерного знака в виде окантовки (RU 53240 U1, МПК B60R 13/10, 2006).

[5]

В донной части углубления корпуса выполнены элементы с отверстиями для крепления номерного знака к корпусу с использованием вворачиваемых крепежных элементов. Кроме того, в донной части углубления корпуса выполнены отверстия для крепления корпуса к транспортному средству, расположенные зеркально-симметрично относительно поперечной прямой в средней части корпуса. Эти отверстия имеют продолговатую, Т-образную или Г-образную форму.

[6]

Внутренние боковые поверхности углубления выполнены ступенчатыми, образующими выступающими по периметру участками опорные поверхности для сопряжения с обратной поверхностью закрепляемого на корпусе номерного знака. Донная часть углубления выполнена с ребрами жесткости, высота которых не превышает высоту расположения участков опорных поверхностей внутренних боковых поверхностей углубления, а каждый элемент с отверстием для крепления номерного знака к корпусу выполнен в виде прилива на донной части углубления, высота которого также не превышает высоту расположения участков опорных поверхностей внутренних боковых поверхностей углубления. С обратной стороны донной части углубления в каждом приливе отверстие выполнено с расширением, имеющим в поперечном сечении шестигранную форму для установки в него с натягом вкладной втулки с ответной наружной поверхностью, выполненной с возможностью вворачивания в нее крепежного элемента для крепления номерного знака к корпусу.

[7]

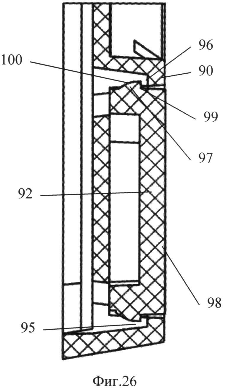
С одной из продольных сторон корпуса выполнен расширенный от боковой поверхности углубления участок, в котором выполнен продольно корпусу паз с установленной в нем планкой. В пазу на его поперечных боковых поверхностях выполнены отверстия, а планка выполнена на поперечных боковых поверхностях с выступами, входящими в эти отверстия. На продольных боковых поверхностях паза выполнена пара расположенных с противоположных сторон выемок, образующих защелки с парой соответствующих им выступов на продольных боковых поверхностях планки, располагающейся в пазу. Планка крепится за счет расположения ее выступов в отверстиях на поперечных боковых поверхностях паза и за счет упомянутых защелок. Благодаря такому креплению планка может легко многократно извлекаться из паза и вставляться в паз. Из-за этого планка не достаточно жестко фиксируется в пазу, она может самопроизвольно выпадать под действием вибрации транспортного средства, иных динамических нагрузок, обусловленных маневрами транспортного средства, легко осуществляются вандальные действия, связанные с извлечением и хищением планки, которая устанавливается один раз при изготовлении рамки для крепления номерного знака транспортного средства и ее замена не требуется.

[8]

При креплении корпуса рамки на кузове транспортного средства используются резьбовые крепежные элементы в виде винтов или болтов, которые пропускаются через совпадающие с резьбовыми отверстиями в кузове или в ином элементе транспортного средства продолговатые, Т-образные или Г-образные отверстия в донной части корпуса рамки. Параллельные стороны отверстий такой формы при закручивании пропущенного через них винта из-за выполнения корпуса рамки из полимерного термопластичного материала, который достаточно легко деформируется, расходятся в противоположные стороны, что приводит к проскакиванию головки винта через отверстие донной части корпуса рамки. Такое проскакивание головки винта может происходить уже после закрепления рамки, в случае какого-либо механического воздействия на рамку. Это может привести к потере номерного знака, его намеренному хищению.

[9]

Сущность изобретения

[10]

Технический результат настоящего изобретения заключается в расширении арсенала изготовленных из полимерного материала средств для крепления номерных знаков в виде рамок, конструкция которых препятствует проскакиванию головок крепежных элементов в виде болтов или винтов, которыми рамка закрепляется на транспортном средстве, через отверстия в рамке, благодаря чему повышается надежность крепления рамки на транспортном средстве.

[11]

Этот технический результат в первом варианте изобретения достигается рамкой для крепления номерного знака транспортного средства, которая содержит изготовленный из полимерного материала корпус прямоугольной в плане формы со скругленными углами и с углублением для расположения номерного знака в виде пластины смежно обратной стороной донной части углубления с расположением выступающих участков корпуса по периметру вокруг номерного знака в виде окантовки.

[12]

В донной части углубления выполнены элементы с отверстиями для крепления номерного знака к корпусу с использованием вворачиваемых крепежных элементов, а также отверстия для крепления корпуса к транспортному средству, расположенные зеркально-симметрично относительно поперечной прямой в средней части корпуса.

[13]

Отверстия для крепления корпуса к транспортному средству выполнены, круглой и вытянутой по прямой в плоскости донной части углубления формы.

[14]

По периметру каждого отверстия для крепления корпуса к транспортному средству с обеих сторон донной части углубления выполнены замкнутые буртики.

[15]

В наилучшем варианте осуществления изобретения буртики отверстий для крепления корпуса к транспортному средству, расположенных относительно друг друга на расстояниях между смежными участками боковых поверхностей, не превышающими двух толщин буртиков у их основания, выполнены пересекающимися с образованием участков буртиков, общих для обоих из этих отверстий для крепления корпуса к транспортному средству.

[16]

Буртики, по меньшей мере, с одной из сторон донной части могут быть выполнены в поперечном сечении скругленными.

[17]

Корпус в плане может быть выполнен с длиной, кратно превышающей по величине ширину, а отверстия вытянутой по прямой в плоскости донной части углубления формы расположены параллельно, перпендикулярно и под углом к боковым сторонам корпуса.

[18]

На обращенных навстречу друг другу внутренних боковых поверхностях углубления корпуса могут быть выполнены дополнительные элементы для крепления номерного знака, причем на одной боковой поверхности углубления дополнительные элементы для крепления номерного знака выполнены каждый в виде отходящего от наружного края боковой поверхности под прямым углом к ней прямого выступа, а на другой боковой поверхности углубления дополнительные элементы для крепления номерного знака выполнены каждый в виде отходящего от наружного края боковой поверхности под острым углом к ней наклонного прямого выступа, ориентированного в направлении донной части углубления, либо в виде расположенного на боковой поверхности смежно ее наружному краю выступа с поперечным сечением в форме с вписанным прямоугольным треугольником с наклонной поверхностью, отходящей от наружного края боковой поверхности под острым углом к ней в направлении донной части углубления.

[19]

С одной из продольных сторон корпуса может быть выполнен расширенный от боковой поверхности углубления участок, в котором выполнен продольно корпусу со стороны углубления для расположения номерного знака паз с закрепленной в нем планкой из полимерного материала для размещения текстовой и/или графической информации. В пазу на его поперечных боковых поверхностях в этом случае могут быть выполнены отверстия, а планка на поперечных боковых поверхностях - с выступами, входящими в эти отверстия. На продольных боковых поверхностях паза в предпочтительном варианте выполнены фиксирующие углубления, имеющие по направлению из паза упорные плоские поверхности, параллельные донной части углубления для расположения номерного знака, а планка выполнена на продольных боковых поверхностях с выступами, входящими в эти фиксирующие углубления, причем в поперечном сечении выступы на продольных боковых поверхностях планки имеют каждый в поперечном сечении форму острого угла, одна часть которого параллельна наружной поверхности планки и образует поверхность сопряжения с упорной плоской поверхностью соответствующего фиксирующего углубления, а вторая - направлена к стороне планки, противоположной ее наружной поверхности. При этом вторая часть острого угла формы поперечного сечения каждого выступа на продольной боковой поверхности планки может иметь выступающую форму дуги.

[20]

Внутренние боковые поверхности углубления могут быть выполнены ступенчатыми, образующими выступающими по периметру участками опорные поверхности для сопряжения с обратной поверхностью закрепляемого на корпусе номерного знака, а каждый элемент с отверстием для крепления номерного знака к корпусу выполнен в виде прилива на донной части углубления, высота которого не превышает высоту расположения участков опорных поверхностей внутренних боковых поверхностей углубления, причем с обратной стороны донной части углубления в каждом приливе отверстие выполнено с расширением, имеющим в поперечном сечении шестигранную форму для установки в него с натягом вкладной втулки с ответной наружной поверхностью, выполненной с возможностью вворачивания в нее крепежного элемента для крепления номерного знака к корпусу.

[21]

С обратной стороны донная часть углубления может быть выполнена выступающей на корпусе и по ее краю по периметру может быть выполнен замкнутый буртик, тождественный в поперечном сечении по форме, ее ориентации и размерам буртикам вокруг отверстий для крепления корпуса к транспортному средству. Кроме того, с обратной стороны донная часть углубления пересечена ребрами жесткости в виде выступов, которые также тождественны в поперечном сечении по форме, ориентации и размерам буртикам вокруг отверстий для крепления корпуса к транспортному средству.

[22]

Донная часть углубления с внутренней стороны может быть выполнена с пересекающими ее ребрами жесткости, высота которых не превышает высоту расположения участков опорных поверхностей внутренних боковых поверхностей углубления.

[23]

Корпус в наилучшем варианте осуществления изобретения изготовлен из полипропилена, а планка - из акрилонитрилбутадиенстирола.

[24]

Во втором варианте изобретения рамка для крепления номерного знака транспортного средства содержит изготовленный из полимерного материала корпус прямоугольной в плане формы со скругленными углами и с углублением для расположения номерного знака в виде пластины смежно обратной стороной донной части углубления с расположением выступающих участков корпуса по периметру вокруг номерного знака в виде окантовки.

[25]

В донной части углубления для расположения номерного знака выполнены элементы с отверстиями для крепления номерного знака к корпусу с использованием вворачиваемых крепежных элементов, а также отверстия для крепления корпуса к транспортному средству, расположенные зеркально-симметрично относительно поперечной прямой в средней части корпуса.

[26]

Отверстия для крепления корпуса к транспортному средству выполнены вытянутой по прямой в плоскости донной части углубления формы, а по периметру каждого отверстия для крепления корпуса к транспортному средству с обеих сторон донной части углубления выполнены замкнутые буртики.

[27]

Буртики, по меньшей мере, с одной из сторон донной части могут быть выполнены в поперечном сечении скругленными.

[28]

Корпус в плане может быть выполнен с длиной, не превышающей по величине значения двойной ширины, а отверстия для крепления корпуса к транспортному средству расположены, по меньшей мере, двумя расположенными вдоль коротких противоположных боковых сторон корпуса группами расположенных параллельно и ориентированных под углом к боковым сторонам корпуса отверстий для крепления корпуса к транспортному средству, группой расположенных последовательно и ориентированных вдоль прямой отверстий для крепления корпуса к транспортному средству, лежащей геометрически по середине рамки параллельно коротким боковым сторонам корпуса, а также параллельными между собой и длинным боковым сторонам корпуса рядами отверстий для крепления корпуса к транспортному средству, расположенных в каждом ряду последовательно и ориентированных вдоль прямой, причем отверстия в смежных рядах смещены относительно друг друга в продольном рядам направлении.

[29]

На обращенных навстречу друг другу внутренних боковых поверхностях углубления для расположения номерного знака могут быть выполнены дополнительные элементы для крепления номерного знака, причем на одной боковой поверхности углубления для расположения номерного знака дополнительные элементы для крепления номерного знака выполнены каждый в виде отходящего от наружного края боковой поверхности под прямым углом к ней прямого выступа, а на другой боковой поверхности углубления для расположения номерного знака дополнительные элементы для крепления номерного знака выполнены каждый в виде отходящего от наружного края боковой поверхности под острым углом к ней наклонного прямого выступа, ориентированного в направлении донной части углубления, либо в виде расположенного на боковой поверхности смежно ее наружному краю выступа с поперечным сечением в форме с вписанным прямоугольным треугольником с наклонной поверхностью, отходящей от наружного края боковой поверхности под острым углом к ней в направлении донной части углубления.

[30]

С одной из продольных сторон корпуса может быть выполнен расширенный от боковой поверхности углубления участок, в котором выполнен продольно корпусу со стороны углубления для расположения номерного знака паз с закрепленной в нем планкой из полимерного материала для размещения текстовой и/или графической информации. В пазу на его поперечных боковых поверхностях выполнены отверстия, а планка выполнена на поперечных боковых поверхностях с выступами, входящими в эти отверстия. На продольных боковых поверхностях паза выполнены фиксирующие углубления, имеющие по направлению из паза упорные плоские поверхности, параллельные донной части углубления для расположения номерного знака, а планка выполнена на продольных боковых поверхностях с выступами, входящими в эти фиксирующие углубления, причем в поперечном сечении выступы на продольных боковых поверхностях планки имеют каждый в поперечном сечении форму острого угла, одна часть которого параллельна наружной поверхности планки и образует поверхность сопряжения с упорной плоской поверхностью соответствующего фиксирующего углубления, а вторая - направлена к стороне планки, противоположной ее наружной поверхности. Вторая часть острого угла формы поперечного сечения каждого выступа на продольной боковой поверхности планки может иметь выступающую форму дуги.

[31]

Внутренние боковые поверхности углубления могут быть выполнены ступенчатыми, образующими выступающими по периметру участками опорные поверхности для сопряжения с обратной поверхностью закрепляемого на корпусе номерного знака, а каждый элемент с отверстием для крепления номерного знака к корпусу выполнен в виде прилива на донной части углубления, высота которого не превышает высоту расположения участков опорных поверхностей внутренних боковых поверхностей углубления, причем с обратной стороны донной части углубления в каждом приливе отверстие выполнено с расширением, имеющим в поперечном сечении шестигранную форму для установки в него с натягом вкладной втулки с ответной наружной поверхностью, выполненной с возможностью вворачивания в нее крепежного элемента для крепления номерного знака к корпусу.

[32]

Донная часть углубления с внутренней стороны может быть выполнена с пересекающими ее ребрами жесткости, высота которых не превышает высоту расположения участков опорных поверхностей внутренних боковых поверхностей углубления.

[33]

В наилучшем варианте осуществления изобретения в этом варианте, как и в предшествующем, корпус изготовлен из полипропилена, а планка - из акрилонитрилбутадиенстирола.

[34]

В третьем варианте изобретения рамка для крепления номерного знака транспортного средства также содержит изготовленный из полимерного материала корпус прямоугольной в плане формы со скругленными углами и с углублением для расположения номерного знака в виде пластины смежно обратной стороной донной части углубления с расположением выступающих участков корпуса по периметру вокруг номерного знака в виде окантовки. В донной части углубления для расположения номерного знака выполнены элементы с отверстиями для крепления номерного знака к корпусу с использованием вворачиваемых крепежных элементов, а также отверстия для крепления корпуса к транспортному средству, расположенные зеркально-симметрично относительно поперечной прямой в средней части корпуса.

[35]

Отверстия для крепления корпуса к транспортному средству в этом варианте изобретения выполнены двух типов:

[36]

- в первом - вытянутой по прямой в плоскости донной части углубления

[37]

формы;

[38]

- во втором - вытянутой по сторонам прямого угла в плоскости донной части углубления формы.

[39]

По периметру каждого отверстия для крепления корпуса к транспортному средству с обеих сторон донной части углубления выполнены замкнутые буртики.

[40]

Буртики, по меньшей мере, с одной из сторон донной части могут быть выполнены в поперечном сечении скругленными.

[41]

Корпус в плане может быть выполнен с длиной, не превышающей по величине значения двойной ширины, а отверстия для крепления корпуса к транспортному средству расположены:

[42]

- первой группой отверстий для крепления корпуса к транспортному средству, расположенных последовательно и ориентированных вдоль образующих геометрически крест прямых;

[43]

- четырьмя расположенными между лучами указанного геометрического креста вторыми группами, в каждой из которых отверстия для крепления корпуса к транспортному средству расположены параллельными между собой и длинным боковым сторонам корпуса рядами, в каждом ряду последовательно и с ориентацией вдоль прямой, причем отверстия в смежных рядах смещены относительно друг друга в продольном рядам направлении;

[44]

- двумя третьими группами отверстий для крепления корпуса к транспортному средству, расположенных со стороны части корпуса, смежной одной его длинной боковой стороне, каждая из которых образована идущими от средней части корпуса вдоль длинной стороны отверстием второго типа, затем отверстиями первого типа, затем снова отверстием второго типа, которое располагается геометрически внутри угла корпуса, а далее отверстиями первого типа вдоль короткой стороны корпуса;

[45]

- двумя четвертыми группами из пары отверстий второго типа, расположенных со стороны части корпуса, смежной его второй длинной боковой стороне, в каждой группе из которых отверстия располагаются смежно коротким сторонам корпуса с расположением со стороны внутри их углов одной из вторых групп.

[46]

На обращенных навстречу друг другу внутренних боковых поверхностях углубления для расположения номерного знака могут быть выполнены дополнительные элементы для крепления номерного знака, причем на одной боковой поверхности углубления для расположения номерного знака дополнительные элементы для крепления номерного знака выполнены каждый в виде отходящего от наружного края боковой поверхности под прямым углом к ней прямого выступа, а на другой боковой поверхности углубления для расположения номерного знака дополнительные элементы для крепления номерного знака выполнены каждый в виде отходящего от наружного края боковой поверхности под острым углом к ней наклонного прямого выступа, ориентированного в направлении донной части углубления, либо в виде расположенного на боковой поверхности смежно ее наружному краю выступа с поперечным сечением в форме с вписанным прямоугольным треугольником с наклонной поверхностью, отходящей от наружного края боковой поверхности под острым углом к ней в направлении донной части углубления.

[47]

С одной из продольных сторон корпуса может быть выполнен расширенный от боковой поверхности углубления участок, в котором выполнен продольно корпусу со стороны углубления для расположения номерного знака паз с закрепленной в нем планкой из полимерного материала для размещения текстовой и/или графической информации, в пазу на его поперечных боковых поверхностях выполнены отверстия, а планка выполнена на поперечных боковых поверхностях с выступами, входящими в эти отверстия, на продольных боковых поверхностях паза выполнены фиксирующие углубления, имеющие по направлению из паза упорные плоские поверхности, параллельные донной части углубления для расположения номерного знака, а планка выполнена на продольных боковых поверхностях с выступами, входящими в эти фиксирующие углубления, причем в поперечном сечении выступы на продольных боковых поверхностях планки имеют каждый в поперечном сечении форму острого угла, одна часть которого параллельна наружной поверхности планки и образует поверхность сопряжения с упорной плоской поверхностью соответствующего фиксирующего углубления, а вторая - направлена к стороне планки, противоположной ее наружной поверхности. При этом вторая часть острого угла формы поперечного сечения каждого выступа на продольной боковой поверхности планки может иметь выступающую форму дуги.

[48]

Внутренние боковые поверхности углубления могут быть выполнены ступенчатыми, образующими выступающими по периметру участками опорные поверхности для сопряжения с обратной поверхностью закрепляемого на корпусе номерного знака, а каждый элемент с отверстием для крепления номерного знака к корпусу выполнен в виде прилива на донной части углубления, высота которого не превышает высоту расположения участков опорных поверхностей внутренних боковых поверхностей углубления, причем с обратной стороны донной части углубления в каждом приливе отверстие выполнено с расширением, имеющим в поперечном сечении шестигранную форму для установки в него с натягом вкладной втулки с ответной наружной поверхностью, выполненной с возможностью вворачивания в нее крепежного элемента для крепления номерного знака к корпусу.

[49]

С обратной стороны донная часть углубления может быть выполнена выступающей на корпусе и по ее краю по периметру выполнен замкнутый буртик, тождественный в поперечном сечении по форме, ориентации и размерам буртикам вокруг отверстий для крепления корпуса к транспортному средству. Кроме того, с обратной стороны донная часть углубления может быть пересечена сплошными и прерывистыми ребрами жесткости в виде выступов, которые также тождественны в поперечном сечении по форме, ориентации и размерам буртикам вокруг отверстий для крепления корпуса к транспортному средству. Донная часть углубления с внутренней стороны может быть выполнена с ребрами жесткости, высота которых не превышает высоту расположения участков опорных поверхностей внутренних боковых поверхностей углубления.

[50]

Как и в описанных выше вариантах изобретения, в третьем варианте в наилучшем случае осуществления корпус изготовлен из полипропилена, а планка - из акрилонитрилбутадиенстирола.

[51]

Отличие изобретения от известного технического решения заключается в том, что по периметру каждого отверстия для крепления корпуса к транспортному средству с обеих сторон донной части выполнены замкнутые буртики, благодаря которым обеспечивается достижение технического результата изобретения. Указанные выше частные случаи обеспечивают решение соответствующих частных задач.

[52]

Разница трех вариантов изобретения согласно независимым притязаниям по каждому варианту изобретения заключается в следующем:

[53]

- в первом варианте изобретения отверстия для крепления корпуса к транспортному средству выполнены круглой и вытянутой по прямой в плоскости донной части углубления формы;

[54]

- во втором варианте изобретения отверстия для крепления корпуса к транспортному средству выполнены вытянутой по прямой в плоскости донной части углубления формы;

[55]

- в третьем варианте изобретения отверстия для крепления корпуса к транспортному средству выполнены двух типов: вытянутой по прямой в плоскости донной части углубления формы и вытянутой по сторонам прямого угла в плоскости донной части углубления формы.

[56]

Осуществление изобретения

[57]

Возможность осуществления технического решения подтверждается конкретными примерами выполнения рамки для крепления номерного знака на транспортном средстве, который проиллюстрирован чертежами.

[58]

Первый вариант

[59]

На фиг.1-10 показана рамка для крепления номерного знака легкового автомобиля:

[60]

- на фиг.1 - рамка с отдельно расположенной планкой для установки в паз корпуса, объемный вид со стороны углубления для расположения номерного знака;

[61]

- на фиг.2 - корпус рамки, вид спереди;

[62]

- на фиг.3 - корпус рамки, вид сзади;

[63]

- на фиг.4 - местный поперечный разрез по отверстию для крепления корпуса рамки к транспортному средству;

[64]

- на фиг.5 - поперечный разрез корпуса рамки;

[65]

- на фиг.6 - местный поперечный разрез корпуса рамки с установленной планкой плоскостью, проходящей через пару расположенных напротив друг друга фиксирующих углублений, в которых расположены выполненные на продольных боковых поверхностях планки выступы;

[66]

- на фиг.7 - часть корпуса рамки, продольный разрез плоскостью, проходящей через отверстие в пазу на одной из его поперечных боковых поверхностей для крепления планки;

[67]

- на фиг.8 - часть рамки, продольный разрез плоскостью, проходящей через ось одного из элементов с отверстием для крепления номерного знака к корпусу;

[68]

- на фиг.9 - сечение по оси одной из связанных с донной частью углубления корпуса перемычками вкладных втулок;

[69]

- на фиг.10 - сечение по оси одной из связанных с донной частью углубления корпуса перемычками шайб.

[70]

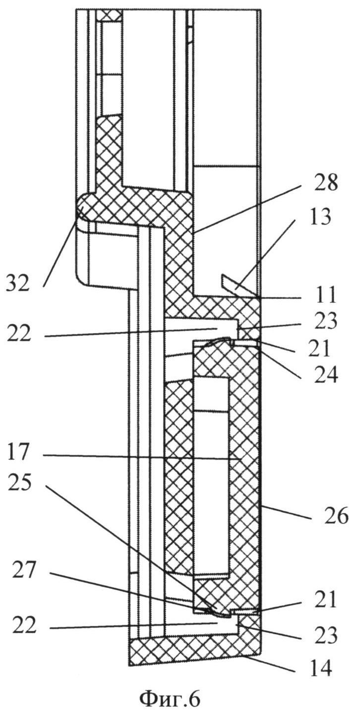
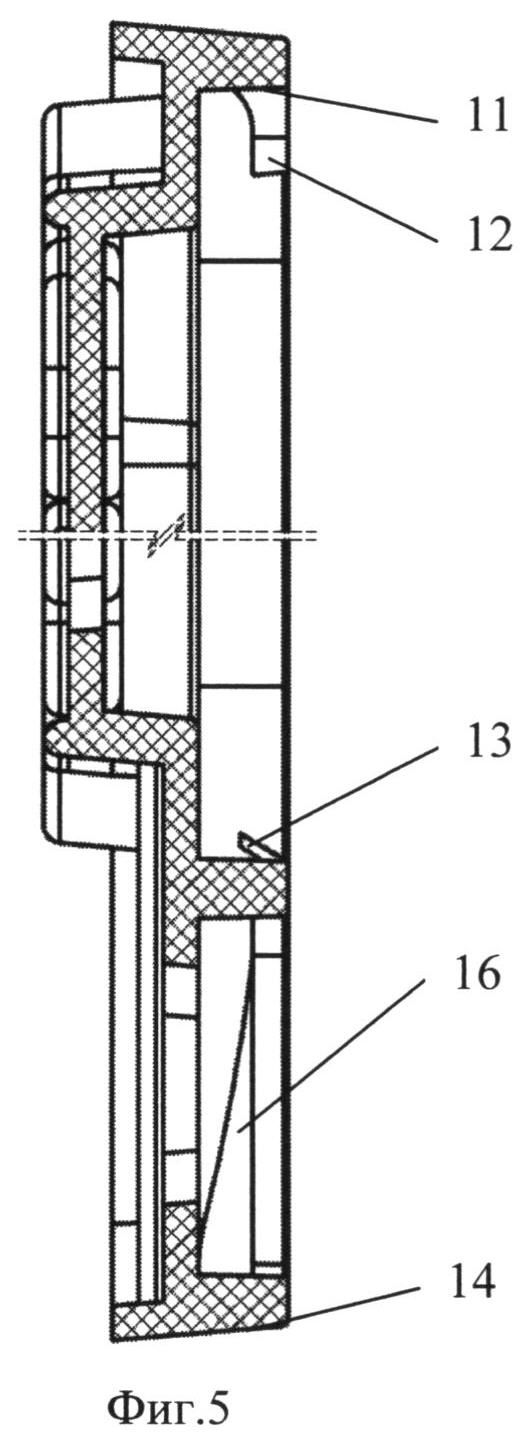
Рамка для крепления номерного знака транспортного средства согласно первому варианту изобретения состоит из изготовленного из полимерного материала корпуса 1 прямоугольной в плане формы со скругленными углами и с углублением 2 для расположения номерного знака (на чертежах не показан) в виде пластины смежно обратной стороной донной части 3 углубления 2 с расположением выступающих участков 4 корпуса 1 по периметру вокруг номерного знака в виде окантовки.

[71]

В донной части 3 углубления 2 выполнены элементы 5 с отверстиями 6 для крепления номерного знака к корпусу 1 с использованием вворачиваемых крепежных элементов (на чертежах не показаны), отверстия 7 и 8 для крепления корпуса 1 к транспортному средству, расположенные зеркально-симметрично относительно поперечной прямой в средней части корпуса 1.

[72]

Отверстия 7 и 8 для крепления корпуса 1 к транспортному средству выполнены круглой 7 и вытянутой 8 по прямой в плоскости донной части 3 углубления 2 формы. По периметру каждого отверстия 7 и 8 для крепления корпуса 1 к транспортному средству с обеих сторон донной части 3 углубления 2 выполнены замкнутые буртики 9 (фиг.2-4).

[73]

Буртики 9 отверстий 7, 8 для крепления корпуса 1 к транспортному средству, расположенных относительно друг друга на расстояниях между смежными участками боковых поверхностей, не превышающих двух толщин буртиков 9 у их основания, выполнены пересекающимися с образованием участков 10 (фиг.2, 3) буртиков 9, общих для обоих из этих отверстий 7, 8 для крепления корпуса 1 к транспортному средству. Буртики 9 с обеих сторон донной части 3 выполнены в поперечном сечении скругленными (фиг.4) и препятствуют проскакиванию головки винта или болта через отверстия 7, 8 донной части 3 углубления 2 как при их закручивании при креплении корпуса 1 на транспортном средстве, так и при каких-либо динамических воздействиях на корпус 1.

[74]

Корпус 1 в плане выполнен с длиной, кратно превышающей по величине ширину. Отверстия 8 вытянутой по прямой в плоскости донной части углубления формы расположены параллельно, перпендикулярно и под углом к боковым сторонам корпуса, как это показано на фиг.1-3.

[75]

На обращенных навстречу друг другу внутренних боковых поверхностях 11 (фиг.2, 5) углубления 2 корпуса 1 выполнены дополнительные элементы 12, 13 для крепления номерного знака. На одной боковой поверхности 11 углубления 2 дополнительные элементы 12 для крепления номерного знака выполнены каждый в виде отходящего от наружного края боковой поверхности 11 под прямым углом к ней прямого выступа. На другой боковой поверхности 11 углубления 2 дополнительные элементы 13 для крепления номерного знака выполнены каждый в виде отходящего от наружного края боковой поверхности под острым углом к ней наклонного прямого выступа, ориентированного в направлении донной части 3 углубления 2. Количество дополнительных элементов 12, 13 для крепления номерного знака может не соответствовать друг другу и они могут быть расположены не попарно напротив одни другим.

[76]

С продольной стороны 14 (фиг.2, 5, 6) корпуса 1 выполнен расширенный от боковой поверхности углубления 2 участок 15, в котором выполнен продольно корпусу 1 со стороны углубления 2 для расположения номерного знака паз 16 с закрепленной в нем планкой 17 (фиг.1, 6) из полимерного материала для размещения текстовой и/или графической информации (фиг.1).

[77]

В пазу 16 на его поперечных боковых поверхностях 18 (фиг.7) выполнены отверстия 19, а планка 17 выполнена на поперечных боковых поверхностях с выступами 20 (фиг.1), входящими в эти отверстия 19.

[78]

На продольных боковых поверхностях 21 паза 16 выполнены фиксирующие углубления 22, имеющие по направлению из паза 16 упорные плоские поверхности 23, параллельные донной части 3 углубления 2 для расположения номерного знака.

[79]

Планка 17 выполнена на продольных боковых поверхностях 24 с выступами 25, входящими в эти фиксирующие углубления 22.

[80]

В поперечном сечении выступы 25 на продольных боковых поверхностях 24 планки 17 имеют каждый в поперечном сечении форму острого угла, одна часть которого параллельна наружной поверхности 26 планки 17 и образует поверхность сопряжения с упорной плоской поверхностью 23 соответствующего фиксирующего углубления 22, а вторая 27 - направлена к стороне планки 17, противоположной ее наружной поверхности 26, причем эта вторая часть острого угла формы поперечного сечения каждого выступа 25 имеет выступающую форму дуги, что облегчает установку планки 17 в паз 16.

[81]

Благодаря наличию выступов 25 описанной конфигурации планка 17 жестко фиксируется в пазу 16, чем исключается не только ее самопроизвольное выпадение под действием вибрации транспортного средства, иных динамических нагрузок, обусловленных маневрами транспортного средства, но и вандальные действия, связанные с извлечением или хищением планки 17. Планка 17 устанавливается один раз при изготовлении рамки для крепления номерного знака транспортного средства, когда выбирается для установки планка 17 с требуемой текстовой и/или графической информацией, определяемой заказчиком - организацией, торгующей рамками или транспортными средствами (например, на планку 17 может быть нанесена рекламная информация торгующей компании либо какая-то иная информация). В дальнейшем смена планки 17 не предусмотрена, поскольку такая потребность рынком не востребована. Напротив, извлечение планки 17 приводит, по меньшей мере, к частичному разрушению как выступов 25, так и фиксирующих углублений 22. В случае несанкционированного извлечения планки 17 и последующая ее повторная установка в корпус 1, надежное крепление планки 17 уже не обеспечивается, причем может снизиться надежность крепления номерного знака. В таких случаях, как правило, рекомендуется заменить рамку для крепления номерного знака транспортного средства новой. Планка 17 сделана отдельной деталью лишь с целью расширения номенклатуры планок 17 с разными текстовыми и/или графическими элементами при единой конструкции пластины, что в целом делает конструкцию унифицированной и способствует удешевлению производства.

[82]

Внутренние боковые поверхности 11 углубления 2 выполнены ступенчатыми, образующими выступающими по периметру участками 28 (фиг.1, 2, 6) опорные поверхности для сопряжения с обратной поверхностью закрепляемого на корпусе 1 номерного знака.

[83]

Каждый элемент 5 с отверстием 6 для крепления номерного знака к корпусу 1 выполнен в виде прилива 29 (фиг.8) на донной части 3 углубления 2, высота которого не превышает высоту расположения участков 28. С обратной стороны донной части 3 углубления 2 в каждом приливе 29 отверстие 6 выполнено с расширением 30, имеющим в поперечном сечении шестигранную форму для установки в него с натягом вкладной втулки 31 (фиг.9) с ответной наружной поверхностью, выполненной с возможностью вворачивания в нее крепежного элемента для крепления номерного знака к корпусу 1.

[84]

С обратной стороны донная часть 3 углубления 2 выполнена выступающей на корпусе 1 и по ее краю по периметру выполнен замкнутый буртик 32 (фиг.3, 8), тождественный в поперечном сечении по форме, ее ориентации и размерам буртикам 9 вокруг отверстий 7, 8 для крепления корпуса 1 к транспортному средству. Кроме того, с обратной стороны донная часть 3 углубления 2 пересечена ребрами жесткости 33 (фиг.3) в виде выступов, которые также тождественны в поперечном сечении по форме, ориентации и размерам буртикам 9 вокруг отверстий 7, 8.

[85]

Донная часть 3 углубления 2 с внутренней стороны выполнена с пересекающими ее ребрами жесткости 34 (фиг.2), высота которых не превышает высоту расположения участков 28.

[86]

После закрепления корпуса 1 на транспортном средстве, как это описано выше применительно к известному техническому решению, номерной знак вводится в контакте с верхней частью участка 28 под дополнительные элементы 12 для крепления номерного знака в виде отходящего от наружного края боковой поверхности 11 под прямым углом к ней прямого выступа.

[87]

Далее номерной знак вводится в углубление 2 корпуса 1 и проталкивается внутрь углубления 2 по дополнительным элементам 13 для крепления номерного знака в виде отходящего от наружного края боковой поверхности под острым углом к ней наклонного прямого выступа до попадания края номерного знака под дополнительный элемент 13 с опиранием по периметру на участок 28.

[88]

Затем номерной знак закрепляется резьбовыми крепежными элементами типа винтов-саморезов, на которые вначале одеваются шайбы 35, затем они пропускаются через отверстия в номерном знаке, затем через отверстия 6 в донной части 3 углубления 2 и вворачиваются во вкладные втулки 31, предварительно установленные перед креплением корпуса 1 на транспортном средстве в расширения 30 отверстий 6. Для удобства вкладные втулки 31 и шайбы 35 в необходимом количестве сформированы за одно целое с корпусом 1 на донной части 3 углубления 2, с которой связаны перемычками 36, разрушаемыми при указанном отделении вкладных втулок 31 и шайб 35.

[89]

Буртики 9 и 32 исключают прилегание по плоскости корпуса 1 к поверхности кузова транспортного средства, что уменьшает заполнение этой зоны сопряжения влагой, способствуя предотвращению коррозии, а также исключает слипание корпуса 1 с поверхностью кузова в зоне сопряжения, что особенно актуально для новых транспортных средств, когда лакокрасочные покрытия кузовов обладают высокой степенью глянца.

[90]

Второй вариант

[91]

На фиг.11-20 показана рамка для крепления номерного знака снегохода или квадроцикла:

[92]

- на фиг.11 - рамка с отдельно расположенной планкой для установки в паз корпуса, объемный вид со стороны углубления для расположения номерного знака;

[93]

- на фиг.12 - корпус рамки, вид спереди;

[94]

- на фиг.13 - корпус рамки, вид сзади;

[95]

- на фиг.14 - местный поперечный разрез по отверстию для крепления корпуса рамки к транспортному средству;

[96]

- на фиг.15 - поперечный разрез корпуса рамки;

[97]

- на фиг.16 - местный поперечный разрез корпуса рамки с установленной планкой плоскостью, проходящей через пару расположенных напротив друг друга фиксирующих углублений, в которых расположены выполненные на продольных боковых поверхностях планки выступы;

[98]

- на фиг.17 - часть корпуса рамки, продольный разрез плоскостью, проходящей через отверстие в пазу на одной из его поперечных боковых поверхностей для крепления планки;

[99]

- на фиг.18 - часть рамки, продольный разрез плоскостью, проходящей через ось одного из элементов с отверстием для крепления номерного знака к корпусу;

[100]

- на фиг.19 - сечение по оси одной из связанных с донной частью углубления корпуса перемычками вкладных втулок;

[101]

- на фиг.20 - сечение по оси одной из связанных с донной частью углубления корпуса перемычками шайб.

[102]

Рамка для крепления номерного знака согласно второму варианту изобретения содержит изготовленный из полимерного материала корпус 37 прямоугольной в плане формы со скругленными углами и с углублением 38 для расположения номерного знака в виде пластины смежно обратной стороной донной части 39 углубления 38 с расположением выступающих участков 40 корпуса 37 по периметру вокруг номерного знака в виде окантовки.

[103]

В донной части 39 углубления 38 для расположения номерного знака выполнены элементы 41 с отверстиями 42 для крепления номерного знака к корпусу 37 с использованием вворачиваемых крепежных элементов, отверстия 43, 44, 45 для крепления корпуса 37 к транспортному средству, расположенные зеркально-симметрично относительно поперечной прямой в средней части корпуса 37.

[104]

Отверстия 43, 44, 45 для крепления корпуса 37 к транспортному средству выполнены вытянутой по прямой в плоскости донной части 39 углубления 38 формы. По периметру каждого отверстия 43, 44, 45 с обеих сторон донной части 39 углубления 38 выполнены замкнутые буртики 46 (фиг.14), которые выполнены в поперечном сечении скругленными.

[105]

Корпус 37 в плане выполнен с длиной, не превышающей по величине значения двойной ширины.

[106]

Отверстия 43, 44, 45 для крепления корпуса 37 к транспортному средству расположены:

[107]

- двумя расположенными вдоль коротких противоположных боковых сторон 47 (фиг.12) корпуса 37 группами расположенных параллельно и ориентированных под углом к боковым сторонам корпуса отверстий 43 для крепления корпуса 37 к транспортному средству;

[108]

- группой расположенных последовательно и ориентированных вдоль прямой отверстий 44 для крепления корпуса 37 к транспортному средству, лежащей геометрически по середине рамки параллельно коротким боковым сторонам 47 корпуса 37;

[109]

- параллельными между собой и длинным боковым сторонам 48 корпуса 37 рядами отверстий 45 для крепления корпуса 37 к транспортному средству, расположенных в каждом ряду последовательно и ориентированных вдоль прямой, причем отверстия 45 в смежных рядах смещены относительно друг друга в продольном рядам направлении, то есть перемычка между отверстиями 45 в одном ряду приходится напротив отверстия в ряду, расположенном смежно.

[110]

На обращенных навстречу друг другу внутренних боковых поверхностях 49 углубления 38 для расположения номерного знака выполнены дополнительные элементы 50, 51 (фиг.11, 12, 15) для крепления номерного знака.

[111]

На одной боковой поверхности 49 углубления 38 дополнительные элементы 50 выполнены каждый в виде отходящего от наружного края боковой поверхности под прямым углом к ней прямого выступа. На другой боковой поверхности 49 углубления 38 дополнительные элементы 51 выполнены каждый в виде расположенного на боковой поверхности 49 смежно ее наружному краю выступа с поперечным сечением в форме с вписанным прямоугольным треугольником с наклонной поверхностью 52 (фиг.15), отходящей от наружного края боковой поверхности 49 под острым углом к ней в направлении донной части 39 углубления 38.

[112]

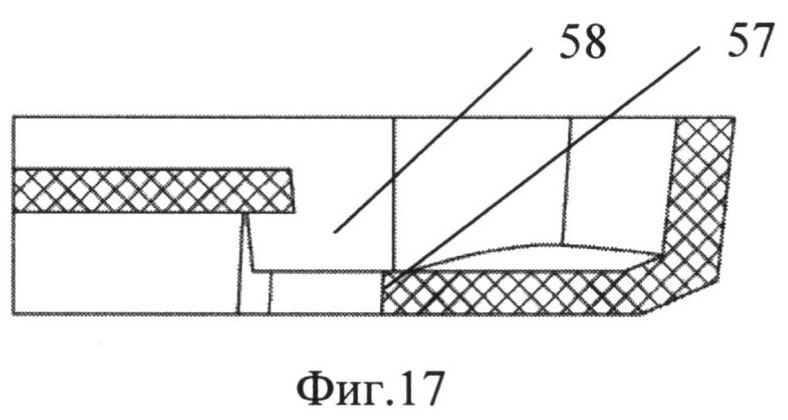
С продольной стороны 53 корпуса выполнен расширенный от боковой поверхности углубления участок 54 (фиг.11, 12), в котором выполнен продольно корпусу 37 со стороны углубления 38 для расположения номерного знака паз 55 с закрепленной в нем планкой 56 (фиг.11, 16) из полимерного материала для размещения текстовой и/или графической информации.

[113]

В пазу 55 на его поперечных боковых поверхностях 57 (фиг.11, 17) выполнены отверстия 58, а планка 56 выполнена на поперечных боковых поверхностях с выступами 59 (фиг.11), входящими в эти отверстия 58.

[114]

На продольных боковых поверхностях паза 55 выполнены фиксирующие углубления 60, имеющие по направлению из паза упорные плоские поверхности 61 (фиг.16), параллельные донной части 39 углубления 38 для расположения номерного знака. Планка 56 выполнена на продольных боковых поверхностях с выступами 62, входящими в эти фиксирующие углубления 60, причем в поперечном сечении выступы 62 имеют каждый в поперечном сечении форму острого угла, одна часть которого параллельна наружной поверхности 63 планки 56 и образует поверхность сопряжения с упорной плоской поверхностью 61, а вторая 64 - направлена к стороне планки 56, противоположной ее наружной поверхности 63, и имеет форму выступающей дуги.

[115]

Внутренние боковые поверхности 49 углубления 38 выполнены ступенчатыми, образующими выступающими по периметру участками опорные поверхности 65 (фиг.11, 12) для сопряжения с обратной поверхностью закрепляемого на корпусе номерного знака.

[116]

Каждый элемент 41 с отверстием 42 для крепления номерного знака к корпусу 37 выполнен в виде прилива на донной части 39 углубления 38, высота которого не превышает высоту расположения участков опорных поверхностей 65 внутренних боковых поверхностей 49 углубления 38, причем с обратной стороны донной части 39 в каждом приливе отверстие 42 выполнено с расширением 66 (фиг.18), имеющим в поперечном сечении шестигранную форму для установки в него с натягом вкладной втулки 67 (фиг.11-13, 19) с ответной наружной поверхностью, выполненной с возможностью вворачивания в нее крепежного элемента для крепления номерного знака к корпусу. Вкладная втулка 67, как и необходимая для крепления номерного знака к корпусу 37 крепежным элементом шайба 68, в необходимом количестве сформированы за одно целое с корпусом 37 на донной части 39 углубления 38, с которой связаны перемычками 69 (фиг.19, 20), разрушаемыми при отделении вкладных втулок 67 и шайб 68.

[117]

Донная часть 39 углубления 38 с внутренней стороны выполнена с пересекающими ее ребрами жесткости 70, высота которых не превышает высоту расположения участков опорных поверхностей 65 внутренних боковых поверхностей 49 углубления 38.

[118]

Третий вариант

[119]

На фиг.21-30 показана рамка для крепления номерного знака мотоцикла:

[120]

- на фиг.21 - рамка с отдельно расположенной планкой для установки в паз корпуса, объемный вид со стороны углубления для расположения номерного знака;

[121]

- на фиг.22 - корпус рамки, вид спереди;

[122]

- на фиг.23 - корпус рамки, вид сзади;

[123]

- на фиг.24 - местный поперечный разрез по отверстию для крепления корпуса рамки к транспортному средству;

[124]

- на фиг.25 - поперечный разрез корпуса рамки;

[125]

- на фиг.26 - местный поперечный разрез корпуса рамки с установленной планкой плоскостью, проходящей через пару расположенных напротив друг друга фиксирующих углублений, в которых расположены выполненные на продольных боковых поверхностях планки выступы;

[126]

- на фиг.27 - часть корпуса рамки, продольный разрез плоскостью, проходящей через отверстие в пазу на одной из его поперечных боковых поверхностей для крепления планки;

[127]

- на фиг.28 - часть рамки, продольный разрез плоскостью, проходящей через ось одного из элементов с отверстием для крепления номерного знака к корпусу;

[128]

- на фиг.29 - сечение по оси одной из связанных с донной частью углубления корпуса перемычками вкладных втулок;

[129]

- на фиг.30 - сечение по оси одной из связанных с донной частью углубления корпуса перемычками шайб.

[130]

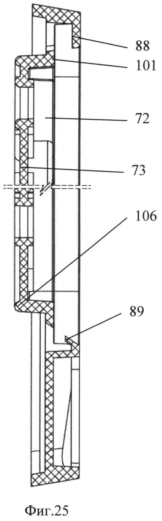
Рамка для крепления номерного знака согласно третьему варианту изобретения содержит изготовленный из полимерного материала корпус 71 прямоугольной в плане формы со скругленными углами и с углублением 72 для расположения номерного знака в виде пластины смежно обратной стороной донной части 73 углубления 72 с расположением выступающих участков 74 корпуса 71 по периметру вокруг номерного знака в виде окантовки.

[131]

В донной части 73 углубления 72 для расположения номерного знака выполнены элементы 75 с отверстиями 76 (фиг.21, 22, 23, 28) для крепления номерного знака к корпусу 71 с использованием вворачиваемых крепежных элементов (на чертежах не показаны), а также отверстия 77-81 (фиг.22) для крепления корпуса к транспортному средству, расположенные зеркально-симметрично относительно поперечной прямой в средней части корпуса 71.

[132]

Отверстия 77-81 для крепления корпуса 71 к транспортному средству выполнены двух типов:

[133]

- в первом (77, 78, 79) - вытянутой по прямой в плоскости донной части 73 углубления 72 формы;

[134]

- во втором (80, 81) - вытянутой по сторонам прямого угла в плоскости донной части 73 углубления 72 формы.

[135]

По периметру каждого отверстия 77-81 для крепления корпуса 71 к транспортному средству с обеих сторон донной части 73 углубления 72 выполнены замкнутые буртики 82, 83 (фиг.21-24). Буртики 82 со стороны углубления 72 донной части 73 выполнены в поперечном сечении скругленными, а с противоположной стороны донной части 73 - (буртики 83) прямоугольной в поперечном сечении формы.

[136]

Корпус 71 в плане выполнен с длиной, не превышающей по величине значения двойной ширины, а отверстия 77-81 для крепления корпуса 71 к транспортному средству расположены:

[137]

- первой группой отверстий 77 для крепления корпуса 71 к транспортному средству, расположенных последовательно и ориентированных вдоль прямых, образующих геометрически крест;

[138]

- четырьмя расположенными между лучами указанного геометрического креста вторыми группами, в каждой из которых отверстия 78 для крепления корпуса 71 к транспортному средству расположены параллельными между собой и длинным боковым сторонам 84 корпуса 71 рядами, в каждом ряду последовательно и с ориентацией вдоль прямой, причем отверстия 78 в смежных рядах смещены относительно друг друга в продольном рядам направлении;

[139]

- двумя третьими группами отверстий 79, 80 для крепления корпуса к транспортному средству, расположенных со стороны части корпуса 71, смежной одной длинной боковой стороне 84, каждая из которых образована идущими от средней части корпуса 71 вдоль длинной боковой стороны 84 отверстием 79 второго типа, затем отверстиями 80 первого типа, затем снова отверстием 79 второго типа, которое располагается геометрически внутри угла корпуса 71, а далее отверстиями 80 первого типа вдоль короткой стороны 85 корпуса 71;

[140]

- двумя четвертыми группами из пары отверстий 81 второго типа, расположенных со стороны части корпуса 71, смежной его второй длинной боковой стороне 86 (фиг.22), в каждой группе из которых отверстия 81 располагаются смежно коротким боковым сторонам 85 корпуса 71 с расположением со стороны внутри их углов одной из вторых групп отверстий 78.

[141]

На обращенных навстречу друг другу внутренних боковых поверхностях 87 углубления 72 для расположения номерного знака выполнены дополнительные элементы 88, 89 (фиг.21, 22, 25) для крепления номерного знака.

[142]

На одной внутренней боковой поверхности 87 углубления 72 для расположения номерного знака дополнительные элементы 88 для крепления номерного знака выполнены каждый в виде отходящего от наружного края боковой поверхности 87 под прямым углом к ней прямого выступа (фиг.25).

[143]

На другой внутренней боковой поверхности 87 углубления 72 для расположения номерного знака дополнительные элементы 89 для крепления номерного знака выполнены каждый в виде отходящего от наружного края внутренней боковой поверхности 87 под острым углом к ней наклонного прямого выступа, ориентированного в направлении донной части 73 углубления 72.

[144]

С одной из продольных сторон корпуса 71 выполнен расширенный от боковой поверхности 87 углубления 72 участок 90 (фиг.21, 22, 26), в котором выполнен продольно корпусу 71 со стороны углубления 72 для расположения номерного знака паз 91 с закрепленной в нем планкой 92 из полимерного материала для размещения текстовой и/или графической информации.

[145]

В пазу 91 на его поперечных боковых поверхностях выполнены отверстия 93 (фиг.21, 27), а планка 92 выполнена на поперечных боковых поверхностях с выступами 94 (фиг.21), входящими в эти отверстия 93.

[146]

На продольных боковых поверхностях паза 91 выполнены фиксирующие углубления 95 (фиг.21, 26), имеющие по направлению из паза 91 упорные плоские поверхности 96 (фиг.26), параллельные донной части 73 углубления 72 для расположения номерного знака. Планка 92 выполнена на продольных боковых поверхностях с выступами 97 (фиг.26), входящими в эти фиксирующие углубления 95, причем в поперечном сечении выступы 97 на продольных боковых поверхностях планки 92 имеют каждый в поперечном сечении форму острого угла, одна часть которого параллельна наружной поверхности 98 планки 92 и образует поверхность 99 сопряжения с упорной плоской поверхностью 96 соответствующего фиксирующего углубления 95, а вторая 100 - направлена к стороне планки 92, противоположной ее наружной поверхности 98, причем эта вторая 100 часть острого угла формы поперечного сечения каждого выступа 97 на продольной боковой поверхности планки 92 имеет выступающую форму дуги.

[147]

Внутренние боковые поверхности углубления 72 выполнены ступенчатыми, образующими выступающими по периметру участками опорные поверхности 101 (фиг.21, 22) для сопряжения с обратной поверхностью закрепляемого на корпусе 71 номерного знака.

[148]

Каждый элемент 75 с отверстием 76 для крепления номерного знака к корпусу 71 выполнен в виде прилива на донной части 73 углубления 72, высота которого не превышает высоту расположения участков опорных поверхностей 101 внутренних боковых поверхностей углубления 72.

[149]

С обратной стороны донной части 73 углубления 72 в каждом приливе отверстие 76 выполнено с расширением 102 (фиг.28), имеющим в поперечном сечении шестигранную форму для установки в него с натягом вкладной втулки 103 (фиг.21, 22, 30) с ответной наружной поверхностью, выполненной с возможностью вворачивания в нее крепежного элемента для крепления номерного знака к корпусу 71.

[150]

Аналогично описанному выше вкладная втулка 103, как и необходимая для крепления номерного знака к корпусу 71 крепежным элементом шайба 104 (фиг.21, 22, 29), в необходимом количестве сформированы за одно целое с корпусом 71 на донной части 73 углубления 72, с которой связаны перемычками 105 (фиг.29, 30), разрушаемыми при отделении вкладных втулок 103 и шайб 104.

[151]

С обратной стороны донная часть 73 углубления 72 выполнена выступающей на корпусе 71 и по ее краю по периметру выполнен замкнутый буртик 106 (фиг.23, 25, 28), тождественный в поперечном сечении по форме, ориентации и размерам буртикам 82 или 83 вокруг отверстий 77-81 для крепления корпуса 71 к транспортному средству.

[152]

Кроме того, с обратной стороны донная часть 73 углубления 72 пересечена сплошными и прерывистыми ребрами 107 жесткости в виде выступов, которые также тождественны в поперечном сечении по форме, ориентации и размерам буртикам 82 или 83 вокруг отверстий 77-81 для крепления корпуса 71 к транспортному средству.

[153]

Также, донная часть 73 углубления 72 с внутренней стороны выполнена с ребрами жесткости 108 (фиг.21, 22), высота которых не превышает высоту расположения участков опорных поверхностей 101 внутренних боковых поверхностей углубления 72.

[154]

Приведенные примеры осуществления технического решения не является исчерпывающими. Возможны иные варианты осуществления, соответствующие объему патентных притязаний. Рамка для крепления номерного знака на транспортном средстве, выполненная в соответствии с патентными притязаниями, изготавливается по известным технологиям из известных термопластичных полимерных материалов. В представленных выше примерах осуществления корпус 1, 37, 71 изготовлен из полипропилена, а планка 17, 56, 92 - из акрилонитрилбутадиенстирола, известного также как АСБ-пластик. Использование АСБ-пластика для изготовления планки 17, 56, 92 позволяет не только выполнять на ее поверхности 26, 63, 98 рельефные изобразительные или текстовые элементы, рекламного, географического (фиг.1) или иного содержания, но также и использовать для нанесения изображения шелкографию и металлизацию, в том числе частичную металлизацию выступающих поверхностей какого-либо выполненного при изготовлении планки 17, 56, 92 рельефа.

Как компенсировать расходы
на инновационную разработку
Похожие патенты