патент
№ RU 2678728
МПК B64C25/24

Устройство надувного шасси летательного аппарата

Авторы:
Пензин Сергей Борисович Павлов Сергей Владимирович Ворогушин Владимир Александрович
Все (4)
Номер заявки
2017130818
Дата подачи заявки
31.08.2017
Опубликовано
31.01.2019
Страна
RU
Как управлять
интеллектуальной собственностью
Чертежи 
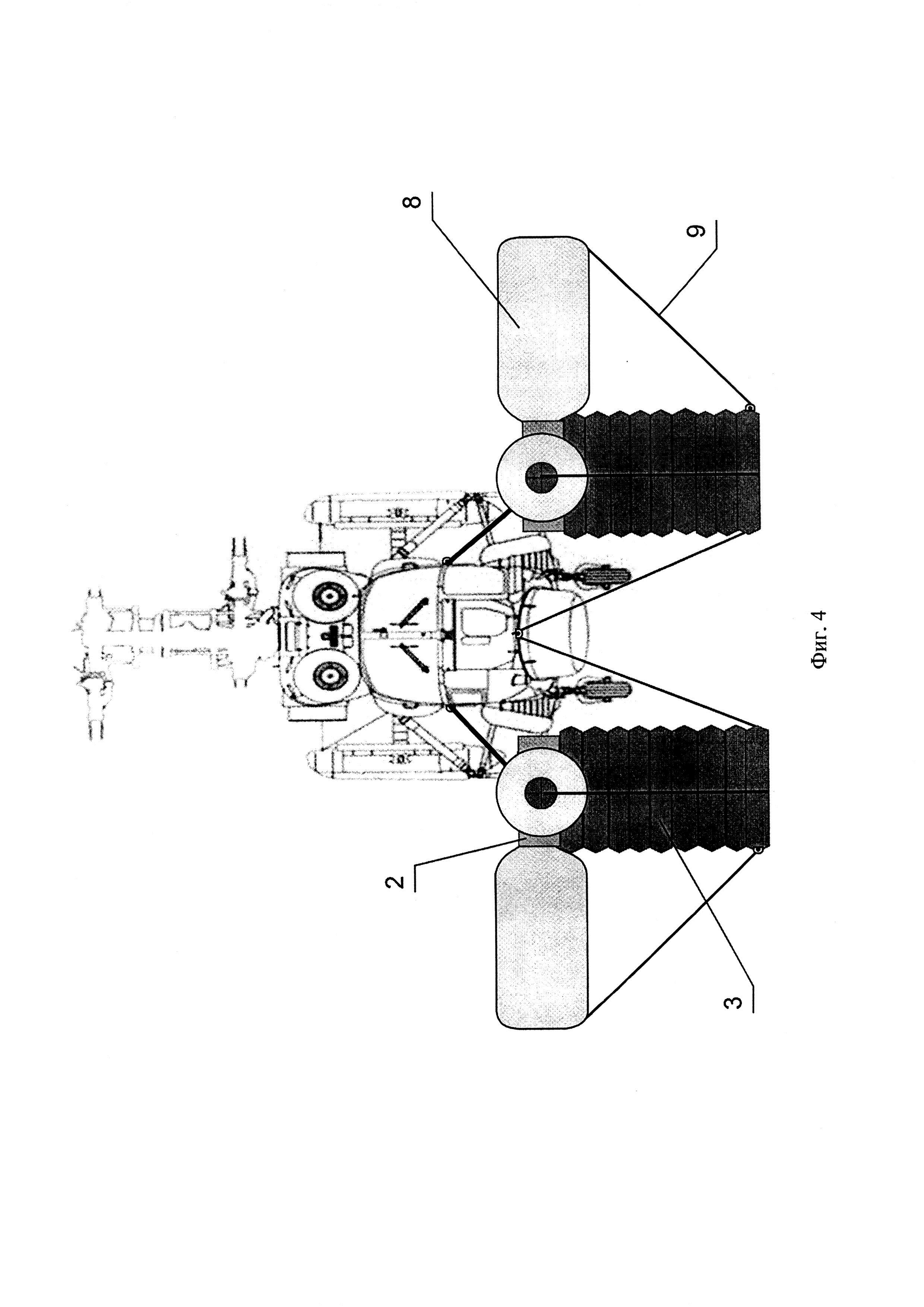
6
Реферат

Изобретение относится к авиации, в частности к шасси летательных аппаратов, а именно к устройству надувных шасси, предназначенных для штатной и аварийной посадки на воду и создания плавучести, достаточной для постоянного поддержания летательного аппарата, например вертолета, на поверхности воды. Устройство надувного шасси летательного аппарата содержит взлетно-посадочные поплавки, систему выпуска-уборки и средства управления и контроля параметров. Поплавки выполнены в виде цилиндрических пневмокаркасных стаканов с открытым дном. В верхней контейнерной части поплавков предусмотрен объем для размещения механизма уборки-выпуска баллонета, внутренний объем которого соединен с объемом пневмокаркасного стакана поплавка воздушным каналом. Баллонет обладает возможностью разворачиваться вне контейнера. Повышается устойчивость летательного аппарата на волнах поверхности моря. 1 з.п. ф-лы, 6 ил.

Формула изобретения

1. Устройство надувного шасси летательного аппарата, содержащее взлетно-посадочные поплавки, систему выпуска-уборки, средства управления и контроля параметров, отличающееся тем, что поплавки выполнены в виде цилиндрического пневмокаркасного стакана с открытым дном, причем в верхней контейнерной части поплавков предусмотрен объем для размещения механизма уборки-выпуска по меньшей мере одного баллонета, внутренний объем которого соединен с объемом пневмокаркасного стакана поплавка воздушным каналом с управляемым клапаном, причем баллонет обладает возможностью разворачиваться вне контейнера и наполняться воздухом из стакана поплавка при помощи вытеснения его водой в момент приводнения летательного аппарата и укладываться в контейнерную часть по мере выпуска из него воздуха при помощи механизма уборки-выпуска.

2. Устройство по п. 1, отличающееся тем, что с целью повышения жесткости баллонета поплавка в выпущенном положении и с целью обеспечения складывания оболочек баллонетов в контейнерную часть корпуса, от обечайки пневмокаркасного стакана к внешнему торцу баллонета через гермовывод и внутренний объем баллонета выполнена тросовая проводка к приводному механизму уборки-выпуска баллонета.

Описание

[1]

Изобретение относится к авиации, в частности к шасси летательных аппаратов, а именно, к устройству надувных шасси, предназначенных для штатной и аварийной посадки на воду и создания плавучести, достаточной для постоянного поддержания летательного аппарата, например вертолета, на поверхности воды.

[2]

Система надувных шасси летательного аппарата может содержать две и более пар надувных поплавков. В полетном состоянии поплавки компактно уложены в контейнеры, закрепленные на фюзеляже летательного аппарата, и закрыты створками. Внутренний объем поплавков в наполненном состоянии разделен на секции эластичными герметичными перегородками. Перегородки, в случае разгерметизации одной из секций, выгибаются, частично восполняя потерянный объем и позволяя тем самым обеспечить безопасный уровень плавучести поплавка. Наполнение поплавков производится от системы сжатого газа, содержащей баллоны высокого давления с зарядно-выпускными блоками, которые соединены трубопроводами с каждой секцией поплавков. Различают системы аварийного приводнения летательного аппарата, использующие поплавки разового наполнения, и штатные надувные шасси, в которых осуществляется не только выпуск и наполнение поплавков, но и их уборка после взлета. Штатные надувные шасси сложнее по конструкции, обладают повышенной массой, но имеют большой ресурс и позволяют эксплуатировать летательный аппарат со взлетами и посадками с водных поверхностей. Иногда (например, на вертолете Белл-206) могут устанавливаться неубираемые поплавки для взлетов и посадок с озер и рек. Специально спроектированные вертолеты с днищем в форме лодки и с боковыми объемными приливами или надувными поплавками (Ми-14, S-92) могут эксплуатироваться с поверхности моря. Сухопутные вертолеты требуют разработки специальных комплектов надувных шасси с возможностью монтажа или демонтажа с борта в условиях эксплуатации или с доработкой конструкции при капитальном ремонте. Наиболее сложными и наименее разработанными в настоящее время являются конструкции, позволяющие выполнять многократный выпуск и уборку надувных шасси в условиях нормальной эксплуатации на море.

[3]

Известны системы надувных шасси летательных аппаратов, включающие надувные поплавки для посадки на воду: (патенты: США №3004737, 244-102, 1962 г., ФРГ №3812702, МКИ В64С 25/56, 1989 г., Франции №245546, МКИ В64С 25/56, 1981 г.; патенты России №2001843, МКИ B64D 1/00, 1992 г., №2130405 МКИ В64С 25/56 1997 г., №2123454 МКИ В64С 25/54 1997 г., №2089453 МКИ В64С 25/56 1996 г., №2120886 МКИ В64С 25/56 1996 г., №2191139 МКИ В64С 27, В64С 25/56, В64С 25/54 1997 г.).

[4]

По технической сущности патент РФ №2089453 выбран в качестве наиболее близкого прототипа.

[5]

Общий недостаток устройства поплавков прототипа и поплавков, описанных в других названных патентах, заключается в том, что поплавки нельзя убрать обратно в контейнеры после взлета. Поэтому полет с наполненными поплавками возможен только на небольших скоростях при крайней необходимости. Между тем, в настоящее время существует практическая необходимость обеспечить сухопутным летательным аппаратам, в частности, вертолетам возможность их эксплуатации с поверхности моря.

[6]

Задачей изобретения является создание многоразовой системы надувного шасси с возможностью штатного выпуска перед посадкой и уборки после взлета с целью обеспечения эксплуатации летательного аппарата с поверхности моря.

[7]

Задача изобретения решается тем, что предложено использовать поплавки с возможностью наполнения баллонетов воздухом путем вытеснения его водой из пневмокаркасного стакана после приводнения летательного аппарата.

[8]

Полученный технический результат характеризуется следующими существенными признаками:

[9]

- поплавки выполнены в виде цилиндрического пневмокаркасного стакана с открытым дном, причем в верхней контейнерной части поплавков предусмотрен объем для размещения механизма уборки-выпуска по меньшей мере одного баллонета, внутренний объем которого соединен с объемом пневмокаркасного стакана поплавка воздушным каналом с управляемым клапаном, причем баллонет обладает возможностью разворачиваться вне контейнера и наполняться воздухом из стакана поплавка при помощи вытеснения его водой в момент приводнения летательного аппарата и укладываться в контейнерную часть по мере выпуска из него воздуха при помощи механизма уборки-выпуска.

[10]

- от обечайки пневмокаркасного стакана к внешнему торцу баллонета через гермовывод и внутренний объем баллонета выполнена тросовая проводка к приводному механизму уборки-выпуска баллонета.

[11]

На Фиг. 1 показан контейнер поплавка в сложенном и закрытом состоянии.

[12]

На Фиг. 2 показан поплавок с выдвинутым вниз пневмокаркасным стаканом и подготовленным к наполнению баллонетом в конфигурации перед приводнением летательного аппарата.

[13]

На Фиг. 3 показан поплавок в момент приводнения летательного аппарата с наполненным баллонетом в результате вытеснения воздуха водой из пневмокаркасного стакана.

[14]

На Фиг. 4 показана система надувного шасси, установленная на вертолете. Вид спереди.

[15]

На Фиг. 5 показана система надувного шасси, установленная на вертолете. Вид сбоку.

[16]

На Фиг. 6 показана система надувного шасси, установленная на вертолете. Вид сверху.

[17]

Устройство надувного шасси летательного аппарата по Фиг. 1, 2, 3, 4, 5, 6 включает:

[18]

Контейнер (1) содержит выдвижную часть корпуса (2), в котором уложен пневмокаркасный стакан (3) с открытым дном (4), смонтирован механизм уборки-выпуска (5) и произведена укладка по меньшей мере одного баллонета (8). Внутренняя полость баллонета (8) через отверстие воздушного канала (6) и управляемый клапан (7) соединена с объемом пневмокаркасного стакана (3). От нижней обечайки пневмокаркасного стакана (3) через гермовывод и внутренний объем баллонета (8) и через клапан (7) к механизму уборки-выпуска баллонета (5) выполнена тросовая проводка.

[19]

Устройство надувного шасси летательного аппарата работает следующим образом (Фиг. 1, 2, 3, 4, 5, 6):

[20]

При подлете аппарата к месту посадки пилот на панели управления переводит переключатель надувного шасси в положение «Выпуск». При этом контейнеры (1) разворачиваются в выпущенное положение шасси и в каждом поплавке часть корпуса контейнера (2) выдвигается вниз. Одновременно, по магистрали отбора сжатого воздуха от компрессоров маршевых двигателей (1-й вариант питания), или по магистрали отбора сжатого воздуха от ВСУ (2-й вариант питания), или от бортового высоконапорного вентилятора (3-й вариант питания) воздух подается в объемы каркаса стакана (3). Это приводит к увеличению его вертикального габарита до номинального размера. Одновременно, часть воздуха из воздушной магистрали подается во внутренний объем баллонета (8), находящегося в уложенном состоянии, для частичного выхода баллонета (8) из отверстия (6) корпуса (2) и предварительной подготовки его раскрытия (см. Фиг. 2). Срабатывает сигнализация выпущенного положения пневмокаркасных стаканов надувного шасси.

[21]

В момент приводнения летательного аппарата вода с большим напором через открытое дно (4) поступает во внутренний объем стакана (3) и вытесняет воздух в объем одного или двух баллонетов (8) по воздушному каналу, отверстие (6) и открытый клапан (7). Баллонеты (8) надуваются до полного объема, принимая заданную форму, при этом механизм уборки-выпуска (5) обеспечивает свободное увеличение длины тросовой проводки (9) до конечного размера, при котором баллонет (8) получает необходимую жесткость в вертикальном направлении. В результате летательный аппарат получает достаточную плавучесть и устойчивость, благодаря водяному балласту, заполняющему внутренний объем пневмокаркасного стакана (3). Балластные объемы обеспечиваю хорошую остойчивость летательного аппарата на волне и уменьшают скорость дрейфа.

[22]

Перед взлетом пилот на панели управления включает трамблер «Сброс балласта». При этом по питающей магистрали во внутренние объемы стаканов (3) подается воздух с избыточным давлением от любого из трех, указанных выше, источников и вода вытесняется через открытое дно (4) стакана (3). В процессе действия режима «Сброс балласта» пилот, увеличивая подъемную силу, медленно поднимает, например, вертолет из воды и визуально, а также по облегчению нагрузки определяет окончание цикла освобождения от балласта и продолжает набор высоты после отрыва от поверхности воды.

[23]

На высоте уборки надувного шасси пилот на панели управления переводит переключатель шасси в положение «Уборка». При этом включается подача сжатого воздуха от маршевых двигателей или ВСУ к эжекторам на вакуумирование внутренних каркасных объемов поплавков и объемов баллонетов. Одновременно приводной механизм уборки-выпуска (5) в следящем режиме производит намотку троса и оболочек баллонетов на барабан, согласуя этот процесс со скоростью вакуумирования. По окончании вакуумирования и намотки оболочек на барабан механизма (5) корпус (2) втягивается в контейнер (1), принимая закрытое положение и контейнеры (1) разворачиваются в убранное положение шасси. Летательный аппарат продолжает набор высоты и полет до пункта назначения.

[24]

Предложенное устройство надувного шасси летательного аппарата позволило:

[25]

- обеспечить выпуск и уборку баллонетов надувного шасси при помощи воздуха, вытесняемого из пневмокаркасных стаканов в момент приводнении летательного аппарата;

[26]

- гарантировать удержание летательного аппарата от опрокидывания на высокой волне моря путем наполнения пневмокаркасных стаканов поплавков достаточным объемом балластной воды.

[27]

- обеспечить минимальные габариты контейнера путем использования пневматического каркаса стакана поплавка и наматывания оболочек баллонетов на барабан механизма уборки-выпуска.

Как компенсировать расходы
на инновационную разработку
Похожие патенты