патент
№ RU 2671074
МПК F25B11/02

БЕСТОПЛИВНАЯ ТРИГЕНЕРАЦИОННАЯ УСТАНОВКА

Авторы:
Борисова Полина Николаевна Петин Сергей Николаевич Клименко Александр Викторович
Все (4)
Номер заявки
2018104854
Дата подачи заявки
08.02.2018
Опубликовано
29.10.2018
Страна
RU
Как управлять
интеллектуальной собственностью
Чертежи 
1
Реферат

Изобретение относится к области теплоэнергетики. Бестопливная тригенерационная установка включена между газопроводом высокого давления и газопроводом низкого давления, разделенными первым дросселем. Установка содержит последовательно установленные первый теплообменник, детандер с электрическим генератором и второй теплообменник, соединенный с потребителем электроэнергии, тепла и холода. Установка также содержит последовательно соединенные компрессор, испаритель и второй дроссель, а также третий теплообменник, выход которого по хладагенту соединен с входом в компрессор. Третий теплообменник соединен с источником тепла низкого температурного потенциала. Установка снабжена конденсатором, включенным между компрессором и вторым дросселем и соединенным с линией отвода промежуточного теплоносителя в первый теплообменник, содержащей первый регулирующий клапан с электроприводом. Четвертый теплообменник соединен линией отвода промежуточного теплоносителя, содержащей второй регулирующий клапан с электроприводом, с конденсатором. Электроприводы соединены с генератором. Четвертый теплообменник соединен с потребителем электроэнергии, тепла и холода. Технический результат заключается в возможности производства тепла для потребителя. 1 ил.

Формула изобретения

Бестопливная тригенерационная установка, включенная между газопроводом высокого давления и газопроводом низкого давления, разделенными первым дросселем, содержащая линию подачи газа на детандер и установленный на ней первый теплообменник, детандер, кинематически соединенный с электрическим генератором, соединенным первой электрической связью с потребителем электроэнергии, тепла и холода, второй электрической связью с двигателем, приводящим в движение компрессор, вход которого соединен с выходом испарителя, вход которого по хладагенту соединен со вторым дросселем, источник тепла низкого температурного потенциала, линию отвода газа после детандера в газопровод низкого давления, которая снабжена вторым теплообменником, установленным на линии отвода потока газа после детандера в газопровод низкого давления, соединенным с линией возврата первого хладоносителя от потребителя электроэнергии тепла и холода, первым насосом подачи первого хладоносителя, выход которого соединен с потребителем электроэнергии, тепла и холода, вторым насосом подачи второго хладоносителя потребителю электроэнергии тепла и холода из испарителя, выход которого соединен с потребителем электроэнергии, тепла и холода, третий теплообменник, выход которого по хладагенту соединен с входом в компрессор, а вход по теплу низкого температурного потенциала соединен линией подачи тепла низкого температурного потенциала с установленным на ней третьим насосом, а выход по теплу низкого температурного потенциала соединен с источником тепла низкого температурного потенциала, отличающаяся тем, что она снабжена конденсатором, включенным по контуру хладагента между компрессором и вторым дросселем и соединенным с первой линией отвода промежуточного теплоносителя в первый теплообменник для подогрева потока газа, содержащей первый регулирующий клапан с электроприводом, соединенным электрической связью с электрическим генератором, кинематически соединенным с детандером, и четвертым теплообменником, соединенным второй линией отвода промежуточного теплоносителя с конденсатором, содержащей второй регулирующий клапан с электроприводом, соединенным электрической связью с электрическим генератором, кинематически соединенным с детандером, выход четвертого теплообменника соединен с линией возврата первого теплоносителя от потребителя электроэнергии, тепла и холода и с четвертым насосом подачи первого теплоносителя, выход которого соединен с потребителем электроэнергии, тепла и холода, и пятым насосом возврата промежуточного теплоносителя в конденсатор.

Описание

[1]

Изобретение относится к области теплоэнергетики и касается детандер-генераторных агрегатов (ДГА) и парокомпрессионных термотрансформаторов (ПКТТ) для производства электроэнергии тепла и холода при использовании технологических перепадов давления транспортируемого природного газа на станциях технологического понижения давления (газораспределительных станциях и газорегуляторных пунктах) системы газоснабжения.

[2]

Известна предназначенная для бестопливной генерации электроэнергии детандер-генераторная установка, содержащая трубопровод высокого давления, установленные по ходу газа и последовательно соединенные теплообменник, детандер, кинематически соединенный с электрическим генератором, соединенным первой электрической связью с потребителем электроэнергии, второй электрической связью с двигателем, приводящим в движение компрессор, вход которого соединен с выходом испарителя, вход которого через дросселирующее устройство соединен с выходом теплообменника, образуя термотрансформатор (ТТ), в котором для подогрева газа перед детандером используется теплота вторичных энергетических ресурсов низкого потенциала или теплота окружающей среды. Недостатком такой установки является отсутствие возможности получения холода и тепла различных температурных потенциалов для передачи их потребителю. (Агабабов B.C. Способ работы детандерной установки и устройство для его осуществления / Патент на изобретение №2150641. Россия. Бюл. №16. 10.06.2000 г. Приоритет от 15.06.99.)

[3]

Известна бестопливная установка для централизованного комбинированного электро- и хладоснабжения, включенная между газопроводом высокого давления и газопроводом низкого давления, разделенных первым дросселем, содержащая линию подачи газа на детандер, установленный на ней первый теплообменник, детандер, кинематически соединенный с электрическим генератором, соединенным первой электрической связью с потребителем электроэнергии и холода и второй электрической связью с двигателем, приводящим в движение компрессор, вход которого соединен с выходом испарителя, вход которого по хладагенту через второй дроссель соединен с выходом первого теплообменника, источник тепла низкого температурного потенциала, линию отвода газа после детандера в газопровод низкого давления. Установка снабжена вторым теплообменником, установленным на линии отвода потока газа после детандера в газопровод низкого давления, соединенным с линией возврата первого хладоносителя от потребителя электроэнергии и холода, первым насосом подачи первого хладоносителя, выход которого соединен с потребителем электроэнергии и холода, вторым насосом подачи второго хладоносителя потребителю электроэнергии и холода из испарителя, выход которого соединен с потребителем электроэнергии и холода, при этом часть хладагента может быть направлена в третий дополнительный теплообменник, выход которого по хладагенту соединен со входом в компрессор, а вход по теплу низкого температурного потенциала соединен линией подачи тепла низкого температурного потенциала с установленным на ней третьим насосом, а выход по теплу низкого температурного потенциала соединен с источником тепла низкого температурного потенциала. Недостатком такой установки является отсутствие возможности получения тепла для передачи его потребителю при возможности регулирования подачи количества различных видов энергоносителей потребителю.

[4]

(Клименко А.В., Агабабов B.C., Байдакова Ю.О., Смирнова У.И., Такташев Р.Н. Бестопливная установка для централизованного комбинированного электро- и хладоснабжения. Патент на полезную модель RU 0000158931 U1. Россия. Бюл. №2 20.01.2016. Приоритет от 26.06.2015).

[5]

Техническая задача, решаемая изобретением, состоит в обеспечении возможности генерации без сжигания органического топлива для передачи потребителю, наряду с электроэнергией и холодом, тепла, при регулировании подачи количества различных видов энергоносителей потребителю.

[6]

Технический эффект, обеспечивающий решение технической задачи, заключается в дополнительной возможности производства тепла для потребителя и достигается тем, что известная бестопливная установка, включенная между газопроводом высокого давления и газопроводом низкого давления, разделенных первым дросселем, содержащая линию подачи газа на детандер и установленный на ней первый теплообменник, детандер, кинематически соединенный с электрическим генератором, соединенным первой электрической связью с потребителем электроэнергии, тепла и холода, второй электрической связью с двигателем, приводящим в движение компрессор, вход которого соединен с выходом испарителя, вход которого по хладагенту соединен со вторым дросселем, источник тепла низкого температурного потенциала, линию отвода газа после детандера в газопровод низкого давления, которая снабжена вторым теплообменником, установленным на линии отвода потока газа после детандера в газопровод низкого давления, соединенным с линией возврата первого хладоносителя от потребителя электроэнергии тепла и холода, первым насосом подачи первого хладоносителя, выход которого соединен с потребителем электроэнергии, тепла и холода, вторым насосом подачи второго хладоносителя потребителю электроэнергии тепла и холода из испарителя, выход которого соединен с потребителем электроэнергии, тепла и холода, третий теплообменник, выход которого по хладагенту соединен со входом в компрессор, а вход по теплу низкого температурного потенциала соединен линией подачи тепла низкого температурного потенциала с установленным на ней третьим насосом, а выход по теплу низкого температурного потенциала соединен с источником тепла низкого температурного потенциала, согласно изобретению она снабжена конденсатором, включенным по контуру хладагента между компрессором и вторым дросселем и соединенным с первой линией отвода промежуточного теплоносителя в первый теплообменник для подогрева потока газа, содержащей первый регулирующий клапан с электроприводом, соединенным электрической связью с электрическим генератором, кинематически соединенным с детандером, и четвертым теплообменником, соединенным второй линией отвода промежуточного теплоносителя с конденсатором, содержащей второй регулирующий клапан с электроприводом, соединенным электрической связью с электрическим генератором, кинематически соединенным с детандером, выход четвертого теплообменника соединен с линией возврата первого теплоносителя от потребителя электроэнергии, тепла и холода и с четвертым насосом подачи первого теплоносителя, выход которого соединен с потребителем электроэнергии, тепла и холода, и пятым насосом возврата промежуточного теплоносителя в конденсатор.

[7]

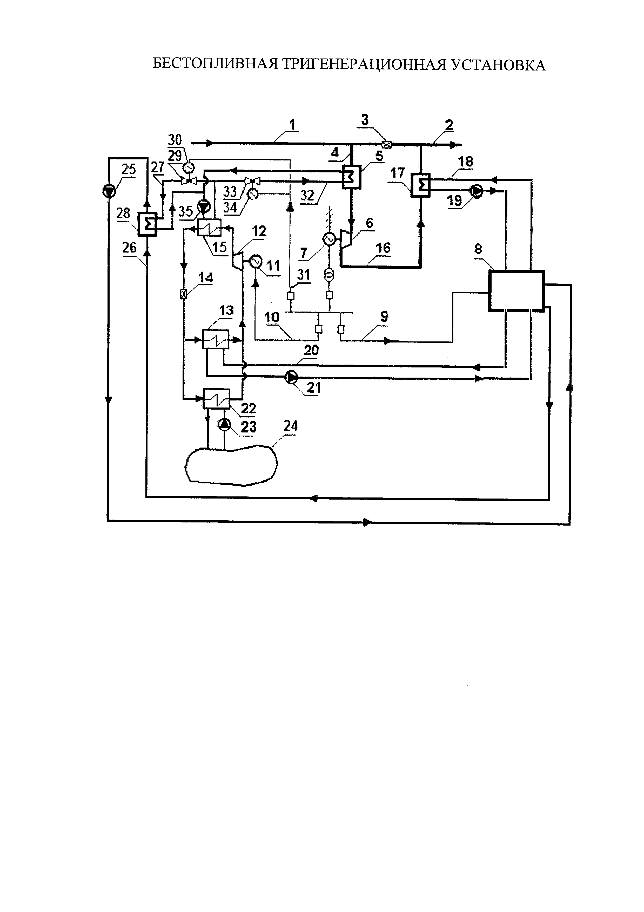
На рисунке приведена принципиальная схема бестопливной установки для централизованного комбинированного электро-, тепло- и хладоснабжения.

[8]

Бестопливная тригенерационная установка, включенная между газопроводом 1 высокого давления и газопроводом 2 низкого давления, разделенных первым дросселем 3, содержит линию 4 подачи газа на детандер с установленным на ней первым теплообменником 5 подогрева газа перед детандером, детандер 6, кинематически соединенный с электрическим генератором 7, образующим ДГА и соединенным с внешним потребителем электроэнергии, тепла и холода 8 электрической связью 9, электрической связью 10 - с двигателем 11, приводящим в движение компрессор 12, вход которого соединен с выходом испарителя 13, вход которого по хладагенту через второй дроссель 14 соединен с выходом конденсатора 15, линия 16 отвода газа после детандера ДГА в газопровод 2 низкого давления снабжена вторым теплообменником 17 уменьшения температуры хладоносителя потоком газа после детандера, в который первый хладоноситель поступает по линии 18 возврата первого хладоносителя от потребителя электроэнергии, тепла и холода и, отдав свое тепло потоку газа после детандера, первым насосом 19 подачи первого хладоносителя направляется потребителю электроэнергии, тепла и холода 8, при этом второй хладоноситель, поступающий в испаритель термотрансформатора по линии 20 возврата второго хладоносителя от потребителя электроэнергии, тепла и холода 8 в испаритель 13, отдав тепло хладагенту в испарителе 13, вторым насосом 21 из испарителя 13, направляется потребителю электроэнергии, тепла и холода 8, при этом часть хладагента может быть направлена в третий теплообменник 22 для испарения рабочего тела термотрансформатора теплом низкого температурного потенциала, которое подается в третий теплообменник 22 третьим насосом 23 подачи тепла низкого температурного потенциала из источника теплоты низкого температурного потенциала 24. Организовано производство и подача тепла потребителю электроэнергии, тепла и холода 8, подача тепла потребителю обеспечивается за счет работы четвертого насоса 25 и возврат теплоносителя по обратной линии теплоносителя 26, подогрев теплоносителя для потребителя осуществляется от второй линии отвода промежуточного теплоносителя 27 из конденсатора 15 термотрансформатора через теплообменник 28, регулирование расхода промежуточного теплоносителя обеспечивается установленным на второй линии отвода промежуточного теплоносителя 27 второго регулирующего клапана 29 с электроприводом 30, соединенным электрической связью 31 с электрическим генератором 7, кинематически соединенным с детандером 6. Другая часть промежуточного теплоносителя из конденсатора 15 термотрансформатора по первой линии отвода промежуточного теплоносителя 32 используется для подогрева потока газа в первом теплообменнике 5, регулирование расхода промежуточного теплоносителя обеспечивается установленным на первой линии отвода промежуточного теплоносителя 32 первого регулирующего клапана 33 с электроприводом 34, соединенным электрической связью 31 с электрическим генератором 7, кинематически соединенным с детандером 6. Циркуляция и возврат промежуточного теплоносителя в конденсатор 15 термотрансформатора обеспечивается работой пятого насоса 35.

[9]

Установка работает следующим образом.

[10]

Транспортируемый природный газ, поступающий на станцию понижения давления по газопроводу 1 высокого давления, направляется частично в первый дроссель 3, частично по линии 4 - в теплообменник 5 подогрева газа перед детандером. После теплообменника 5 газ поступает в детандер 6, где часть энергии потока газа преобразуется в механическую энергию, которая, в свою очередь, преобразуется в электроэнергию в генераторе 7. В результате давление и температура потока газа уменьшаются до необходимой величины. В зависимости от степени повышения температуры потока газа в теплообменнике 5, которая может регулироваться за счет изменения параметров греющей среды, поступающей в теплообменник, его температура на выходе из детандера при существующих параметрах в системе газоснабжения может принимать отрицательные значения (до минус 80-минус 100°С), уровень которых достаточен для организации централизованного хладоснабжения практически любых промышленных и социально-бытовых объектов. После детандера 6 поток газа по линии 16 направляется в теплообменник 17, служащий для уменьшения температуры поступающего в него по линии 18 от потребителя электроэнергии, тепла и холода 8 первого хладоносителя, после чего поток газа поступает в газопровод 2 низкого давления. Первый хладоноситель, температура которого в теплообменнике 17 снижается до необходимого уровня, насосом 19 направляется потребителю электроэнергии, тепла и холода 8. Выработанная генератором 7 электроэнергия частично по линии 9 передается потребителю электроэнергии, тепла и холода 8, частично по линии 10 направляется на электродвигатель 11, служащий для привода компрессора 12 и частично по линии 31 на электродвигатели 30 и 34, служащие для привода регулирующих клапанов 29 и 33, соответственно.

[11]

Подогрев потока газа в теплообменнике 5 производится за счет промежуточного теплоносителя, поступающего в него по первой линии отвода промежуточного теплоносителя 32 из конденсатора 15 термотрансформатора. Регулирования расхода направляемого промежуточного теплоносителя осуществляется за счет регулирующего клапана 33, установленного на первой линии отвода промежуточного теплоносителя, соединенного с электроприводом 34.

[12]

Подогрев промежуточного теплоносителя производится в конденсаторе 15 за счет рабочего тела (хладагента) парокомпрессионного термотрансформатора, поступающего в него в парообразном состоянии из компрессора 12. В конденсаторе рабочее тело переходит из газообразной в жидкую фазу, отдавая тепло потоку промежуточного теплоносителя.

[13]

После конденсатора 15 хладагент направляется во второй дроссель 14 термотрансформатора, где его давление снижается до необходимого по условиям эксплуатации уровня, после чего хладагент поступает в испаритель 13, в который поступает также поток второго хладоносителя от потребителя электроэнергии, тепла и холода по линии 20. Давление рабочего тела в испарителе 13 с помощью дросселирующего устройства 14 поддерживается на таком уровне, чтобы соответствующая ему температура насыщения была достаточно ниже температуры поступающего в испаритель 13 по линии 20 второго хладоносителя от потребителя электроэнергии, тепла и холода 8. Хладагент в испарителе 13 за счет тепла, отбираемого им от потока второго хладоносителя, переходит из жидкой фазы в газообразную и направляется в компрессор 12 термотрансформатора, где происходит его сжатие до необходимого давления, определяемого требуемым уровнем температур в теплообменниках 5 и 28. Из испарителя 13 второй хладоноситель насосом 21 направляется потребителю электроэнергии, тепла и холода 8. В тех случаях, когда суммарное тепло, предаваемое потоку хладагента вторым хладоносителем в испарителе 13 и выработанное при работе электродвигателя 11, недостаточно для повышения температуры потока хладагента до необходимого уровня, часть хладагента направляется в дополнительный теплообменник 22 для испарения рабочего тела термотрансформатора теплом низкого температурного потенциала. Испарение хладагента в дополнительном теплообменнике 22 происходит за счет потока тепла низкого температурного потенциала, подаваемого в дополнительный теплообменник 22 насосом 23, либо из природного источника тепла низкого температурного потенциала 15, либо из системы сбросного тепла промышленного предприятия.

[14]

Потоки первого и второго хладоносителей, направляемых потребителю электроэнергии, тепла и холода 8, могут иметь разные температурные уровни. Это определяется тем, что для их генерации используются различные агрегаты, а также возможностью индивидуального независимого регулирования в достаточно для практического использования широком диапазоне уровня температур хладоносителей.

[15]

Подача тепла потребителю обеспечивается за счет работы четвертого насоса 25 при температуре до 90°С и возврат теплоносителя по обратной линии теплоносителя 26 при температуре до 70°С, а подогрев теплоносителя для потребителя осуществляется от второй линии отвода промежуточного теплоносителя 27 при температуре до 110°С из конденсатора 15 через теплообменник 28. Регулирования расхода промежуточного теплоносителя происходит за счет регулирующего клапана 29, установленного на второй линии подачи промежуточного теплоносителя, соединенного с электроприводом 30. Циркуляция и возврат промежуточного теплоносителя в конденсатор 15 происходит за счет работы пятого насоса 35.

Как компенсировать расходы
на инновационную разработку
Похожие патенты