патент
№ RU 2601879
МПК E21B37/00

СПОСОБ ОЧИСТКИ ПРИЗАБОЙНОЙ ЗОНЫ ПЛАСТА НАГНЕТАТЕЛЬНОЙ СКВАЖИНЫ ПОСЛЕ ПРОВЕДЕНИЯ ГИДРАВЛИЧЕСКОГО РАЗРЫВА ПЛАСТА

Авторы:
Насыбуллин Арслан Валерьевич
Номер заявки
2015148176/03
Дата подачи заявки
09.11.2015
Опубликовано
10.11.2016
Страна
RU
Как управлять
интеллектуальной собственностью
Чертежи 
1
Реферат

Изобретение относится к нефтедобывающей промышленности, а именно к способам очистки призабойных зон низкопроницаемых пластов в нагнетательных скважинах после проведения в них гидравлического разрыва пласта (ГРП). После проведения ГРП в скважину спускают колонну НКТ с пакером, производят замену скважинной жидкости на пену и посадку пакера над пластом, последовательно производят закачку в три цикла путем надавливания на пласт водогазовой смесью - пеной. Давление закачки пены в пласт с каждым циклом надавливания увеличивают ступенчато с равномерным шагом до значения, не превышающего в последнем цикле надавливания давления ГРП. Каждый цикл надавливания состоит из трех технологических операций, заключающихся в закачке пены в пласт по колонне НКТ до давления, соответствующего каждому циклу с последующим стравливанием давления через колонну НКТ с открытием крана на устьевой арматуре и изливом отработанной пены через штуцер. Проходной диаметр штуцера уменьшают с увеличением давления в каждом цикле надавливания на пласт пеной, причем с каждой технологической операцией сброс давления от давления закачки производят ступенчато с равномерным шагом до атмосферного в последней технологической операции. По окончании каждого цикла надавливания производят распакеровку, замену штуцера на больший проходной диаметр и обратную промывку скважины, далее производят посадку пакера для проведения следующего цикла. Повышается эффективность очистки, снижаются потери приемистости низкопроницаемых пластов, расширяются функциональные возможности способа независимо от наличия близкорасположенной добывающей скважины. 3 ил.

Формула изобретения

Способ очистки призабойной зоны пласта нагнетательной скважины после проведения гидравлического разрыва пласта - ГРП, включающий спуск в скважину колонны насосно-компрессорных труб - НКТ, закачку водогазовой смеси в нагнетательную скважину, манипулирование задвижками водовода и устьевой арматуры нагнетательной скважины и излив с утилизацией выносимых из призабойной зоны пласта кольматанта и газа из нагнетательной скважины в емкость, расположенную в приустьевой зоне этой скважины, отличающийся тем, что после проведения ГРП в скважину спускают колонну НКТ с пакером, производят замену скважинной жидкости на пену и посадку пакера над пластом, последовательно производят закачку в три цикла путем надавливания на пласт водогазовой смесью - пеной, при этом давление закачки пены в пласт с каждым циклом надавливания увеличивают ступенчато с равномерным шагом до значения, не превышающего в последнем цикле надавливания давления ГРП, при этом каждый цикл надавливания состоит из трех технологических операций, заключающихся в закачке пены в пласт по колонне НКТ до давления, соответствующего каждому циклу с последующим стравливанием давления через колонну НКТ с открытием крана на устьевой арматуре и изливом отработанной пены через штуцер, при этом проходной диаметр штуцера уменьшают с увеличением давления в каждом цикле надавливания на пласт пеной, причем с каждой технологической операцией сброс давления от давления закачки производят ступенчато с равномерным шагом до атмосферного в последней технологической операции, по окончании каждого цикла надавливания производят распакеровку, замену штуцера на больший проходной диаметр и обратную промывку скважины промывочной жидкостью, причем после промывки производят посадку пакера для проведения следующего цикла.

Описание

[1]

Изобретение относится к нефтедобывающей промышленности, а именно к способам очистки призабойных зон низкопроницаемых пластов в нагнетательных скважинах после проведения в них гидравлического разрыва пласта.

[2]

Известен способ очистки призабойной зоны скважин импульсным дренированием (патент RU №2159326, МПК Е21В 43/25, опубл. 20.11.2000 г., Бюл. №32), включающий формирование депрессионного перепада давления между призабойной зоной пласта и полостью насосно-компрессорных труб (НКТ), стравливание давления при интенсивном передвижении флюида из призабойной зоны пласта по НКТ к поверхности при резком открытии прерывателем полости насосно-компрессорных труб, создание периодических импульсов давления в призабойной зоне пласта путем коммутации прерывателем потока жидкости. Депрессионный перепад давления между призабойной зоной пласта и полостью НКТ формируют путем закачки флюида в затрубное пространство скважины при закрытии прерывателем полости НКТ, стравливание производят при закрытии на устье полости затрубного пространства и резком открытии прерывателем полости НКТ, периодические импульсы давления создают в виде затухающей стоячей волны, перемещающейся по полости НКТ на каждом этапе стравливания давления путем резкого перекрытия полости НКТ прерывателем в период наиболее интенсивного подъема флюида из скважины, затухающие колебания контролируют по устьевому датчику давления, установленному в полости НКТ, и прерывают в начальный период депрессионного подъема давления на уровне призабойной зоны путем открытия прерывателем полости НКТ, этапы стравливания, формирования импульсов давления и прерывания последних повторяют до снижения сформированного перепада давления, циклы формирования перепада давления, этапы стравливания с формированием импульсов давления проводят до тех пор, пока текущее время формирования перепада давления, контроль за которым производят на каждом цикле и которое возрастает на первых циклах при одной и той же производительности закачки флюида, не сравняется с временем предыдущего цикла, при этом в качестве закачиваемого в скважину флюида для обработки нагнетательных скважин используют техническую воду в композиции с химическими реагентами, в частности техническую воду.

[3]

Недостатками данного способа являются:

[4]

- во-первых, низкая эффективность способа, амплитуда волны быстро затухает, требуются регулярный долив жидкости в скважину для поддержания необходимого давления и возбуждение колебаний открыванием и закрыванием прерывателя потока;

[5]

- во-вторых, низкое качество очистки призабойной зоны пласта, связанное с тем, что в процессе реализации способа применяют техническую воду, несовместимую с пластовой водой;

[6]

- в-третьих, низкая эффективность очистки призабойной зоны нагнетательной скважины после проведения гидравлического разрыва пласта (ГРП), обусловленная тем, что излив из нагнетательной скважины производят с высокой скоростью с возникновением гидроудара, при этом происходит резкий неполный (частичный) вынос загрязнений (кольматанта) из пор пород в призабойной зоне пласта в ствол скважины, что не позволяет восстановить проницаемость призабойной зоны пласта в полной мере. Это приводит к резкому снижению приемистости призабойной зоны пласта нагнетательной скважины сразу после начала эксплуатации скважины, что негативно отражается на результате ГРП.

[7]

Наиболее близким по технической сущности является способ очистки призабойной зоны пласта нагнетательной скважины (патент RU №2332557, МПК Е21В 37/00, опубл. 27.08.2008 г., Бюл. №24), включающий закачку воды в нагнетательную скважину, манипулирование задвижками водовода и устьевой арматуры нагнетательной скважины и излив воды с загрязнениями из призабойной зоны пласта, при этом непосредственно перед изливом осуществляют закачку водогазовой смеси в суммарном объеме не менее суммы внутреннего объема спущенных в забой НКТ, внутреннего объема эксплуатационной колонны, заключенного между башмаком НКТ и подошвой нижнего перфорированного пласта, а также объема перфорированного пласта с учетом его пористости в радиусе, охваченном изливом, после чего производят излив жидкости с утилизацией выносимых из призабойной зоны пласта кольматанта и газа, при этом излив из нагнетательной скважины осуществляют в емкость, расположенную в приустьевой зоне этой скважины с максимальным расходом.

[8]

Недостатками данного способа являются:

[9]

- во-первых, низкая эффективность очистки призабойной зоны, обусловленная тем, что излив из нагнетательной скважины производят с максимальным расходом, при этом происходит резкий нерегулируемый вынос загрязнений и газа из пор пород в призабойной зоне пласта в ствол скважины, при этом частично загрязнения остаются в порах пласта, те которые не успели «оторваться» из пор пород пласта. В основном это мелкие фракции загрязнений, которые не позволяют в дальнейшем в полной мере восстановить проницаемость призабойной зоны пласта, что приводит к потере приемистости низкопроницаемого пласта нагнетательной скважины сразу после начала эксплуатации скважины, а это негативно отражается на результате ГРП в целом;

[10]

- во-вторых, низкое качество очистки призабойной зоны пласта, связанное с тем, что в процессе реализации способа применяют водогазовую смесь, несовместимую с пластовой водой и вызывающую набухание глин пласта, а низкое содержание газа в смеси (от 1:1 до 1:5) ухудшает разрушение заиленных отложений в порах призабойной зоны пласта;

[11]

- в-третьих, ограниченное применение, так как при реализации способа в качестве газа применяют попутный нефтяной газ из близкорасположенной добывающей скважины, поэтому при отсутствии последней вблизи нагнетательной скважины реализация способа невозможна. Кроме того, при использовании попутного нефтяного газа возникает взрыво- и пожароопасная ситуация на скважине.

[12]

Техническими задачами предлагаемого изобретения являются повышение эффективности очистки призабойной зоны пласта нагнетательной скважины после проведения ГРП и снижение потери приемистости низкопроницаемых пластов при последующей эксплуатации скважины за счет обеспечения полного выноса загрязняющих частиц различных фракций из призабойной зоны пласта плавным регулируемым изливом жидкости с загрязнениями и газом в емкость через штуцер, повышение качества очистки за счет применения пены, в состав которой входит жидкость, совместимая с пластовой водой и породами, слагающими пласт, а также расширение функциональных возможностей способа и исключение возникновения взрывопожароопасной ситуации на скважине.

[13]

Поставленные технические задачи решаются способом очистки призабойной зоны пласта нагнетательной скважины после проведения гидравлического разрыва пласта - ГРП, включающим спуск в скважину колонны насосно-компрессорных труб - НКТ, закачку водогазовой смеси в нагнетательную скважину, манипулирование задвижками водовода и устьевой арматуры нагнетательной скважины, излив с утилизацией выносимых из призабойной зоны пласта загрязнений и газа из нагнетательной скважины в емкость, расположенную в приустьевой зоне этой скважины.

[14]

Новым является то, что после проведения ГРП в скважину спускают колонну НКТ с пакером, производят замену скважинной жидкости на пену и посадку пакера над пластом, последовательно производят закачку в три цикла путем надавливания на пласт водогазовой смесью - пеной, при этом давление закачки пены в пласт с каждым циклом надавливания увеличивают ступенчато с равномерным шагом до значения, не превышающего в последнем цикле надавливания давления ГРП, при этом каждый цикл надавливания состоит из трех технологических операций, заключающихся в закачке пены в пласт по колонне НКТ до давления, соответствующего каждому циклу с последующим стравливанием давления через колонну НКТ с открытием крана на устьевой арматуре и изливом отработанной пены через штуцер, при этом проходной диаметр штуцера уменьшают с увеличением давления в каждом цикле надавливания на пласт пеной, причем с каждой технологической операцией сброс давления от давления закачки производят ступенчато с равномерным шагом до атмосферного в последней технологической операции, по окончании каждого цикла надавливания производят распакеровку, замену штуцера на больший проходной диаметр и обратную промывку скважины промывочной жидкостью, причем после промывки производят посадку пакера для проведения следующего цикла.

[15]

Сущность способа.

[16]

Причиной снижения приемистости скважин после ГРП является то, что закачиваемая в пласт вода всегда содержит в себе различного рода примеси. Фильтрация закачиваемой воды через пористую среду сопровождается снижением ее проницаемости и уменьшением содержания в фильтрате частиц всех размеров. Размер частиц, содержащихся в закачиваемой воде, должен быть либо очень малым, чтобы они могли транспортироваться на большие расстояния от забоя скважины и не заиливать призабойную зону, либо быть намного больше самых больших пор, чтобы они не имели возможности заходить в них и, следовательно, кольматировать поры. В этом случае большие частицы создают защитный экран высокой проницаемости для закачиваемой воды непосредственно на поверхности пористой среды. При закачке в пласт любых жидкостей имеет место снижение приемистости нагнетательных скважин. Установлено, что коллекторы с низкой проницаемостью кольматируются до более высоких значений быстрее, особенно при прокачке меньших объемов воды. Это всегда нужно иметь в виду и не относить процессы снижения проницаемости только за счет разбухания глин. Пласты с низкой проницаемостью при закачке неочищенной до высоких кондиций воды будут кольматированы в первые же часы работы скважин со всеми вытекающими отсюда последствиями. Обязательным элементом после проведения ГРП в нагнетательных скважинах должно быть последующее незамедлительное удаление из пластов попавших в них реагентов. Если вода не пройдет через закольматированные участки пласта, нефть из них вытеснена не будет.

[17]

Предлагаемый способ реализуется в нагнетательных скважинах с низкопроницаемыми пластами, характеризующихся кольматацией призабойной зоны пласта после проведения в них ГРП. Он осуществляется путем циклического надавливания на пласт пеной со ступенчатым увеличением давления и последующим постепенным ступенчатым сбрасыванием давления (регулируемым изливом) в скважине. Знакопеременные значительные по величине градиенты давления, образующиеся при распространении в пласт волны «репрессии-депрессии», разрушают структурные связи кольматанта в порах призабойной зоны низкопроницаемого пласта, образовавшегося там в результате выпадения примесей из воды, закачиваемой в пласт в процессе проведения ГРП, а ступенчатое увеличение скорости излива, регулируемое на устье скважины штуцерами, способствует постепенному выносу кольматанта из призабойной зоны пласта в ствол скважины.

[18]

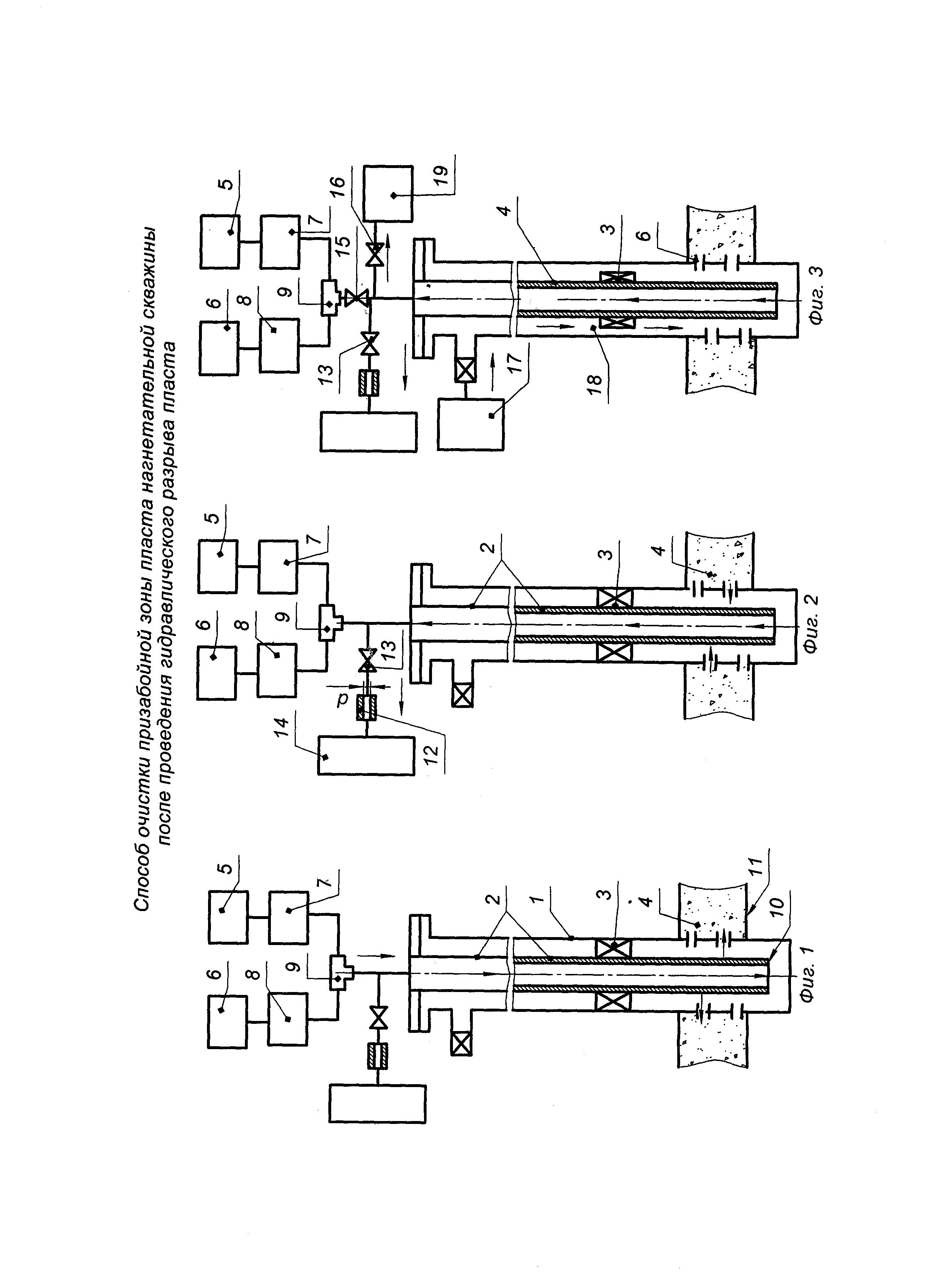
На фиг. 1, 2, 3 последовательно и схематично изображен процесс реализации предлагаемого способа очистки призабойной зоны пласта нагнетательной скважины после проведения ГРП.

[19]

Способ очистки призабойной зоны пласта нагнетательной скважины после проведения ГРП включает спуск в скважину 1 (см. фиг. 1) колонны НКТ 2 с пакером 3. На устье скважины готовят водогазовую смесь в виде пены, при этом жидкость, используемая в пене, должна быть совместимой с пластовой водой и слагающими пласт 4 породами. В качестве жидкости для приготовления пены используют жидкость, совместимую с пластовой водой и слагающими пласт породами, например пресную воду плотностью ρ=1020 кг/м3 с добавлением 3%-ного раствора хлористого кальция (CaCl2), что исключает набухание глин в пласте 4. А также используют кальций хлористый технический по ГОСТ 450-77. Для улучшения вспенивания жидкости и повышения эффективности процесса в жидкость добавляют 1%-ный раствор неионогенного поверхностно-активного вещества (НПАВ) ОП-10, используемый по ГОСТ 8433-81. Данную жидкость готовят в емкости 5 на устье скважины 1.

[20]

В качестве газа для приготовления пены используют инертный газ, например азот, который доставляют на скважину 1 в цистерне 6 или вырабатывают непосредственно на устье скважины 1 при помощи азотной станции. Инертный газ исключает создание на скважине взрыво- и пожароопасной ситуации.

[21]

Далее на устье скважины 1 обвязывают насосный агрегат 7 и газокомпрессорную установку 8 через тройник 9 с колонной НКТ 2. Насосный агрегат и газокомпрессорную установку используют любого известного производителя. Запускают в работу насосный агрегат 7, который производит закачку жидкости из емкости 5, и газокомпрессорную установку 8, которая подает азот из цистерны 6.

[22]

В колонну НКТ 2 подают пену с качеством пены 60-70, т.е. с содержанием газа (азота) 60-70% в объемной концентрации и 30-40% жидкости в объемной концентрации на 1 м3 пены. Качество пены 60-70 при ее закачке в скважину 1 по колонне НКТ 2 регулируют объемами подачи жидкости и газа, закачку осуществляют при помощи насосного агрегата 7 и газокомпрессорной установки 8.

[23]

Производят замену скважинной жидкости на пену по всему стволу скважины, т.е. в объеме скважины, например 22 м3. Производят посадку пакера 3 выше кровли пласта 4, при этом башмак 10 колонны НКТ 2 располагают ниже подошвы 11 пласта 4 на 3 м. Далее последовательно производят закачку в три цикла путем надавливания на пласт 4 пеной, при этом давление закачки пены в пласт с каждым циклом поднимают ступенчато с равномерным шагом до значения, не превышающего в последнем (третьем) цикле надавливания давления, при котором производился ГРП, например, на 10%. Например, давление ГРП в процессе его проведения составляло 23 МПа. Осуществляют три цикла надавливания до значений давления: 9,0; 15,0; и 21,0 МПа, при этом на устье скважины 1 на верхнем конце в колонну НКТ 2 при каждом цикле надавливания на пласт 4 пеной устанавливают соответствующий каждому значению давления штуцер 12 с проходным диаметром - d, равным 10, 8 и 6 мм соответственно, т.е. с увеличением давления надавливания на пласт 4 уменьшают пропускной диаметр штуцера 12.

[24]

Благодаря ступенчатому повышению давления закачки пены в каждом цикле происходят разупрочнение кольматантов (примесей) и отрыв их от стенок поровых каналов коллектора, а благодаря уменьшению пропускного диаметра штуцера с увеличением давления надавливания на пласт улучшаются условия выноса защемленных фаз газа, нефти и воды, интенсифицируются фильтрация и продвижение твердых и высоковязких частиц по поровой среде. Каждый цикл надавливания состоит из трех технологических операций, заключающихся в закачке пены в пласт 4 с качеством пены 60-70, т.е. с содержанием газа (азота) 60-70% в объемной концентрации и 30-40% жидкости в объемной концентрации на 1 м3 пены, при этом насосный агрегат 7 производит закачку жидкости из емкости 5, газокомпрессорная установка 8 подает азот из цистерны 6.

[25]

Технологические операции по закачке пены в пласт 4 (см. фиг. 2) по колонне НКТ 2 производят до давления, соответствующего каждому циклу с последующим сбросом давления через колонну НКТ 2 с открытием крана 13 на устьевой арматуре и изливом жидкости с утилизацией выносимых из призабойной зоны пласта кольматанта и газа из нагнетательной скважины 1 через штуцер 12 в емкость 14, расположенную в приустьевой зоне скважины 1.

[26]

Производят первый цикл надавливания пеной на пласт 4, состоящий из трех технологических операций по надавливанию пеной под давлением закачки 9,0 МПа. В каждой технологической операции сброс давления от давления закачки (9,0 МПа) производят ступенчато с равномерным шагом (9,0 МПа/3=3,0 МПа) по колонне НКТ 2 через штуцер 12 при открытом кране 13 с условием достижения нуля в последней (третьей) технологической операции. Таким образом, в первом цикле надавливания при первой технологической операции при достижении давления закачки 9,0 МПа сбрасывают давление на 3,0 МПа, т.е. до 6,0 МПа; при второй технологической операции при достижении давления закачки 9,0 МПа сбрасывают давление на 6,0 МПа, т.е. до 3,0 МПа; при третьей технологической операции при достижении давления закачки 9,0 МПа сбрасывают давление на 9,0 МПа, т.е. до атмосферного давления (до нуля).

[27]

Производят второй цикл надавливания пеной на пласт 4, также состоящий из трех технологических операций по надавливанию пеной под давлением закачки 15,0 МПа. В каждой технологической операции сброс давления от давления закачки (15,0 МПа) производят ступенчато с равномерным шагом (15,0 МПа/3=5,0 МПа) по колонне НКТ 2 через штуцер 12 при открытом кране 13 с условием достижения нуля в последней (третьей) технологической операции. Таким образом, во втором цикле надавливания при первой технологической операции при достижении давления закачки 15,0 МПа сбрасывают давление на 5,0 МПа, т.е. до 10,0 МПа; при второй технологической операции при достижении давления закачки 15 МПа сбрасывают давление на 10,0 МПа, т.е. до 5,0 МПа; при третьей технологической операции при достижении давления закачки 15,0 МПа сбрасывают давление на 15 МПа, т.е. до атмосферного давления (до нуля).

[28]

Производят третий цикл надавливания пеной на пласт 4, также состоящий из трех технологических операций по закачке пены в пласт 4 под давлением закачки 21,0 МПа. В каждой технологической операции сброс давления от давления закачки (21,0 МПа) производят ступенчато с равномерным шагом (21,0 МПа/3=7,0 МПа) по колонне НКТ 2 через штуцер 12 при открытом кране 13 с условием достижения атмосферного давления в последней (третьей) технологической операции. Таким образом, в третьем цикле надавливания при первой технологической операции при достижении давления закачки 21,0 МПа сбрасывают давление на 7,0 МПа, т.е. до 14,0 МПа; при второй технологической операции при достижении давления закачки 21,0 МПа сбрасывают давление на 14,0 МПа, т.е. до 7,0 МПа; при третьей технологической операции при достижении давления закачки 21,0 МПа сбрасывают давление на 21,0 МПа, т.е. до атмосферного давления (до нуля).

[29]

Излив через штуцер 12 со ступенчатым сбросом давления после каждой технологической операции создает в обратном потоке по колонне НКТ 2 пену с регулируемым газосодержанием, что обеспечивает оптимальный уровень депрессии на пласт 4 и наиболее благоприятные условия для извлечения загрязняющих жидких и твердых частиц (кольматанта) из поровой среды коллектора и их эффективного выноса по стволу скважины.

[30]

Повышение эффективности предлагаемого способа достигается за счет циклического глубокого воздействия упругими колебаниями давления пены на загрязненную призабойную зону пласта с регулируемой скоростью сброса давления (излива), и при этом в забое скважины создается пониженное давление, способствующее движению кольматирующих частиц и их выносу из призабойной зоны в скважину.

[31]

По окончании каждого цикла, т.е. три раза (между первым и вторым, вторым и третьим, после третьего), производят распакеровку пакера 3 (см. фиг. 3), закрывают краны 13, 15 и открывают кран 16, производят обратную промывку скважины 1, например, в объеме скважины, равном 22 м3, технологической жидкостью, например сточной водой плотностью ρ=1100 кг/м3. Закачку технологической жидкости осуществляют насосным агрегатом 17 любого известного производителя из автоцистерны (на фиг. 1, 2, 3 не показана) в межколонное пространство 18 (см. фиг. 3) и выходом по колонне НКТ 2 в желобную емкость 19. По окончании промывки после каждого цикла производят посадку пакера 3 для проведения следующего цикла.

[32]

После обратной промывки по окончании третьего цикла демонтируют оборудование на устье и извлекают колонну НКТ 2 с пакером 3 из скважины 1.

[33]

Предлагаемый способ очистки призабойной зоны пласта нагнетательной скважины позволяет:

[34]

- повысить эффективность очистки призабойной зоны пласта нагнетательной скважины после проведения ГРП и снизить потери приемистости низкопроницаемых пластов за счет обеспечения полного выноса загрязняющих частиц различных фракций из призабойной зоны пласта плавным регулируемым изливом жидкости с загрязнениями и газом в емкость через штуцер при последующей эксплуатации скважины;

[35]

- расширить функциональные возможности способа независимо от наличия близкорасположенной добывающей скважины;

[36]

- повысить качество очистки за счет применения пены, в состав которой входит жидкость, совместимая с пластовой водой и породами, слагающими пласт;

[37]

- исключить возникновение взрыво- и пожароопасной ситуации на скважине за счет применения инертного газа.

Как компенсировать расходы
на инновационную разработку
Похожие патенты