патент
№ RU 2400135
МПК A61B5/055

МАГНИТНО-РЕЗОНАНСНЫЙ ТОМОГРАФ ДЛЯ ОБСЛЕДОВАНИЯ КОНЕЧНОСТЕЙ

Авторы:
Мишкинис Александр Борисович
Номер заявки
2009121283/14
Дата подачи заявки
04.06.2009
Опубликовано
27.09.2010
Страна
RU
Как управлять
интеллектуальной собственностью
Чертежи 
6
Реферат

Изобретение предназначено для использования в медицине, а именно в ортопедической, травматологической и хирургической практике, и позволяет получать изображения суставов, мягких тканей и костей конечностей на основе ядерно-магнитного резонанса. Томограф содержит закрытый кожухом постоянный магнит с наконечниками на полюсах, градиентные и радиочастотную катушки, установленные внутри полости постоянного магнита, блок управления с пультом управления и системой диагностического изображения, ложе для исследуемой конечности, держатель для здоровой конечности и подвижное место для пациента. При этом постоянный магнит выполнен в виде открытого сверху U-образного ярма с симметрично установленными на его боковых плоскостях магнитными полюсами цилиндрической формы, набранными из секторов магнитного материала и закрытыми с торца полюсными наконечниками, каждый из которых состоит из основания с внешним опорным кольцом и коррекционных элементов, включающих центральный диск и внешнее кольцо. Кроме того, коррекционные элементы снабжены механизмом разворота относительно основания полюсного наконечника на угол от 0 до 5 градусов. Градиентные катушки каждой боковой плоскости установлены на плоском диске, закрепленном на внешнем опорном кольце полюсного наконечника, и отделены от радиочастотной катушки плоским электромагнитным экраном. Также радиочастотная катушка снабжена схемой автоматического переключения с приема на передачу и обратно. Изобретение облегчает настройку МРТ при введении его в эксплуатацию, а также обеспечивает оптимальные условия для пациента и медицинского персонала при позиционировани

Формула изобретения

1. Магнитно-резонансный томограф для обследования конечностей, содержащий закрытый кожухом постоянный магнит с наконечниками на полюсах, градиентные и радиочастотную катушки, установленные внутри полости постоянного магнита, блок управления с пультом управления и системой диагностического изображения, ложе для исследуемой конечности, держатель для здоровой конечности и подвижное место для пациента, отличающийся тем, что постоянный магнит выполнен в виде открытого сверху U-образного ярма с симметрично установленными на его боковых плоскостях магнитными полюсами цилиндрической формы, набранными из секторов магнитного материала и закрытыми с торца полюсными наконечниками, каждый из которых состоит из основания с внешним опорным кольцом и коррекционных элементов, включающих центральный диск и внешнее кольцо, снабженных механизмом их разворота относительно основания полюсного наконечника на угол от 0 до 5°, градиентные катушки каждой боковой плоскости установлены на плоском диске, закрепленном на внешнем опорном кольце полюсного наконечника и отделены от радиочастотной катушки плоским электромагнитным экраном, при этом радиочастотная катушка снабжена схемой автоматического переключения с приема на передачу и обратно.

2. Томограф по п.1, отличающийся тем, что механизм разворота коррекционных элементов полюсных наконечников состоит из шаровой опоры и трех винтов.

3. Томограф по п.1, отличающийся тем, что полюсные наконечники выполнены из магнитопласта.

4. Томограф по п.1, отличающийся тем, что держатель для здоровой конечности установлен на верхней поверхности кожуха постоянного магнита, по обе стороны от его полости.

Описание

[1]

Предполагаемое изобретение предназначено для использования в медицине, а именно в ортопедической, травматологической и хирургической практике, и позволяет получать изображения суставов, мягких тканей и костей конечностей на основе ядерно-магнитного резонанса.

[2]

Известен магнитно-резонансный томограф (МРТ) открытого типа для обследования конечностей MAGNETOM С фирмы «SIEMENS», содержащий постоянный магнит, радиочастотную катушку, блок электроники, стол для пациента и пульт управления (www.medial.siemens.com) [1].

[3]

Основным недостатком известного МРТ [1] является очень большая масса постоянного магнита 16 тонн, что затрудняет установку аппарата в клинике и существенно удорожает изделие.

[4]

Известен также МРТ, содержащий постоянный магнит, соленоидальную радиочастотную катушку, витки которой соединены взаимно параллельно, ложе для обследуемой конечности, блок электроники и пульт управления (Патент США №5543710 от 1994 г.; кл. 324/318) [2].

[5]

Недостатком известного объекта [ 2 ] является заметное падение чувствительности в зоне голеностопного сустава и пятки при исследовании ноги пациента.

[6]

Известен также МРТ для обследования конечностей, содержащий постоянный магнит, ложе для обследуемой ноги в форме сапога из магнито- и электроизоляционного материала, на котором навита радиочастотная катушка, блок электроники и пульт управления (патент RU № 2192165, кл. А61В 5/055) [3].

[7]

Известный МРТ [3] предназначен для исследования голеностопного сустава и пятки ноги пациента; на нем невозможно получать изображения коленного и локтевого суставов, что ограничивает сферу применения аппарата [3].

[8]

Наиболее близким по конструкции к заявляемому объекту является МРТ для обследования конечностей ARTOSCAN-C "Artoscan-C et al. Dedicated MRI Systems " 03.04.2004, www.esaote.comhttps://searchplatform.rospatent.gov.ru/patsearch/v0.2/media/des /Cfs…[4], содержащий закрытый кожухом постоянный магнит О-образной формы в своем вертикальном сечении, с наконечниками на полюсах, градиентные катушки, радиочастотные передающую и приемную катушки, установленные в зазоре между полюсами, ложе для объекта исследования, блок электроники, пульт управления, держатель для здоровой конечности и передвижное кресло пациента.

[9]

ARTOSCAN-C был выбран нами в качестве прототипа.

[10]

Основным недостатком прототипа является сложность его настройки при введении аппарата в эксплуатацию, что связано с отсутствием механизма коррекции его магнитного поля.

[11]

Другой недостаток прототипа выражается в сложности позиционирования исследуемой конечности в рабочем зазоре между полюсами магнита, что вызвано неудачным расположением держателя для здоровой конечности. Этот недостаток создает неудобства для пациента и обслуживающего персонала и может отрицательно повлиять на точность исследования.

[12]

Целью настоящего изобретения является облегчение настройки МРТ при введении его в эксплуатацию, а также обеспечение оптимальных условий для пациента и медицинского персонала при позиционировании обследуемой конечности на МРТ.

[13]

Для достижения поставленной цели в МРТ для обследования конечностей, содержащем закрытый кожухом постоянный магнит с наконечниками на полюсах, градиентные и радиочастотную катушки, установленные внутри полости постоянного магнита, блок управления с пультом управления и системой диагностического изображения, ложе для исследуемой конечности, держатель для здоровой конечности и подвижное место для пациента, постоянный магнит выполнен в виде открытого сверху U-образного ярма с симметрично установленными на его боковых плоскостях магнитными полюсами цилиндрической формы, набранными из секторов магнитного материала и закрытыми с торца полюсными наконечниками, каждый из которых состоит из основания с внешним опорным кольцом и коррекционных элементов, включающих центральный диск и внешнее кольцо, снабженных механизмом их разворота относительно основания полюсного наконечника на угол от 0 до 5 градусов, градиентные катушки каждой боковой плоскости установлены на плоском диске, закрепленном на внешнем опорном кольце полюсного наконечника и отделены от радиочастотной катушки плоским электромагнитным экраном, при этом радиочастотная катушка снабжена схемой автоматического переключения с приема на передачу и обратно.

[14]

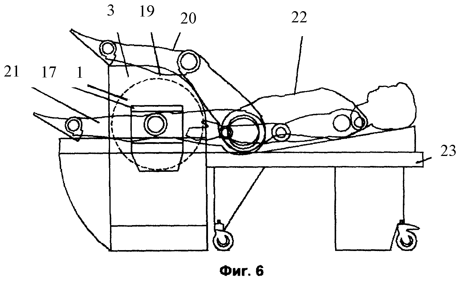
В дальнейшем изобретение поясняется чертежами и пояснением к ним. На фиг.1 представлен общий вид аппарата (без пульта управления); на фиг. 2 показано положение пациента при обследовании голени; на фиг. 3 дана конструкция магнита с радиочастотной катушкой; фиг.4 - это вид А-А фиг.3, а на фиг.5 представлена блок-схема МРТ, а на фиг. 6 показано положение пациента при обследовании коленного сустава.

[15]

Предлагаемый магнитно-резонансный ортопедический томограф является медицинским диагностическим аппаратом, предназначенным для получения изображений суставов конечностей в плоскопараллельных срезах в трех основных сечениях (аксиальном, сагиттальном и коронарном), и в наклонных сечениях с углом наклона до 45 градусов.

[16]

Томограф позволяет визуализировать и исследовать внутренние структуры конечностей и суставов: голени, коленного сустава, стопы, лодыжки, локтевого сустава, запястья, кисти.

[17]

МРТ для обследования конечностей имеет постоянный магнит 1, выполненный в виде открытого сверху U-образного ярма, тыльная сторона которого закреплена на опорных винтах 2 (фиг. 3, 4). Магнит 1 закрыт защитным кожухом 3 (фиг. 1,2). Индукция статического поля магнита 1 в его рабочей части в пределах сферы диаметром 180 мм составляет 0,23 Тл. Полюса 4 и 5 магнита 1 имеют цилиндрическую форму и набраны из секторов магнитного материала. Такая конструкция полюсов 4, 5 магнита 1 препятствует возникновению индукционных токов (токов Фуко), снижающих интенсивность и однородность магнитного поля. На торцах полюсов 4, 5 закреплены полюсные наконечники 6. Каждый полюсной наконечник 6 состоит из плоского основания цилиндрической формы 7 с внешним опорным кольцом 8 и коррекционными элементами, содержащими центральный диск 9 и внешнее кольцо 10, снабженные механизмом их разворота относительно основания 7 на угол от 0 до 5 градусов. Механизм разворота коррекционных элементов состоит из шаровой опоры и трех винтов, установленных через 120°. Корректировка наклона цилиндрического диска 9 производится тремя винтами 11, вершина которых опирается в основание полюсов 4 (5), в центре которых подвижно закреплена головка шаровой опоры 12 (см фиг. 3). Корректировка положения внешнего кольца 9 производится тремя винтами 13, головка 14 которых имеет шарообразную форму и подвижно закреплена в кольце 10. Полюсные наконечники 6 изготовлены из магнитопласта - материала с магнитной проницаемостью µ=100, поле насыщения 1,2-1,6 Т и электрической проводимостью до 20%. Механизм разворота коррекционных элементов полюсных наконечников предназначен для тонкой настройки магнита перед введением МРТ в эксплуатацию. При наклоне цилиндрического диска 9 и внешнего кольца 10 на угол от 0° до 5° изменяется форма магнитного поля в зазоре между наконечниками магнита, что облегчает проведение его «тонкой» корректировки и позволяет получить диагностическое изображение высокого качества. Такая настройка производится только один раз, при введении МРТ в работу в клинике. Градиентные катушки 15 в количестве трех штук нанесены на плоском диске 16 и закреплены на внешнем опорном кольце 8 полюсных наконечников 6. Градиентные катушки отделены от приемно-передающей радиочастотной катушки 17 плоским электромагнитным экраном (на фиг. не показан). Радиочастотная соленоидальная катушка 17 располагается между полюсными наконечниками 6, в рабочем положении ее геометрическая ось проходит перпендикулярно геометрической оси полюсных наконечников 6 и параллельно основанию МРТ. В радиочастотную катушку 17 встроена схема автоматического переключения с приема на передачу и обратно, поэтому ее правомерно назвать приемно-передающей катушкой. Внутри радиочастотной катушки 17 проходит ложе 18 для обследуемой конечности, изготовленное из магнитонейтрального материала, например пластика.

[18]

Использование одной приемно-передающей радиочастотной катушки в предлагаемом МРТ не случайно. Дело в том, что в традиционной схеме, при использовании двух радиочастотных катушек, уменьшается рабочий зазор магнита, что ограничивает размеры объектов исследования.

[19]

Автоматичность схемы с одной приемно-передающей радиочастотной катушкой выполняется следующим образом:

[20]

- в момент передачи на схему катушки от передатчика подается большое напряжение, которое открывает управляющий диод, коммутирует передающий режим работы катушки;

[21]

- в момент приема сигнал маленький, диод закрыт и коммутируется приемный режим катушки.

[22]

На верхней части защитного кожуха 3, слева и справа от полости магнита 1, имеется держатель 19, в форме углубления, для здоровой конечности 20 (фиг. 2, 6).

[23]

Градиентные 15 и радиочастотная 17 катушки электрически соединены с электронным блоком (на фиг не показан), включающим персональный компьютер, в задачи которого входит управление съемкой, формирования специального электрического сигнала на градиентные и радиочастотную катушки, обработка электрического сигнала, снимаемого с радиочастотной катушки и формирование диагностического изображения. Управление электронным блоком производится врачом через консоль оператора (фиг. 5).

[24]

Приведем пример использования МРТ при исследовании нижних конечностей (коленного сустава) (фиг. 6).

[25]

В процессе обследования, например, ноги, голень 21 пациента находится на ложе 18 внутри радиочастотной катушки 17, а сам пациент 22 - на специализированной тележке 23 (фиг. 2, 6). Свободная нога 20 помещается на держателе 19, выполненном в виде углубления на верхней части защитного кожуха 3, слева и справа от зазора магнита.

[26]

При исследовании коленного сустава, голени, ступни и лодыжки используется катушка для колена. Последовательность действий следующая:

[27]

- расположить пациента ногами к магниту;

[28]

- надвинуть катушку на ногу пациента в положение, при котором центр катушки совпадает с центром области обследования;

[29]

- расположить ногу с катушкой выше верхней кромки магнита над U-образной выемкой;

[30]

- опустить ногу с катушкой в U-образную выемку магнита так, чтобы катушка вошла в центрирующий уловитель и зафиксировалась в центре магнита;

[31]

- для более удобного положения ног рекомендуется вторую ногу разместить на кожухе магнита;

[32]

1 - для уточнения позиционирования ноги относительно катушки запустить программу xscout в сагиттальном сечении и получить изображение;

[33]

2 - проверить, соответствует ли центр области исследования центру полученного изображения;

[34]

3 - при необходимости, при неподвижном положении катушки, сместить пациента вперед или назад и повторить программу xscout;

[35]

4 - начать сканирование по выбранному протоколу

[36]

При обследовании конечность 21 всегда располагается в катушке 17 стандартным образом, параллельно основанию магнита. Для того, чтобы получить плоскость среза под углом, например 45°, достаточно перераспределить токи в градиентных катушках, соотношение которых определяет угол наклона. Так, если рассматривать плоскость XOY, то есть Z будет направлена вертикально за счет того, что ток в градиентную катушку Z не подается. Если теперь часть тока обмотки Х подать на Z, то плоскость сечения повернется относительно оси Y.

[37]

Пояснение к фиг. 5

[38]

Радиочастотная клетка представляет собой замкнутую клетку Фарадея, внутри которой устанавливается магнитная система. Назначение радиочастотной клетки - подавление внешних радиопомех, воспринимаемых по эфиру приемными катушками. Для исключения прохождения радиопомех по соединительным кабелям все соединительные кабели между магнитной системой с одной стороны, и силовой стойкой и консолью оператора с другой стороны, вводятся в радиочастотную клетку через блок радиочастотных фильтров.

[39]

В стойке обеспечения смонтированы усилитель градиентов, передатчик, система управления термостатированием магнита и система управления компенсацией внешних электромагнитных полей.

[40]

Консоль оператора включает в себя головной персональный компьютер (ПК) и спектрометр, управляющий работой систем томографа и конструктивно размещенный в системном блоке головного ПК.

[41]

Рабочая станция представляет собой вспомогательный ПК, соединенный локальной сетью с основным ПК. Рабочая станция обеспечивает возможность параллельной работы - в процессе сканирования текущего пациента врач может на компьютере рабочей станции анализировать, описывать и выводить твердые копии изображений пациентов, уже прошедших обследование на томографе.

[42]

На жестком диске рабочей станции также ведется архив изображений.

[43]

Для размещения оборудования томографа требуется помещение площадью не менее 20 м2.

[44]

Компактность МРТ в сочетании со скромными требованиями к рабочему помещению и возможность работы от стандартной сети 220 В позволяют эффективно использовать его как в стационарах, так и в поликлинических отделениях для диагностики, прежде всего, травматологических (в т.ч. спортивных) повреждений конечностей, а также ортопедических, ревматологических и других заболеваний опорно-двигательной системы.

Как компенсировать расходы
на инновационную разработку
Похожие патенты