патент
№ RU 2631533
МПК G02B7/00

Оправа объектива

Авторы:
Ипатов Николай Анатольевич
Номер заявки
2016131382
Дата подачи заявки
29.07.2016
Опубликовано
25.09.2017
Страна
RU
Как управлять
интеллектуальной собственностью
Чертежи 
2
Реферат

Заявленное изобретение относится к оптическому приборостроению, а именно к механизмам, регулирующим перемещение линзы или группы линз в объективах, и может быть использовано в оптической технике. Заявленная оправа объектива содержит неподвижный корпус, выполненный в виде цилиндрического элемента со сквозными линейными продольными пазами, расположенными вдоль оптической оси объектива, подвижный оптический компонент с жестко закрепленным блоком линз, выполненный в виде цилиндрической оправы, установленный с возможностью перемещения внутри неподвижного корпуса, кулачок, выполненный в виде цилиндрического элемента с расположенными на нем пазами различной конфигурации, установленный с возможностью вращения относительно неподвижного корпуса, на наружной цилиндрической поверхности подвижного оптического компонента размещены шпонки, для которых в неподвижном корпусе выполнены линейные продольные пазы в виде шпоночных продольных пазов, поперечный размер которых выполнен соответствующим размеру шпонок, установленных жестко для осуществления перемещения подвижного оптического компонента вдоль оптической оси объектива по соответствующим шпоночным линейным продольным пазам неподвижного корпуса, при этом кулачок установлен снаружи неподвижного корпуса с возможностью вращения вокруг оптической оси, пазы различной конфигурации кулачка выполнены глухими в виде линейного и/или криволинейного профиля и образованы на его внутренней поверхности, шпонки выполнены со срезанными с двух сторон кромками, для которых в неподвижном корпусе выполнены дополнительные шпоночные линейные продольные пазы, поперечный размер которых выполнен соответствующим размеру шпонок со срезанными кромками. Технический результат заключается в создании оправы объектива со сниженными децентрировками оптических компонентов при перемещении их вдоль оптической оси, уменьшении усилия на конструктивные элементы, возникающего при перемещении оптических компонентов, а также в уменьшении габаритов и массы объектива. 4 ил.

Формула изобретения

Оправа объектива, содержащая неподвижный корпус, выполненный в виде цилиндрического элемента со сквозными линейными продольными пазами, расположенными вдоль оптической оси объектива, подвижный оптический компонент с жестко закрепленным блоком линз, выполненный в виде цилиндрической оправы, установленный с возможностью перемещения внутри неподвижного корпуса, кулачок, выполненный в виде цилиндрического элемента с расположенными на нем пазами различной конфигурации, установленный с возможностью вращения относительно неподвижного корпуса, на наружной цилиндрической поверхности подвижного оптического компонента размещены шпонки, для которых в неподвижном корпусе выполнены линейные продольные пазы в виде шпоночных продольных пазов, поперечный размер которых выполнен соответствующим размеру шпонок, установленных жестко для осуществления перемещения подвижного оптического компонента вдоль оптической оси объектива по соответствующим шпоночным линейным продольным пазам неподвижного корпуса, отличающаяся тем, что кулачок установлен снаружи неподвижного корпуса с возможностью вращения вокруг оптической оси, пазы различной конфигурации кулачка выполнены глухими в виде линейного и/или криволинейного профиля и образованы на его внутренней поверхности, шпонки выполнены со срезанными с двух сторон кромками, для которых в неподвижном корпусе выполнены дополнительные шпоночные линейные продольные пазы, поперечный размер которых выполнен соответствующим размеру шпонок со срезанными кромками.

Описание

[1]

Предлагаемое изобретение относится к оптическому приборостроению, а именно к механизмам, регулирующим перемещение линзы или группы линз в объективах, и может быть использовано в оптической технике.

[2]

Известны различные методы, служащие для перемещения линзы или группы линз, посредством которых появляется возможность изменять как фокусное расстояние объектива, так и участвовать в изменении его фокусировки. При этом возникает необходимость поддерживать качество изображения, создаваемого оптической системой, на всей длине перемещения линз. В частности, известна панкратическая оборачивающая система, описанная в Справочнике конструктора оптико-механических приборов под ред. Панова В.А., Машиностроение, 1980, стр. 329. На рис. 6.37 приведена схема для плавного изменения увеличения панкратической системы, где каждая из линз перемещается по определенному закону при вращении наружной трубки, имеющей пазы определенного профиля. Во внутренней трубке сделаны продольные пазы, предохраняющие оправы с линзами от поворота. Для упрощения изготовления один из пазов выполняется по винтовой линии. В этой конструкции вращательное усилие наружной трубки преобразует движение линз вдоль оптической оси. Однако у подобной конструкции невысокое качество изображения, создаваемое системой, из-за ошибок изготовления спиральных пазов и люфтов в сопряжениях. Кроме того, возникает значительное усилие на винт в зацеплении, который одновременно перемещается по спиральным пазам наружной трубки и продольным пазам во внутренней трубке.

[3]

Аналогичный принцип перемещения оптического компонента приведен в патенте США №4053211, МПК G02B 7/04, опубликованном 11.10.1977 г. В нем, в частности, для перемещения системы линз, расположенной внутри корпуса, с целью фокусировки, используется рабочий элемент, установленный на корпусе с возможностью поворота вокруг оптической оси, в котором предусмотрены кулачковые пазы различной конфигурации. В кулачковых пазах посредством зацепления перемещаются втулка с роликом, жестко соединенные с подвижным компонентом системы линз, расположенным внутри корпуса. Чтобы иметь возможность для перемещения системы линз вдоль оптической оси и предохранения ее от поворота, в корпусе предусмотрены направляющие канавки. При вращении рабочего элемента, имеющего кулачковые пазы различной конфигурации, происходит перемещение системы линз в направлении оптической оси, при этом исключается ее поворот за счет направляющих канавок корпуса. При этом следует отметить, что находящиеся в зацеплении втулка с роликом одновременно перемещаются по кулачковым пазам различной конфигурации рабочего элемента и направляющим канавкам корпуса. Поэтому, как и в предыдущем описании, в данной конструкции изобретения отмечаются те же недостатки, связанные с невысоким качеством изображения, создаваемым системой, из-за ошибок изготовления пазов и люфтах в сопряжениях. Кроме того, возникает значительное усилие на винт со втулкой в зацеплении, которые одновременно перемещаются по кулачковым пазам различной конфигурации рабочего элемента и направляющим канавкам корпуса.

[4]

В другом патенте США №4634250, МПК G02B 7/10, опубликованном 06.01.1987 г., где в основном описывается коррекция поддержания функции диафрагмы при изменении фокусного расстояния, приведена аналогичная схема конструкции для перемещения группы линз, где кулачковое кольцо с пазами различной конфигурации расположено снаружи неподвижного корпуса, внутри которого посредством зацепления винта с роликом перемещается группа линз. При этом для удержания группы линз от поворота вокруг оптической оси предусмотрены продольные пазы в корпусе. Следует отметить, что как и в предыдущих описаниях, находящиеся в зацеплении винт с роликом одновременно перемещаются по пазам различной конфигурации кулачкового кольца и продольным пазам корпуса. При вращении кулачкового кольца, имеющего кулачковые пазы различной конфигурации, происходит перемещение системы линз в направлении оптической оси, при этом исключается ее поворот за счет продольных пазов корпуса. В данной конструкции, как и в предыдущих аналогичных описаниях, отмечаются те же самые недостатки, связанные с невысоким качеством изображения, создаваемым системой, из-за ошибок изготовления пазов и люфтов в сопряжениях. Кроме того, возникающее значительное усилие на винт с роликом в зацеплении, которые одновременно перемещаются по пазам различной конфигурации кулачкового кольца и продольным пазам корпуса, приводит к затруднению в перемещении групп линз.

[5]

Наиболее близким аналогом заявляемого технического решения является конструкция, описанная в авторском свидетельстве №1739335, МПК G02B 7/10, опубликованном 07.06.1992 г. Данная конструкция содержит неподвижный корпус, выполненный в виде цилиндрического элемента с линейными продольными пазами, расположенными вдоль оптической оси объектива, кулачок в виде цилиндра с пазами различной конфигурации - линейными и криволинейными, установленный внутри неподвижного корпуса, подвижный оптический компонент с блоком линз, установленный с возможностью перемещения внутри кулачка вдоль неподвижного корпуса, выполненный в виде цилиндрической оправы с четырьмя выступами, на двух концах которых находятся щупы в виде винтов со втулками, жестко соединенные с выступами. Также в конструкции установлен держатель цилиндрической формы, расположенный на неподвижном корпусе, имеющий два выступа, на которых выполнены сквозные отверстия. В этих отверстиях посредством безлюфтового соединения размещены щупы, жестко закрепленные на подвижном оптическом компоненте с блоком линз и взаимодействующие с линейными пазами кулачка и неподвижного корпуса. Поступательное перемещение держателя вдоль оптической оси преобразуется во вращательное усилие кулачка вокруг оптической оси. Вращение кулачка вызывает движение другого оптического компонента, расположенного внутри кулачка, и с помощью зацепления его посредством винтов со втулками через криволинейные пазы кулачка удерживает оптический компонент от поворота вокруг оптической оси за счет линейных пазов корпуса. При этом происходит одновременное перемещение щупов по пазам кулачка и линейным продольным пазам неподвижного корпуса. Однако, как и в приведенных выше аналогах, данная конструкция оправы не позволяет получать высокое качество изображения из-за ошибок, возникающих при изготовлении криволинейных пазов и из-за люфтов в сопряжениях. Кроме того, возникает значительное усилие на винты со втулками, находящимися в зацеплении с оптическим компонентом, которые одновременно перемещаются по криволинейным пазам кулачка и продольным пазам корпуса, что приводит к затруднению в перемещении оптических компонентов.

[6]

Задачей предлагаемого изобретения является повышение качества изображения, создаваемого оптической системой.

[7]

Технический результат заключается в создании оправы объектива со сниженными децентрировками оптических компонентов при перемещении их вдоль оптической оси, уменьшении общего усилия на конструктивные элементы, возникающего при перемещении оптических компонентов, а также уменьшении габаритов и массы объектива.

[8]

Это достигается тем, что в оправе объектива, содержащей неподвижный корпус, выполненный в виде цилиндрического элемента со сквозными линейными продольными пазами, расположенными вдоль оптической оси объектива, подвижный оптический компонент с жестко закрепленным блоком линз, выполненный в виде цилиндрической оправы, установленный с возможностью перемещения внутри неподвижного корпуса, кулачок, выполненный в виде цилиндрического элемента с расположенными на нем пазами различной конфигурации, установленный с возможностью вращения относительно неподвижного корпуса, на наружной цилиндрической поверхности подвижного оптического компонента размещены шпонки, для которых в неподвижном корпусе выполнены линейные продольные пазы в виде шпоночных продольных пазов, поперечный размер которых выполнен соответствующим размеру шпонок, установленных жестко для осуществления перемещения подвижного оптического компонента вдоль оптической оси объектива по соответствующим шпоночным линейным продольным пазам неподвижного корпуса, согласно изобретению кулачок установлен снаружи неподвижного корпуса с возможностью вращения вокруг оптической оси, пазы различной конфигурации кулачка выполнены глухими в виде линейного и/или криволинейного профиля и образованы на его внутренней поверхности, шпонки выполнены со срезанными с двух сторон кромками, для которых в неподвижном корпусе выполнены дополнительные шпоночные линейные продольные пазы, поперечный размер которых выполнен соответствующим размеру шпонок со срезанными кромками.

[9]

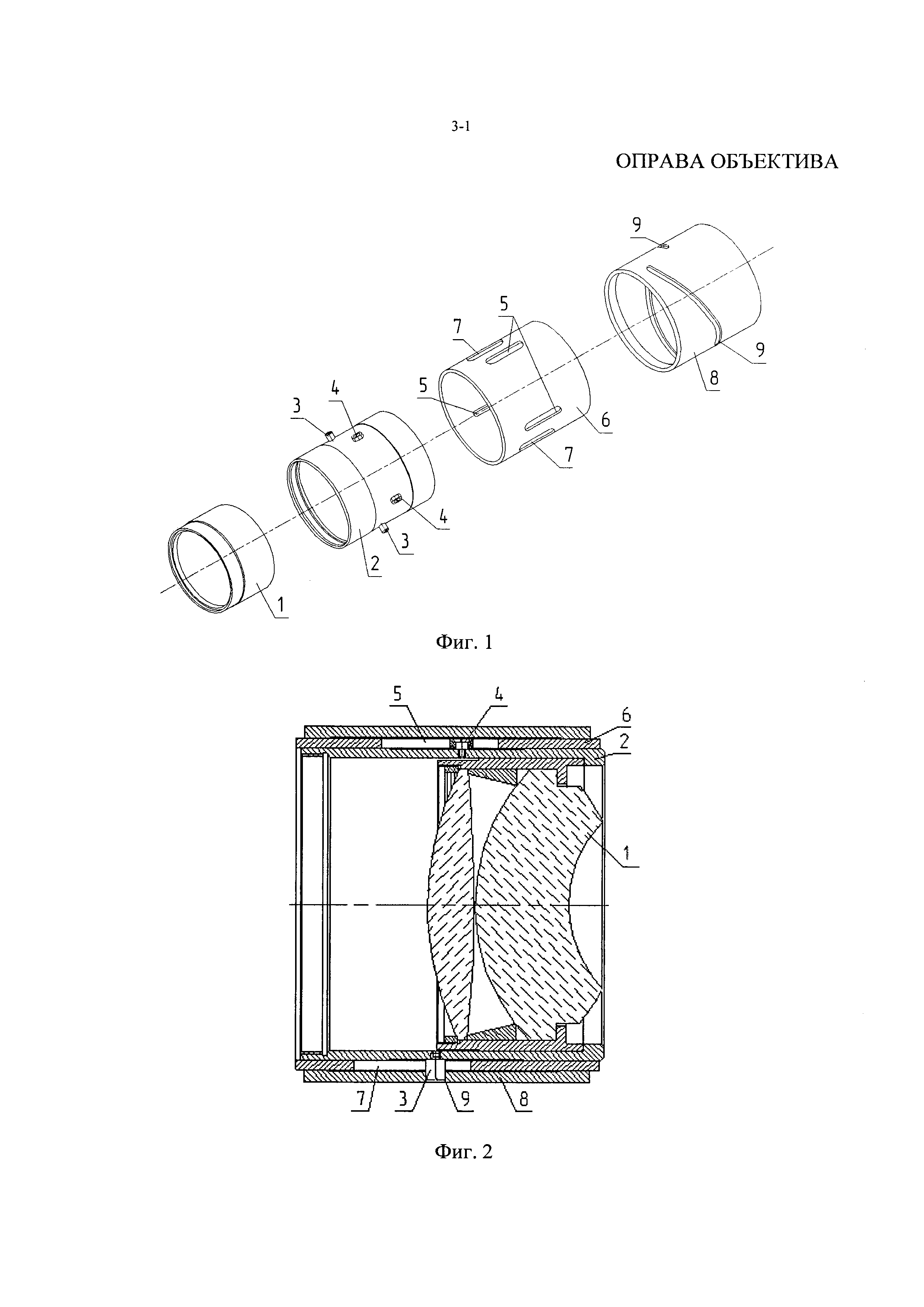
На фиг. 1 изображена схема оправы объектива в перспективе в разобранном состоянии. На фиг. 2 представлен вид оправы объектива в поперечном разрезе с изображением положения подвижного оптического компонента с жестко закрепленным блоком линз, на котором пазы различной конфигурации кулачка выполнены сквозными. На фиг. 3 представлен вид оправы объектива в поперечном разрезе с изображением положения подвижного оптического компонента с жестко закрепленным блоком линз, на котором пазы различной конфигурации кулачка выполнены глухими на его внутренней поверхности. На фиг. 4 представлены возможные варианты выполнения пазов различной конфигурации кулачка, расположенных на его цилиндрической поверхности.

[10]

Оправа объектива (фиг. 1, фиг. 2) содержит блок линз 1 в цилиндрической оправе, жестко установленный внутри подвижного оптического компонента 2, выполненного также в виде цилиндрической оправы. На наружной периферийной поверхности подвижного оптического компонента 2 с помощью винтов (не указаны) установлены втулки 3 и разнесенные с ними по угловому размеру шпонки 4, которые могут быть выполнены со срезанными с двух сторон кромками, размер которых соответствует поперечному размеру шпоночных линейных продольных пазов 5, расположенных вдоль оптической оси объектива на неподвижном корпусе 6, установленном снаружи подвижного оптического компонента 2. На неподвижном корпусе 6, выполненном в виде цилиндрического элемента, также вдоль оптической оси объектива расположены линейные продольные пазы 7. Кулачок 8 с пазами различной конфигурации 9 выполнен в виде цилиндрического элемента и установлен на наружной цилиндрической поверхности неподвижного корпуса 6 с возможностью вращения вокруг оптической оси. По пазам различной конфигурации 9 кулачка 8, выполненным в данном варианте исполнения сквозными, посредством зацепления перемещаются втулки 3, закрепленные на подвижном оптическом компоненте 2 и одновременно с ним перемещающиеся по линейным продольным пазам 7 неподвижного корпуса 6. Шпонки 4, жестко закрепленные на подвижном оптическом компоненте 2, находятся в зацеплении со шпоночными линейными продольными пазами 5 неподвижного корпуса 6, которые служат для удержания подвижного оптического компонента 2 с жестко закрепленным блоком линз 1 от поворота вокруг оптической оси.

[11]

Кроме того, пазы различной конфигурации 9 кулачка 8 могут быть расположены на внутренней поверхности кулачка 8 и выполнены глухими (фиг. 3).

[12]

Кроме того, пазы различной конфигурации 9 кулачка 8 (фиг. 4) могут быть выполнены в виде линейного профиля (фиг. 4а) либо в виде криволинейного профиля (фиг. 4б), в зависимости от конструктивных особенностей перемещения подвижного оптического компонента 2. Выбор того или иного профиля определяется по результатам расчета оптической схемы объектива.

[13]

Механизм движения компонентов оправы объектива происходит следующим образом. Вращение кулачка 8 вокруг оптической оси объектива посредством зацепления пазов различной конфигурации 9 кулачка 8 и втулок 3, закрепленных с помощью винтов (не указаны) на подвижном оптическом компоненте 2, вызывает перемещение подвижного оптического компонента 2 с жестко установленным в нем блоком линз 1 внутри неподвижного корпуса 6. При этом посредством шпонок 4, жестко закрепленных на подвижном оптическом компоненте 2 и находящихся в зацеплении со шпоночными линейными продольными пазами 5 неподвижного корпуса 6, происходит перемещение подвижного оптического компонента 2 только вдоль оптической оси объектива, без вращения вокруг нее. Это уменьшает децентрировки подвижного оптического компонента 2 с жестко установленным в нем блоком линз 1 в процессе движения и, следовательно, повышает качество изображения, создаваемого системой. Линейные продольные пазы 7 неподвижного корпуса 6 не влияют на перемещение подвижного оптического компонента 2 с жестко установленным в нем блоком линз 1, а служат только для свободного перемещения втулок 3 в неподвижном корпусе 6 и поэтому могут быть выполнены со значительными люфтами в соединении, отличающимися по ширине паза. Минимальный зазор люфтов для уменьшения децентрировок в сопряжениях во время перемещения подвижного оптического компонента 2 с жестко установленным в нем блоком линз 1 вдоль оптической оси устанавливается в зацеплении шпонок 4, которые могут быть выполнены со срезанными с двух сторон кромками, жестко закрепленных на подвижном оптическом компоненте 2, и шпоночных линейных продольных пазов 5 неподвижного корпуса 6.

[14]

Все подвижные оптические компоненты перемещаются только вдоль оптической оси, без вращения. Благодаря введению в конструкцию оправы объектива шпонок 4 уменьшается общее усилие, которое распределяется на каждый из элементов конструкции в отдельности, что облегчает перемещения оптических компонентов в конструкции. Кроме того, уменьшается люфт в сопряжениях в пазах за счет применения шпонок 4, перемещающихся только по шпоночным линейным продольным пазам 5 неподвижного корпуса 6, не связанных с пазами различной конфигурации 9 кулачка 8. Это обеспечивает более высокую поверхность контактного соприкосновения шпонок 4 со шпоночными линейными продольными пазами 5, уменьшая люфты в сопряжениях и снижая децентрировку оптических компонентов.

[15]

Использование конструкции, в которой пазы различной конфигурации 9 кулачка 8 образованы на его внутренней поверхности, позволяет скрыть перемещающиеся открытые подвижные части, не применяя дополнительных закрывающих кожухов, тем самым сокращая количество конструктивных деталей и, следовательно, уменьшая габариты и массу объектива. Кроме того, использование пазов различной конфигурации 9, расположенных на внутренней поверхности кулачка 8, создает дополнительную жесткость цилиндрической оправы кулачка 8, необходимую в процессе ее вращения.

[16]

Таким образом, в результате предложенного решения обеспечено получение технического результата: создана конструкция оправы объектива, в которой снижены децентрировки оптических компонентов при перемещении их вдоль оптической оси, уменьшено общее усилие на конструктивные элементы, возникающее при перемещении оптических компонентов объектива, а также уменьшены габариты и масса объектива.

Как компенсировать расходы
на инновационную разработку
Похожие патенты