патент
№ RU 2650814
МПК H01L27/06

СТРУКТУРА КРИСТАЛЛА ВЫСОКОВОЛЬТНОГО ПОЛУПРОВОДНИКОВОГО ПРИБОРА, ВЫСОКОВОЛЬТНОЙ ИНТЕГРАЛЬНОЙ МИКРОСХЕМЫ (ВАРИАНТЫ)

Авторы:
Володин Алексей Витальевич
Номер заявки
2016152217
Дата подачи заявки
29.12.2016
Опубликовано
17.04.2018
Страна
RU
Как управлять
интеллектуальной собственностью
Чертежи 
5
Реферат

Использование: полупроводниковая техника, силовая электроника, высоковольтные полупроводниковые приборы и микросхемы. Технический результат: повышенное напряжение пробоя кристалла высоковольтного прибора или микросхемы за счет уменьшенного влияния краевых полей в структуре кристалла. Сущность изобретения. Известен полупроводниковый кристалл, содержащий подложку p-типа с расположенным на ней эпитаксиальным слоем n-типа, в котором со стороны поверхности расположены две отстоящие друг от друга сильно легированные области полупроводника, первая p-типа и вторая n-типа. Первая область охватывает вторую область. Между областями под поверхностью кристалла и/или над ней расположены элементы защиты от поверхностного пробоя. Между эпитаксиальным слоем и подложкой расположен скрытый слой n-типа. Для достижения технического результата в скрытом слое сформированы как минимум два участка различной дозы легирования, из них первый участок расположен под всей сильно легированной областью полупроводника n-типа и легирован дозой примеси 0,2…0,25 мкКл/см, второй участок скрытого слоя расположен вокруг первого участка, примыкая к нему, и легирован уменьшающейся дозой примеси по мере увеличения расстояния от конкретного места второго участка до первого участка. 2 н. и 5 з.п. ф-лы, 5 ил.

Формула изобретения

1. Структура кристалла высоковольтного полупроводникового прибора, высоковольтной интегральной микросхемы, содержащая слаболегированную подложку первого типа проводимости, эпитаксиальный слой второго типа проводимости, расположенный на подложке, две сильно легированные области полупроводника, расположенные в приповерхностной области эпитаксиального слоя на некотором расстоянии друг от друга, из них первая область первого типа проводимости охватывает вторую область второго типа проводимости, диэлектрик, расположенный на поверхности кристалла, элемент или элементы защиты от поверхностного пробоя, расположенные вокруг второй области в приповерхностной части полупроводника и/или над диэлектриком, скрытый слой второго типа проводимости, расположенный между подложкой и эпитаксиальным слоем, отличающаяся тем, что скрытый слой состоит как минимум из двух участков, из них первый участок скрытого слоя расположен под всей второй областью полупроводника и легирован определенной дозой примеси, второй участок скрытого слоя расположен вокруг первого участка, примыкая к нему, и его доза легирования плавно или ступенчато уменьшается по мере увеличения расстояния от конкретного места легирования до первого участка.

2. Структура кристалла высоковольтного полупроводникового прибора, высоковольтной интегральной микросхемы, содержащая слаболегированную подложку первого типа проводимости, эпитаксиальный слой второго типа проводимости, расположенный на подложке, две сильно легированные области полупроводника, расположенные в приповерхностной области эпитаксиального слоя на некотором расстоянии друг от друга, из них первая область первого типа проводимости охватывает вторую область второго типа проводимости, диэлектрик, расположенный на поверхности кристалла, элемент или элементы защиты от поверхностного пробоя, расположенные вокруг второй области в приповерхностной части эпитаксиального слоя и/или над диэлектриком, скрытый слой второго типа проводимости, расположенный между подложкой и эпитаксиальным слоем, отличающаяся тем, что скрытый слой состоит как минимум из двух участков, из них первый участок скрытого слоя расположен под всей второй областью полупроводника и легирован определенной дозой примеси, второй участок скрытого слоя расположен вокруг первого участка, примыкая к нему, и состоит из совокупности вытянутых участочков, отходящих от первого участка, соприкасающихся или почти соприкасающихся между собой в месте их примыкания к первому участку, расходящихся между собой по мере увеличения расстояния от конкретного места второго участка до первого участка, при этом дозы легирования участочков и первого участка скрытого слоя практически одинаковы.

3. Структура кристалла по п. 1 или 2, в которой доза легирования первого участка скрытого слоя составляет величину 0,2…0,25 мкКл/см2.

4. Структура кристалла по п. 1 или 2, в которой элемент защиты от поверхностного пробоя выполнен в виде дополнительной слаболегированной области полупроводника первого типа проводимости, расположенной под поверхностью эпитаксиального слоя вокруг второй области полупроводника и контактирующей с первой областью полупроводника.

5. Структура кристалла по п. 1 или 2, в которой элементы защиты от поверхностного пробоя содержат дополнительную слаболегированную область полупроводника первого типа проводимости, расположенную под поверхностью эпитаксиального слоя вокруг второй области полупроводника и контактирующую с первой областью полупроводника, и два затворных электрода, из которых первый электрод расположен на диэлектрике над указанной дополнительной областью полупроводника у места ее соединения с первой областью полупроводника и гальванически соединен с первой областью полупроводника и второй электрод расположен на диэлектрике над краем указанной дополнительной области полупроводника со стороны второй области полупроводника, над прилегающей эпитаксиальной областью и над прилегающим краем второй области полупроводника, при этом указанный второй электрод гальванически соединен со второй областью полупроводника.

6. Структура кристалла по п. 1 или 2, в которой элементы защиты от поверхностного пробоя содержат дополнительную слаболегированную область полупроводника первого типа проводимости, расположенную под поверхностью эпитаксиального слоя вокруг второй области полупроводника и контактирующую с первой областью полупроводника, два затворных электрода, из которых первый электрод расположен на диэлектрике над указанной дополнительной областью полупроводника у места ее соединения с первой областью полупроводника и гальванически соединен с первой областью полупроводника, второй электрод расположен на диэлектрике над краем указанной дополнительной области полупроводника со стороны второй области полупроводника, над прилегающей эпитаксиальной областью и над прилегающим краем второй области полупроводника и гальванически соединен со второй областью полупроводника, и изолированные друг от друга взаимоперекрывающиеся затворные электроды, расположенные на диэлектрике над дополнительной областью полупроводника между первым и вторым затворными электродами, при этом крайние плавающие электроды перекрываются, один с первым затворным электродом и другой со вторым затворным электродом.

7. Структура кристалла по п. 4, или 5, или 6, в которой доза легирования дополнительной области полупроводника превышает дозу паразитного заряда в окисле на 0,08…0,16 мкКл/см2.

Описание

[1]

ОБЛАСТЬ ТЕХНИКИ, К КОТОРОЙ ОТНОСИТСЯ ИЗОБРЕТЕНИЕ

[2]

Изобретение относится к полупроводниковой технике, силовой электронике и предназначено для создания высоковольтных приборов и микросхем.

[3]

УРОВЕНЬ ТЕХНИКИ

[4]

Высоковольтные полупроводниковые приборы (ПП) и интегральные микросхемы (ИС) характеризуют уровень силовой электроники; повышение рабочих и предельных напряжений силовых ПП и ИС, определяемых пробивными напряжениями структуры, актуально.

[5]

Широко известны структуры кристалла для высоковольтных ПП и ИС (см. далее аналог и прототип), содержащие слаболегированную подложку p-типа, на которой расположен эпитаксиальный слой n-типа, в приповерхностном слое которого расположены сильно легированные области n- или n- и p-типа, и поверхность которого защищена диэлектриком. Среди них известны высоковольтные интегральные микросхемы, содержащие электрические блоки низкого и высокого уровня напряжения и разделительную область p-типа, «протыкающую» эпитаксиальный слой до подложки и охватывающую сильно легированную область n-типа (высокого уровня напряжения), изолируя ее от других областей эпитаксиального слоя и от других уровней напряжения.

[6]

Известно также, что при плоских электрических полях напряжение пробоя эпитаксиального слоя относительно подложки обратно пропорционально уровню легирования подложки и при малом легировании и большой глубине подложки должно достигать высоких значений.

[7]

Однако в реальности всегда существуют края областей повышенного легирования n- и p-типа, контактирующие с областями слабого легирования, создающие при обеднении поля не плоские, часто близкие к цилиндрической или сферической форме. В этих местах возникает сгущение силовых линий и формируются локальные пробои.

[8]

Узкие места по пробою находятся также в приповерхностных частях эпитаксиального слоя, под окислом, в котором образуется положительный заряд, сильно снижающий напряжение пробоя.

[9]

Рассмотренные варианты пробоя будем называть приповерхностными. Вызываемые ими токи размножения тоже являются приповерхностными.

[10]

Для борьбы с приповерхностным пробоем используются различные методы и варианты структур.

[11]

Среди них широко распространен, например, «метод делительных колец» [«Кремниевые планарные транзисторы» под ред. Я.А. Федотова, Москва, «Советское радио», 1973 г., с. 204-216].

[12]

Эффективными являются RESURF-структуры (RESURF - сокращение от Reduced Surface Field) [J.A. Appels, H.M.J. Vaes, «High voltage thin layer devices (Resurf devices)», Institute of Electrical and Electronics Engineers, p. 238, 1979].

[13]

В результате подавления приповерхностного пробоя (тем или иным способом) напряжение пробоя ПП и ИС структур возрастает, оно определяется теперь объемным пробоем, токи размножения которого, в основном, вертикальные.

[14]

Величина напряжения объемного пробоя после прокола эпитаксиального слоя зависит уже от эффектов неплоского поля в районе границы эпитаксиального слоя и подложки, на которые часто влияют форма и размеры прилежащих сильно легированных областей n-типа (радиусов кривизны легирования).

[15]

Целью предлагаемого изобретения является повышение напряжения объемного пробоя структур, в которых приповерхностный пробой подавлен.

[16]

Аналогом предлагаемого изобретения может служить эпитаксиальная структура кристалла высоковольтного полевого транзистора и интегральной микросхемы драйверов для них, описанная в патенте США №4,866,495 фирмы International Rectifier ("HIGHPOWER MOSFET AND INTEGRATED CONTROL CIRCUIT THEREFOR FOR HIGH-SIDE SWITCH APPLICATION").

[17]

Фрагмент части структуры кристалла-аналога в поперечном разрезе изображен на Фиг. 1.

[18]

Структура содержит слаболегированную кремниевую подложку 1 p-типа проводимости (p-), на которой сформирован эпитаксиальный слой 2 слаболегированного кремния n-типа проводимости (n-). Непосредственно под поверхностью слоя 2 на некотором расстоянии друг от друга расположены область 4 p-типа, достаточно легированная, чтобы не обедняться полностью в диапазоне рабочих напряжений, и область 7 n-типа, сильно легированная (n+). К области 4 со стороны области 7 примыкает протяженная слаболегированная область 3 p-типа. Область 7 окружена областью 3.

[19]

В области 4 под поверхностью кремния расположены сильно легированная область 5 p-типа (p+), контактирующая с металлическим электродом 11, и сильно легированная область 6 n-типа, расположенная в непосредственной близи от области 5, рядом с областью 2 и контактирующая с тем же металлическим электродом. Область 7 контактирует с металлическим электродом 12. Высокие уровни легирования областей 5, 6, 7 обеспечивают омические контакты с металлическими электродами.

[20]

Подложка 1 через промежуточный сильно легированный p+-слой (на фигуре не показан) контактирует с металлическим электродом 13.

[21]

Над участком области 4, расположенным между областями 6 и 2, и над областями 6 и 2, прилегающими к этому участку, на тонком диэлектрическом слое 9 расположен поликремневый электрод 8. Вся структура, кроме некоторых участков металлических электродов, покрыта защитным диэлектрическим слоем 10.

[22]

Область 6 является истоком, область 8 - затвором, приповерхностный участок под затвором 8 в области 4 между областями 6 и 2 - каналом, область 7 - сильно легированной частью стока и область 2 в пространстве между областью 7 и каналом - дрейфовой областью стока полевого транзистора.

[23]

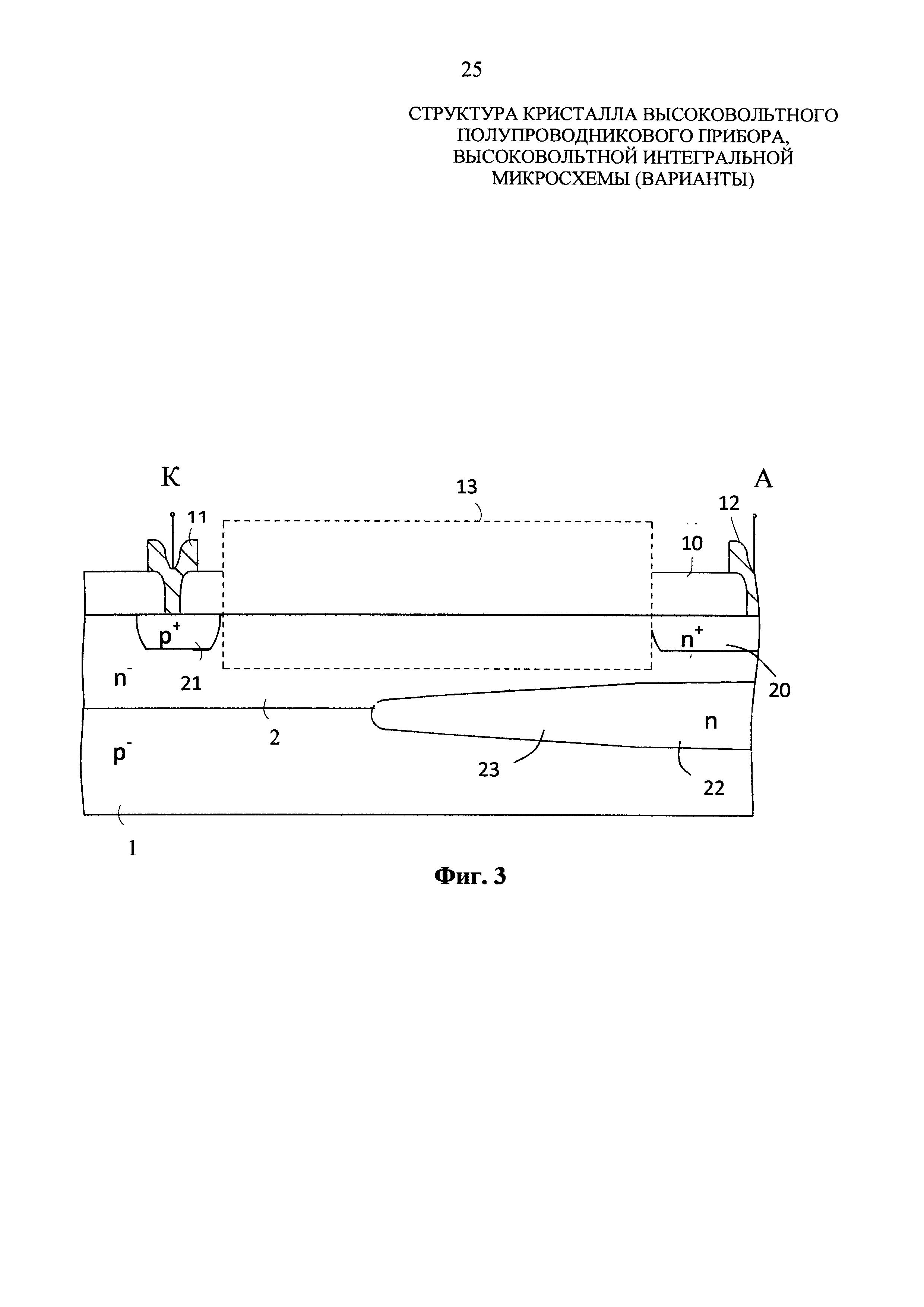
Данная структура является двойной RESURF-структурой, в которой область 2 обедняется снизу и сверху. Доза ее атомов примеси находится в интервале от 1,5×1012 см-2 до 2×1012 см-2. Доза примеси области 3 - 1×1012 см-2.

[24]

При указанных дозах легирования область 3 и область 2 между участками 3 и 1 полностью обедняются при подаче на стоковый электрод 12 обратного напряжения менее значений приповерхностного пробоя на границе раздела областей 4 и 2 (в месте минимального радиуса кривизны pn-перехода). При этом обедненные области между сильно легированными участками 7 и 4 образуют как бы протяженный конденсатор с уменьшенным темпом роста напряженности поля в ОПЗ в продольном направлении. Темп роста напряженности тем меньше, чем больше длина области 3 и расстояние между областями 7 и 4. В этом случае напряжение пробоя приповерхностных областей становится выше объемного и место пробоя перемещается с перехода между областями 4 и 2 к переходу между областями 1 и 2.

[25]

Однако при высоких напряжениях на электроде 12 область 2 обеднена также между участками 7 и 1, включая область вблизи ступеньки легирования на краю n+-области стока 7. Ступенька легирования создает сгущение силовых линий в области между подложкой 1 и краем области 7 (на Фиг. 1 силовые линии не показаны), вызывающее где-то в этом районе локальный пробой. Поэтому уменьшением легирования p--подложки 1 и увеличением ее толщины в данных структурах трудно добиться значительного увеличения напряжения объемного пробоя.

[26]

Другим недостатком структуры аналога является неучет паразитного влияния положительного заряда в окисле. Неучет этого влияния в определенных случаях может вызвать понижение напряжения приповерхностного пробоя структуры, несмотря на наличие протяженной слаболегированной области p-типа 3, являющейся, по существу, эффективным элементом (средством) борьбы с паразитным зарядом в окисле.

[27]

[Пояснение. В RESURF-структурах без слоя 3 паразитный заряд в окисле, даже малой дозы, создавал бы в обедненном n слое приповерхностной части области 2 продольную напряженность электрического поля в направлении к области 4. Накапливаясь по мере приближения к области 4 и складываясь с полем положительных зарядов донорной примеси слоя 2, приповерхностная напряженность поля уменьшила бы напряжение пробоя на участке pn-перехода под окислом. В противовес этому, в структуре Фиг. 1 со слоем 3 отрицательно заряженные акцепторные ионы примеси обедненного слоя 3 (не показаны) перехватывают силовые линии от положительных зарядов в окисле (не показаны) и прерывают их, не давая им возможности участвовать в понижении напряженности поля под поверхностью на границе с областью 4. Однако заявленная в патенте доза атомов примеси области 3 величиной 1×1012 см-2 выполняет функцию RESURF. Отвлечение части этой дозы на нейтрализацию зарядов в окисле может вызвать увеличение напряжения обеднения указанной области 2 и риск появления приповерхностного пробоя структуры на участке pn-перехода между областями 4 и 2 в области малого радиуса кривизны].

[28]

Таким образом, возможности увеличения напряжения пробоя в структуре по патенту США №4,866,495 ограничены.

[29]

Наиболее близким аналогом (прототипом) предлагаемого изобретения является высоковольтная структура полупроводникового прибора, описанная в патенте США №5,861,657 фирмы International Rectifier ("GRADED CONCENTRATION EPITAXIAL SUBSTRATE FOR SEMICONDUCTOR DEVICE HAVING RESURF DIFFUSION").

[30]

На Фиг. 2 показан разрез участка структуры кристалла-прототипа, содержащего слаболегированную кремниевую подложку 1 p-типа, на которой сформирован эпитаксиальный слой 2 относительно слаболегированного кремния n типа. Под поверхностью слоя 2 на некотором расстоянии друг от друга расположены две относительно сильно легированные (не обедняемые полностью в диапазоне рабочих напряжений) области 4 и 14, обе p-типа, и сильно легированная область 7 n-типа. К области 14 со стороны области 7 примыкает протяженная слаболегированная область 3 p-типа. Глубина области 3 составляет величину менее 75% от толщины эпитаксиального слоя.

[31]

Кристалл содержит также область разделительной диффузии 20 p-типа, окружающую высоковольтную часть структуры, содержащую область 7. Область 20 «протыкает» эпитаксиальный слой 2 до подложки 1, изолируя внутреннюю часть эпитаксиального слоя с областью 7 от внешних частей эпитаксиального слоя, и контактирует с металлическим электродом 11.

[32]

Область 3 тоже окружает высоковольтную часть структуры и область 7, и в местах, где отсутствуют области 14 и 4, она примыкает к области 20.

[33]

В области 4 под поверхностью кремния расположены сильно легированная область 5 p-типа, контактирующая с металлическим электродом 11, и сильно легированная область 6 n-типа, расположенная в непосредственной близости от области 5, вблизи от области 2 и контактирующая с тем же металлическим электродом.

[34]

Область 7 контактирует с металлическим электродом 12.

[35]

В области 14 под поверхностью кремния расположены сильно легированная область 15 p-типа, контактирующая с металлическим электродом 16, гальванически соединенным с электродом 11.

[36]

Над краем области 6, над участком области 4, расположенным между областями 6 и 2, над областью 2, расположенной между областями 4 и 14, и над краем области 14 расположен поликремневый электрод 8, сформированный на тонком диэлектрическом слое 9. Вся структура, кроме некоторых участков металлических электродов, покрыта защитным диэлектрическим слоем 10.

[37]

Область 6 является истоком, область 8 - затвором, приповерхностный участок под затвором 8 в области 4 между областями 6 и 2 - каналом с управляемой проводимостью, область 7 - сильно легированной частью стока и область 2 в пространстве между областью 7 и каналом - дрейфовой областью стока полевого транзистора.

[38]

При подаче нулевого потенциала на электрод 11 и, соответственно, на области 20 и 1, область эпитаксиального слоя 2 внутри разделительной области 20 (карман) с n+ - областью 7 и с любыми другими расположенными внутри него элементами (например, диодами, резисторами, транзисторами), оказывается электрически отделенными от других областей слоя 2 обратно смещаемым pn-переходом.

[39]

Данная структура во многом аналогична структуре Фиг. 1 и тоже является двойной RESURF-структурой, позволяющей, начиная с некоторых значений напряжения на стоке, уменьшить темп увеличения напряженности поля в ОПЗ области 2 в продольном направлении и увеличить напряжение пробоя.

[40]

Основной особенностью структуры, отличающей ее от структуры Фиг. 1, является неравномерное распределение по глубине примеси в слое 2, создаваемое n-скрытым слоем 17 на стыке подложки 1 и эпитаксиального слоя 2. При этом примерно 75% примеси сосредоточено в нижней части 17 слоя 2 размером менее 25% от его общей толщины. Например, в 600-вольтовом приборе общая толщина слоя 2 уменьшена до 10 мкм, толщина скрытого слоя 17 - примерно 2 мкм.

[41]

Данное решение позволило уменьшить глубину области разделительной диффузии 20, уменьшить время разгонки области разделительной диффузии, сократить время высокотемпературной обработки пластин, уменьшить количество дефектов в полупроводнике и, как следствие, увеличить процент выхода годных образцов. Уменьшение глубины разделительной диффузии привело также к уменьшению площади, занимаемой кристаллом на пластине и к общему снижению времени изготовления микросхем.

[42]

Другой особенностью структуры является формирование над областью 2 и слоем 3 двухуровневых сильно легированных поликремневых обкладок (электродов) 18 в виде узких взаимно перекрывающихся кольцевых полос, расположенных между областями 14 и 7 и охватывающих область 7. Каждый из электродов отделен друг от друга и от поверхности кремниевого кристалла слоем термического окисла 19 толщиной примерно 500 нм. Ближайшая к области 14 обкладка контактирует с металлическим электродом 16, ближайшая к области 7 обкладка контактирует с металлическим электродом 12. Другие обкладки не имеют соединений с проводящими ток элементами и являются «плавающими». Емкостная связь между соседними электродами, как полагает автор изобретения, приводит к более равномерному распределению напряжения между ними (указан уровень 100 В) и, соответственно, в прилежащем к ним кремнии. Благодаря равномерности распределения потенциала максимальная напряженность поля под поверхностью кремния должна уменьшиться, и напряжение приповерхностного пробоя должно дополнительно возрасти.

[43]

Недостатком данной структуры (содержащей неравномерно легированный по глубине скрытый слой 17, дозированный слой 3 p-типа и плавающие кольцевые электроды, совокупно устраняющие приповерхностный пробой) является отсутствие элементов, позволяющих устранять сгущения силовых линий в объеме структуры и увеличивать напряжение объемного пробоя. В данной структуре это напряжение определяется уровнем сгущения силовых линий электрического поля под краем сильнолегированной части стока 7 и/или напряжением пробоя перехода в месте соединения наиболее легированной (нижней) части скрытого слоя 17 n-типа с p+-областью разделительной диффузией 20.

[44]

РАСКРЫТИЕ ИЗОБРЕТЕНИЯ

[45]

Задачей заявленного изобретения является повышение напряжения объемного пробоя.

[46]

Такого технического результата можно достичь в приборах и микросхемах, в полупроводниковые кристаллы которых введены средства борьбы с объемными краевыми полями, в дополнение к средствам устранения приповерхностного пробоя.

[47]

В первом варианте изобретения данный результат достигается в известной структуре кристалла высоковольтного полупроводникового прибора или в известной структуре высоковольтной интегральной микросхемы, содержащих слаболегированную подложку p-типа проводимости, эпитаксиальный слой n-типа, расположенный на подложке, две сильно легированные области полупроводника, расположенные в приповерхностной области эпитаксиального слоя на некотором расстоянии друг от друга, из них первая область p-типа охватывает вторую область n-типа, диэлектрик, расположенный на поверхности кристалла, элемент или элементы защиты от поверхностного пробоя, расположенные вокруг второй области в приповерхностной части полупроводника и/или над диэлектриком, и скрытый слой n-типа, расположенный между подложкой и эпитаксиальным слоем, в которой скрытый слой выполнен в соответствии с изобретательским замыслом. В соответствии с ним, скрытый слой состоит как минимум из двух участков, из них первый участок скрытого слоя расположен под всей второй областью полупроводника и легирован определенной дозой примеси, второй участок скрытого слоя расположен вокруг первого участка, примыкая к нему, и его доза легирования плавно или ступенчато уменьшается по мере увеличения расстояния от конкретного места легирования до первого участка.

[48]

Во втором варианте изобретения технический результат достигается в той же известной структуре кристалла высоковольтного полупроводникового прибора или в той же известной структуре кристалла высоковольтной интегральной микросхемы, в которой скрытый слой состоит как минимум из двух участков, из них первый участок скрытого слоя расположен под всей второй областью полупроводника и легирован определенной дозой примеси, второй участок скрытого слоя расположен вокруг первого участка, примыкая к нему, и состоит из совокупности вытянутых участочков, отходящих от первого участка, соприкасающихся или почти соприкасающихся между собой в месте их примыкания к первому участку, расходящихся между собой по мере увеличения расстояния от конкретного места второго участка до первого участка, при этом дозы легирования участочков и первого участка скрытого слоя практически одинаковы.

[49]

В обоих вариантах изобретения область p-типа может достигать подложки, если карман с сильно легированной областью n-типа нужно изолировать от других областей эпитаксиального слоя.

[50]

В обоих вариантах изобретения области n-типа могут быть заменены на области p-типа, при этом области p-типа заменяются на области n-типа (Рассматриваемый здесь вариант легирования приведен для примера).

[51]

В обоих вариантах изобретения могут применяться различные элементы устранения приповерхностного пробоя. Среди них важное место занимает двойное RESURF-исполнение, когда при повышении напряжения на структуре эпитаксиальный слой прокалывается и снизу, и сверху. Это исполнение рассматривается в данной заявке.

[52]

RESURF-исполнение задает определенное количество суммарного заряда в эпитаксиальном слое и в скрытом слое. Оно ограничено величиной, обеспечивающей возможность прокола пространственным зарядом эпитаксиального и скрытого слоев. По этой причине доза заряда примеси первого участка скрытого слоя, расположенного непосредственно под сильно легированной областью n-типа полупроводника, несколько его охватывая, ограничена сверху величиной 0,2…0,25 мкКл/см2. Снизу доза ограничена необходимостью не допускать проникновения значительной величины напряженности электрического поля до n+ - области, т.к. при повышенных напряжениях силовые линии будут сгущаться на ее краях.

[53]

Указанная доза примеси в равномерно легированным скрытом слое приводила бы к увеличенным значениям напряжения прокола (полного обеднения подвижными носителями) в RESURF-областях эпитаксиального слоя и, как следствие, к неэффективности RESURF-структуры. Поэтому скрытый слой под эпитаксиальным слоем вне n+-области должен иметь пониженную дозу легирования, вплоть, при необходимости, до нулевой дозы. Например, в области разделительной p+-диффузии. Однако переход от большой дозы легирования скрытого слоя к малой дозе приводит, при повышенных напряжениях на структуре, к сгущению силовых линий в районе ступеньки легирования скрытого слоя и, как следствие, к ограничению объемного напряжения пробоя.

[54]

Для практического устранения указанного сгущения силовых линий в обоих вариантах изобретения введенный в структуру скрытый слой состоит, как минимум, из двух участков.

[55]

Первый участок скрытого слоя расположен под всей второй областью полупроводника и образован легированием определенной, указанной выше, дозой примеси.

[56]

Второй участок скрытого слоя расположен вокруг первого участка, примыкая к нему, и в первом варианте изобретения доза его легирования плавно или ступенчато уменьшается по мере увеличения расстояния от конкретного места легирования до первого участка. Ступенчатое уменьшение дозы легирования второго участка скрытого слоя служит здесь определенным способом образования плавного уменьшения дозы.

[57]

Во втором варианте изобретения второй участок скрытого слоя тоже расположен вокруг первого участка, примыкая к нему, но он состоит из совокупности вытянутых участочков, отходящих от первого участка, соприкасающихся или почти соприкасающихся между собой в месте их примыкания к первому участку, расходящихся между собой по мере увеличения расстояния от конкретного места второго участка до первого участка, при этом дозы легирования участочков и первого участка скрытого слоя практически одинаковы.

[58]

Второй конструктивный вариант исполнения второго участка обеспечивает плавное, наперед заданное, например линейное, например, учитывающее профили топологического чертежа и профиль разгонки, уменьшение средней дозы легирования при постоянстве реальной дозы ионного легирования. В этом варианте средняя доза легирования обеспечивается фотошаблоном, единым для формирования скрытого слоя на всей его площади.

[59]

В любом случае плавное изменение дозы легирования второго участка обеспечивает плавное изменение величины напряженности электрического поля, начиная с которого данное место второго участка обедняется носителями заряда. На таком достаточно протяженном участке плавного изменения дозы заряда и плавного изменения указанной напряженности поля не происходит заметного сгущения силовых линий. Размер участка плавного изменения дозы заряда или закон изменения дозы легирования определяются принятым допустимым уровнем сгущения силовых линий и могут быть определены аналитически, например с помощью программного комплекса TCAD, или экспериментально.

[60]

Сопоставительное сравнение с прототипом показывает, что заявляемые варианты структуры кристалла высоковольтного полупроводникового прибора и кристалла высоковольтной интегральной микросхемы отличаются от прототипа составом и конфигурацией скрытого слоя, местоположением скрытого слоя и характеристиками легирования его составных частей. Таким образом, заявляемая конструкция соответствует критерию изобретения «новизна».

[61]

Расположение первого участка скрытого слоя под всей областью n+ типа высокого уровня напряжения относительно подложки и заявленный уровень легирования этого участка ограничивают проникновение силовых линий в эту область, в том числе под край этой области, уменьшая уровень сгущения силовых линий на этом краю. Плавное изменение дозы легирования второго участка скрытого слоя, примыкающего к первому участку скрытого слоя, практически устраняет сгущение силовых линий на краю первого участка. Техническим результатом данной совокупности конструктивных решений является повышение высоковольтности структуры за счет повышения напряжения объемного пробоя. Следовательно, заявляемая конструкция соответствует критерию "изобретательский уровень".

[62]

Данное изобретение также существенно, так как оно обеспечивает значительный технический эффект, заключающийся в возможности создания нового поколения более высоковольтных полупроводниковых приборов и интегральных микросхем, а также в возможности обеспечения большего уровня запаса по напряжению, т.е. большего процента выхода годных при производстве и большего уровня надежности.

[63]

Предлагаемые варианты конструкции структуры, содержащие скрытые слои определенной формы, представлены на чертежах Фиг. 3, 4, 5.

[64]

Технический результат настоящего изобретения - повышение напряжения пробоя высоковольтных приборов (диодов, транзисторов) и участков высоковольтных интегральных схем, содержащих, например, диоды, LDMOS транзисторы, КМОП схемы и другие элементы.

[65]

КРАТКОЕ ОПИСАНИЕ ЧЕРТЕЖЕЙ

[66]

Фиг. 1. Поперечное сечение высоковольтной структуры–аналога.

[67]

Фиг. 2. Поперечное сечение высоковольтной структуры–прототипа.

[68]

Фиг. 3. Поперечное сечение первого варианта структуры, содержащей участок скрытого слоя с плавно уменьшающейся дозой легирования.

[69]

Фиг. 4. Поперечное сечение первого варианта структуры, содержащей участок скрытого слоя со ступенчато уменьшающейся дозой легирования.

[70]

Фиг. 5. Фрагмент топологии второго варианта скрытого слоя с уменьшающейся дозой легирования в среднем.

[71]

ОСУЩЕСТВЛЕНИЕ ИЗОБРЕТЕНИЯ

[72]

Главной особенностью структуры-прототипа является скрытый слой n-типа проводимости, неравномерно легированный по глубине и равномерно легированный на площади границы между подложкой и эпитаксиальным слоем.

[73]

Первый и второй варианты изобретения отличаются от прототипа конструктивными характеристиками (особенностями) скрытого слоя.

[74]

На Фиг. 3 представлена диодная структура, содержащая конструктивные признаки первого варианта изобретения.

[75]

Диодная структура может использоваться, например, в составе интегральных микросхем с изоляцией элементов обратно смещенным P-N переходом или диэлектрическим слоем.

[76]

Структура состоит из слаболегированной полупроводниковой подложки 1 p-типа, над которым сформирован высокоомный слой 2 n-типа, эпитаксиальный или, например, созданный методом спекания кремниевых пластин. В верхней части слоя 2 на некотором удалении друг от друга расположены низкоомные области: область 20, n-типа, и область 21, p-типа. Область 21 p-типа является катодом (К) диодной структуры, область 20 n-типа - ее анодом (А). Области 20 и 21 контактируют с металлическими электродами 12 и 11 соответственно.

[77]

Между областями 20 и 21 расположен блок 13, содержащий элементы, устраняющие пробой в приповерхностной области. Состав этого блока не расписан, т.к. он не является существенным для изобретения. Существенным является факт устранения с его помощью приповерхностного пробоя, в результате чего область пробоя перемещается в объем.

[78]

Для решения задачи повышения напряжения объемного пробоя на границе между подложкой 1 и слоем 2 сформирован дозированный скрытый слой n-типа, состоящий из двух участков, 22 и 23. Участок 22 расположен под областью 20 с запасом по охвату, захватывающему краевую часть области 20. Его доза легирования ограничена сверху величиной 0,2…0,25 мкКл/см2. Участок 23, довольно протяженный, примыкает к участку 22 со стороны области 21 и окружает участок 22. Доза легирования участка 23 плавно уменьшается по мере увеличения расстояния от конкретного места его легирования до участка 22.

[79]

При подаче на электрод А относительно электрода К положительного напряжения происходит обеднение слоя 2. С ростом напряжения обедненная область в слое 2 (т.е. и в слое 23) распространяется в сторону области 20. Небольшие толщина и концентрация легирующей примеси слоя 2 (в совокупности с текущей дозой легирования слоя 23) способствуют его практически полному обеднению при относительно невысоких напряжениях на аноде за исключением участка, расположенного вблизи сильнолегированной области 20. При любых напряжениях на аноде расположенный под областью 20 участок скрытого слоя 22 полностью или почти полностью экранирует линии электрического поля, связывающие отрицательные акцепторные заряды в подложке с положительными донорными зарядами области 20. Сгущение малого числа силовых линий вблизи края области 20 не позволяет достичь здесь уровней напряженности электрического пробоя структуры.

[80]

Протяженный участок скрытого слоя 23, примыкающий к участку 22, с плавным изменением дозы легирования по мере удаления от участка 22, обеспечивает плавное изменение напряженности поля на границе участка 23 с областью 1, т.е. устраняет и здесь возможное сгущение силовых линий.

[81]

В результате напряжение пробоя структуры, фрагмент которой изображен на Фиг. 3, может быть повышено почти до теоретического уровня пробоя плоских pn-переходов, определяемого концентрацией примеси подложки и ее глубиной.

[82]

Пример исполнения скрытого слоя по первому варианту изобретения показан на Фиг. 4, на которой изображен разрез участка структуры высоковольтного LDMOS транзистора в составе интегральной микросхемы.

[83]

Структура состоит из слаболегированной полупроводниковой подложки 1 p-типа, над которым сформирован высокоомный эпитаксиальный слой 2 n-типа. Под поверхностью слоя 2 на некотором расстоянии друг от друга расположены две не обедняемые полностью в диапазоне рабочих напряжений области 4 и 14, обе области p-типа, и сильно легированная область 7 n-типа. К области 14 со стороны области 7 примыкает протяженная слаболегированная область 3 p-типа. Глубина области 3 не регламентируется.

[84]

Кристалл содержит область разделительной диффузии 20 p-типа, окружающую высоковольтную часть структуры, содержащую область 7. Область 20 «протыкает» эпитаксиальный слой 2 до подложки 1, изолируя внутреннюю часть эпитаксиального слоя с областью 7 от внешних частей эпитаксиального слоя, и контактирует с металлическим электродом 11.

[85]

Область 3 тоже окружает высоковольтную часть структуры с областью 7, и в местах, где отсутствуют области 14 и 4, она примыкает к области 20.

[86]

В области 4 под поверхностью кремния расположены сильно легированная область 5 p-типа, контактирующая с металлическим электродом 11, и сильно легированная область 6 n-типа, расположенная в непосредственной близости от области 5, вблизи от области 2 и контактирующая с тем же металлическим электродом.

[87]

Область 7 контактирует с металлическим электродом 12.

[88]

В области 14 под поверхностью кремния расположены сильно легированная область 15 p-типа, контактирующая с металлическим электродом 16, гальванически соединенным с электродом 11.

[89]

Над участком области 4, расположенным между областями 6 и 2, над областью 2, расположенной между областями 4 и 14, и над краем области 14 расположен поликремневый электрод 8, сформированный на тонком диэлектрическом слое 9.

[90]

Вся структура, кроме контактных участков металлических электродов, покрыта защитным диэлектрическим слоем 10.

[91]

Область 6 является истоком, область 8 - затвором, приповерхностный участок под затвором 8 в области 4 между областями 6 и 2 - каналом с управляемой проводимостью, область 7 - сильно легированной частью стока и область 2 в пространстве между областью 7 и каналом - дрейфовой областью стока полевого транзистора.

[92]

Область 14 отделяет канал и затворный электрод 8 от стоковой области 7, перехватывает на себя силовые линии, создаваемые в области 7, и уменьшает влияние на канал и затворный электрод стоковых потенциалов. В результате повышается и быстродействие структуры, и стойкость к влиянию наводок и других паразитных факторов.

[93]

Данная структура является двойной RESURF - структурой, в которой область 2 обедняется снизу и сверху, обеспечивая повышение напряжения пробоя приповерхностных областей.

[94]

Для дополнительного повышения напряжения приповерхностного пробоя над слоем окисла поверх низколегированной области стока 2 и области 3 сформирована также система металлических или поликремниевых обкладок 18 в виде узких взаимно перекрывающихся кольцевых полос, расположенных между областями 14 и 7 и охватывающих область 7. Каждый из электродов отделен друг от друга и от поверхности кремниевого кристалла слоем термического окисла 19. Ближайшая к области 14 обкладка гальванически контактирует с металлическим электродом 16, ближайшая к области 7 обкладка гальванически контактирует с металлическим электродом 12. Другие обкладки не имеют соединений с проводящими ток элементами и являются «плавающими». Емкостная связь между соседними электродами обеспечивает более равномерное распределение напряжения как между ними, так и в прилежащем кремнии.

[95]

Обкладки 18 и протяженная область 3 могут рассматриваться в качестве элементов защиты от приповерхностного пробоя, дополняющих Resurf-структуру, поэтому они включены на Фиг. 4 в блок 13. При этом область 3 выполняет две функции: и функцию Resurf, в отношении обеднения слоя 2 сверху, и функцию защиты структуры от влияния паразитного положительного заряда в окисле. Величина дозы заряда в окисле является в технологическом цикле величиной измеряемой, и для выполнения обеих функций дозу легирования области 3 следует установить превышающей дозу паразитного заряда в окисле на 0,08…0,16 мкКл/см2.

[96]

Указанные элементы в совокупности позволяют устранить приповерхностный пробой и переместить область пробоя в объем.

[97]

Для повышения напряжения объемного пробоя на границе между подложкой 1 и слоем 2 сформирован скрытый слой n-типа, состоящий из первого участка 22, расположенного под всей областью 7 (с запасом по охвату области 7) и имеющего дозу легирования (n5) 0,2…0,25 мкКл/см2, и из охватывающего его второго участка со ступенчатым легированием, состоящего из областей 27 (с дозой примеси n4), 26 (с дозой n3), 25 (с дозой n2), 24 (с дозой n1). Дозы легирования указанных областей последовательно уменьшаются на величину 0,03…0,05 мкКл/см2, по мере удаления от области 22.

[98]

Конструкция блока 13 на Фиг. 4 довольно сложная.

[99]

Для ряда применений конструкция блока 13 может быть упрощена.

[100]

В качестве примера предлагаются простые варианты блока 13, содержащего:

[101]

- протяженную слаболегированную область 3 p-типа, расположенную под поверхностью эпитаксиального слоя вокруг сильно легированной области 7 n-типа и контактирующую с областью 14 p-типа, и два затворных электрода, расположенных на диэлектрике, из которых первый электрод, расположенный над областью 3 около места ее соединения с областью 14, гальванически соединен с областью 14, и второй электрод, расположенный над краем области 3 со стороны области 7 над прилегающей эпитаксиальной областью 2 и над прилегающим краем области 7, гальванически соединен с областью 7;

[102]

- протяженную слаболегированную область 3 p-типа, расположенную под поверхностью эпитаксиального слоя вокруг сильно легированной области 7 n-типа и контактирующую с областью 14 p-типа.

[103]

Для создания ступенчатой конструкции скрытого слоя, показанной на Фиг. 4, потребуются несколько фотошаблонов, несколько операций фотолитографии и несколько операций ионного легирования.

[104]

Возможна другая конструкция скрытого слоя, первый и второй участки которой создают едиными процессами фотолитографии и легирования.

[105]

При этом структура первого участка скрытого слоя изменений не претерпевает, а второй участок, окружая первый участок и примыкая к нему, обеспечивает уменьшение дозы легирования в среднем по мере увеличения расстояния от конкретного места второго участка до первого участка.

[106]

Для этого создается совокупность вытянутых участочков, отходящих от первого участка, соприкасающихся или почти соприкасающихся между собой в месте их примыкания к первому участку и расходящихся между собой по мере увеличения расстояния от конкретного места второго участка до первого участка. Средняя доза на том или ином расстоянии до первого участка определяется посредством умножения дозы легирования на отношение ширины участочка к расстоянию между участочками. Регулируя это отношение, можно отрегулировать закон уменьшения средней дозы при удалении от первого участка скрытого слоя.

[107]

Пояснить сказанное помогает эскиз части топологии скрытого слоя, изображенный на Фиг. 5. Сплошная область 22 представляет собой первый участок скрытого слоя, находящийся под областью 7 (см. Фиг. 3 и Фиг. 4). Расходящиеся вытянутые участочки 28 соприкасаются между собой на границе области 22, и по мере удаления от области 22 расстояния между ними увеличиваются, и их средняя доза легирования уменьшается.

Как компенсировать расходы
на инновационную разработку
Похожие патенты