Изобретение относится энергетике, а именно к автономным системам энергоснабжения объектов, удаленных от центрального энергоснабжения. Автономная энергетическая установка содержит аппаратный и топливный отсек, расположенные внутри корпуса, первичный источник энергии в виде источника возобновляемой энергии, вторичный источник энергии в виде топливного генератора с воздушным охлаждением, расположенного на теплопроводящей подложке с нагревательным элементом в термоизолированном шкафу топливного отсека, накопители энергии в виде аккумуляторных батарей и блок управления установкой, расположенные в климатическом шкафу аппаратного отсека. При этом топливный генератор снабжен патрубком отвода пара в дренажную емкость через термоизолированный канал и патрубком отвода горячего воздуха, соединенным с распределительным клапаном с двумя выходами, один выход которого соединен с воздуховыводящей трубой топливного отсека, а второй выход соединен с каналом, проходящим через радиатор, установленный под климатическим шкафом и соединенный с воздуховыводящей трубой аппаратного отсека. Технический результат – повышение надежности функционирования энергоустановки в условиях экстремально низких температур. 2 з.п. ф-лы, 3 ил.
1. Автономная энергетическая установка, характеризующаяся тем, что содержит аппаратный и топливный отсек, расположенные внутри корпуса, первичный источник энергии в виде источника возобновляемой энергии, вторичный источник энергии в виде топливного генератора с воздушным охлаждением, расположенного на теплопроводящей подложке с нагревательным элементом в термоизолированном шкафу топливного отсека, накопители энергии в виде аккумуляторных батарей и блок управления установкой, расположенные в климатическом шкафу аппаратного отсека, при этом топливный генератор снабжен патрубком отвода пара в дренажную емкость через термоизолированный канал и патрубком отвода горячего воздуха, соединенным с распределительным клапаном с двумя выходами, один выход которого соединен с воздуховыводящей трубой топливного отсека, а второй выход соединен с каналом, проходящим через радиатор, установленный под климатическим шкафом и соединенный с воздуховыводящей трубой аппаратного отсека. 2. Автономная энергетическая установка по п. 1, отличающаяся тем, что в аппаратном отсеке установлен датчик температуры, соединенный с блоком управления установки. 3. Автономная энергетическая установка по п. 1, отличающаяся тем, что аппаратный и топливный отсеки снабжены вентиляционными отверстиями.
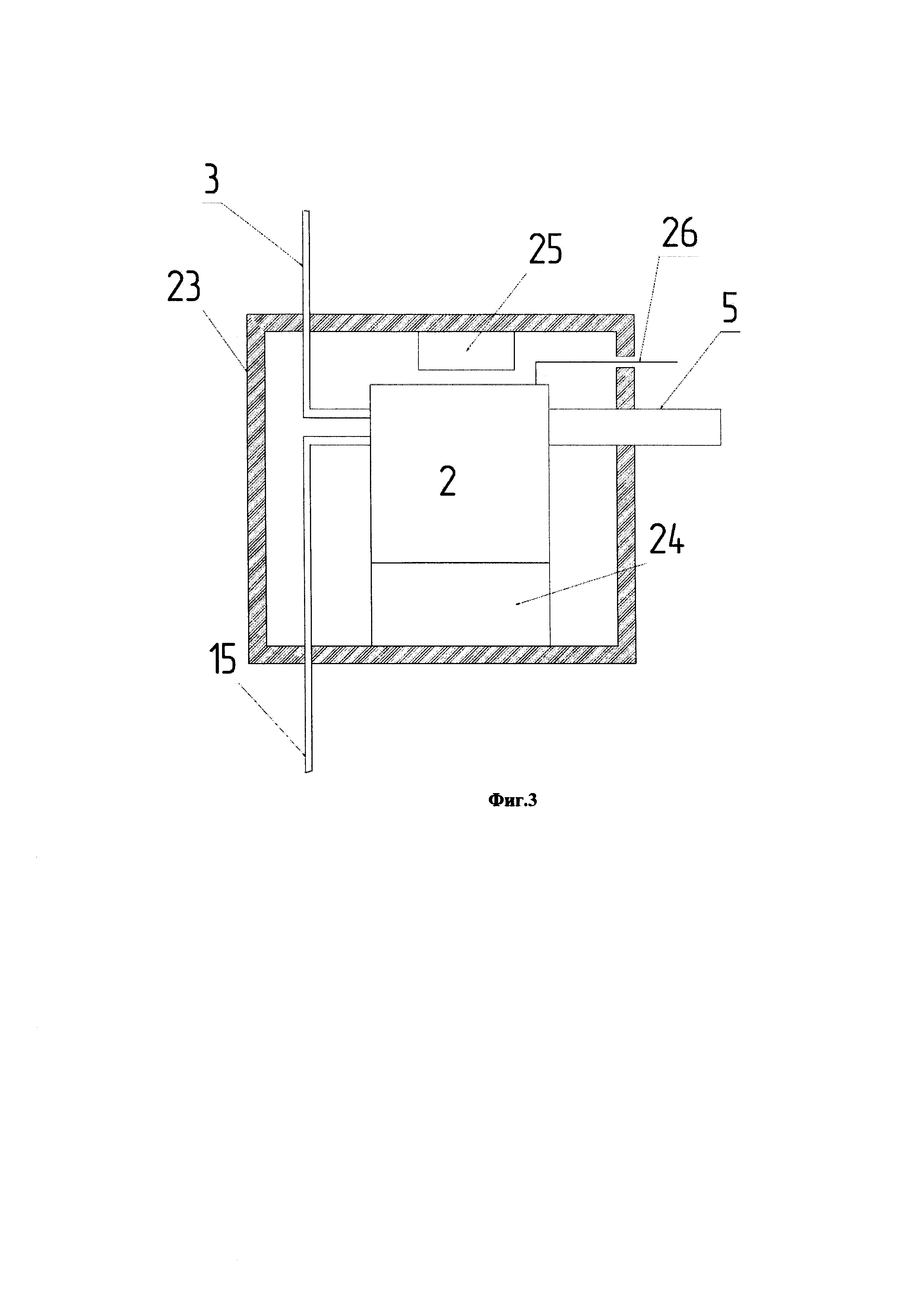
Область техники Изобретение относится к малой энергетике, а именно к области автономных систем энергоснабжения предназначенных для объектов, удаленных от центрального энергоснабжения. Средствами генерации и накопления энергии в данной установке являются: - Солнечные батареи; - Ветрогенератор; - Топливные генераторы; - Аккумуляторные батареи; - Емкости для хранения топлива для топливного элемента. Уровень техники Из существующего уровня техники известна гибридная автономная контейнерная электростанция (РФ Патент №162099) которая содержит солнечные панели, ветрогенераторы, аккумуляторные батареи, контроллер системы управления и распределительный щит управления, станция выполнена с обеспечением мобильности и дополнительно снабжена дизель-генераторной установкой со шкафом управления ДГУ и топливным баком. Недостатком данной модели является наличие дизель-генератора, что значительно снижает автономность энергетической установки, так как работа дизель-генератора связана с частыми техническими обслуживаниями. Известен мобильный генератор электроэнергии (США Патент №US8854794), содержащий телескопическую стрелу, выдвижную опорную ногу и основание. Телескопическая стрела содержит два конца. Ветряная турбина прикреплена ко второму концу телескопической стрелы. Первый конец телескопической стрелы и первая выдвижная опорная стойка прикреплены к основанию. Электрический генератор имеет подвижную панель солнечных батарей, которая может храниться в основании и размещаться в рабочем месте. Две двери, каждая из которых оснащена солнечными панелями. Мобильный генератор электроэнергии может дополнительно содержать аккумуляторную батарею в электрической связи с солнечными батареями для хранения электроэнергии. Недостатком данной модели является то, что при эксплуатации в экстремально низких температурах, не будет обеспечен температурный режим необходимый для работы аккумуляторных батарей, так же недостатком служит отсутствие резервного источника энергии, который бы обеспечил энергоснабжение в случае дефицита энергии идущей от возобновляемых источников. Известна автономная энергетическая установка (РФ патент №162244), содержащая первичный источник энергии в виде солнечных батарей или ветрогенератора, вторичный источник энергии в виде топливного генератора на топливных элементах, который размещен на теплопроводящей подложке, в которую встроен нагревательный элемент, топливные картриджи, аккумуляторную батарею, блок управления установкой, термодатчик помещенные в термоизолированный корпус при этом патрубок отвода газа (пара) топливного генератора снабжен нагревательным элементом, размещенным вблизи наружного края патрубка. В данном техническом решении топливный генератор охлаждается воздухом посредством вентилятора, при этом тепло, снимаемое с теплообменника генератора выводится в полость термоизолированного корпуса. Недостатком данной системы является то, что нагрев патрубка выпускной трубки выводящей конденсат из топливного элемента производится за счет электрической энергии с использованием резисторов большой мощности. Отказ данного устройства с возможным коротким замыканием в сочетании с глубоким разрядом аккумуляторных батарей, а так же низкой температурой окружающей среды может привести к отказу энергоустановки в целом. Так же недостатком является то, что топливный генератор находится в одном термоизолированном шкафу с аппаратурой, что вследствие работы топливного генератора может приводить к перегреву и выходу из строя элементов аппаратуры. Так же недостатком является то, что емкость с метанолом находится в одном климатическом шкафу с оборудованием, что за счет возможного наличия паров метанола в полостях контейнера может представлять опасность для технического персонала. Раскрытие изобретения Технической проблемой, на решение которой направлено заявляемое изобретение, является повышение надежности функционирования энергоустановки с возможностью функционирования энергоустановки в условиях экстремально низких температур. Технический результат заявленного изобретения заключается в том, что конденсат из топливного генератора отводится в дренажную емкость, аккумуляторные батареи находятся в отапливаемом шкафу. Технический результат заявленного изобретения достигается тем, что предложена автономная энергетическая установка, характеризующаяся тем, что содержит аппаратный и топливный отсек, расположенные внутри корпуса, первичный источник энергии в виде источника возобновляемой энергии, вторичный источник энергии в виде топливного генератора с воздушным охлаждением, расположенного на теплопроводящей подложке с нагревательным элементом в термоизолированном шкафу топливного отсека, накопители энергии в виде аккумуляторных батарей и блок управления установкой, расположенные в климатическом шкафу аппаратного отсека, при этом топливный генератор снабжен патрубком отвода пара в дренажную емкость через термоизолированный канал и патрубком отвода горячего воздуха соединенного с распределительным клапаном с двумя выходами, один выход которого соединен с воздуховыводящей трубой топливного отсека, а второй выход соединен с каналом, проходящим через радиатор, установленный под климатическим шкафом и соединенный с воздуховыводящей трубой аппаратного отсека. В предпочтительном варианте: - в аппаратном отсеке установлен датчик температуры, соединенный с блоком управления установки; - аппаратный и топливный отсеки снабжены вентиляционными отверстиями. Совокупность приведенных выше существенных признаков приводит к тому, что: обеспечивается надежность и стабильность запуска и работы установки даже в условиях низких температур. Краткое описание чертежей Сущность изобретения поясняется фигурами. На Фиг. 1 приведена схема автономной энергоустановки - вид справа, где цифрами обозначены: 1. Топливный картридж; 3. Топливный канал; 4. Топливный отсек; 5. Патрубок отвода горячего воздуха; 6. Распределительный клапан; 7. Воздуховыводящая труба; 8. Канал; 9. Климатический шкаф; 10. Радиатор; 11. Аппаратный отсек; 12. Воздуховыводящая труба; 13. Патрубок вывода воздуха наружу; 14. Патрубок вывода воздуха наружу; 15. Патрубок отвода пара; 16. Дренажная емкость; 17. Солнечные батареи; 18. Ветрогенератор; 19. Вентиляционное отверстие топливного отсека; 20. Вентиляционное отверстие аппаратного отсека; 22. Блок-контейнер (корпус); 23. Термошкаф; 24. Обогреватель. На Фиг. 2 приведена схема автономной энергоустановки - вид со стороны аппаратного отсека, где цифрами обозначены: 9. Термошкаф с накопителем заряда (аккумуляторная батарея) и органами контроля и управления установкой; 10. Радиатор; 11. Аппаратный отсек; 12. Воздуховыводящая труба; 14. Патрубок вывода воздуха наружу; 17. Солнечные батареи; 21. Термодатчик; 22. Блок-контейнер. На Фиг. 3 приведена схема термоизолированного шкафа 23, где цифрами обозначены: 2. Топливный элемент; 3. Топливный канал; 5. Патрубок отвода горячего воздуха; 15. Патрубок отвода пара; 23. Термошкаф; 24. Нагревательный элемент; 25. Датчик температуры. Осуществление и примеры реализации Ниже приведен пример конкретного выполнения заявляемого решения, который не ограничивает варианты его исполнения. Автономная энергетическая установка представлена следующей конструкцией. Солнечные батареи 17, так же как и в аналогичных технических решениях закреплены на крыше блок-контейнера (корпуса) 22 с помощью металлических конструкций (на чертежах не показаны). Блок-контейнер (корпус) 22 разделен на 2 отсека аппаратный 11 и топливный 4. От солнечных батарей 17 идет токопровод (не показан на чертежах), который через специальное технологическое отверстие блок-контейнера 22 попадает в аппаратный отсек 11 блок-контейнера 22, затем в климатический шкаф 9, и подсоединен к контроллеру энергии солнца блока управления, который закреплен внутри климатического шкафа 9, от контроллера энергии солнца токопровод проходит через датчик тока и датчик напряжения, (не показаны) затем закрепляется на клеммы аккумуляторный батареи, расположенной в климатическом шкафу 9 Ветрогенератор 18 установлен на опорном основании, на расстоянии 5-10 метров от блок-контейнера 22. От ветрогенаратора 18 идет токопровод, который через специальное технологическое отверстие блок-контейнера 22 попадает в аппаратный отсек 11 блок-контейнера 22, затем в климатический шкаф 9, и подсоединен к контроллеру энергии ветра блока управления, который закреплен внутри климатического шкафа 9, от контроллера энергии ветра токопровод проходит через датчик тока и датчик напряжения, затем закрепляется на клеммы аккумуляторный батареи. Контроллер энергии солнца и контроллер энергии ветра с блоком управления закреплены внутри климатического шкафа 9 аппаратного отсека 11. Топливный генератор 2 размещен на теплопроводящей подложке, в которую встроен нагревательный элемент 24, вся конструкция размещается в термошкафу 23 в топливном отсеке 4, на крышке термошкафа 23, внутри размещен датчик температуры 25, который с помощью провода соединен с блоком управления, который размещен в климатическом шкафу 9 в аппаратном отсеке 11. Термошкаф 23 имеет отверстия под патрубок для отвода горячего воздуха 5, патрубок для отвода пара 15, топливный канал 3 и токопровод 26. Токопровод 26 от топливного генератора 2, подключен к аккумуляторный батарее, размещенной в климатическом шкафу 9 в аппаратном отсеке 11. Топливный канал 3 соединяет топливный генератор 2 с топливным картриджем 1, который установлен на стеллаже. Стеллаж смонтирован над термошкафом 23 в топливном отсеке 4. Токовыводящий провод 26, идущий от топливного генератора 2 соединен с аккумуляторными батареями, находящимися в термошкафе 9. Патрубок для отвода пара 15 соединен с теплоизоляционным каналом, который соединен с дренажной емкостью 16 или гидроизалированной емкостью с возможностью откачки из нее воды с помощью гидронасоса, которая вкопана под блок-контейнером ниже глубины промерзания грунта. Так же как и в прототипе, топливный генератор имеет воздушную систему охлаждения с помощью обдувающего его вентилятора, но горячий воздух выводится не в полость корпуса, а в патрубок для отвода горячего воздуха 5, соединеный с входом в распределительный клапан 6, который размещен в топливном отсеке 4, распределительный клапан соединен с блоком управления и имеет один вход и два входа, к одному выходу подсоединена воздуховыводящая труба 7, которая подсоединена к патрубку вывода воздуха наружу 13, который выведен через технологическое отверстие в крыше топливного отсека 4 за пределы блок-контейнера 22. Ко второму выходу распределительного клапана 6 подсоединен канал 8, который проведен в аппаратный отсек 11, через технологическое отверстие в примыкающих друг другу стенках топливного отсека 4 и аппаратного отсека 11. Канал 8 подсоединен к входу в радиатор 10 который может представлять из себя полость, в которую попадает горячий воздух из канала 8, либо может быть представлен змеевидной конструкцией канала 8, радиатор 10 размещен в аппаратном отсеке 11, под климатическим шкафом 9, к выходу радиатора 10, подсоединена воздуховыводящая труба 12, которая подсоединена к патрубку вывода воздуха наружу 14, который выведен через технологическое отверстие в крыше аппаратного отсека 11 за пределы блок-контейнера 22. На противоположной от климатического шкафа 9 стенке аппаратного отсека 11 установлен датчик температуры 21, который подключен с помощью проводов к блоку управления. В стене аппаратного отсека 22 выполнено вентиляционное отверстие 20. В стене топливного отсека 4 выполнено вентиляционное отверстие 19. Возможны варианты устройства, содержащие первичные источники энергии в виде солнечных батарей, ветрогенераторов, в описании рассмотрен вариант использования обоих источников альтернативной энергии одновременно. Процесс работы автономной энергоустановки осуществляется следующим образом: энергия, вырабатываемая с помощью солнечных батарей 17, которые закреплены на крыше блок-контейнера 22, и (или) ветрогенератора 18, который размещен в непосредственной близости от блок-контейнера 22, через органы контроля и управления зарядом поступает в аккумуляторные батареи, расположенные в термошкафу 9, который размещен в аппаратном отсеке 11. В случае дефицита энергии производимой солнечными батареями и ветрогенератором, для заряда аккумуляторных батарей включаются топливные генераторы 2, которые размещены в термошкафу 23, размещенном в топливном отсеке 4. Электрический коэффициент полезного действия топливного элемента находится на уровне 30% остальные, около 70% тепловой энергии, чтобы избежать перегрева необходимо выводить в среду. Предлагается использовать тепло вырабатываемое в результате работы топливного элемента для отопления аппаратного отсека в холодное время года. Для этого нагретый воздух, выводимый в результате работы топливного генератора 2 посредством патрубка для отвода горячего воздуха 5, который закреплен на топливном генераторе, попадает в распределительный клапан 6, который через канал 8 направляется в радиатор 10, посредством которого и отапливается климатический шкаф 9, затем воздух выносится по воздуховыводящей трубе 12 в окружающую среду через патрубок вывода воздуха наружу 14. Информация о изменении температуре (ночные или сезонные перепады) в аппаратном отсеке измеряется посредством датчика температуры 21 либо оператором и передается на органы управления, откуда при достижении заданной температуры в аппаратном отсеке подается сигнал на регулировочный клапан 6, который переводит подачу горячего воздуха в воздуховыводящую трубу 7, где через выпускную трубку 13 воздух попадает в окружающую среду. Конденсат, который появляется в результате работы топливного элемента, выводится посредством патрубка для отвода пара 15, который помещен в термоизолированный кожух направляется в специальную дренажную емкость 16, вкопанную ниже глубины промерзания грунта. В случае, в термоизолированном шкафе 23 температура понижается ниже температуры хранения топливного генератора 2, датчиком температуры 25 подается сигнал в органы контроля и управления, после чего включается обогреватель 24, после достижения заданной температуры обогреватель выключается. Аппаратный отсек и топливный отсек имеет специальные вентиляционные отверстия 19 и 20, которые позволяют производить воздухообмен со средой для нейтрализации вредоносных аэрозолей вырабатываемых в результате работы эксплуатации аккумуляторных батарей и топливных элементов. За счет того что: - вывод конденсата из топливного генератора через термоизолированный канал, который попадает во вкопанную ниже глубины промерзания под блок-контейнером дренажную емкость. - во время падения температуры в аппаратном отсеке ниже заданных значений тепло, выделяемого в результате работы топливного генератора тепло поступает в аппарат нагрева находящийся в аппаратном отсеке. Если температура в аппаратном отсеке находится в пределах заданных значений, то тепло выводится в окружающую среду через воздуховыводящую трубу, расположенную в топливной отсеке; - топливный генератор с необходимым для его работы топливом, размещены в отдельном изолированном от аппаратного отсека топливном отсеке, который имеет систему вентиляции. Заявленное техническое решение решает следующие основные проблемы, а именно: - обеспечивает надежность запуска и работы топливного генератора; - обеспечивает температурный режим внутри аппаратного отсека, который необходим для работы аккумуляторных батарей; - предотвращает отравление ядовитыми парами метанола технического персонала.