патент
№ RU 2686242
МПК F15B13/044
Номер заявки
2018133147
Дата подачи заявки
19.09.2018
Опубликовано
24.04.2019
Страна
RU
Как управлять
интеллектуальной собственностью
Чертежи 
1
Реферат

Цифровой управляющий гидрораспределитель относится к области машиностроительной гидравлики, в частности к управляющим гидравлическим аппаратам с пропорциональным управлением, и может быть использован в различных электрогидравлических приводах стационарных систем. Гидрораспределитель содержит корпус, в котором смонтирована гильза с соосно размещенным в ней золотником, на передней боковой крышке соосно с золотником установлен цифровой шаговый электродвигатель, к задней боковой крышке прижат один конец предварительно сжатой пружины, второй конец которой прижимает шайбу к одному торцу золотника, второй торец которого прижат к упору, который размещен в корпусе и закреплен в осевом направлении изолирующей вставкой, через отверстие в которой проходит безрезьбовая часть винта-толкателя, резьбовая часть которого ввинчена в гайку, соосно закрепленную на валу цифрового шагового электродвигателя и удерживаемую в корпусе подшипником и стопорным кольцом. Технический результат – упрощение конструкции. 1 ил.

Формула изобретения

Цифровой управляющий гидрораспределитель, содержащий корпус с передней и задней крышками, гильзу, установленную внутри корпуса с соосно размещенным в ней золотником, на передней боковой крышке установлен цифровой шаговый электродвигатель, пружину, стопорное кольцо, подшипник и шайбу, отличающийся тем, что снабжен упором, изолирующей вставкой с отверстием, винтом толкателем, гайкой, при этом к задней боковой крышке прижат один конец предварительно сжатой пружины, второй конец которой прижат шайбой к одному торцу золотника, второй торец которого прижат к упору, размещенному в корпусе и закрепленному в осевом направлении изолирующей вставкой, через отверстие в которой проходит безрезьбовая часть винта-толкателя, а его резьбовая часть ввинчена в гайку, соосно закрепленную на валу цифрового шагового электродвигателя и удерживаемую в корпусе подшипником и стопорным кольцом.

Описание

[1]

Изобретение относится к области машиностроительной гидравлики, в частности к управляющим гидравлическим аппаратам с пропорциональным управлением, и может быть использовано в различных электрогидравлических приводах стационарных систем и мобильных машин.

[2]

Аналогом является цифровой управляющий гидрораспределитель с корпусом, золотниками, задающим шаговым электродвигателем, винтовой парой, узлом контроля положения золотника, выпускавшиеся по ТУ 2.024.6170-89 Шилутским заводом «Гидропривод», - см. Свешников В.К. Станочные гидроприводы: справочник. 5-е изд., перераб. и доп. М.: Машиностроение, 2008.

[3]

Недостатком аналога является сложность конструкции и низкая надежность.

[4]

Наиболее близким по технической сущности является цифровой управляющий гидрораспределитель (см. Патент RU 2505716 C1., МПК F15B 13/044, опуб. 27.01.2014), содержащий корпус, гильзу, золотник, переднюю и заднюю боковые крышки, цифровой шаговый электродвигатель, предварительно сжатую пружину с двумя шайбами, тянущим винтом и стопорным кольцом. Шаговый электродвигатель расположен в передней боковой крышке перпендикулярно к оси золотника и имеет на своем валу манжету и эксцентрик, который через подшипник взаимодействует с торцовыми поверхностями кольцевой канавки, выполненной на золотнике, а угол поворота эксцентрика ограничен фиксатором и не превышает 90 градусов. Входной импульсный электрический сигнал, поступающий на цифровой шаговый электродвигатель, вызывает поворот его вала на угол, определяемый числом поданных импульсов. Вместе с валом поворачивается эксцентрик, и через шарикоподшипник перемещает в осевом направлении золотник, сжимая пружину. Направление смещения определяется направлением поворота вала шагового электродвигателя. При смещении влево пружина сжимается одной шайбой, а при смещении вправо - второй шайбой, причем люфт между золотником и пружиной устраняется за счет соответствующей регулировки тянущего винта, а самопроизвольный поворот винта исключается за счет сил трения в фрикционном кольце. В аварийной ситуации отключается шаговый электродвигатель, развиваемый им крутящий момент падает, и пружина устанавливает золотник в нейтральную (безопасную) позицию. Этот возврат возможен лишь при ограниченном угле поворота шагового электродвигателя (±45°).

[5]

Недостатками такого решения являются: ограничение угла поворота эксцентрика и соединенного с ним вала шагового электродвигателя значением менее 90 градусов, что приводит к снижению быстродействия системы или росту потребляемой шаговым электродвигателем мощности; применение дополнительного устройства контроля перемещения золотника, которое снижает надежность конструкции.

[6]

Техническая задача направлена на улучшение динамических показателей распределителя.

[7]

Технический результат заключается в упрощении конструкции и увеличении ресурса гидрораспределителя.

[8]

Это достигается тем, что известный цифровой управляющий гидрораспределитель содержащий корпус с передней и задней крышками, гильзу установленную внутри корпуса и соосно размещенным в ней золотником, на передней боковой крышке установлен цифровой шаговый электродвигатель, пружину, стопорное кольцо, подшипник и шайбу, снабжен упором, изолирующей вставкой с отверстием, винтом толкателем, гайкой, при этом к задней боковой крышке прижат один конец предварительно сжатой пружины, второй конец которой прижат шайбой к одному торцу золотника, второй торец которого прижат к упору, размещенному в корпусе и закрепленому в осевом направлении изолирующей вставкой, через отверстие в которой проходит безрезьбовая часть винта-толкателя, а его резьбовая часть ввинчена в гайку, соосно закрепленную на валу цифрового шагового электродвигателя и удерживаемую в корпусе подшипником и стопорным кольцом. Сущность изобретения поясняется чертежом, на котором показан цифровой управляющий гидрораспределитель.

[9]

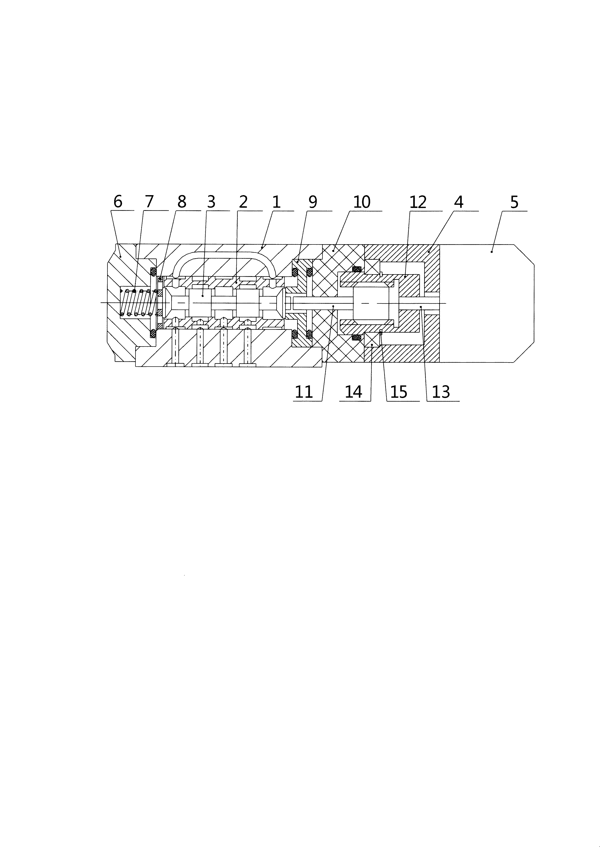
Цифровой управляющий гидрораспределитель содержит корпус 1, в котором смонтирована гильза 2 с соосно размещенным в ней золотником 3, на передней боковой крышке 4 соосно с золотником 3 установлен цифровой шаговый электродвигатель 5, к задней боковой крышке 6 прижат один конец предварительно сжатой пружины 7, второй конец которой прижимает шайбу 8 к одному торцу золотника 3, второй торец которого прижат к упору 9, который размещен в корпусе 1 и закреплен в осевом направлении изолирующей вставкой 10, через отверстие в которой проходит безрезьбовая часть винта-толкателя 11, резьбовая часть которого ввинчена в гайку 12, соосно закрепленную на валу 13 цифрового шагового электродвигателя 5 и удерживаемую в корпусе 1 подшипником 14 и стопорным кольцом 15.

[10]

Работает цифровой управляющий гидрораспределитель следующим образом.

[11]

В начальный момент предварительно сжатая пружина 7, через шайбу 8, прижимает золотник 3 к упору 9, при этом винт-толкатель 11 ввернут в гайку 12 так, что бы обеспечить отсутствие электрического контакта между ним и золотником 3. Входной импульсный электрический сигнал, поступает на цифровой шаговый электродвигатель 5, что сопровождается поворотом вала 13 и закрепленной на нем гайки 12 в подшипнике 14 на заданный угол, что обеспечивает смещение винта-толкателя 11 в направлении к золотнику 3 до появления электрического контакта между винтом-толкателем 11 и золотником 3. С этого момента подача на цифровой шаговый электродвигатель 5 заданного количества электрических импульсов обеспечит поворот гайки 12 на угол, величина которого пропорциональна числу импульсов и приведет к контролируемому смещению винта-толкателя 11, что в свою очередь, обеспечит перемещение золотника 3 на требуемую величину.

[12]

Осевые и радиальные усилия в передаче винт-толкатель 11 и гайка 12 передаются на подшипник 14, что способствует снижению нагрузки на цифровом шаговом электродвигателе 5 и увеличению ресурса гидрораспределителя.

[13]

Предотвращение вращения винта-толкателя 11 может быть выполнено, например, при помощи штифта и паза или посредством выполнения профилированного отверстия в изолирующей вставке 10 и лыски на безрезьбовой части винта-толкателя 11.

[14]

Использование передачи с винтом-толкателем 11 и гайкой 12 для преобразования вращательного движения вала 13 цифрового шагового электродвигателя 5, позволяет использовать цифровой шаговый электродвигатель 5 в большем диапазоне углов поворота вала 13, что улучшает динамические характеристики распределителя без увеличения уровня потребляемой мощности.

[15]

Наличие изолирующей вставки 10 обеспечивает контроль начального положения золотника 3, что упрощает конструкцию распределителя.

[16]

Возврат в исходное положение или сохранение текущего положения золотника 3 при отключении питания шагового электродвигателя 5 обеспечивается выбором шага резьбы в паре винт-толкатель 11 и гайка 12.

[17]

Использование изобретения позволяет упростить конструкцию, улучшить динамические показатели при сохранении той же мощности цифрового шагового электродвигателя 5 и увеличить общий ресурс гидрораспределителя.

Как компенсировать расходы
на инновационную разработку
Похожие патенты