патент
№ RU 2678338
МПК E21B43/20

Способ снижения водопритока к скважинам

Авторы:
Якупов Айдар Рашитович Подавалов Владлен Борисович Вафин Ильдус Закеевич
Все (6)
Номер заявки
2018100959
Дата подачи заявки
10.01.2018
Опубликовано
28.01.2019
Страна
RU
Как управлять
интеллектуальной собственностью
Чертежи 
1
Реферат

Изобретение относится к нефтяной промышленности и может найти применение при разработке залежей нефти. Технический результат - снижение обводненности и повышение объема добычи нефти. Способ включает выбор добывающей скважины, закачку малосольной воды в течение не менее пяти суток в нагнетательную скважину, перевод этой скважины на закачку сточной или пластовой воды с расходом до проведения мероприятия. Циклы закачки малосольной воды в нагнетательную скважину повторяют при росте обводненности добывающей скважины на 10-30% относительно обводненности после проведения предыдущего цикла закачки. Объем закачки малосольной воды в каждом последующем цикле увеличивают. Выбирают несколько добывающих скважин, расположенных на расстояниях не более 500 м от нагнетательной скважины. Закачку малосольной воды в нагнетательную скважину осуществляют в импульсном режиме и при работающих выбранных скважинах. Отключают устройство для импульсной закачки жидкости в пласт. Нагнетательную скважину переводят на закачку сточной или пластовой воды. Циклы закачки малосольной воды в нагнетательную скважину повторяют при отключенном устройстве для импульсной закачки жидкости и при росте обводненности, хотя бы в одной добывающей скважине, на 10-30% относительно обводненности после проведения предыдущего цикла закачки. В качестве устройства для импульсной закачки жидкости применяют гидравлический вибратор золотникового типа. Вибратор содержит полый ствол и золотник, которые выполнены с щелевыми прорезями. Для отключения гидравлического вибратора в его стволе над золотником просверливают радиальные отверстия. Отверстия сообщают между собой полости ствола и скважины. В полость ствола напротив радиальных отверстий и над щелевыми прорезями, с фиксацией от осевого перемещения, устанавливают полый шток. Шток выполняют с кольцевым выступом на нижнем конце внутренней стенки. Шток перекрывает щелевые прорези ствола при перемещении его вниз под радиальные отверстия. Полый шток перемещают давлением сточной или пластовой воды, закачиваемой в пласт после сброса в скважину шарика. Наружный диаметр шарика выбирают меньше внутреннего диаметра полого штока и больше внутреннего диаметра кольцевого выступа этого штока. 5 ил.

Формула изобретения

Способ снижения водопритока к скважинам, включающий выбор добывающей скважины, закачку малосольной воды в течение не менее пяти суток в нагнетательную скважину, перевод этой скважины на закачку сточной или пластовой воды с расходом до проведения мероприятия, циклы закачки малосольной воды в нагнетательную скважину повторяют при росте обводненности добывающей скважины на 10-30% относительно обводненности после проведения предыдущего цикла закачки, при этом объем закачки малосольной воды в каждом последующем цикле увеличивают, отличающийся тем, что выбирают несколько добывающих скважин, расположенных на расстояниях не более 500 м от нагнетательной скважины, закачку малосольной воды в нагнетательную скважину осуществляют в импульсном режиме и при работающих выбранных скважинах, после чего отключают устройство для импульсной закачки жидкости в пласт 3 и нагнетательную скважину переводят на закачку сточной или пластовой воды, циклы закачки малосольной воды в нагнетательную скважину повторяют при отключенном устройстве для импульсной закачки жидкости и при росте обводненности, хотя бы в одной добывающей скважине, на 10-30% относительно обводненности после проведения предыдущего цикла закачки, причем в качестве устройства для импульсной закачки жидкости в пласт применяют гидравлический вибратор золотникового типа, содержащий полый ствол и золотник с щелевыми прорезями, причем для отключения гидравлического вибратора в его стволе над золотником просверлены радиальные отверстия, сообщающие между собой полости ствола и скважины, а в полость ствола напротив радиальных отверстий и над щелевыми прорезями, с фиксацией от осевого перемещения, установлен полый шток, выполненный с кольцевым выступом на нижнем конце внутренней стенки и с возможностью перекрытия щелевых прорезей ствола при перемещении его вниз под радиальные отверстия ствола, причем полый шток перемещают по полости ствола вниз давлением сточной или пластовой воды, закачиваемой в пласт после сброса в скважину шарика, наружный диаметр которого выбран меньше внутреннего диаметра полого штока и больше внутреннего диаметра кольцевого выступа этого штока.

Описание

[1]

Изобретение относится к нефтяной промышленности и может найти применение при разработке залежей нефти.

[2]

Известен способ снижения водопритока к скважинам (Патент RU 2576726, МПК Е21В 33/138, Е21В 43/27, опубл. 10.03.2016), включающий выбор добывающей скважины. Закачивают в добывающую скважину рабочий агент. Осуществляют пуск скважины в добычу. При этом предварительно проводят лабораторные исследования на керне рассматриваемого пласта, в ходе которых выявляют возможность миграции мелкодисперсных глинистых частиц из пор под действием рабочего агента и забивания ими поровых каналов, определяемой снижением фазовой проницаемости коллектора по воде не менее чем в 1,5 раза. В качестве рабочего агента для закачки используют воду с общей минерализацией солей не более 5 г/л - малосольную воду, плотностью не более 1080 кг/м3. Закачку малосольной воды на скважине осуществляют с начальным расходом, превышающим максимальный исторический дебит жидкости данной скважины не менее чем в два раза. Закачку ведут в течение времени не менее пяти суток, после чего скважину пускают в работу при тех же режимах, что и до закачки. Циклы закачки малосольной воды повторяют при росте обводненности скважины на 10-30% относительно обводненности после проведения предыдущего цикла закачки и отбора закаченной воды. При этом объем закачки малосольной воды в каждом последующем цикле увеличивают не менее чем в 1,5 раза.

[3]

В известном способе не предусмотрена закачки малосольной воды через нагнетательную скважину, из-за чего низка нефтеотдача залежей.

[4]

Наиболее близким к заявляемому является способ снижения водопритока к горизонтальным скважинам (Патент RU 2569101, МПК Е21В 33/138, Е21В 43/20, опубл. 20.11.2015), включающий выбор добывающей горизонтальной скважины, закачку в нее рабочего агента и пуск скважины в добычу, отличающийся тем, что предварительно проводят лабораторные исследования на керне рассматриваемого пласта, в ходе которых выявляют возможность миграции мелкодисперсных глинистых частиц из пор под действием рабочего агента и забивания ими поровых каналов, определяемой снижением фазовой проницаемости коллектора по воде не менее чем в 1,5 раза, в качестве рабочего агента для закачки используют воду с общей минерализацией солей не более 5 г/л и плотностью не более 1080 кг/м3 - малосольную воду и/или воду с водородным показателем рН более 8,0 д.ед. - щелочную воду, закачку малосольной и/или щелочной воды осуществляют в выбранную добывающую скважину и ближайшую, находящуюся на расстоянии не более 500 м нагнетательную скважину с начальным расходом, отличающимся друг от друга не более чем на 20% и большим, чем расход в нагнетательную скважину сточной или пластовой воды до проведения мероприятия, закачку малосольной и/или щелочной воды ведут в течение времени не менее пяти суток, после чего добывающую скважину пускают в работу при тех же режимах, что и до закачки, а нагнетательную скважину переводят на закачку сточной или пластовой воды с расходом до проведения мероприятия, циклы закачки малосольной и/или щелочной воды повторяют при росте обводненности скважины на 10-30% относительно обводненности после проведения предыдущего цикла закачки и отбора закаченной воды, при этом объем закачки малосольной и/или щелочной воды в каждом последующем цикле увеличивают.

[5]

Недостатком прототипа является значительная обводненность нефти и небольшой объем добычи нефти ввиду недостаточного проникновения малосольной воды в пласт.

[6]

Задачей изобретения является снижение обводненности и повышение объема добычи нефти.

[7]

Поставленная задача решается тем, что в способе снижения водопритока к скважинам, включающем выбор добывающей скважины, закачку малосольной воды в течение не менее пяти суток в нагнетательную скважину, перевод этой скважины на закачку сточной или пластовой воды с расходом до проведения мероприятия, циклы закачки малосольной воды в нагнетательную скважину повторяют при росте обводненности добывающей скважины на 10-30% относительно обводненности после проведения предыдущего цикла закачки, при этом объем закачки малосольной воды в каждом последующем цикле увеличивают, новым является то, что выбирают несколько добывающих скважин, расположенных на расстояниях не более 500 м от нагнетательной скважины, закачку малосольной воды в нагнетательную скважину осуществляют в импульсном режиме и при работающих выбранных скважинах, после чего отключают устройство для импульсной закачки жидкости в пласт 3 и нагнетательную скважину переводят на закачку сточной или пластовой воды, циклы закачки малосольной воды в нагнетательную скважину повторяют при отключенном устройстве для импульсной закачки жидкости и при росте обводненности, хотя бы в одной добывающей скважине, на 10-30% относительно обводненности после проведения предыдущего цикла закачки, причем в качестве устройства для импульсной закачки жидкости в пласт применяют гидравлический вибратор золотникового типа, содержащий полый ствол и золотник с щелевыми прорезями, причем для отключения гидравлического вибратора в его стволе над золотником просверлены радиальные отверстия, сообщающие между собой полости ствола и скважины, а в полость ствола напротив радиальных отверстий и над щелевыми прорезями, с фиксацией от осевого перемещения, установлен полый шток, выполненный с кольцевым выступом на нижнем конце внутренней стенки и с возможностью перекрытия щелевых прорезей ствола при перемещении его вниз под радиальные отверстия ствола, причем полый шток перемещают по полости ствола вниз давлением сточной или пластовой воды, закачиваемой в пласт после сброса в скважину шарика, наружный диаметр которого выбран меньше внутреннего диаметра полого штока и больше внутреннего диаметра кольцевого выступа этого штока.

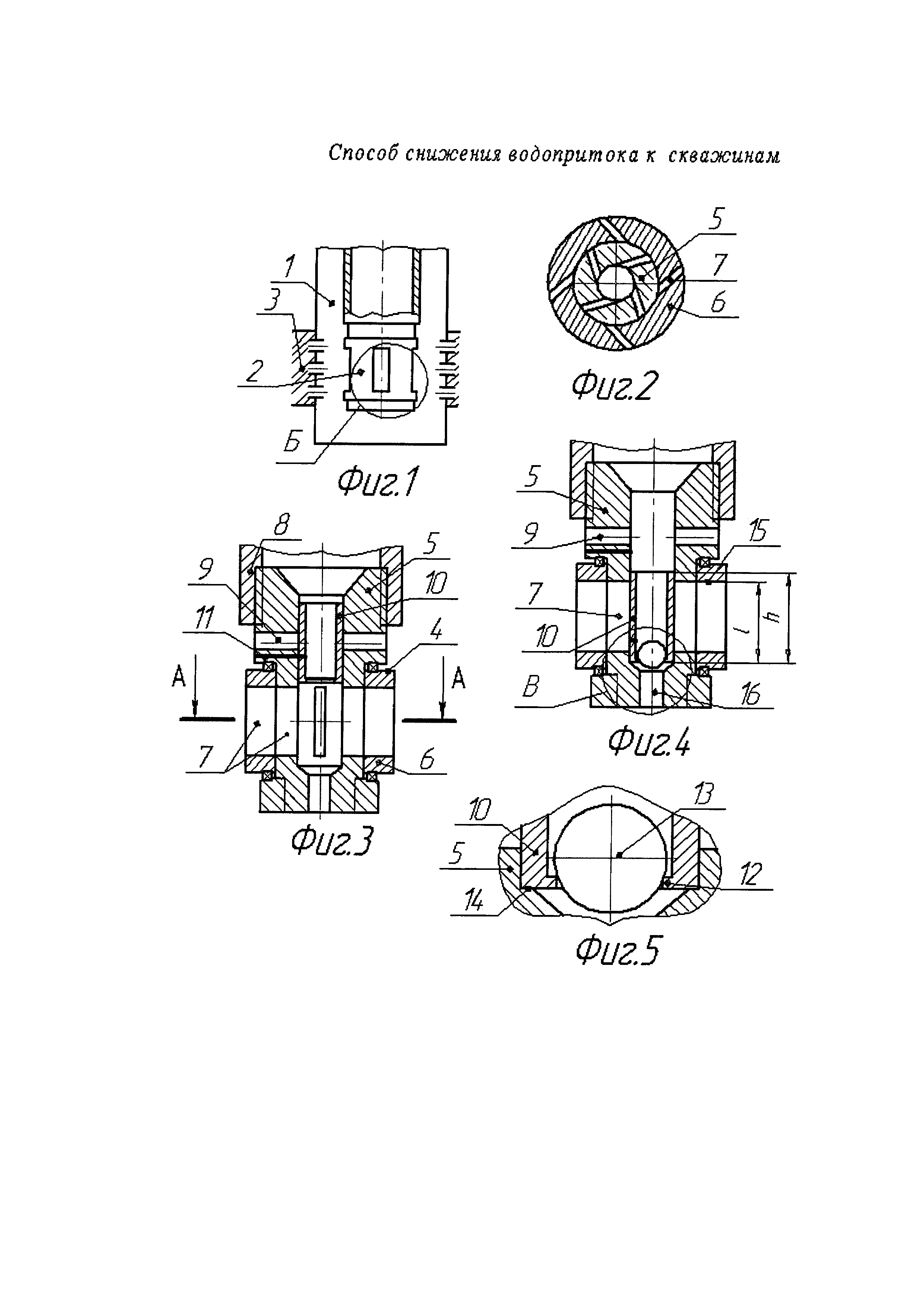
[8]

На фиг. 1 схематично изображена нижняя часть нагнетательной скважины в разрезе; на фиг. 2 изображен разрез А-А фиг. 3; на фиг. 3 - вид Б фиг. 1 на гидравлический вибратор в продольном разрезе (щелевые прорези условно показаны в одной вертикальной плоскости); на фиг. 4 - вид на гидравлический вибратор, поясняющий процесс закачки сточной или пластовой воды; на фиг. 5 - вид В фиг. 4.

[9]

Способ снижения водопритока к скважинам включает выбор добывающей скважины, закачку малосольной воды в течение не менее пяти суток в нагнетательную скважину, перевод этой скважины на закачку сточной или пластовой воды с расходом до проведения мероприятия. Циклы закачки малосольной воды в нагнетательную скважину повторяют при росте обводненности добывающей скважины на 10-30% относительно обводненности после проведения предыдущего цикла закачки. При этом объем закачки малосольной воды в каждом последующем цикле увеличивают. В предложенном способе выбирают несколько добывающих скважин, расположенных на расстояниях не более 500 м от нагнетательной скважины 1 (фиг. 1). Закачку малосольной воды в нагнетательную скважину 1 осуществляют в импульсном режиме и при работающих выбранных добывающих скважинах. При этом происходит забивание обводнившихся участков пласта возле нагнетательной скважины и возле добывающих скважин. В результате чего проницаемость по воде снижается и соответственно обводненность добывающих скважин уменьшается. Затем отключают устройство 2 для импульсной закачки жидкости в пласт 3 и нагнетательную скважину 1 переводят на закачку сточной или пластовой воды. Циклы закачки малосольной воды в нагнетательную скважину 1 повторяют при отключенном устройстве 2 для импульсной закачки жидкости и при росте обводненности, хотя бы в одной добывающей скважине, на 10-30% относительно обводненности после проведения предыдущего цикла закачки. В качестве устройства 2 для импульсной закачки жидкости применяют гидравлический вибратор 4 золотникового типа, описанный, например, в книге «Основы нефтяного и газового дела», авторы Н.Г. Середа, В.М. Муравьев, М. «НЕДРА» 1980, стр. 44. Данный вибратор 4 содержит полый ствол 5 и золотник 6, которые выполнены с щелевыми прорезями 7. Ствол 5 соединяется с переводником 8 и на колонне насосно-компрессорных труб спускается в нагнетательную скважину 1 напротив пласта 3. Для отключения гидравлического вибратора 4 при закачке сточной или пластовой воды, в его стволе 5 над золотником 6 просверлены радиальные отверстия 9, сообщающие между собой полости ствола 5 и скважины 1. В полость ствола 5 напротив радиальных отверстий 9 и над щелевыми прорезями 7, с фиксацией от осевого перемещения, установлен полый шток 10. Для фиксации штока 10 от осевого перемещения через ствол 5 и этот шток просверлено радиальное отверстие, куда запрессован штифт 11. Шток 10 выполнен с кольцевым выступом 12 на нижнем конце внутренней стенки и с возможностью перекрытия щелевых прорезей 7 ствола 5 при перемещении его вниз под радиальные отверстия 9 ствола. Для обеспечения вышеуказанной возможности высоту h штока 10 выбирают больше расстояния 1 от дна 14 полости ствола 5 до верхней стенки 15 щелевых прорезей 7 ствола 5, а шток 10 сажают в полость ствола 5 по скользящей посадке. Шток 10 перемещают по полости ствола 5 вниз давлением сточной или пластовой воды, закачиваемой в пласт после сброса в скважину шарика 13. Этот шарик закрывает отверстие кольцевого выступа 12 и от давления сточной или пластовой воды срезается штифт 11 и шток 10 вместе с шариком перемещаются вниз относительно ствола 5. Наружный диаметр шарика 13 выбран меньше внутреннего диаметра штока 10 и больше внутреннего диаметра кольцевого выступа 12 этого штока, чтобы шарик 13 имел возможность перемещаться по полости штока 10 и закрывал отверстие кольцевого выступа 12.

[10]

Способ реализуют следующим образом.

[11]

На участке нефтяной залежи на расстояниях не более 500 м от нагнетательной скважины выбирают горизонтальные или вертикальные добывающие скважины, к которым необходимо уменьшить водоприток. Далее, не останавливая добывающие скважины, гидравлический вибратор 4 спускают на насосно-компрессорных трубах в нагнетательную скважину и устанавливают на выбранной глубине. Малосольную воду прокачивают по колонне насосно-компрессорных труб насосным агрегатом, и она приводит в действие гидравлический вибратор 4. Вначале малосольная вода проходит через пусковые радиальные отверстия (не показаны) ствола 5 гидравлического вибратора и затем - через щелевые прорези 7 ствола 5 и золотника 6. Жидкость, проходя по щелевым прорезям 7, вращает золотник 6. При этом создаются колебания жидкости путем периодического перекрытия ее потока, протекающей через щелевые прорези 7 ствола 5 и золотника 6. Из гидравлического вибратора 4 малосольная вода в импульсном режиме проникает в пласт, образуя новые и расширяя старые трещины. Затем, сбросив шарик 13 в нагнетательную скважину 1, отключают гидравлический вибратор 4. Отключение этого вибратора осуществляют давлением сточной или пластовой воды, которая проходит по полости ствола 5 и через радиальные отверстия 9 ствола 5 закачивается в пласт. В это время шток 10 находится под действием давления сточной или пластовой воды в нижнем крайнем положении (как изображено на фиг. 4). В таком положении штока 10 щелевые прорези 7 ствола 5 и отверстие 16 ствола 5 закрыты этим штоком 10. Поэтому гидравлический вибратор 4 не работает, и сточная или пластовая вода проходит через радиальные отверстия 9 ствола 5 в полость нагнетательной скважины.

[12]

В предложенном способе закачка малосольной воды в импульсном режиме позволяет этой воде проникнуть глубже в пласт, чем в прототипе. В результате такой закачки забиваются более отдаленные участки пласта, что увеличивает время до следующей закачки и соответственно повышает нефтеотдачу. После закачки малосольной воды в импульсном режиме, закачка сточной или пластовой воды в скважину производится в обычном режиме, то есть при постоянном давлении с отключенным гидравлическим вибратором. В прототипе закачку малосольной воды производят постоянным давлением и при неработающей добывающей скважине. В предложенном же способе из-за закачки малосольной воды в импульсном режиме обеспечивается взаимодействие этой воды одновременно на пласты нескольких работающих добывающих скважин. Поэтому в предложенном способе, кроме снижения обводненности нефти, еще повышается объем добываемой нефти с выбранных добывающих скважин.

Как компенсировать расходы
на инновационную разработку
Похожие патенты