патент
№ RU 2635757
МПК F02K7/10

СПОСОБ УПРАВЛЕНИЯ ПРЯМОТОЧНЫМ ВОЗДУШНО-РЕАКТИВНЫМ ДВИГАТЕЛЕМ КРЫЛАТОЙ РАКЕТЫ

Авторы:
Титов Александр Петрович Дергачев Александр Анатольевич Матросов Андрей Викторович
Все (4)
Номер заявки
2016140200
Дата подачи заявки
13.10.2016
Опубликовано
15.11.2017
Страна
RU
Как управлять
интеллектуальной собственностью
Чертежи 
1
Реферат

Изобретение относится к области ракетной техники, созданию прямоточных воздушно-реактивных двигателей (ПВРД) для крылатых ракет (КР) и управлению КР. В случаях неисправности датчиков командных давлений выдается команда для выполнения резервного алгоритма управления ПВРД. Достигается заранее заданная высота КР и поддерживается скорость КР, соответствующая высоте полета КР. При этом регулирование расхода топлива осуществляется по параметрам скорости и высоты КР, а высота и скорость движения КР измеряются с помощью аппаратуры спутниковой навигации. Техническим результатом решения является повышение надежности работы ПВРД и, как следствие, повышение живучести КР и безопасности полета КР. 1 з.п. ф-лы, 1 ил.

Формула изобретения

1. Способ управления прямоточным воздушно-реактивным двигателем (ПВРД) крылатой ракеты (КР), включающий измерение командных давлений, температуры топлива и положения датчиков обратной связи, установленных в приборном отсеке и на агрегатах силовой установки, преобразование информации с датчиков давлений и температуры и передачу преобразованной информации по каналу обмена информацией к вычислителю, обработку полученной информации в вычислителе по заранее установленным алгоритмам поддержания скорости летательного аппарата на различных высотах движения аппарата, выдачу управляющих сигналов на агрегаты ПВРД, обеспечение самоконтроля блоков, датчиков и клапанов агрегатов ПВРД,

отличающийся тем, что при получении сигнала об отказе командных датчиков давления выдается команда для выполнения резервного алгоритма управления ПВРД, заключающегося в расчете и подаче потребляемого ПВРД топлива по измеряемым с помощью аппаратуры спутниковой навигации параметрам скорости и высоты КР, достигается заранее заданная высота и поддерживается скорость, соответствующая высоте полета КР, при этом для управления ПВРД выбирается заданная высотная траектория КР.

2. Способ управления прямоточным воздушно-реактивным двигателем (ПВРД) крылатой ракеты (КР) по п. 1, отличающийся тем, что обеспечивается помехозащищенность аппаратуры спутниковой навигации путем выделения достоверных спутниковых сигналов.

Описание

[1]

Изобретение относится к области ракетной техники, созданию прямоточных воздушно реактивных двигателей (ПВРД) для крылатых ракет (КР) и управлению КР.

[2]

Вопросы управления ПВРД изложены в многочисленных источниках. Например, в изобретении по патенту РФ 2394999 изложена система топливопитания ВРД, в изобретении по патенту РФ 2446305 изложен способ работы ПВРД с пульсирующим режимом горения.

[3]

В этих изобретениях (как и во многих других) авторы предлагали ограниченные по широте использования отличительные решения, касающиеся либо определенных типов двигателей, либо их элементов или способов использования элементов.

[4]

Для раскрытия предлагаемого решения, претендующего на широкое использование в различных ПВРД целесообразно обратиться к литературным источникам, содержащим широко известные сведения для создания системы управления ПВРД.

[5]

Одним из таких источников является издание «Обзор №282, ЦИАМ, 1988 год, Системы автоматического регулирования ПВРД», УДК 621.452.22-53:681.52. (далее - Обзор)

[6]

На стр. 88 Обзора приведена типичная блок-схема управления подачей топлива для ракеты. Из данной схемы, а также из ее описания на стр. 86 следует, что «топливо дозируется в зависимости от давления воздуха во входном диффузоре, которое характеризует расход воздуха».

[7]

В изобретении по патенту РФ №2189926 раскрыта топливоизмерительная система с компенсацией по температуре топлива. Одним из существенных признаков изобретения является наличие датчиков температуры топлива, расположенных на топливном баке.

[8]

Информация, получаемая от датчиков (давлений, температуры), обрабатывается в вычислителе, после чего формируется сигнал для регулирования подачи топлива.

[9]

Известен патент США (US 4263781), в котором предложена блок-схема программной системы регулирования, предназначенной для поддержания требуемого состава топливовоздушной смеси. Для расчета подачи топлива учитывается атмосферное давление воздуха. Давление и температура воздуха в воздухозаборнике используются для расчета потребного расхода топлива.

[10]

Известен патент США (US 4277940), который может быть взят как ближайший аналог предлагаемого решения. В изобретении представлена замкнутая система для обеспечения беспомпажной работы ПВРД и поддержания топливовоздушной смеси в заданном диапазоне в зависимости от условий полета ЛА. В изобретении измеряются параметры воздуха на входе в воздухозаборник, учитывается статическое давление воздуха и дальнейший расчет осуществляется с учетом полного давления воздуха на входе в ПВРД. В данной системе все наиболее существенные источники ошибок связаны с измерением или формированием необходимых параметров регулирования, что является как преимуществом (в целом замкнутые системы регулирования имеют выше точность в сравнении с системами с разомкнутым регулированием, использующими программные средства для расчета), так и недостатком. Ошибки измерений, разброс эксплуатационных характеристик агрегатов ведут к расширению допусков. Кроме того, даже в хорошо отлаженной системе остается высокой вероятность выхода из строя датчиков давления, на основе которых базируются основные вычисления для расхода топлива. Как следствие, ПВРД перестает функционировать.

[11]

Целью предлагаемого решения является разработка такого способа управления ПВРД, который был бы лишен указанных недостатков. В штатном режиме вычислитель (в качестве вычислителя может быть использован бортовой компьютер КР, электронный блок управления ПВРД, иная бортовая аппаратура КР) имел бы более точные показатели для расчета топливовоздушной смеси и оптимальной работы ПВРД по показаниям датчиков, а в случае выхода из строя одного (или всех) датчиков давления ПВРД вычислитель был способен сформировать режим работы ПВРД для дальнейшего полета КР.

[12]

Суть предлагаемого решения заключается в следующем.

[13]

В способе управления прямоточным воздушно-реактивным двигателем (ПВРД) крылатой ракеты (КР), включающем измерение командных давлений, температуры топлива и положения датчиков обратной связи, установленных в приборном отсеке и на агрегатах силовой установки, преобразование информации с датчиков давлений и температуры и передачу преобразованной информации по каналу обмена информацией к вычислителю, обработку полученной информации в вычислителе по заранее установленным алгоритмам поддержания скорости летательного аппарата на различных высотах движения аппарата, выдачу управляющих сигналов на агрегаты ПВРД, обеспечение самоконтроля блоков, датчиков и клапанов агрегатов ПВРД, введены следующие отличия.

[14]

При получении сигнала об отказе командных датчиков давления выдается команда для выполнения резервного алгоритма управления ПВРД, заключающегося в расчете и подаче потребляемого ПВРД топлива по измеряемым с помощью аппаратуры спутниковой навигации параметрам скорости и высоты КР, достигается заранее заданная высота и поддерживается скорость, соответствующая высоте полета КР, при этом для управления ПВРД выбирается заданная высотная траектория КР.

[15]

В предлагаемом решении дополнительно может быть введено следующее.

[16]

В способе управления прямоточным воздушно-реактивным двигателем (ПВРД) крылатой ракеты (КР) обеспечивается помехозащищенность аппаратуры спутниковой навигации путем выделения достоверных спутниковых сигналов.

[17]

Предлагаемое решение может быть реализовано следующим образом.

[18]

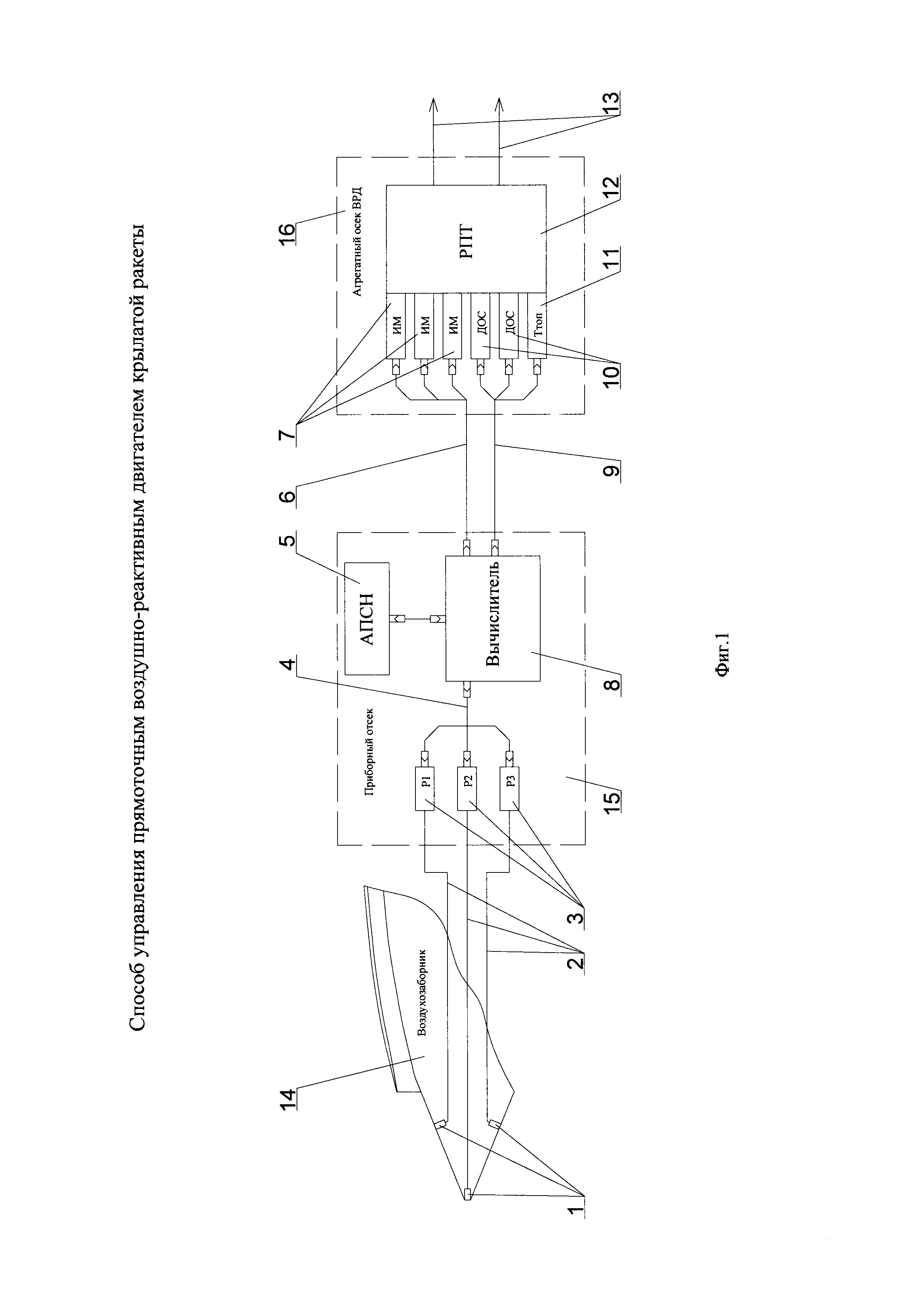
На фиг. 1 представлена блок-схема управления ПВРД, где позициями обозначены следующие элементы:

[19]

1 - приемники воздушного давления;

[20]

2 – пневмомагистрали;

[21]

3 - датчики командных давлений;

[22]

4 - канал обмена информацией;

[23]

5 - аппаратура спутниковой навигации (АПСН);

[24]

6 - магистраль управления исполнительными механизмами;

[25]

7 - исполнительные механизмы в составе регулятора подачи топлива (РПТ);

[26]

8 - вычислитель;

[27]

9 - канал обмена информацией с агрегатным отсеком ПВРД;

[28]

10 - датчики обратной связи в составе РПТ;

[29]

11 - датчик температуры в составе РПТ;

[30]

12 - регулятор подачи топлива;

[31]

13 - топливные магистрали;

[32]

14 - воздухозаборник;

[33]

15 - приборный отсек;

[34]

16 - агрегатный отсек ПВРД.

[35]

Как видно из блок-схемы на фиг. 1, после включения ПВРД его работа осуществляется по типичной для данного типа двигателя программе. В штатном варианте работы ПВРД информация, поступающая в вычислитель (8) от датчиков давления (3) через канал обмена информацией (4) и от датчиков температуры (11) через канал обмена информацией (9), обрабатывается в вычислителе (8), после чего через магистраль управления (6) подается команда на исполнительные механизмы (электромагнитные клапаны, сервоклапаны и т.п.) (7) регулятора подачи топлива для позиционирования топливных кранов (на фигуре не показаны, так как не являются сутью решения). Точность позиционирования контролируется с помощью датчиков обратной связи (10), информация с которых поступает в вычислитель через магистральный канал обмена информацией (9). Потребный расход топлива, подаваемый в камеру сгорания ПВРД рассчитывается в вычислителе по командным давлениям с поправкой на плотность топлива, определяемую с помощью датчиков температуры по заранее определенным высотно-скоростным характеристикам двигателя.

[36]

При этом по сигналам спутниковой навигации, поступающим от аппаратуры спутниковой навигации (5), могут быть определены меняющиеся координаты КР и, соответственно, скорость и высота КР относительно поверхности. Но, так как режим работы ПВРД по датчикам командных давлений согласуется с числом Маха (отношение скорости КР к скорости звука) КР относительно окружающей среды то, появляется возможность рассчитать поправки для расчета величин командных давлений и количества топлива, потребляемого на данной высоте при данной скорости по параметрам аппаратуры спутниковой навигации. Это необходимо в случаях наличия встречной или попутной составляющей ветра.

[37]

В случае выхода из строя датчиков давления (отсутствия сигнала от датчиков или подачи заведомо ложного сигнала, что может быть проконтролировано аппаратной частью или по значительному отклонению показаний датчиков давления от давлений, рассчитанных по скорости и высоте, определенных, в том числе, с помощью аппаратуры спутниковой навигации) во избежание остановки работы ПВРД может быть введен в действие резервный алгоритм работы двигателя.

[38]

Заключается алгоритм в следующем. Как было упомянуто выше, в штатном режиме подача топлива в камеру сгорания производится регулятором подачи топлива (12) через топливные магистрали (13) в соответствии с командными давлениями. Приемники (1) датчиков командных давлений находятся в воздухозаборнике (14) изделия и соединены с датчиками пневномагистралями (2). Так, в общем случае, для поддержания скорости полета расход топлива зависит от расхода воздуха через ПВРД, расход воздуха в свою очередь пропорционален полному давлению воздуха, измеряемому на передней части воздухозаборника (посредством приемника воздушного давления). Полное давление воздуха зависит от скорости, высоты полета КР и особенностей атмосферы в точке полета (времени года, широты и долготы местности). По сигналам, поступающим от аппаратуры спутниковой навигации, определяются поправки скорости КР для расчета величин командных давлений и количества топлива, потребляемого на данной высоте при данной скорости по параметрам аппаратуры спутниковой навигации.

[39]

С момента перехода на резервный алгоритм управления ПВРД производится расчет командных давлений по параметрам высоты и скорости, рассчитываемых по сигналам АПСН, с учетом поправок скорости КР (вычисляются на борту КР с учетом индивидуальных особенностей ПВРД, климата и последних значений датчиков). По командным давлениям производится расчет расхода воздуха и осуществляется подача топлива для поддержания заданной скорости полета на заданной высоте.

[40]

При возможном изменении состояния окружающей среды (изменении высоты полета, изменении скорости ветра и направления ветра при удалении от точки, где были рассчитаны поправки) расчет командных давлений может производиться с учетом данных о стандартной атмосфере для данной местности и времени года по исходным данным АПСН с возможной корректировкой по известному разрезу атмосферы, сделанному перед полетом.

[41]

Для КР может быть выбрана присущая ее конструктивным особенностям высотная траектория. Обладая достоверной информацией о тяговых (высотно-скоростных) характеристиках ПВРД, граничных значениях о перепадах давления, возможных погрешностях состава топливовоздушной смеси и возможных других величинах, а также с учетом расстояния до цели, производится расчет полета КР до цели, т.е. выбранная высотная траектория может быть скорректирована для выполнения поставленной задачи.

[42]

Учитывая появление техногенных факторов, негативно влияющих на работоспособность аппаратуры спутниковой навигации, а также, предполагая возможную постановку преднамеренных помех запрещенными в ряде стран международными организациями или вероятным противником, аппаратура спутниковой навигации должна быть выполнена в помехоустойчивом варианте. В связи с чем, предлагается обеспечить помехоустойчивость аппаратуры путем выделения полезного сигнала из массива принимаемой спутниковой антенной информации.

[43]

Одним из вариантов обеспечения выделения полезного сигнала может быть изготовление антенны из нескольких антенных элементов, разнесенных друг от друга на расчетное расстояние (зависимое от длины волны принимаемого сигнала), с последующей обработкой сигналов, воспринимаемых отдельными антенными элементами.

[44]

Обеспечение помехоустойчивости аппаратуры спутниковой навигации позволяет существенно повысить достоверность получаемой информации и, как следствие, обеспечить расчет параметров скорости и высоты КР. С помощью заранее сформированных поправок на основе данных о ПВРД и КР определить требуемый расход топлива и обеспечить полет КР, что изложено выше.

[45]

Таким образом, благодаря предложенному решению, достигается следующий технический результат. Появляется возможность скорректировать работу ПВРД в штатном режиме и сформировать резервную систему для управления ПВРД во внештатной (аварийной) ситуации, что существенно повышает надежность работы ПВРД и, как следствие, повышает живучесть КР, безопасность полета КР и вероятность поражения цели.

[46]

Технически предлагаемое решение вполне осуществимо. Каждым разработчиком и производителем ПВРД накоплена достаточная база о производимых ими особенностях ПВРД (параметрах работы, конструктивных и технологических особенностях, характеристиках ПВРД и др.), что может быть использовано в расчетах по доработке управления ПВРД.

[47]

Для реализации решения необходимо провести дополнительную доработку алгоритмов управления ПВРД и, как следствие, КР. Также, внедрение предлагаемого решения предполагает согласование работы аппаратуры спутниковой навигации, вычислителя и ПВРД.

[48]

Учитывая, что в состав бортовой аппаратуры практически любого КР включены аппаратура спутниковой навигации и вычислитель, реализация решения не требует установку дополнительной материальной части. Как следствие, не будут изменяться конструктивные особенности КР в целом, ПВРД в частности. Т.е. будет сокращен перечень испытаний, что снизит стоимость и время работ по доработке.

[49]

Практически, не изменится и технологический процесс изготовления ПВРД, что также положительно отразится на ускорении производства доработанного ПВРД и внедрения его в КР.

Как компенсировать расходы
на инновационную разработку
Похожие патенты