патент
№ RU 2637683
МПК E21B34/02

УСТРОЙСТВО ДЛЯ СБРОСА НЕФТЯНОГО ГАЗА ИЗ ЗАТРУБНОГО ПРОСТРАНСТВА

Авторы:
Оснос Владимир Борисович
Номер заявки
2016152440
Дата подачи заявки
28.12.2016
Опубликовано
06.12.2017
Страна
RU
Как управлять
интеллектуальной собственностью
Чертежи 
1
Реферат

Изобретение относится к нефтегазодобывающей промышленности, в частности к добыче насосом из скважин нефти с высоким содержанием газа. Технический результат - упрощение устройства и обеспечение возможности использования при работе с электропогружными насосами и погружными плунжерными – штанговыми насосами. Устройство содержит лифтовую колонну, насосную установку и устьевую запорную арматуру. Имеется также отводящий продукцию патрубок. Он сообщен с лифтовой колонной. В состав устройства входи и обратный клапан. Этот клапан выполнен с регулируемым открыванием для обеспечения необходимого уровня жидкости в затрубном пространстве и сообщен с лифтовой колонной выше соединения лифтовой колонны с отводящим патрубком. Упомянутый патрубок за пределами устьевой арматуры изготовлен восходящим от устьевой запорной арматуры на высоту не менее внутреннего диаметра отводящего патрубка. Сброс нефтяного газа предусмотрен через лифтовую колонну с использованием соответствующего хода плунжера штангового насоса или остановки и последующего запуска электропогружного насоса. 1 з.п. ф-лы, 3 ил.

Формула изобретения

1. Устройство для сброса нефтяного газа из затрубного пространства, содержащее лифтовую колонну, насосную установку, устьевую запорную арматуру, отводящий продукцию патрубок, сообщенный с лифтовой колонной, и обратный клапан, отличающееся тем, что обратный клапан с регулируемым открыванием для обеспечения необходимого уровня жидкости в затрубном пространстве сообщен с лифтовой колонной выше соединения лифтовой колонны с отводящим патрубком, который за пределами устьевой арматуры изготовлен восходящим от устьевой запорной арматуры на высоту не менее внутреннего диаметра отводящего патрубка, причем сброс нефтяного газа предусмотрен через лифтовую колонну с использованием соответствующего хода плунжера штангового насоса или остановки и последующего запуска электропогружного насоса.

2. Устройство для сброса нефтяного газа из затрубного пространства по п. 1, отличающееся тем, что отводящий патрубок изнутри снабжен газоотводной трубкой, восходящей от устьевой запорной арматуры с меньшим углом, чем отводящий патрубок, и соединяющей верхнюю зону отводящего патрубка около устьевой запорной арматуры с нижней зоной отводящего патрубка после подъема.

Описание

[1]

Изобретение относится к нефтегазодобывающей промышленности, в частности к добыче насосом из скважин нефти с высоким содержанием газа.

[2]

Известна глубинно-насосная установка (патент ПМ RU №15209, МПК F04B 47/00, опубл. в бюл. №27 от 27.09.2000), содержащая погружной насос, лифтовую колонну насосно-компрессорных труб, переходящую в выкидную линию скважины, оборудование для обвязки устья с клапанами для стравливания попутного газа из затрубного пространства в выкидную линию, при этом снабжена дополнительным газовым клапаном, размещаемым на лифтовой колонне под оборудованием для обвязки устья, с подпружиненной тарелкой.

[3]

Недостатками данной установки являются узкая область применения из-за невозможности работать в скважинах, вскрывающих пласты с высоким пластовым давлением, так как клапан не сможет открыться для сброса газа в лифтовую колонну, так же при размещении клапана под оборудованием для обвязки высока вероятность затопления клапана из затрубного пространства, что так же исключает сброс газа.

[4]

Известна арматура устья скважины (патент ПМ RU №60124, МПК Е21В 33/03, опубл. в бюл. №01 от 10.01.2007), включающая трубную головку с фланцем и боковым отводом, трубную подвеску с цилиндрическими каналами для подвески насосно-компрессорных труб и установления запорного органа, при этом фланец трубной головки выполнен с внутренней резьбой для установки прижимного кольца, цилиндрический канал запорного органа имеет сужение в виде усеченного конуса, конусное сужение имеет в торцевой части фаску и выполнено с боковым каналом для сообщения затрубного пространства скважины с внутренней полостью цилиндрического канала подвески, при этом запорный орган имеет цилиндрическую и конусную части, на поверхности которых выполнены канавки для установки уплотняющих колец, кроме того, отжимная пружина запорного органа вынесена в цилиндрическую часть канала, вне зоны воздействия скважинной жидкости.

[5]

Недостатками данной арматуры являются узкая область применения из-за невозможности работать в скважинах, вскрывающих пласты с высоким пластовым давлением, так как из-за сообщения внутритрубного пространства с конусной частью запорного органа, и он не сможет закрыться, ухудшая работу насосного оборудования, при этом арматура сложна в изготовлении и обслуживании.

[6]

Устройство для сброса нефтяного газа из затрубного пространства (патент RU №2256779, МПК Е21В 43/00, опубл. Бюл. №20 от 20.07.2005), содержащее колонну насосно-компрессорных труб, электроцентробежную насосную установку, устьевую запорную арматуру, эжекторное устройство и обратный клапан, при этом эжекторное устройство расположено на устье скважины при помощи быстросъемного разъемного соединения (БРС) с возможностью создания области пониженного давления в приемной камере по сравнению с давлением в затрубном пространстве скважины, а обратный клапан содержит стопорный штифт, имеющий возможность препятствовать закупорке выходного отверстия обратного клапана при больших расходах - подаче нефтяного газа, причем седло обратного клапана изготовлено съемным с возможностью проведения ревизии при ремонтах.

[7]

Недостатками данного устройства являются узкая область применения из-за работы только с электроцентробежными насосами, сложность изготовления и обслуживания индивидуальных для каждой скважины струйных насосов.

[8]

Технической задачей предполагаемого изобретения является создание простого и дешевого в изготовлении и обслуживании устройства для сброса нефтяного газа из затрубного пространства с возможностью работы с электропогружными насосами и с погружными плунжерными насосами.

[9]

Техническая задача решается устройством для сброса нефтяного газа из затрубного пространства, содержащим лифтовую колонну, насосную установку, устьевую запорную арматуру, отводящий продукцию патрубок, сообщенный с лифтовой колонной, и обратный клапан.

[10]

Новым является то, что обратный клапан с регулируемым открыванием для обеспечения необходимого уровня жидкости в затрубном пространстве сообщен с лифтовой колонной выше соединения лифтовой колонны с отводящим патрубком, который за пределами устьевой арматуры изготовлен восходящим от устьевой запорную арматуры на высоту не менее внутреннего диаметра отводящего патрубка, причем сброс нефтяного газа предусмотрен через лифтовую колонну с использованием соответствующего хода плунжера штангового насоса или остановки и последующего запуска электропогружного насоса.

[11]

Новым также является то, что отводящий патрубок изнутри снабжен газоотводной трубкой, восходящей от устьевой запорной арматуры с меньшим углом, чем отводящий патрубок, и соединяющей верхнюю зону отводящего патрубка около устьевой запорной арматуры с нижней зоной отводящего патрубка после подъема.

[12]

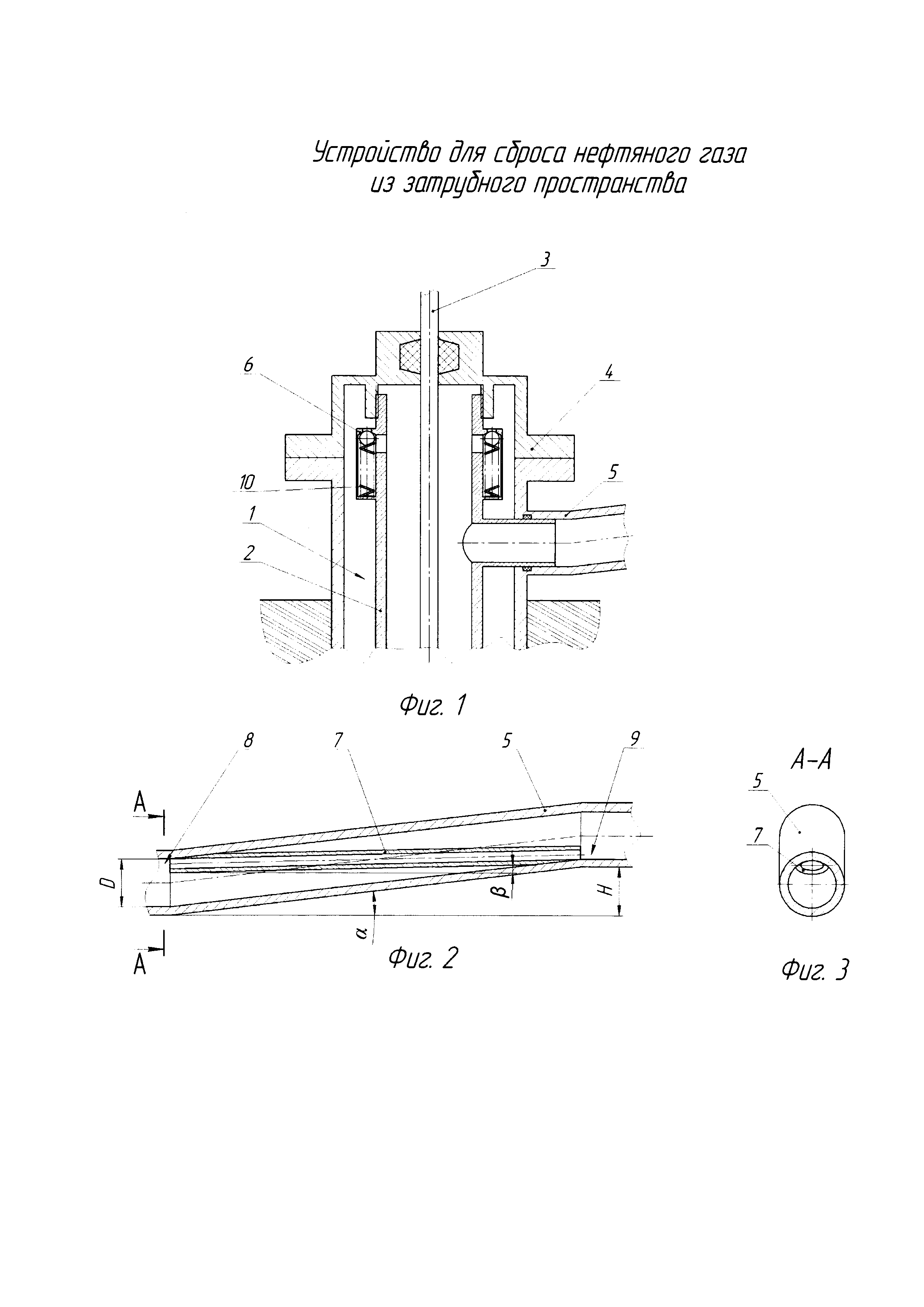
На фиг. 1 изображена схема устройства для сброса нефтяного газа из затрубного пространства.

[13]

На фиг. 2 изображен патрубок на участке восхождения от скважины. На фиг. 3 изображен разрез А-А см. фиг. 1.

[14]

Устройство для сброса нефтяного газа из затрубного пространства 1 содержит лифтовую колонну 2 (фиг. 1), насосную установку (на фиг. 1 не показана), снабженную кабель-канатом 3 или штангами 3, устьевую запорную арматуру 4, отводящий продукцию патрубок 5, сообщенный с лифтовой колонной 2, и обратный клапан 6. Обратный клапан 6 (любой известной конструкции: шаровой, тарельчатый, конусный и т.п.последние два на фиг. 1 не показаны) с регулируемым открыванием для обеспечения необходимого уровня жидкости в затрубном пространстве 1 сообщен с лифтовой колонной 2 выше соединения лифтовой колонны 2 с отводящим патрубком 5, который за пределами устьевой арматуры 4 изготовлен восходящим под углом α (фиг. 2) от устьевой запорную арматуры 4 (фиг. 1) на высоту Н (фиг. 2) не менее внутреннего диаметра D отводящего патрубка 5 (Н≥D). Отводящий патрубок 5 (фиг. 2 и 3) изнутри может быть снабжен газоотводной трубкой 7, восходящей от устьевой запорную арматуры 4 (фиг. 1) с меньшим углом β (фиг. 2), чем отводящий патрубок 5 (α>β), и соединяющей верхнюю зону 8 отводящего патрубка 5 около устьевой запорную арматуры 4 (фиг. 1) с нижней зоной 9 (фиг. 2) отводящего патрубка 5 после подъема. Технологические соединения и уплотнения, не влияющие на принцип работы устройства, на фиг. 1-3 не показаны или показаны, но не пронумерованы.

[15]

Устройство для сброса нефтяного газа из затрубного пространства работает следующим образом.

[16]

После гидродинамических исследований свойств пласта (на фиг. 1 не показан) регулируют усилие закрывания обратного клапана 6 (фиг. 1) (например, регулируя поджатие клапана пружиной 10) для обеспечения уровня жидкости в затрубном пространстве 1 (определяют эмпирически). После спуска в скважину лифтовой колонны 2 с клапаном 6 и насосной установки с кабель канатом 3 или штангами 3 устье герметизируют устьевой арматурой 4, обеспечивая сообщение отводящего патрубка 5 с лифтовой колонной 2. Запускают в работу насосную установку, при работе которой продукция пласта поднимается на поверхность, и отбирается по отводящему патрубку 5.

[17]

При использовании в качестве насосной установки штангового насоса при ходе плунжера (на фиг. 1 не показан) вместе со штангами 3 вниз из-за не моментального закрытия всасывающего клапана (на фиг. 1 не показан) насоса уровень жидкости в лифтовой колонне 2 незначительно падает создавая внутри разряжение, а скапливающийся в затрубном пространстве 1 нефтяной газ создает вверху избыточное давление, в результате обратный клапан 6 открывается и избыточное количество газа (за счет регулируемого клапана 6) из затрубного пространства 1 поступает внутрь лифтовой колонны 2. При ходе штанг 3 с плунжером вверх в лифтовой колонне 2 создается избыточное давление вытесняющее газ из верхней части лифтовой колонны 1 в отводящий патрубок 5 вместе с продукцией пласта поднимающейся по лифтовой колонне 1 и далее, смешиваясь с продукцией скважины (трехфазной смесью - нефтью, газом и водой), поступает в выкидную линию (на фиг. 1 не показан).

[18]

При использовании в качестве насосной установки электропогружного насоса (например, винтового или электроцентробежного) в ходе его работы внутри лифтовой колонны 2 создается избыточное давление, запирающее клапан 6, а в затрубном пространстве 1 скапливается нефтяной газ. Для сброса газа через заданное время (определяемое гидродинамическими исследованиями для исключения снижения уровня жидкости под действием скопившегося газа в затрубном пространстве 1 ниже критического) по кабель-канату 3 перестают подавать электрический ток, останавливая насос. Уровень жидкости в лифтовой колонне начнет снижаться, так как защитный клапан (на фиг. 1 не показан) насоса не закрывается мгновенно, создавая внутри разряжение, а скапливающийся в затрубном пространстве 1 нефтяной газ создает вверху избыточное давление, в результате обратный клапан 6 открывается и избыточное количество газа (за счет регулируемого клапана 6) из затрубного пространства 1 поступает внутрь лифтовой колонны 2. При подаче электрического тока по кабель-канату 3 насос запускается, создается избыточное давление вытесняющее газ из верхней части лифтовой колонны 2 в отводящий патрубок 5 вместе с продукцией пласта поднимающейся по лифтовой колонне 2, и далее, смешиваясь с продукцией скважины (трехфазной смесью - нефтью, газом и водой), поступает в выкидную линию.

[19]

За счет того, что отводящий патрубок 5 за пределами устьевой арматуры 4 изготовлен восходящим под углом α (фиг. 2) от устьевой запорной арматуры 4 (фиг. 1) на высоту Н (фиг. 2) не менее внутреннего диаметра D отводящего патрубка 5 (Н≥D), газ сразу отводится от устьевой арматуры 4, так как он по плотности меньше плотности продукции пласта, тем самым исключается подсос газа из отводящего патрубка 5 при ходе вниз плунжера со штангами 3 или при остановке электропогружного насоса. Так как вход отводящего патрубка 5 постоянно находится в пластовой жидкости (а жидкость практически не сжимаема) из-за всплывания газа, не уменьшается эффективность отбора газа из затрубного пространства 1 лифтовой колонны 2.

[20]

При образовании большого количества газа, особенно это актуально при использовании в качестве насосной установки электропогружного насоса, необходимо разбить газ при перекачке по отводящему патрубку 5 на мелкие пузырьки, чтобы исключить создание «гидрозатвора» при перекачке продукции пласта по выкидной линии. Для этого отводящий патрубок 5 (фиг. 2 и 3) изнутри дополнительно снабжают газоотводной трубкой 7, восходящей от устьевой запорную арматуры 4 (фиг. 1) с меньшим углом β (фиг. 2), чем отводящий патрубок 5 (α>β), и соединяющей верхнюю зону 8 отводящего патрубка 5 около устьевой запорную арматуры 4 (фиг. 1) с нижней зоной 9 (фиг. 2) отводящего патрубка 5 после подъема. Тем самым газ из зоны 8 поступает в зону 9 по газоотводной трубке 7 за счет подачи естественным путем (сила Архимеда) газа под поток продукции пласта, что приводит к делению потока газа на более мелкие пузырьки при всплывании через жидкость (продукцию пласта).

[21]

Так как обратный клапан 6 (фиг. 1) находится выше соединения лифтовой колонны 2 с отводящим патрубком 5, исключается взаимодействие клапана 6 с продукцией пласта и, как следствие, не будет происходить его засорение и отложение на нем парафинов и асфальтенов. В результате упрощается обслуживание устройства в целом.

[22]

Отсутствие большого числа сложных элементов также упрощает изготовление устройства и, как следствие, удешевляет в целом.

[23]

Предлагаемое устройство для сброса нефтяного газа из затрубного пространства просто и дешево в изготовлении и обслуживании и изготовлено с возможностью работы с электропогружными насосами и погружными плунжерными насосами.

Как компенсировать расходы
на инновационную разработку
Похожие патенты