патент
№ RU 2689051
МПК F16F15/31
Номер заявки
2018113293
Дата подачи заявки
12.04.2018
Опубликовано
23.05.2019
Страна
RU
Как управлять
интеллектуальной собственностью
Чертежи 
1
Реферат

Изобретение относится к области машиностроения. Маховик переменного момента инерции содержит камеру (1) цилиндрической формы. На внутренних торцевых поверхностях камеры соосно с ней жестко закреплены цилиндр малого диаметра (5) и цилиндр большого диаметра (6), расположенные коаксиально. Во внутренней полости (7) расположен цилиндрический поршень (10), жестко закрепленный со штоком (11). Во внешней полости (9) расположен кольцеобразный поршень (12). Две радиальные вертикальные перегородки (13) расположены на одинаковом расстоянии друг от друга. На верхней торцевой поверхности камеры выполнены верхние отверстия (14), идентичные профилю поперечного сечения вертикальных перегородок. На нижней поверхности кольцеобразного поршня под вертикальными перегородками жестко закреплены вертикальные стержни (17). Пространство внутренней полости над цилиндрическим поршнем и внешней полости над кольцеобразным поршнем соединены верхними каналами (19) и заполнены жидкостью. Пространство средней полости (8) заполнено атмосферным воздухом. Объем внутренней полости равен объему внешней полости. Достигается возможность регулирования момента инерции маховика без изменения скорости его вращения. 1 ил.

Формула изобретения

Маховик переменного момента инерции, содержащий камеру цилиндрической формы, жестко закрепленную на оси, цилиндр малого диаметра, жестко закрепленный на внутренних торцевых поверхностях камеры соосно с ней, пространство внутри которого образует внутреннюю полость, отличающийся тем, что он снабжен цилиндром большого диаметра, жестко закрепленным на внутренних торцевых поверхностях камеры соосно с ней и коаксиально цилиндру малого диаметра, при этом пространство между цилиндром малого диаметра и цилиндром большого диаметра образует среднюю полость, пространство между цилиндром большого диаметра и внутренней цилиндрической поверхностью камеры образует внешнюю полость, цилиндрическим поршнем, расположенным во внутренней полости и жестко закрепленным со штоком, выполненным с возможностью линейного перемещения, кольцеобразным поршнем, расположенным во внешней полости, выполненным с возможностью линейного перемещения по меньшей мере двумя радиальными вертикальными перегородками, жестко закрепленными на верхней поверхности кольцеобразного поршня на одинаковом расстоянии друг от друга, и соответствующим количеством верхних отверстий, выполненных на верхней торцевой поверхности камеры, сопряженной с внешней полостью, и идентичных профилю поперечного сечения вертикальных перегородок, вертикальными камерами, установленными над каждым из верхних отверстий, выполненными с возможностью движения в своей внутренней вертикальной полости вертикальных перегородок сквозь верхние отверстия, по меньшей мере двумя вертикальными стержнями, жестко закрепленными на нижней поверхности кольцеобразного поршня под вертикальными перегородками, и соответствующим количеством нижних отверстий, выполненных на нижней торцевой поверхности камеры, сопряженной с внешней полостью, идентичных профилю поперечного сечения вертикальных стержней, так, что внешняя полость герметична по отношению к окружающей среде, верхними каналами, расположенными в верхней части средней полости, которыми пространства внутренней полости над цилиндрическим поршнем и внешней полости над кольцеобразным поршнем гидравлически связаны между собой, нижними каналами, расположенными в нижней части средней полости, которыми пространства внутренней полости под цилиндрическим поршнем и внешней полости под кольцеобразным поршнем связаны между собой, при этом ось маховика выполнена в виде первой и второй полуосей, причем первая полуось выполнена с цилиндрическим отверстием в центральной части, в котором расположен шток, пространства внутренней полости над цилиндрическим поршнем и внешней полости над кольцеобразным поршнем заполнены жидкостью, используемой в качестве рабочего тела, и выполнены герметично по отношению к внешней среде, пространства внутренней полости под цилиндрическим поршнем и внешней полости под кольцеобразным поршнем заполнены воздухом и выполнены герметично по отношению к внешней среде, пространство средней полости заполнено атмосферным воздухом, объем внутренней полости равен объему внешней полости.

Описание

[1]

Изобретение относится к системам автоматического управления технологическими процессами, в работе которых необходимо поддерживать требуемые технологические параметры, зависящие от частоты вращения рабочих агрегатов, и может использоваться, в частности, в энергетическом машиностроении в системах управления гидроагрегатов при переходных процессах и аварийных режимах, возникающих при резком сбросе нагрузки большой суммарной мощности, характерных для малых гидроэлектростанций (ГЭС).

[2]

Известен маховик переменного момента инерции (патент RU №2175085, публ. 20.10.2001, МПК F16F 15/31), содержащий корпус с внутренней камерой, заполненной подвижной средой. В периферийной части камеры размещено капиллярно-пористое вещество. Устройство нагрева и устройство охлаждения соприкасаются с подвижной средой и капиллярно-пористым веществом. Обеспечивается возможность регулирования момента инерции путем изменения расстояния между осью вращения и центром масс независимо от скорости вращения маховика.

[3]

Недостатками настоящего технического решения являются сложность реализации и большие временные задержки при необходимости изменения момента инерции, вследствие необходимости использования специфического капиллярно-пористого вещества и устройства нагрева и охлаждения.

[4]

Известен маховик с переменным моментом инерции (авторское свидетельство RU №1615439, публ. 23.12.1990, МПК F03G 3/00), содержащий пустотелый барабан с камерой для жидкости, соединенный с валом с возможностью совместного вращения. Внутри камеры установлены радиальные перегородки. Жидкость из резервуара с помощью шнека, закрепленного на валу маховика, подается в камеру. По мере раскручивания маховика его масса увеличивается за счет нагнетания жидкости в камеру.

[5]

Недостатком данного технического решения является узкая область применения вследствие существенного ограничения возможности его использования в составе гидроагрегатов малых ГЭС, где требуется стабилизация частоты вращения при сбросе и наборе нагрузки, из-за отсутствия возможности изменения момента инерции маховика без изменения скорости его вращения.

[6]

Наиболее близким по технической сущности к предлагаемому изобретению является маховик переменного момента инерции с вертикальной осью вращения (авторское свидетельство RU №1221405, публ. 30.03.1986, МПК F16F 15/30), содержащий концентрические секции, частично заполненные рабочей жидкостью, внешняя из которых разделена радиальными перегородками. При этом секции в нижней части соединены между собой гидравлическим диодом, а уровень рабочей жидкости во внутренней секции выше, чем во внешней.

[7]

Недостатком настоящего технического решения является узкая область применения вследствие малого диапазона изменения момента инерции и необходимости изменения скорости вращения маховика для изменения его момента инерции.

[8]

Технической задачей предлагаемого изобретения является обеспечение возможности управляемого регулирования момента инерции маховика, не требующего изменения скорости его вращения.

[9]

Технический результат заключается в расширении области применения маховика переменного момента инерции за счет возможности его использования как для стабилизации частоты вращения, так и для управления частотой вращения рабочих агрегатов в соответствии с требуемым алгоритмом.

[10]

Это достигается тем, что известный маховик переменного момента инерции, содержащий камеру цилиндрической формы, жестко закрепленную на оси, цилиндр малого диаметра, жестко закрепленный на внутренних торцевых поверхностях камеры соосно с ней, пространство внутри которого образует внутреннюю полость, снабжен цилиндром большого диаметра, жестко закрепленным на внутренних торцевых поверхностях камеры соосно с ней и коаксиально цилиндру малого диаметра, при этом пространство между цилиндром малого диаметра и цилиндром большого диаметра образует среднюю полость, пространство между цилиндром большого диаметра и внутренней цилиндрической поверхностью камеры образует внешнюю полость, цилиндрическим поршнем, расположенным во внутренней полости и жестко закрепленным со штоком, выполненными с возможностью линейного перемещения, кольцеобразным поршнем, расположенным во внешней полости, выполненным с возможностью линейного перемещения, по меньшей мере, двумя радиальными вертикальными перегородками, жестко закрепленными на верхней поверхности кольцеобразного поршня на одинаковом расстоянии друг от друга и соответствующим количеством верхних отверстий, выполненных на верхней торцевой поверхности камеры, сопряженной с внешней полостью, и идентичных профилю поперечного сечения вертикальных перегородок, вертикальными камерами, установленными над каждым из верхних отверстий, выполненными с возможностью движения в своей внутренней вертикальной полости вертикальных перегородок сквозь верхние отверстия, по меньшей мере, двумя вертикальными стержнями, жестко закрепленными на нижней поверхности кольцеобразного поршня под вертикальными перегородками, и соответствующим количеством нижних отверстий, выполненных на нижней торцевой поверхности камеры, сопряженной с внешней полостью, идентичных профилю поперечного сечения вертикальных стержней, так, что внешняя полость герметична по отношению к окружающей среде, верхними каналами, расположенными в верхней части средней полости, которыми пространства внутренней полости над цилиндрическим поршнем и внешней полости над кольцеобразным поршнем гидравлически связаны между собой, нижними каналами, расположенными в нижней части средней полости, которыми пространства внутренней полости под цилиндрическим поршнем и внешней полости под кольцеобразным поршнем связаны между собой, при этом ось маховика выполнена в виде первой и второй полуосей, причем первая полуось выполнена с цилиндрическим отверстием в центральной части, в котором расположен шток, пространства внутренней полости над цилиндрическим поршнем и внешней полости над кольцеобразным поршнем заполнены жидкостью, используемой в качестве рабочего тела, и выполнены герметично по отношению к внешней среде, пространства внутренней полости под цилиндрическим поршнем и внешней полости под кольцеобразным поршнем заполнены воздухом и выполнены герметично по отношению к внешней среде, пространство средней полости заполнено атмосферным воздухом, объем внутренней полости равен объему внешней полости.

[11]

Сущность изобретения поясняется чертежом, на котором изображен фронтальный разрез маховика переменного момента инерции.

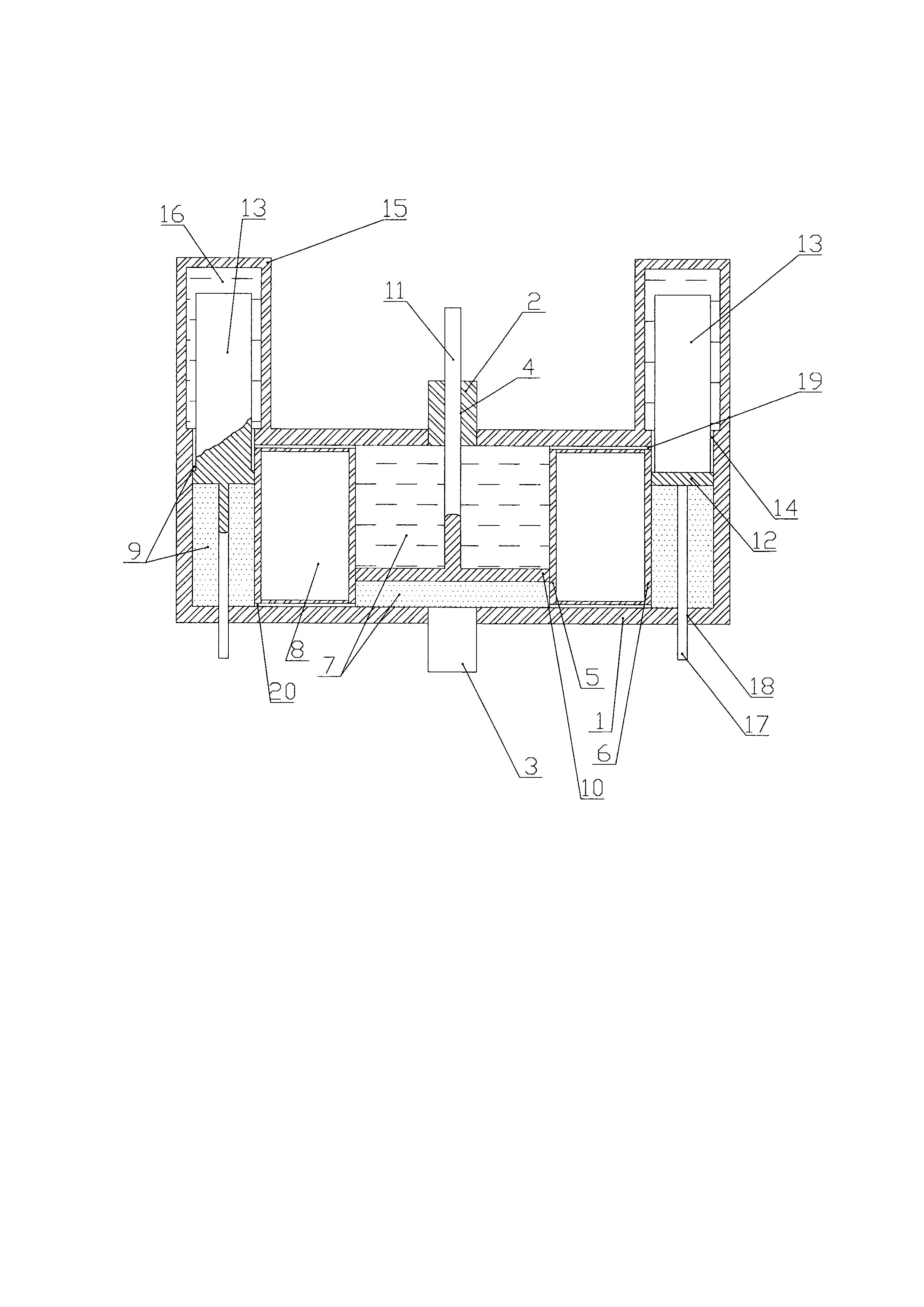
[12]

Маховик переменного момента инерции содержит камеру 1 цилиндрической формы, жестко закрепленную на оси, выполненной в виде первой полуоси 2 и второй полуоси 3, причем первая полуось 2 выполнена с цилиндрическим отверстием 4 в центральной части. На внутренних торцевых поверхностях камеры 1 соосно с ней жестко закреплены цилиндр малого диаметра 5 и цилиндр большого диаметра 6, расположенные коаксиально. При этом пространство внутри цилиндра малого диаметра 5 образует внутреннюю полость 7, пространство между цилиндром малого диаметра 5 и цилиндром большого диаметра 6 образует среднюю полость 8, пространство между цилиндром большого диаметра 6 и внутренней поверхностью камеры 1 образует внешнюю полость 9.

[13]

Во внутренней полости 7 расположен цилиндрический поршень 10, жестко закрепленный со штоком 11, расположенным в цилиндрическом отверстии 4 первой полуоси 2, выполненные с возможностью линейного перемещения. Во внешней полости 9 расположен кольцеобразный поршень 12, выполненный с возможностью линейного перемещения.

[14]

На верхней поверхности кольцеобразного поршня 12 жестко закреплены, по меньшей мере, две радиальные вертикальные перегородки 13, расположенные на одинаковом расстоянии друг от друга, а на верхней торцевой поверхности камеры 1, сопряженной с внешней полостью 9, выполнено соответствующее количество верхних отверстий 14, идентичных профилю поперечного сечения вертикальных перегородок 13. Над каждым из верхних отверстий 14 установлена вертикальная камера 15, выполненная с возможностью движения в своей внутренней вертикальной полости 16 вертикальных перегородок 13 сквозь верхние отверстия 14. При этом высота вертикальных перегородок 13 выбрана такой, чтобы при нижнем положении кольцеобразного поршня 12 они были расположены не ниже верхней плоскости верхних отверстий 14.

[15]

На нижней поверхности кольцеобразного поршня 12 под вертикальными перегородками 13 жестко закреплены вертикальные стержни 17, а на нижней торцевой поверхности камеры 1, сопряженной с внешней полостью 9, выполнено соответствующее количество нижних отверстий 18, идентичных профилю поперечного сечения вертикальных стержней 17, так, что внешняя полость 9 герметична по отношению к окружающей среде. При этом высота вертикальных стержней 17 выбрана такой, чтобы при верхнем положении кольцеобразного поршня 12 была обеспечена герметичность внешней полости 9 по отношению к окружающей среде.

[16]

Пространства внутренней полости 7 над цилиндрическим поршнем 10 и внешней полости 9 над кольцеобразным поршнем 12 соединены верхними каналами 19, расположенными в верхней части средней полости 8, заполнены жидкостью, используемой в качестве рабочего тела, и выполнены герметично по отношению к внешней среде. Пространства внутренней полости 7 под цилиндрическим поршнем 10 и внешней полости 9 под кольцеобразным поршнем 12 соединены нижними каналами 20, расположенными в нижней части средней полости 8, заполнены воздухом и выполнены герметично по отношению к внешней среде. Пространство средней полости 8 заполнено атмосферным воздухом окружающей среды.

[17]

Диаметр камеры 1, а также диаметры цилиндра малого диаметра 5 и цилиндра большого диаметра 6 выбраны такими, чтобы объем внутренней полости 7 был равен объему внешней полости 9. Количество вертикальных перегородок 13 выбирается с учетом их прочностных характеристик и гидродинамических нагрузок, воздействующих на них при вращении маховика.

[18]

Маховик переменного момента инерции работает следующим образом.

[19]

Минимальный момент инерции маховика соответствует нижнему положению цилиндрического поршня 10 и верхнему положению кольцеобразного поршня 12. В этом положении фактически вся жидкость находится в центральной части маховика - во внутренней полости 7 над цилиндрическим поршнем 10. Минимальный момент инерции маховика, как правило, используют в системах автоматического управления для режима холостого хода, предшествующего выходу на номинальные обороты рабочих агрегатов. Изменение момента инерции маховика осуществляется линейным перемещением цилиндрического поршня 10 совместно со штоком 11. При этом шток 11 перемещается вдоль цилиндрического отверстия 4, а цилиндрический поршень 10 - вдоль внутренней цилиндрической поверхности цилиндра малого диаметра 5.

[20]

При перемещении цилиндрического поршня 10 из нижнего в верхнее положение жидкость из внутренней полости 7 над цилиндрическим поршнем 10 перемещается по верхним каналам 19 во внешнюю полость 9 над кольцеобразным поршнем 12, что приводит к перемещению кольцеобразного поршня 12 в нижнее положение. При этом воздух под кольцеобразным поршнем 12 из внешней полости 9 вытесняется по нижним каналам 20 в пространство внутренней полости 7 под цилиндрическим поршнем 10. Это приводит к увеличению момента инерции в силу того, что жидкость из центральной области маховика перемещается к его периферии. Максимальный момент инерции маховика достигается при нижнем положении кольцеобразного поршня 12.

[21]

При перемещении цилиндрического поршня 10 из верхнего положения в нижнее жидкость над кольцеобразным поршнем 12 из внешней полости 9 перемещается по верхним каналам 19 во внутреннюю полость 7 над цилиндрическим поршнем 10, а воздух из внутренней полости 7 под цилиндрическим поршнем 10 перемещается по нижним каналам 20 в пространство внешней полости 9 под кольцеобразным поршнем 12, что приводит к перемещению кольцеобразного поршня 12 из нижнего положения в верхнее. Это приводит к уменьшению момента инерции в силу того, что жидкость из периферийной области маховика перемещается в его центральную область.

[22]

Линейное перемещение цилиндрического поршня 10 осуществляют внешним воздействием исполнительного механизма на шток 11 в соответствии с алгоритмом системы управления технологическим процессом. Необходимо отметить, что перемещение цилиндрического поршня 10 и кольцеобразного поршня 12 жестко взаимно связаны между собой - на какое расстояние поднялся или опустился цилиндрический поршень 10, на такое же расстояние опускается или поднимается кольцеобразный поршень 12. Это обусловлено равенством объемов внутренней полости 7 и внешней полости 9.

[23]

Наличие нескольких радиальных вертикальных перегородок 13, перемещающихся совместно с кольцеобразным поршнем 12, обеспечивают совместное вращение с одинаковой угловой скоростью камеры 1 и жидкости, находящейся во внешней полости 9 над кольцеобразным поршнем 12.

[24]

Наличие вертикальных стержней 17, перемещающихся вдоль нижних отверстий 18 совместно с кольцеобразным поршнем 12 и вертикальными перегородками 13, обеспечивает необходимую механическую прочность и жесткость конструкции, предотвращая возможность проворачивания кольцеобразного поршня 12 во внешней полости 9 при резких изменениях скорости вращения маховика и, соответственно, предотвращая деформацию вертикальных перегородок 13.

[25]

Предлагаемое изобретение позволяет решать широкий круг задач, как по выбору момента инерции маховика, соответствующего номинальному значению частоты вращения рабочих агрегатов, так и по выбору диапазона регулирования момента инерции маховика относительно его номинального значения.

[26]

Под номинальным значением здесь понимается момент инерции маховика, которым он (маховик) обладает при равном распределении жидкости между внутренней полостью 7 и внешней полости 9.

[27]

Диапазон изменения момента инерции маховика определяется выбором необходимого объема внутренней полости 7, в которой должна помещаться требуемая масса жидкости, а также выбором объема средней полости 8, изменение объема которой позволяет смещать расположение внешней полости 9 по отношению к внутренней полости 7. При этом соблюдение равенства объемов внутренней полости 7 и внешней полости 9 обеспечивает максимальный диапазон изменения момента инерции маховика для выбранного объема средней полости 8.

[28]

Таким образом, предлагаемая конструкция маховика позволяет: использовать маховик в системах автоматического управления технологическими процессами, в работе которых необходимо поддерживать требуемые технологические параметры, зависящие от частоты вращения рабочих агрегатов;

[29]

- реализовать требуемое значение номинального момента инерции маховика путем изменения размеров средней полости;

[30]

- существенно расширить диапазон управляемого изменения момента инерции маховика относительно его номинального значения за счет выбора необходимого объема внутренней полости, в которой должна помещаться требуемая масса жидкости;

[31]

- регулировать момент инерции маховика относительно его номинального момента инерции независимо от скорости вращения маховика.

[32]

- снизить момент инерции маховика в режиме его разгона до номинальных оборотов за счет размещения всей жидкости в центральной области маховика;

[33]

- работать маховику как в вертикальном, так и горизонтальном положении.

[34]

При использовании предлагаемого изобретения в системах управления гидроагрегатов при переходных процессах и аварийных режимах, возникающих при резком сбросе нагрузки большой суммарной мощности, характерных для малых гидроэлектростанций, маховик, сопряженный с гидроагрегатом, создает дополнительный тормозящий момент для гидроагрегата, предотвращая его неуправляемый разгон. Также он позволяет осуществлять управляемое демпфирование случайных возмущений, связанных с не стационарностью гидропотока, и запасать механическую энергию в период, предшествующий ожидаемому увеличению электрической нагрузки, для предотвращения аварийного снижения оборотов гидроагрегата, связанного с резким набором нагрузки большой суммарной мощности, заранее увеличивая момент инерции вращающегося маховика под воздействием внешнего управления. Кроме того, подобное устройство может найти применение в ветроэнергетике.

Как компенсировать расходы
на инновационную разработку
Похожие патенты