патент
№ RU 2655464
МПК G01J5/02

ТЕПЛОВИЗИОННЫЙ МОДУЛЬ

Авторы:
Глушинский Валерий Александрович Мелентович Артур Викторович Колдаев Александр Васильевич
Все (5)
Номер заявки
2017107053
Дата подачи заявки
03.03.2017
Опубликовано
28.05.2018
Страна
RU
Как управлять
интеллектуальной собственностью
Чертежи 
2
Реферат

Изобретение относится к области тепловидения, к тепловизионным системам, преобразующим инфракрасное излучение наблюдаемого объекта в видеоизображение, выполненным на основе неохлаждаемых микроболометрических матриц. Тепловизионный модуль предназначен для использования в инфракрасных камерах для ночного видения и диагностики. Тепловизионный модуль обладает высокой надежностью работы в широком диапазоне рабочих температур при относительно малых массогабаритных параметрах, которые оптимизированы с учетом обеспечения необходимого теплового режима. Эффективный теплоотвод от круглых пластин с установленными на них радиоэлектронными компонентами реализован путем излучения тепловой энергии через зазоры между ними с выбранными оптимальными размерами и с помощью непосредственного теплового контакта их периферийных областей с секционированным цилиндрическим металлическим корпусом тепловизионного модуля. Технический результат заключается в обеспечении надежной работы модуля в широком диапазоне рабочих температур. 2 з.п. ф-лы, 2 ил.

Формула изобретения

1. Тепловизионный модуль, содержащий блок приемника инфракрасного излучения, включающий инфракрасную матрицу, и блок электронной обработки сигнала, включающий размещенные с зазорами параллельно друг другу и перпендикулярно продольной оси тепловизионного модуля одинаковые по форме и размерам круглые пластины с установленными на них радиоэлектронными компонентами и соединенные между собой с помощью быстроразъемных соединений, закрепленные в едином секционированном цилиндрическом металлическом корпусе, отличающийся тем, что с целью обеспечения надежной работы модуля в широком диапазоне рабочих температур зазоры между круглыми пластинами выполнены в интервале от 0,08 до 0,25 диаметра круглых пластин, причем величина зазора выбрана тем больше, чем больше тепловыделение радиоэлектронных компонентов, установленных по крайней мере на одной из примыкающих к нему круглых пластин.

2. Тепловизионный модуль по п. 1, отличающийся тем, что круглые пластины с установленными на них радиоэлектронными компонентами выполнены в виде многослойных печатных плат с двусторонним монтажом радиоэлектронных компонентов.

3. Тепловизионный модуль по п. 1, отличающийся тем, что с целью повышения теплоотвода, периферийные области круглых пластин с установленными на них радиоэлектронными компонентами с обеих сторон по всей окружности равномерно и плотно прижаты к торцевым поверхностям углублений и выступов соседних, примыкающих друг к другу секций цилиндрического металлического корпуса тепловизионного модуля.

Описание

[1]

Область техники, к которой относится изобретение

[2]

Изобретение относится к области тепловидения, а именно к тепловизионным системам, преобразующим инфракрасное излучения наблюдаемого объекта в видеоизображение, выполненным на основе неохлаждаемых микроболометрических матриц. Тепловизионный модуль предназначен для использования в малогабаритных портативных инфракрасных камерах, широко применяемых для ночного видения, медицинской диагностики, неразрушающего контроля, обнаружения чрезвычайных ситуаций и ликвидации их последствий.

[3]

Уровень техники

[4]

Достоинствами инфракрасных камер, изготовленных на базе неохлаждаемых микроболометрических матриц, являются малые габариты и масса, относительно низкое энергопотребление, высокая чувствительность и разрешение. Однако, в связи с отсутствием технических средств принудительного охлаждения, надежная работа таких инфракрасных камер может быть нарушена из-за сбоев по причине их перегрева, особенно в верхней части диапазона допустимых рабочих температур. Известен способ и технические средства для коррекции ошибок в работе микроболометрических матриц, вызванных тепловым перегревом (патент США на изобретение US 6028309, G01J 5/20, 22.02.2000, Methods and circuitry for correcting temperature-induced errors in microbolometer focal plane array).

[5]

Известна инфракрасная камера (патент США на изобретение US 9513172, G01J 5/10, 06.12.2016, Wafer level packaging of infrared camera detectors), выполненная на основе матричных инфракрасных детекторов. Благодаря слоистой структуре конструкции модулей блока приемника инфракрасного излучения, включающего инфракрасную матрицу, и блока электронной обработки сигнала этой камеры достигнуты высокие технические характеристики при относительно малых габаритных размерах и массе устройства.

[6]

Известна инфракрасная камера (патент США на изобретение US 6707044, G01J 5/08, 16.03.2004, Infrared camera system), включающая оптическую систему, инфракрасную матрицу, процессор сигналов, электрически соединенный с ней. Эта инфракрасная камера имеет модульную структуру, которая включает корпус камеры с инфракрасной матрицей и блок электронной обработки сигналов, экранирующее устройство, соединенное с корпусом камеры, и оптическую систему, закрепленную на экранирующем устройстве. Недостатком указанной инфракрасной камеры является низкая ремонтопригодность, то есть невозможность быстрого восстановления ее работоспособности при выходе из строя одного из компонентов блока электронной обработки сигналов вследствие необходимости проведения сложного и трудоемкого демонтажа, ремонта и монтажа всей конструкции этого устройства.

[7]

Известен тепловизионный преобразователь (патент РФ на изобретение RU 2308168, H04N 5/33, 10.10.2007, Тепловизионный преобразователь), содержащий блок приемника инфракрасного излучения, включающий инфракрасную матрицу, и блок электронной обработки сигнала, в котором благодаря конструктивным особенностям достигнуты высокая ремонтопригодность, улучшенный теплоотвод в блоке электронной обработки сигнала и повышенная вибропрочность.

[8]

Данное устройство по совокупности общих существенных признаков выбрано в качестве прототипа.

[9]

Прототип представляет собой тепловизионный модуль, содержащий блок приемника инфракрасного излучения, включающий инфракрасную матрицу, и блок электронной обработки сигнала, включающий размещенные с зазорами, параллельно друг другу и перпендикулярно продольной оси тепловизионного модуля одинаковые по форме и размерам круглые пластины с установленными на них радиоэлектронными компонентами и соединенные между собой с помощью быстроразъемных соединений, закрепленные в едином секционированном цилиндрическом металлическом корпусе. Круглые пластины с установленными на них радиоэлектронными компонентами расположены на одинаковом расстоянии друг от друга, то есть с одинаковым зазором (см. Фиг. 1а) патента РФ на изобретение RU 2308168). Высокая ремонтопригодность конструкции прототипа достигнута за счет секционирования корпуса устройства и размещения каждой круглой пластины с закрепленными на них платами электронной обработки сигнала внутри одной из секций, которые затем механически соединяются между собой с помощью съемных стержней. Улучшенный теплоотвод обеспечен за счет применения заранее изготовленных прокладок необходимого профиля из эластичного теплопроводящего изоляционного материала, в частности из двухкомпонентного теплопроводящего изоляционного заливочного компаунда фирмы «НОМАКОН», которые размещены между круглыми пластинами с закрепленными на них платами электронной обработки сигнала. Повышенная вибропрочность прототипа достигнута за счет жесткой стяжки секций корпуса с помощью стержней.

[10]

Реализованное в прототипе техническое решение пригодно лишь для относительно крупногабаритных тепловизионных модулей инфракрасных камер, размеры которых позволяют установить несколько плат электронной обработки сигнала на каждой круглой пластине. Рельефный трехмерный профиль плат электронной обработки сигнала должен быть точно воспроизведен при изготовлении эластичных прокладок из теплопроводящего изоляционного материала. Только при условии плотного контакта указанных прокладок со всеми платами электронной обработки сигнала может быть осуществлен эффективный съем тепловой энергии с передачей ее на металлический корпус для последующего рассеивания в окружающем пространстве. В современных малогабаритных тепловизионных модулях установка миниатюрных радиоэлектронных компонентов выполняется непосредственно на пластины (печатные платы) с высокой плотностью монтажа и практически невыраженным трехмерным рельефным профилем. Изготовление съемных эластичных прокладок с необходимым рельефным профилем из теплопроводящего изоляционного материала в таких условиях не представляется возможным. Использование указанных прокладок в виде дисков, заполняющих весь доступный объем между круглыми пластинами с установленными на них радиоэлектронными компонентами является малоэффективным из-за образующихся многочисленных воздушных зазоров, затрудняющих теплоотвод. Недостатком прототипа является и то, что круглые пластины с установленными на них радиоэлектронными компонентами расположены на одинаковом расстоянии друг от друга, то есть с одинаковым зазором (см. Фиг. 1а) патента РФ на изобретение RU 2308168). Установленные на разных круглых пластинах радиоэлектронные компоненты выполняют разные функции, имеют разное энергопотребление и разное тепловыделение. Если выбирать одинаковый зазор между круглыми пластинами исходя из достижения необходимой интенсивности теплоотвода для секции с максимальным тепловыделением, то для секции с меньшим тепловыделением он будет избыточным. Это приведет к определенному увеличению габаритных размеров и массы тепловизионного модуля. Если выбирать одинаковый зазор между круглыми пластинами исходя из требуемой интенсивности теплоотвода для секции с малым тепловыделением, то в секции с большим тепловыделением может быть перегрев, вызывающий сбои в работе, снижающий надежность и даже приводящий к выходу тепловизионного модуля из строя.

[11]

Раскрытие сущности изобретения

[12]

Целью изобретения является обеспечение надежной работы модуля в широком диапазоне рабочих температур.

[13]

Указанная цель достигается за счет того, что в тепловизионном модуле, содержащем блок приемника инфракрасного излучения, включающий инфракрасную матрицу, и блок электронной обработки сигнала, включающий размещенные с зазорами, параллельно друг другу и перпендикулярно продольной оси тепловизионного модуля одинаковые по форме и размерам круглые пластины с установленными на них радиоэлектронными компонентами и соединенные между собой с помощью быстроразъемных соединений, закрепленные в едином секционированном цилиндрическом металлическом корпусе, зазоры между круглыми пластинами выполнены в интервале от 0,08 до 0,25 диаметра круглых пластин, причем величина зазора выбрана тем больше, чем больше тепловыделение радиоэлектронных компонентов, установленных по крайней мере на одной из примыкающих к нему круглых пластин.

[14]

В тепловизионном модуле круглые пластины с установленными на них радиоэлектронными компонентами выполнены в виде многослойных печатных плат с двусторонним монтажом радиоэлектронных компонентов.

[15]

В тепловизионном модуле периферийные области круглых пластин с установленными на них радиоэлектронными компонентами с обеих сторон по всей окружности равномерно и плотно прижаты к торцевым поверхностям углублений и выступов соседних примыкающих друг к другу секций цилиндрического металлического корпуса тепловизионного модуля.

[16]

Выполнение тепловизионного модуля с более широким зазором между круглыми пластинами с установленными на них радиоэлектронными компонентами в заявленном интервале относительных размеров, при условии, если одна или обе примыкающие к нему указанные круглые пластины обладают более высоким тепловыделением, приводит к увеличению продольного размера, массы, теплоемкости и площади внешней, излучающей тепловую энергию в окружающее пространство поверхности соответствующей секции цилиндрического металлического корпуса тепловизионного модуля. За счет этого обеспечивается эффективный теплоотвод, стабильный тепловой режим и, как следствие, более высокая надежность работы тепловизионного модуля.

[17]

Выполнение в тепловизионном модуле круглых пластин с установленными на них радиоэлектронными компонентами в виде обладающих хорошей теплопроводностью многослойных печатных плат с двусторонним монтажом радиоэлектронных компонентов обеспечивает не только высокую плотность монтажа и компактность тепловизионного модуля, но и эффективный отвод тепла от теплонагруженных радиоэлектронных компонентов, его более равномерное распределение по объему зазоров и передачу на цилиндрический металлический корпус для последующего излучения в окружающее пространство.

[18]

Выполнение тепловизионного модуля таким образом, что периферийные области круглых пластин с установленными на них радиоэлектронными компонентами с обеих сторон по всей окружности равномерно и плотно прижаты к торцевым поверхностям углублений и выступов соседних примыкающих друг к другу секций цилиндрического металлического корпуса тепловизионного модуля обеспечивает хороший непосредственный тепловой контакт и эффективную передачу тепловой энергии от выполненных в виде многослойных печатных плат с двусторонним монтажом радиоэлектронных компонентов круглых пластин на секционированный цилиндрический металлический корпус для ее последующего рассеивания в окружающем пространстве.

[19]

Краткое описание чертежей

[20]

В дальнейшем изобретение поясняется конкретными примерами его выполнения со ссылками на прилагаемых чертежах (Фиг. 1 и 2), на которых изображены общий вид тепловизионного модуля (Фиг. 1), сечение тепловизионного модуля вдоль продольной оси (Фиг. 2).

[21]

Осуществление изобретения

[22]

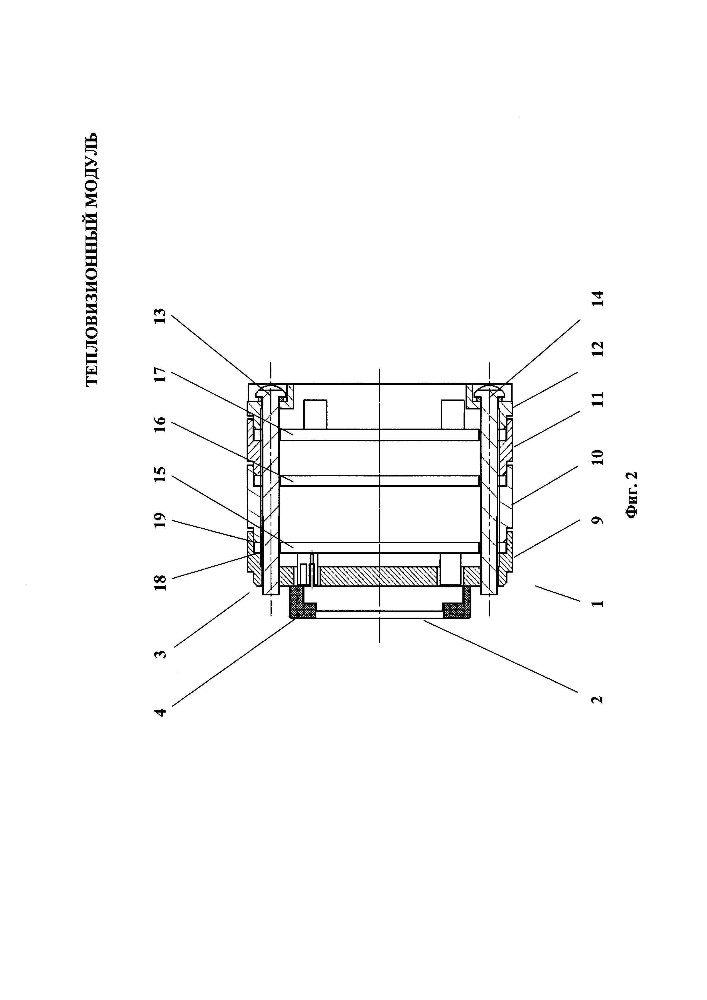
Тепловизионный модуль 1 (Фиг. 1) содержит инфракрасную матрицу 2 блока приемника инфракрасного излучения, прикрепленную к секционированному цилиндрическому металлическому корпусу 3 с помощью прижимной пластины 4 и винтов 5, 6, 7 и 8. Секционированный цилиндрический металлический корпус 3 включает основание 9, большое промежуточное кольцо 10, малое промежуточное кольцо 11 и крышку 12, которые плотно стянуты между собой с помощью винтов 13 и 14. В состав блока электронной обработки сигнала (Фиг. 2) включены размещенные с зазорами, параллельно друг другу и перпендикулярно продольной оси тепловизионного модуля 1 одинаковые по форме и размерам круглые пластины с установленными на них радиоэлектронными компонентами: плата инфракрасной матрицы 15, процессорная плата 16 и плата электропитания 17, которые соединены между собой с помощью быстроразъемных соединений. Надежная работа тепловизионного модуля в широком диапазоне рабочих температур обеспечена за счет оптимального выполнения зазоров между круглыми пластинами в интервале от 0,08 до 0,25 диаметра круглых пластин, причем величина зазора выбрана тем больше, чем больше тепловыделение радиоэлектронных компонентов, установленных по крайней мере на одной из примыкающих к нему круглых пластин. В данном тепловизионном модуле 1 наибольшее энергопотребление и, соответственно, тепловыделение имеет процессорная плата 16. Поэтому зазор между процессорной платой 16 и платой инфракрасной матрицы 15 больше, чем между процессорной платой 16 и платой электропитания 17. Больший зазор обеспечивает эффективный теплоотвод от процессорной платы 16, передачу тепловой энергии на секционированный цилиндрический металлический корпус 3 с последующим ее рассеиванием в окружающем пространстве. При этом нормальный тепловой режим реализуется как для процессорной платы 16, так и для платы инфракрасной матрицы 15, которая более чувствительна к перегреву по сравнению с платой электропитания 17.

[23]

В тепловизионном модуле 1 (Фиг. 2) плата инфракрасной матрицы 15, процессорная плата 16 и плата электропитания 17 выполнены в виде многослойных печатных плат с двусторонним монтажом радиоэлектронных компонентов. Это позволяет не только повысить плотность монтажа радиоэлектронных компонентов, но и обеспечить хороший теплоотвод. Наличие многочисленных медных проводников со сложной топологией, контактных площадок и металлизированных отверстий на внешних и внутренних слоях многослойных печатных плат значительно повышает теплопроводность и способствует интенсивному отводу тепла от сильно нагреваемых радиоэлектронных компонентов, например от микросхемы процессора, установленной на процессорной плате 16, и его равномерному распределению по поверхности круглых пластин и всему объему в зазорах между ними.

[24]

В тепловизионном модуле 1 (Фиг. 2) периферийные области платы инфракрасной матрицы 15, процессорной платы 16 и платы электропитания 17 с обеих сторон по всей окружности равномерно и плотно прижаты к торцевым поверхностям углублений 18 и выступов 19 соседних примыкающих друг к другу секций цилиндрического металлического корпуса 3 тепловизионного модуля 1. Площадь поверхности соприкосновения выбрана таким образом, чтобы обеспечить надежный тепловой контакт, способствующий эффективной и равномерной передаче тепловой энергии от платы инфракрасной матрицы 15, процессорной платы 16 и платы электропитания 17 на секционированный цилиндрический металлический корпус 3 тепловизионного модуля 1 для ее рассеивания в окружающем пространстве.

[25]

Высокая надежность работы тепловизионного модуля в широком диапазоне рабочих температур достигнута за счет его конструктивных особенностей, обеспечивающих стабильный тепловой режим для блока электронной обработки сигнала. Эффективный теплоотвод реализован путем излучения тепловой энергии круглыми пластинами с установленными на них радиоэлектронными компонентами через зазоры оптимальных размеров и с помощью непосредственного теплового контакта их периферийных областей с секционированным цилиндрическим металлическим корпусом 3 тепловизионного модуля 1. Таким образом, заявленный тепловизионный модуль, сохраняя достоинства прототипа (высокую ремонтопригодность и повышенную вибропрочность) обладает высокой надежностью работы в широком диапазоне рабочих температур при относительно малых массогабаритных параметрах, которые оптимизированы с учетом обеспечения необходимого теплового режима для блока электронной обработки сигнала.

[26]

Промышленная применимость

[27]

Изобретение предназначено для использования в различных областях науки и техники, в которых применяются инфракрасные камеры для тепловидения и ночного видения. Тепловизионный модуль обеспечивает надежную работу инфракрасных камер, выполненных на основе неохлаждаемых микроболометрических матриц, в широком диапазоне рабочих температур. Он может быть установлен в авиационных, морских и наземных системах и оборудовании гражданского и специального назначения.

[28]

Все технические составные элементы тепловизионного модуля, алгоритмы работы и компьютерные программы, применение которых предусмотрено предлагаемым изобретением, разрабатываются и выпускаются как отечественными промышленными предприятиями, так и ведущими компаниями в зарубежных странах.

[29]

Используемое в предлагаемом изобретении взаимодействие технических средств реализуется в известных системах и процессах различного назначения в области радиоэлектроники, микроэлектронной и электронно-вычислительной техники. В процессе изготовления тепловизионного модуля и всех его составных элементов может быть использовано типовое, стандартное промышленное оборудование, известные материалы и комплектующие изделия.

Как компенсировать расходы
на инновационную разработку
Похожие патенты