патент
№ RU 2127182
МПК B24B13/00

СПОСОБ ИЗГОТОВЛЕНИЯ ОПТИЧЕСКИХ ЛИНЗ

Авторы:
Грималюк М.В. Подобрянский А.В. Пушечников В.П.
Все (5)
Номер заявки
98104380/02
Дата подачи заявки
11.02.1998
Опубликовано
10.03.1999
Страна
RU
Как управлять
интеллектуальной собственностью
Чертежи 
3
Реферат

[55]

Изобретение относится к области оптического приборостроения и может быть использовано для изготовления оптических круглых линз. Изобретение обеспечивает достижение технического результата, выраженного в резком снижении расхода алмазного инструмента на операции кругления, в обеспечении возможности создания управляемого процесса обработки оптических линз, в повышении качества обработанной кромки линзы, в улучшении собираемости изготовленных линз в оптические узлы, в упрощении конструкции станка для кругления линз и в сокращении времени технологического процесса изготовления линз. Для этого кругление обрабатываемой оптической линзы производят кольцевым алмазным инструментом. Ось инструмента располагают в осевом сечении линзы перпендикулярно ее оси вращения и проходит через центр описанной вокруг обрабатываемой линзы сферы. Кроме того, формообразование второй исполнительной поверхности линзы и ее кругление производят на одном станке с одной установки обрабатываемой линзы в среде одной и той же жидкости последовательно или одновременно во времени. 3 з.п. ф-лы, 4 ил.

Формула изобретения

1. Способ изготовления оптических линз, включающий формообразование первой и второй исполнительной поверхностей линзы и ее кругление с подачей смазочно-охлаждающей жидкости (СОЖ), при этом кругление линзы производят после совмещения оптической оси линзы с осью ее вращения алмазным инструментом, которому сообщают вращение вокруг своей оси, расположенной в осевой плоскости линзы перпендикулярно оси ее вращения, и осевую подачу, отличающийся тем, что в качестве алмазного инструмента используют кольцевой алмазный инструмент, ось вращения которого проходит через центр описанной вокруг линзы сферы, а внутренний диаметр которого выбран из условия максимально возможного его приближения к значению диаметра описанной сферы.

2. Способ по п.1, отличающийся тем, что формообразование второй исполнительной поверхности линзы и ее кругление производят на одном станке с одной установки обрабатываемой линзы.

3. Способ по п.2, отличающийся тем, что формообразование второй исполнительной поверхности линзы и ее кругление осуществляют с использованием СОЖ одного состава.

4. Способ по пп.1 и 2, отличающийся тем, что формообразование второй исполнительной поверхности линзы и ее кругление производят одновременно.

Описание

[1]

Техническое решение относится к области оптического приборостроения и может быть использовано для изготовления оптических круглых линз.

[2]

Известен способ изготовления оптических линз, включающий последовательно обработку первой исполнительной поверхности, блокирование линзы на оправку, предварительное и окончательное шлифование второй исполнительной поверхности, центрирование линзы и обработку вспомогательных поверхностей (кромки и фасок), при котором центрирование линз производят в самоцентрирующих патронах, если параметры линз это позволяют, или по прибору (автоколлиматору), а обработку кромок линзы (кругление) производят после совмещения оптической оси линзы с осью ее вращения (осью крепежного патрона центрировочного станка) периферией вращающегося цилиндрического алмазного инструмента (круга) при плавной его поперечной подаче и осциллирующем осевом его перемещении. При этом ось вращения алмазного круга параллельна или перекрещивается под прямым углом с осью вращения обрабатываемой линзы, а обработка ведется цилиндрической поверхностью круга (см. Технология обработки оптических деталей /под ред. д-ра тенх. наук проф. М.Н.Семибратова. - М.: Машиностроение, 1975, c.137-142).

[3]

Недостатком данного способа является высоких износ алмазного инструмента на операции кругления из-за точечного или линейного (в зависимости от расположения оси круга по отношению к оси вращения линзы) контакта инструмента с обрабатываемой линзой при довольно больших размерах используемого для кругления алмазного инструмента (диаметром от 200 мм и выше) и высокой концентрации алмаза в нем (обычно 100 - 150%), что снижает производительность обработки на стадии кругления, а также снижает возможности построения управляемого процесса обработки, и сказывается на требование увеличения размера алмазоподобного слоя инструмента и, следовательно, на его стоимости.

[4]

На станках, реализующих данную схему кругления и фасетирования, во-первых, инструментальный узел для обработки вспомогательных поверхностей помимо поперечной подачи инструмента на деталь обязан иметь возможность осциллирующего перемещения (вдоль оси инструмента), что приводит к усложнению конструкции станка (введение дополнительной каретки и направляющих, а также соответственно и дополнительного привода) и его удорожанию; во-вторых, в производственной практике введение в процессе кругления осциллирующего движения чаще всего приводит к появлению сколов из-за несоответствия режима осцилляции оптимальным условиям резания и, следовательно, увеличивает процент брака; в-третьих, отказ от введения осцилляции при круглении автоматически приводит при традиционной схеме к зональному износу алмазного слоя круга и, следовательно, к необходимости его правки, что в свою очередь приводит к высокому расход алмазоносного слоя алмазного инструмента и удорожанию процесса кругления.

[5]

Кроме того, подобная схема кругления, формообразующая цилиндрическую поверхность на периферии линзы, часто приобретающую из-за погрешностей оборудования конусность или даже клиновидность, осложняет последующий процесс сборки оптических узлов из набора подобных оптических линз, которую не всегда исправляет обязательное введение последующей операции фасетирования.

[6]

Известен также способ изготовления оптических линз, включающий последовательно формообразование первой исполнительной поверхности, блокирование линзы на оправку, формообразование (предварительное и окончательное шлифование) второй исполнительной поверхности и обработку вспомогательных поверхностей (кругление и фасетирование).

[7]

В данном способе возможно одновременное шлифование исполнительной (функциональной) оптической поверхности линзы, кромки (кругление) и фасок (фасетирование) без переустановки линзы (без смены баз), что обеспечивает повышение точности цетрирования и кругления.

[8]

Кругление, согласно данному способу, может осуществляться на том же станке, что и обработка исполнительных поверхностей (при оснащении его дополнительным инструментальным шпинделем с соответствующей кареткой для сообщения ему наладочных и рабочих перемещений относительно обрабатываемой линзы. В данном случае кругление также производится периферией цилиндрического алмазного круга, ось которого установлена параллельно оси вращения шпинделя изделия, а дополнительный инструментальный шпиндель имеет помимо вращения вокруг своей оси возможность возвратно-поступательного перемещения вдоль своей оси и в осевой плоскости шпинделя изделия перпендикулярно его оси вращения (см. Авторское свидетельство СССР N 1579736, МКИ B 24 D 13/00, 1987 г.).

[9]

Данному способу изготовления оптических линз в части технологического процесса обработки оптических линз, относящейся к круглению и фасетированию последних, присущи те же недостатками, что и описанному выше способу, за исключением имеющейся возможности устранить как таковую операцию центрирования линзы, и без смены баз на одном и том же станке последовательно вести обработку второй исполнительной поверхности линзы и ее кругление или совместить эти операции во времени.

[10]

Наиболее близким техническим решением к заявляемому является способ изготовления оптических линз, включающий также операции последовательного формообразования первой и второй исполнительных поверхностей оптической линзы и последующее кругление и фасетирование ее, при этом после обработки первой исполнительной поверхности линзы и ее блокирование на оправке в шпинделе станка для обработки второй исполнительной поверхности также совмещают окончательно шлифование второй исполнительной поверхности линзы с ее круглением, которое производят торцем вращающего торцевого круга, ось вращения которого установлена перпендикулярно оси вращения обрабатываемой линзы, совмещенной с ее оптической осью, и расположена с ней в одной плоскости. При этом кругление ведут при плавной осевой подаче шпинделя инструмента и при его перемещении параллельно оптической оси обрабатываемой линзы (см. Выложенную заявку ФРГ N 3927412, МКИ B 24 B 13/00; B 24 B 9/14, опубл. 1990 г. - прототип).

[11]

Основным недостатком данного способа также является высокий износ обрабатывающего инструмента (круга) на операции кругления из-за малого пятна контакта инструмента и детали в процессе обработки, что для случая обработки алмазным инструментом приводит к увеличенным затратам, снижению производительности обработки на стадии кругления и не позволяет обеспечить режим автоматического управления процессом обработки на стадии кругления.

[12]

Кроме того, при круглении торцем подобного инструмента образуется цилиндрическая кромка, часто имеющая в условиях практики конусность или клиновидность, которые осложняют процесс последующей сборки оптических узлов из подобных линз даже при обязательного наличия после операции кругления операции фасетирования линз.

[13]

Кроме того, как и в случае кругления периферией цилиндрического круга, при этой схеме кругления для обеспечения равномерного, а не зонального износа алмазоносного слоя торцевого круга дополнительно вводится осциллирующее движение параллельно оси обрабатываемой линзы, что требует введение в станок дополнительных механизмов поперечного перемещения инструментального узла для кругления и усложняет и удорожает сам станок.

[14]

Отказ же от введения осцилирующего движения из-за опасности получения в процессе кругления сколов (брака) приводит к необходимости дополнительной правки алмазного инструмента и, следовательно к повышенному расходу алмазоносного слоя и удорожанию процесса.

[15]

Настоящее техническое решение направлено на обеспечение задачи повышения производительности обработки оптических линз за счет ускорения операции кругления и уменьшения времени на операции фасетирования, а то и полного отказа от нее, на резкое снижение затрат на расход алмазного инструмента на операции кругления; на обеспечение возможности создания управляемого процесса обработки оптических линз, в том числе и на операциях кругления; на повышении качества обработанной кромки линзы; на улучшение процесса собираемости изготовленных оптических линз в оптические узлы; на упрощение конструкции станка для кругления, и, следовательно, на снижении его стоимости.

[16]

Достижение подобного технического результата обеспечивается тем, что предложен способ изготовления оптических линз, включающий формообразование первой и второй исполнительной поверхностей линзы и кругление линзы относительно ее оси вращения, совмещенной с ее оптической осью, алмазным вращающимся инструментом с осью вращения, расположенной в осевой плоскости обрабатываемой линзы перпендикулярно оси ее вращения, при сообщении ему осевой подачи, согласно которому кругление линзы производят кольцевым алмазным инструментом, ось которого проходит через центр описанной вокруг обрабатываемой линзы сферы.

[17]

Кроме того, при введении формообразования второй исполнительной поверхности линзы и ее кругления на одном станке с одной установки обрабатываемой линзы достигается более точное совмещение оптической оси линзы с ее геометрической осью, а также исключение из требуемого набора оборудования (в данном случае) центрировочных станков.

[18]

Кроме того, ведение кругления в среде СОЖ, не содержащей вазелинового приборного масла, позволяет устранить трудоемкую и дорогостоящую операцию ультразвуковой промывки после операции кругления.

[19]

Кроме того, возможность совмещения по времени операции формообразования второй исполнительной поверхности линзы и ее кругления значительно уменьшает время всего технологического процесса изготовления оптических линз.

[20]

Сравнительный анализ заявляемого технического решения с прототипом показывает, что предложенный способ изготовления оптических линз отличается от него совокупностью представленных в отличительной части п. 1 формулы существенных признаков, а именно ". . . кругление линзы производят вращающимся кольцевым алмазным инструментом, ось которого установлена перпендикулярно оси вращения обрабатываемой линзы и проходит через центр описанной вокруг обрабатываемой линзы сферы, при сообщении ему только осевой подачи"; и дополнительных пунктах формулы.

[21]

Таким образом, заявляемое техническое решение соответствует критерию "новизна".

[22]

Сравнительный анализ заявляемого решения не только с прототипом, но и с другими техническими решениями в данной области технологии оптического приборостроения не позволило выявить в них признаки, отличающие данное техническое решение от прототипа, а именно: выполнение операции кругления оптических линз кольцевым алмазным инструментом, установленным по отношению к обрабатываемой линзе таким образом, чтобы ось его вращения была перпендикулярна оси вращения обрабатываемой линзы и проходила при этом через центр описанной вокруг данной линзы сферы; а также ведение формообразования второй исполнительной поверхности линзы и ее кругление кольцевым алмазным инструментом на одном станке с одной установки обрабатываемой линзы в среде одной и той же СОЖ последовательно или одновременно во времени.

[23]

Это позволяет сделать вывод, что заявляемое техническое решение соответствует критерию "Изобретательский уровень".

[24]

Существо предложенного технического решения поясняется чертежами, где на фиг. 1 представлена схема кругления оптической линзы (для случая закрепления ее в самоцентрирующем патроне); на фиг. 2 показан вид сверху схемы кругления оптической линзы; на фиг. 3 представлен в увеличенном масштабе вид получаемой на операции кругления линзы кромки; на фиг. 4 представлена схема кругления оптической линзы при ее совмещении с обработкой второй исполнительной поверхности линзы.

[25]

Для изготовления оптических линз предлагаемым способом в начале формообразуют первую исполнительную поверхность линзы, для чего последние, например, закрепляют методом жесткого блокирования поштучно или в блоке и производят грубое и тонкое шлифование, например сферической оптической поверхности, а затем производят ее полирование.

[26]

Далее производят контроль, лакирование, разблокирование обработанных заготовок, а затем блокирование их для обработки второй исполнительной поверхности путем грубого шлифования, тонкого шлифования, полирования, а затем производят после разблокирования и промывки обработанных линз их центрирование (кругление) на центрировочном станке, и фасетирование.

[27]

Обработку вспомогательных поверхностей проводят, закрепляя обрабатываемую линзу в патроне центрировочного станка с помощью оптических средств центрирования или непосредственно в самоцентрирующем патроне, или фиксируя оправку с установленной на ней обрабатываемой линзой в зажимных приспособлениях станка, на котором обрабатывают вторую исполнительную поверхность линзы - одиночным алмазным кольцевым инструментом; исключая таким образом трудоемкий поиск оптической оси, необходимый при центрировании. Затем алмазным кольцевым инструментом обрабатывают торцевые поверхности (круглят), которыми линза базируется в изделии. Полирование производят аналогично существующему технологическому процессу.

[28]

После обработки готовая линза снимается со станка, производится окончательная промывка и контроль линзы в проходящем свете.

[29]

Заготовку линзы 1 с предварительно обработанными первой I и второй II исполнительными поверхностями (прошедшими грубое и тонкое шлифование по традиционной схеме) на существующих станках для шлифования оптических линз устанавливают в самоцентрирующем патроне 2 центрировочного станка, обеспечивающем совмещение оптической оси линзы с осью шпинделя станка (осью шпинделей самоцентрирующего патрона 2 центрировочного станка), сообщают обрабатываемой линзе 1 вращение относительно оси вращения шпинделя станка и производят обработку (кругление) кромки 3 обрабатываемой линз 1 вращающимся алмазным кольцевым инструментом 4, сообщая ему осевую подачу. Алмазный кольцевой инструмент 4 установлен относительно обрабатываемой линзы 1 так, чтобы его ось была перпендикулярна оси вращения обрабатываемой линзы 1 (оси шпинделя центрировочного станка), располагалась с ней в одной плоскости и проходила через центр O описанной вокруг обрабатываемой линзы сферы. Сообщая алмазному инструменту 4 сначала форсированную осевую подачу, производят черновое шлифование кромки 3 линзы, затем производят тонкое шлифование с щадящей подачей, а также возможен процесс выхаживания торцевой поверхности линзы с выключенной осевой подачи алмазного инструмента 4.

[30]

Возможен вариант кругления, при котором обрабатываемую линзу 1 после формирования первой исполнительной поверхности I приклеивают к оправке 5 с осевой и торцевой базами, определяющими положение оси оправки 5 на шлифовальном станке.

[31]

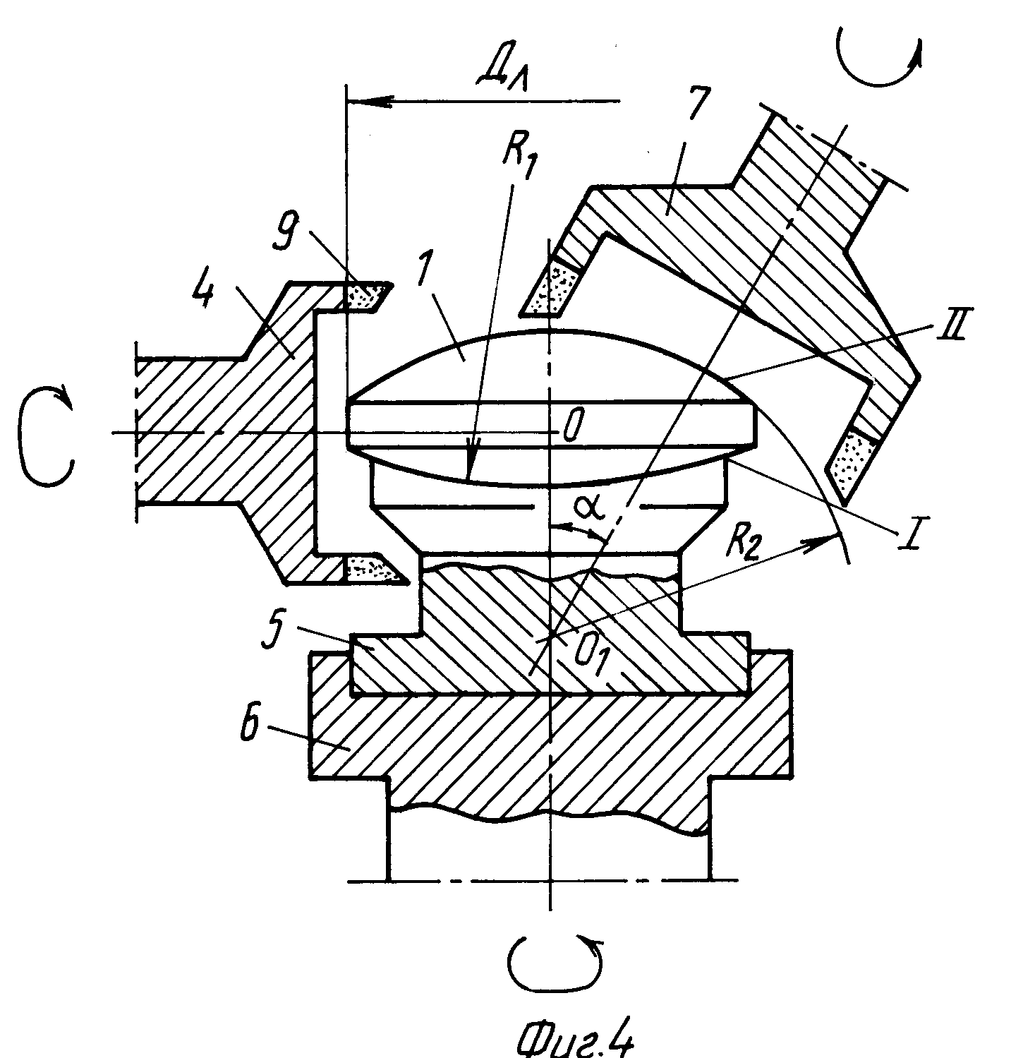
Оправку 5 устанавливают в шпиндель 6 шлифовального станка для обработки второй исполнительной поверхности II линзы 1 и вспомогательных поверхностей (кромки 3 линзы 1 и фасок). Обработку второй исполнительной поверхности II линзы 1 ведут вращающимся кольцевым алмазным инструментом 7, жестко связанным с осью вращения его шпинделя. Положение оси шпинделя инструмента 7 относительно оси шпинделя изделия (оси оправки 5) задается формой обрабатываемой поверхности линзы (например, для обработки сферы ось шпинделя инструмента 7 фиксируется под углом α, определяемым радиусом сферы и диаметром инструмента 7. При такой обработке оптическая ось формируемой второй исполнительной поверхности II линзы 1 ось оправки 5 и ось шпинделя 6 станка совмещены, а центр обрабатываемой сферы (второй исполнительной поверхности II линзы 1) с радиусом R2 лежит в точке O1 на ее общей оси.

[32]

Обработку вспомогательных поверхностей линзы (торцевой кромки 3 и фасок) проводят на том же станке без отделения линзы 1 от оправки 5, полностью сохранив ее базы, т.е. относительно той же оси оправки 5. При такой схеме обработки линзы автоматически обеспечивается совпадение оптической оси второй исполнительной поверхности II линзы 1 и геометрической оси линзы 1, что дает возможность совместить на одном станке без смены установочных баз линзы 1 обработку вспомогательных поверхностей линзы 1 с обработкой ее исполнительной поверхности II.

[33]

При данной смехе обработки линзы нет необходимости в ультразвуковой промывке после операции кругления, так как операцию кругления ведут не в среде вазелинового приборного масла, как при традиционной схеме, а также в среде водного раствора глицерина, а также возможно совмещение по времени операции формообразования второй исполнительной поверхности и операции кругления.

[34]

Выбор первой и второй исполнительных поверхностей линзы 1 проводят, исходя из соотношения R2<R1, где R1-радиус первой исполнительной поверхности линзы 1, а R2-радиус второй исполнительной поверхности линзы 1. Как известно из практики, ошибки совмещения оптической оси линзы с ее геометрической осью при таком выборе уменьшаются на величину отношения радиусов.

[35]

Как и в первом варианте обработки, при круглении сообщают обрабатываемой линзе 1 вращение относительно оси вращения шпинделя станка и производят обработку (кругление) кромки 3 обрабатываемой линзы 1 вращающимся алмазным кольцевым инструментом 4, сообщая только ему осевую подачу. Алмазный кольцевой инструмент 4 установлен относительно обрабатываемой линзы 1 так, чтобы его ось была перпендикулярна оси вращения обрабатываемой линзы 1 (оси шпинделя шлифовального станка), располагалась с ней в одной плоскости и проходила через центр O описанной вокруг обрабатываемой линзы 1 сферы. Сообщая алмазному инструменту 4 сначала форсированную осевую подачу, производят черновое шлифование кромки 3 линзы 1, затем производят тонкое шлифование с щадящей подачей, и также возможен процесс выхаживания торцевой поверхности линзы с выключенной осевой подачи алмазного инструмента 4.

[36]

В результате такой обработки кромки 3 линзы 1 (шлифования торца линзы кольцевым алмазным инструментом 1) как в том, так и в другом вариантах обработки поверхность торца линзы принимает форму полутора [кромка 3 линзы в ее диаметральном сечении принимает форму выпуклой "бочки" 8 (см. фиг. 3, где L - ширина кромки, а h - высота "бочки"), а не прямой линии (образующей цилиндра или конуса), причем значения "бочки" не входят в пределы светового диаметра обработанной линзы 1. При этом диаметр кольцевого алмазного инструмента 4 для кругления линзы 1 выбирается из требования максимального приближения величины его внутреннего диаметра d1 к значению диаметра Do описанной вокруг обрабатываемой линзы 1 сферы, но при этом ограничен конструктивными особенностями станка, на котором ведется процесс кругления (внешними диаметральными размерами центрирующего патрона или оправки).

[37]

В процессе кругления режущая кольцевая кромка 9 алмазного инструмента 4 по мере приработки инструмента (износа алмазоносного слоя) приобретает форму обрабатываемой сферы, форма которой в процессе дальнейшей обработки вне зависимости от величины износа алмазоносного слоя инструмента сохраняется постоянной, т. е. наблюдается эффект автоматической правки алмазного кольцевого инструмента 4 в процессе его работы. Длина площадки контакта инструмента 4 с линзой 1 равна толщине линзы L по краю, а ширина контакта зависит от ширины алмазного кольца инструмента 4 и от угла фаски на инструменте 4. При этом мы имеет обычно на практике два пятна контакта (см. фиг. 2). Величина "бочки" (h) применяемого инструмента зависит только от диаметра обрабатываемой линзы Dл, что приводит, как показывает практика, к повышению производительности на операции кругления и к снижению износа алмазного слоя кольцевого алмазного инструмента по сравнению с цилиндрическим алмазным кругом примерно в 1500 раз, а также к повышению качества обработанной кромки.

[38]

Кроме того, осуществлении кругления оптических линз кольцевым алмазным инструментом достигается управляемый процесс кругления, что позволяет применить в станке автоматическую систему компенсации износа инструмента для любой геометрии обрабатываемой линзы (разных по диаметру и толщине по краю линзы), то есть создать адаптивную систему управления процессом кругления и упрощается конструкция используемого на этой операции станка, ибо не требуется введение дополнительного осциллирующего движения инструмента.

[39]

Создание фасок на обрабатываемой оптической линзе, если это необходимо, осуществляют тем же кольцевым алмазным инструментом 4, которым производили кругление (на том же станке).

[40]

Пример. При макетировании данного процесса в качестве обрабатываемой линзы 1 была взята заготовка выпукловогнутой линзы N 6 объектива "Гелиос-44М" диаметром Dл=31 мм и толщиной по центру 5,85±0,15 мм с первой и второй исполнительными сферическими поверхностями, имеющими соответственно радиусы R1=160,33 мм и R2=38,07 мм из стекла марки БФ-16.

[41]

Грубое шлифование первой исполнительной сферической поверхности 1 (радиус сферы R1=160,33 мм ) проводили на сферошлифовальном станке мод. Ш-150 К алмазным кольцом АСМ 80/63 при закреплении обрабатываемых линз 1 в блоке с использованием в качестве СОЖ 20% водного раствора глицерина, на следующем рабочем режиме: число оборотов шпинделя инструмента - 4000 об/мин, число оборотов шпинделя изделия - 120 об/мин, рабочая подача - 0,5 мм/мин.

[42]

Тонкое шлифование первой исполнительной поверхности I проводили в два перехода на сферошлифовальном станке мод. 2 ША - 150 сферическим инструментом марки соответственно АСМ 28/40 (на 1-м переходе) и АСМ 14/10 (на 2-м переходе) при использовании в качестве СОЖ также 20% водного раствора глицерина.

[43]

Полирование первой исполнительной поверхности I проводили на шлифовально-полировальном станке мод. 6 ШП-200 полировальником из пекоканифольной смолы при следующем режиме: число оборотов шпинделя изделия - 120 об/мин, угол качания поводка - α = ±30o, величина давления - 500 г/см2.

[44]

После переблокировки обрабатываемых линз на наклеечном приспособлении осуществляли переход к формообразованию второй исполнительной поверхности II (сферы с радиусом R2=38,07 мм).

[45]

Грубое шлифование II исполнительной поверхности проводили на сферошлифовальном станке мод. АШ-70 К кольцевым алмазным инструментом марки АСМ 80/63 диаметром 57х50 мм при использовании в качестве СОЖ 20% процентного водного раствора глицерина на следующем режиме: число оборотов шпинделя инструмента - 11400 об/мин, число оборотов шпинделя изделия - 520 об/мин, рабочая подача - 2 мм/мин.

[46]

Тонкое шлифование осуществляли на сферошлифовальном станке мод. АШ-70 К алмазным кольцевым инструментом марки АСМ 14/10 диаметром 57х50 мм при использовании в качестве СОЖ водного раствора 1% глицерина и 0,05% лигнасульфаната на следующем режиме: число оборотов шпинделя инструмента - 11400 об/мин, число оборотов шпинделя изделия - 520 об/мин, рабочая подача - 0,4 мм/мин.

[47]

Полирование второй исполнительной поверхности проводили на полировально-доводочном станке мод. 2ПК-100 полировальником на пекоканифольной смоле с усилием прижима полировальника равном 500 г/см2 и при следующем рабочем режиме: число оборотов шпинделя изделия - 620 об/мин, угол качания поводка полировальника α = ±60o.
В классическом технологическом процессе центрирование (кругление) проводили цилиндрической поверхностью алмазного вращающегося круга АПП диаметром 200 мм с алмазоносным слоем марки АСМ 40/28 на станке центрировочном мод. ЦС - 50 в среде СОЖ - масло вазелиновое марки МПВ при следующем рабочем режиме: рабочая подача - 2,5 мм/мин, число оборотов шпинделя инструмента - об/мин, число оборотов шпинделя изделия - 100 об/мин.

[48]

На обработанной по данной схеме линзе на ее торцевой поверхности наблюдалась конусность (разница диаметров порядка 0,010 мм), что затрудняло последующий процесс сборки линз в объективе.

[49]

В предлагаемом технологическом процессе центрирование (кругление) проводилось кольцевым алмазным инструментом 4 (алмазным кольцом марки АСМ 50/40 с наружным диаметром d2=25 мм и внутренним диаметром d1=21 мм на станке типа АШ-70 К в среде СОЖ - водном растворе 1%% глицерина плюс 0,05%% лигнасульфаната при следующем режиме: число оборотов шпинделя инструмента - 11400 об/мин, число оборотов шпинделя изделия - 620 об/мин, рабочая подача - 4 мм/мин.

[50]

Величина получаемой на торце линзы в процессе кругления "бочки" составила - 0,102 мм, что облегчило последующую сборку линз в блок.

[51]

Кроме того, поверхность торца линзы имела явно выраженную шероховатость шлифовальной поверхности, не имеющей следов засаленности (как это часто имело место при традиционной схеме), что способствовало лучшей адгезии лака при его нанесении на линзу.

[52]

Кроме того, как показала практика, после обработки 100 линз по данной схеме сохранялась стабильность размеров и не было заметно выраженного износа инструмента.

[53]

Приведенный пример реализации предложенного способа показывает, что данное техническое решение отвечает критерию "Промышленная применимость".

[54]

Сравнение результатов операций кругления оптических линз традиционным и предлагаемым способом (кольцевым алмазным инструментом) показывает, что предложенный способ имеет следующие преимущества: значительно (в 1,5 раза) увеличивается производительность на операции кругления, резко (почти в 1000 раз) снижается износ алмазного слоя инструмента, практически не требуется правка инструмента, так как автоматически происходит его самозаточка на сфере и появляется возможность автоматизации операции кругления, увеличивается на 5 - 10% выход годных на этой операции деталей, вместо дорогостоящего МВП (вазелинового приборного масла), используемого обычно на операции кругления как СОЖ, можно использовать более дешевое водное СОЖ, что и на операции шлифования исполнительных поверхностей, не осуществляя трудоемкой операции ее замены, значит, не нужна трудоемкая операция ультразвуковой промывки, появляется возможность осуществления кругления на том же станке, что и операции шлифования второй исполнительной поверхности с использованием одной и той же СОЖ, упрощается конструкция станка для операций кругления (из-за отсутствия необходимости реализации на нем осциллирующего движения инструмента), упрощается и удешевляется процесс сборки оптических линз в блоки при наличии на них бочкообразных кромок, отказ от операции фасетирования, в том случае если требованиями к данной детали не предусмотрено обязательное наличие конкретной формы фаски.

Как компенсировать расходы
на инновационную разработку
Похожие патенты