Изобретение относится к области радиотехнических измерений. Способ включает излучение сигнала с помощью излучающей антенны и прием сигнала с помощью испытуемой антенны. Используют излучающую антенну с суммарной диаграммой направленности на частоте fи с разностной диаграммой направленности на частоте f. Сначала совмещают ось излучающей антенны, соответствующую максимуму диаграммы направленности излучающей антенны на частоте сигнала f, с осью испытуемой антенны, соответствующей максимуму ее диаграммы направленности, и измеряют на выходе испытуемой антенны уровень сигнала Uна частоте f, совмещают ось излучающей антенны, соответствующую максимуму диаграммы направленности излучающей антенны на частоте f, с осью испытуемой антенны, соответствующей максимуму ее диаграммы направленности, измеряют на выходе испытуемой антенны уровень сигнала Uна частоте fи обеспечивают равенство Uи U. Затем совмещают ось излучающей антенны, соответствующую максимуму диаграммы направленности излучающей антенны на частоте f, с осью испытуемой антенны, соответствующей максимуму ее диаграммы направленности, и, вращая излучающую антенну вокруг оси, соответствующей максимуму диаграммы направленности излучающей антенны на частоте f, фиксируют максимальное значение уровня сигнала Uна выходе испытуемой антенны на частоте f, и определяют коэффициент безэховости Кна частотеиз выражения. Технический результат заключается в повышении точности, увеличении динамического диапазона измерения коэффициента безэховости, а также в уменьшении времени проведения измерений. 5 ил.
Способ измерения коэффициента безэховости в зоне испытуемой антенны в безэховой камере, включающий излучение сигнала с помощью излучающей антенны с суммарной диаграммой направленности на частоте f1 и с разностной диаграммой направленности на частоте f2 и прием сигнала с помощью испытуемой антенны, при этом сначала совмещают ось излучающей антенны, соответствующую максимуму диаграммы направленности излучающей антенны на частоте f1, с осью испытуемой антенны, соответствующей максимуму ее диаграммы направленности, и измеряют на выходе испытуемой антенны уровень сигнала U1 на частоте f1, совмещают ось излучающей антенны, соответствующую максимуму диаграммы направленности излучающей антенны на частоте f2, с осью испытуемой антенны, соответствующей максимуму ее диаграммы направленности, измеряют на выходе испытуемой антенны уровень сигнала U2 на частоте f2 и обеспечивают равенство U1 и U2, затем совмещают ось излучающей антенны, соответствующую максимуму диаграммы направленности излучающей антенны на частоте f1, с осью испытуемой антенны, соответствующей максимуму ее диаграммы направленности, и, вращая излучающую антенну вокруг оси, соответствующей максимуму диаграммы направленности излучающей антенны на частоте f1, фиксируют максимальное значение уровня сигнала U3 на выходе испытуемой антенны на частоте f2 и определяют коэффициент безэховости Kб на частоте
из математического выражения:
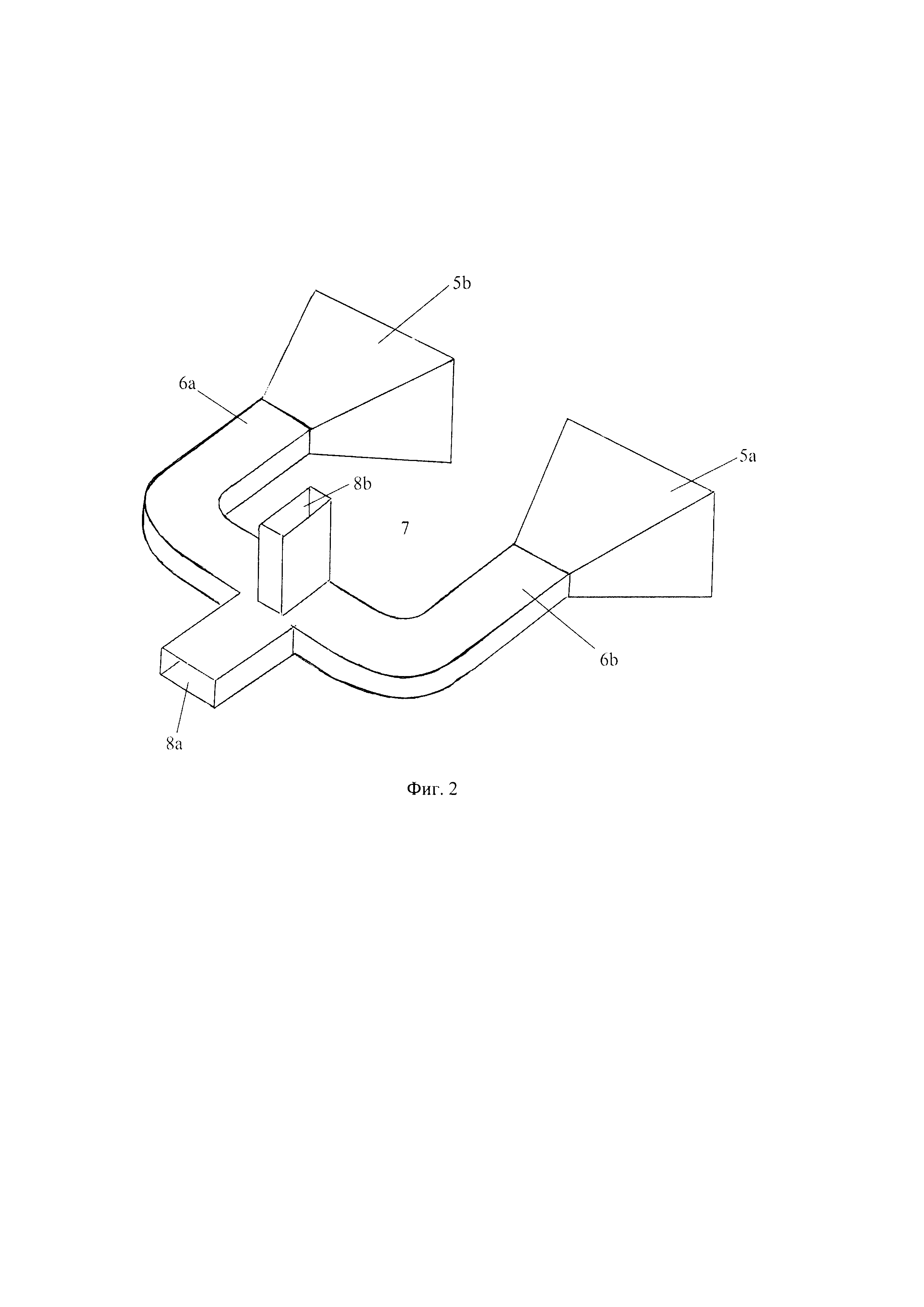
Изобретение относится к области радиотехнических измерений, в частности к способам измерения коэффициента безэховости. Известен способ измерения коэффициента безэховости безэховой камеры, включающий излучение сигнала с помощью излучающей антенны и прием сигнала с помощью приемной антенны (см. патентный документ SU 815681, МПК G01R 29/10, опубл. 23.03.1981). Коэффициент безэховости определяют по результатам измерения углов поворота двух приемных антенн вокруг оси в горизонтальной плоскости. Известный способ принят в качестве ближайшего аналога к заявленному способу. Основным недостатком известного способа является невысокая точность и узкий динамический диапазон измерения коэффициента безэховости, обусловленный тем, что в нем коэффициент безэховости определяется по результатам измерения косвенных величин. Кроме того, известный способ требует значительных временных затрат. Технической проблемой, решаемой настоящим изобретением, является создание способа для измерения коэффициента безэховости, лишенного указанных недостатков. В результате достигается технический результат, заключающийся в повышении точности и увеличении динамического диапазона измерения коэффициента безэховости, а также уменьшении времени проведения измерений. Указанный технический результат достигается путем осуществления способа измерения коэффициента безэховости в зоне испытуемой антенны в безэховой камере, включающего излучение сигнала с помощью излучающей антенны и прием сигнала с помощью испытуемой антенны. Используют излучающую антенну с суммарной диаграммой направленности на частоте f1 и с разностной диаграммой направленности на частоте f2. Сначала совмещают ось излучающей антенны, соответствующую максимуму диаграммы направленности излучающей антенны на частоте сигнала f1, с осью испытуемой антенны, соответствующей максимуму ее диаграммы направленности, и измеряют на выходе испытуемой антенны уровень сигнала U1 на частоте f1. Совмещают ось излучающей антенны, соответствующую максимуму диаграммы направленности излучающей антенны на частоте f2, с осью испытуемой антенны, соответствующей максимуму ее диаграммы направленности, измеряют на выходе испытуемой антенны уровень сигнала U2 на частоте f2 и обеспечивают равенство U1 и U2. Затем совмещают ось излучающей антенны, соответствующую максимуму диаграммы направленности излучающей антенны на частоте f1, с осью испытуемой антенны, соответствующей максимуму ее диаграммы направленности, и, вращая излучающую антенну вокруг оси, соответствующей максимуму диаграммы направленности излучающей антенны на частоте f1, фиксируют максимальное значение уровня сигнала U3 на выходе испытуемой антенны на частоте f2, и определяют коэффициент безэховости Кб на частоте На фиг. 1 показано схематичное изображение системы для реализации заявленного способа. На фиг. 2 показано схематичное изображение излучающей антенны согласно одному из вариантов реализации. На фиг. 3а-3с приведена схема проведения измерений согласно заявленному способу. Заявленный способ реализуют следующим образом. Для измерения коэффициента безэховости, как показано на фиг. 1, в безэховой камере 1 размещают излучающую 2 и испытуемую 3 антенны. Используют излучающую антенну 2 с суммарной диаграммой направленности 4а на частоте f1 и с разностной диаграммой направленности 4b на частоте 12. В частном варианте реализации заявленного способа для проведения измерений коэффициента безэховости на частотах выше 1 ГГц, как показано на фиг. 2, в качестве упомянутой излучающей антенны 2 используют антенну, содержащую два рупорных излучателя 5а и 5b, соединенных с боковыми плечами 6а и 6b двойного волноводного Т-моста 7. На вход 8а Н-плеча двойного волноводного Т-моста 7 через коаксиально-волновой переход 9а подают от генератора 10а сигнал частотой f1, а на вход 8b Е-плеча через коаксиально-волновой переход 9b подают от генератора 10b сигнал частотой f2. В другом частном варианте реализации заявленного способа для проведения измерений коэффициента безэховости на частотах ниже 1 ГГц в качестве излучающей антенны используют антенну, содержащую два логопериодических излучателя, соединенных с боковыми плечами двойного коаксиального Т-моста. Излучающую антенну 2 располагают в безэховой камере 1, предпочтительно, в дальней зоне испытуемой антенны 3, на расстоянии R, определяющемся из выражения: D - размер испытуемой антенны 2, λмин - минимальная рабочая длина волны испытуемой антенны 2 (Методы измерения характеристик антенн СВЧ, под ред. Н.М. Цейтлина, Москва, изд. «Радио и связь», 1985, с. 8). Сначала совмещают ось 11а излучающей антенны, соответствующую максимуму диаграммы направленности 4а излучающей антенны 2 на частоте f1, с осью 12 испытуемой антенны 3, соответствующей максимуму ее диаграммы направленности 13, например, поворачивая излучающую антенну 2 с помощью опорно-поворотного устройства (не показано), и измеряют на выходе испытуемой антенны 3 уровень сигнала U1 на частоте f1 (соответствующей суммарной диаграмме направленности 4а излучающей антенны 2) с помощью, например, подключенного к ней анализатора спектра 14 (см. фиг. 3а). После этого (см. фиг. 3b) совмещают ось 11b излучающей антенны 2, соответствующую максимуму диаграммы направленности на частоте f2, с осью 12 испытуемой антенны 3, соответствующей максимуму ее диаграммы направленности 13, измеряют на выходе испытуемой антенны 3 уровень сигнала U2 на частоте f2 и обеспечивают равенство U1 и U2 (например, регулируя мощности генераторов 10а и 10b). Затем (см. фиг. 3с) совмещают ось 11а излучающей антенны 2, соответствующую максимуму диаграммы направленности 4а излучающей антенны на частоте f1, с осью 12 испытуемой антенны 3, соответствующей максимуму ее диаграммы направленности 13, и, вращая излучающую антенну 2 вокруг оси 11а, соответствующей максимуму диаграммы направленности 4а излучающей антенны 2 на частоте f1, фиксируют максимальное значение уровня сигнала U3 на выходе испытуемой антенны 2 на частоте f2 (соответствующей разностной диаграмме направленности 4b излучающей антенны 2). Далее определяют коэффициент безэховости Kб на частоте Для измерения коэффициента безэховости Кб в заданном диапазоне частот осуществляют синхронную перестройку частоты генераторов 10а и 10b при сохранении разности частот f1 и f2 одинаковой и, в предпочтительном варианте осуществления, равной частотной разрешающей способности анализатора спектра.
из математического выражения
.
, где
из выражения:
.