патент
№ RU 2623780
МПК B01D17/04

Узел обессоливания нефти

Авторы:
Набиуллин Рустем Фахрасович Аухадеев Рашит Равилович Набиуллин Фахрас Галиуллович
Все (5)
Номер заявки
2016121288
Дата подачи заявки
30.05.2016
Опубликовано
29.06.2017
Страна
RU
Как управлять
интеллектуальной собственностью
Чертежи 
2
Реферат

Изобретение относится к области технологии подготовки нефти на нефтепромыслах нефтеперерабатывающих предприятий, в частности к технике доотмыва нефти от хлористых солей подачей пресной воды. Узел обессоливания нефти состоит из корпуса в виде катушки с фланцевыми соединениями по краям, расположенного на участке нефтепровода, внутри корпуса находится Г-образная трубка с насадками для подачи воды под давлением, превышающим давление нефти в нефепроводе. Насадки в Г-образной трубке выполнены в виде пакета труб, вертикально сориентированных по направлению потока нефти с охватом поперечного сечения корпуса, при этом в корпусе за Г-образной трубкой установлен шнек, закручивающий поток по часовой стрелке, причем за шнеком в корпусе с возможностью фиксации и перемещения установлен полый цилиндр, снабженный решеткой с отверстиями, конусом, сужающимся по направлению потока нефти, и поперечными диафрагмами, оснащенными центральными щелевыми отверстиями, при этом каждое последующее щелевое отверстие поперечной диафрагмы смещено на угол 60° против часовой стрелки с уменьшением пропускной способности щелевых отверстий поперечных диафрагм по направлению потока. Техническим результатом является обеспечение равномерного распределения потока пресной воды в потоке нефти, повышение интенсификации смешивания и качества диспергации пресной воды в нефти, снижение ограничений пропускной способности нефтепровода. 4 ил.

Формула изобретения

Узел обессоливания нефти, состоящий из корпуса в виде катушки с фланцевыми соединениями по краям, расположенного на участке нефтепровода, внутри корпуса находится Г-образная трубка с насадками для подачи воды под давлением, превышающим давление нефти в нефепроводе, отличающийся тем, что насадки в Г-образной трубке выполнены в виде пакета труб, вертикально сориентированных по направлению потока нефти с охватом поперечного сечения корпуса, при этом в корпусе за Г-образной трубкой установлен шнек, закручивающий поток по часовой стрелке, причем за шнеком в корпусе с возможностью фиксации и перемещения установлен полый цилиндр, снабженный решеткой с отверстиями, конусом, сужающимся по направлению потока нефти, и поперечными диафрагмами, оснащенными центральными щелевыми отверстиями, при этом каждое последующее щелевое отверстие поперечной диафрагмы смещено на угол 60° против часовой стрелки с уменьшением пропускной способности щелевых отверстий поперечных диафрагм по направлению потока.

Описание

[1]

Изобретение относится к области технологии подготовки нефти на нефтепромыслах нефтеперерабатывающих предприятий, в частности к технике доотмыва нефти от хлористых солей подачей пресной воды.

[2]

Известна установка обезвоживания и обессоливания нефти (патент RU №2146549 МПК B01D 17/00, опубл. 20.03.2000 г. в бюл. №8), включающая сырьевые резервуары, теплообменники и подогреватели, промежуточные емкости, узлы смешивания водонефтяной эмульсии с промывочными водами, емкости сбора подготовленной нефти, отличающаяся тем, что установка снабжена фильтрующе-коалесцирующими устройствами, установленными после узла смешивания нагретой нефти с нагретыми промывочными водами и выполненными в виде емкостей, оснащенных влагоотделительными пакетами, перекрывающими рабочее сечение аппаратов и составленными из композиции материалов - пористо-ячеистых металлов, и(или) сплавов, и(или) пористо-ячеистых полимерных материалов с фиксированной пористо-ячеистой структурой, за счет которых достигается удаление хлористых солей из нефти.

[3]

Недостатком данного устройства являются:

[4]

- во-первых, сложность конструкции, обусловленная большим количеством узлов и деталей (обечайка, патрубки, механизм перемещения и т.д.);

[5]

- во-вторых, высокая себестоимость изготовления, связанная с необходимостью применения емкостного оборудования и наличия в конструкции устройства влагоотделительных пакетов с пористо-ячеистой структурой;

[6]

- в-третьих, низкая эффективность обессоливания нефти;

[7]

- в-четвертых, громоздкая и металлоемкая конструкция.

[8]

Также известно устройство для обезвоживания и обессоливания нефти (авторское свидетельство SU №1266036, МПК B01D 17/04, опубл. 10.03.2000 г. в бюл. №7), содержащее магистральную трубу, в которой размещен распределитель в виде патрубков, сообщающихся с коллектором, оно снабжено обечайкой, установленной на наружной поверхности магистральной трубы, и механизмом перемещения, соединенным с обечайкой, при этом патрубки выполнены с продольными выходными отверстиями, расположенными вдоль трубы, а поперечное сечение патрубков выполнено прямоугольным. Устройство снабжено пластинами, установленными в патрубках параллельно их меньшим сторонам и прикрепленными к обечайке, а соотношение сторон патрубков составляет 5:1.

[9]

Недостатками данного устройства являются:

[10]

- во-первых, сложность конструкции, обусловленная большим количеством узлов и деталей (обечайка, патрубки, механизм перемещения и т.д.);

[11]

- во-вторых, высокая себестоимость изготовления, связанная с необходимостью изготовления узла перемещения;

[12]

- в-третьих, низкая эффективность обессоливания нефти;

[13]

- в-четвертых, громоздкая и металлоемкая конструкция.

[14]

Узел обессоливания нефти (патент RU №2427410, МПК B01D 17/04, опубл. 27.08.2011 г. в бюл. №24), состоящий из корпуса в виде катушки с фланцевыми соединениями по краям, расположенного на участке нефтепровода, внутри корпуса в ее средней части находится Г-образная трубка для подачи пресной воды, концевая часть этой трубки в форме полусферы находится на оси нефтепровода, повернута навстречу потоку нефти и снабжена равномерно по своей площади износостойкими насадками для подачи воды под давлением, превышающим давление нефти в нефтепровод, причем перед и после концевой части трубки для подачи пресной воды в катушке нефтепровода перпендикулярно ее оси смонтированы две неподвижные лопастные решетки разного направления, а именно: лопасти первой решетки создают вращательное движение потока нефти по оси нефтепровода в одну сторону, например по часовой стрелке, а лопасти второй решетки повернуты в другую сторону от плоскости сечения решетки так, что поток нефти начинает вращаться после решетки в другую сторону - против часовой стрелки.

[15]

Недостатками данного узла являются:

[16]

- во-первых, насадки, установленные на конце Г-образной трубки, выполненной в форме полусферы, не позволяют охватить струям все поперечное сечение корпуса параллельно потоку нефти, при этом большая часть струй «бьет» по внутренней поверхности корпуса и не попадает на лопасти решеток, что не обеспечивает равномерное распределение потока пресной воды в потоке нефти перед их смешиванием;

[17]

- во-вторых, низкая интенсификация смешивания, связанная с низкой скоростью потока нефти в корпусе, так как в пространстве между лопастными решетками образуется «застойная» область;

[18]

- в-третьих, низкое качество диспергации пресной воды в нефти вследствие наличия «мертвых» зон на лопастях решеток;

[19]

- в-четвертых, ограниченная пропускная способность нефтепровода по потоку нефти вследствие высоких гидравлических сопротивлений из-за наличия в конструкции устройства двух неподвижных лопастных решеток разного направления, смонтированных на осях, а это замедляет процесс обессоливания нефти.

[20]

Техническими задачами изобретения являются обеспечение равномерного распределения потока пресной воды в потоке нефти, повышение интенсификации смешивания и качества диспергации пресной воды в нефти, а также снижение ограничения пропускной способности нефтепровода.

[21]

Поставленные задачи решаются узлом обессоливания нефти, состоящим из корпуса в виде катушки с фланцевыми соединениями по краям, расположенного на участке нефтепровода, внутри корпуса находится Г-образная трубка с насадками для подачи воды под давлением, превышающим давление нефти в нефепроводе.

[22]

Новым является то, что насадки в Г-образной трубке выполнены в виде пакета труб, вертикально сориентированных по направлению потока нефти с охватом поперечного сечения корпуса, при этом в корпусе за Г-образной трубкой установлен шнек, закручивающий поток по часовой стрелке, причем за шнеком в корпусе с возможностью фиксации и перемещения установлен полый цилиндр, снабженный решеткой с отверстиями, конусом, сужающимся по направлению потока нефти, и поперечными диафрагмами, оснащенными центральными щелевыми отверстиями, при этом каждое последующее щелевое отверстие поперечной диафрагмы смещено на угол 60° против часовой стрелки с уменьшением пропускной способности щелевых отверстий поперечных диафрагм по направлению потока.

[23]

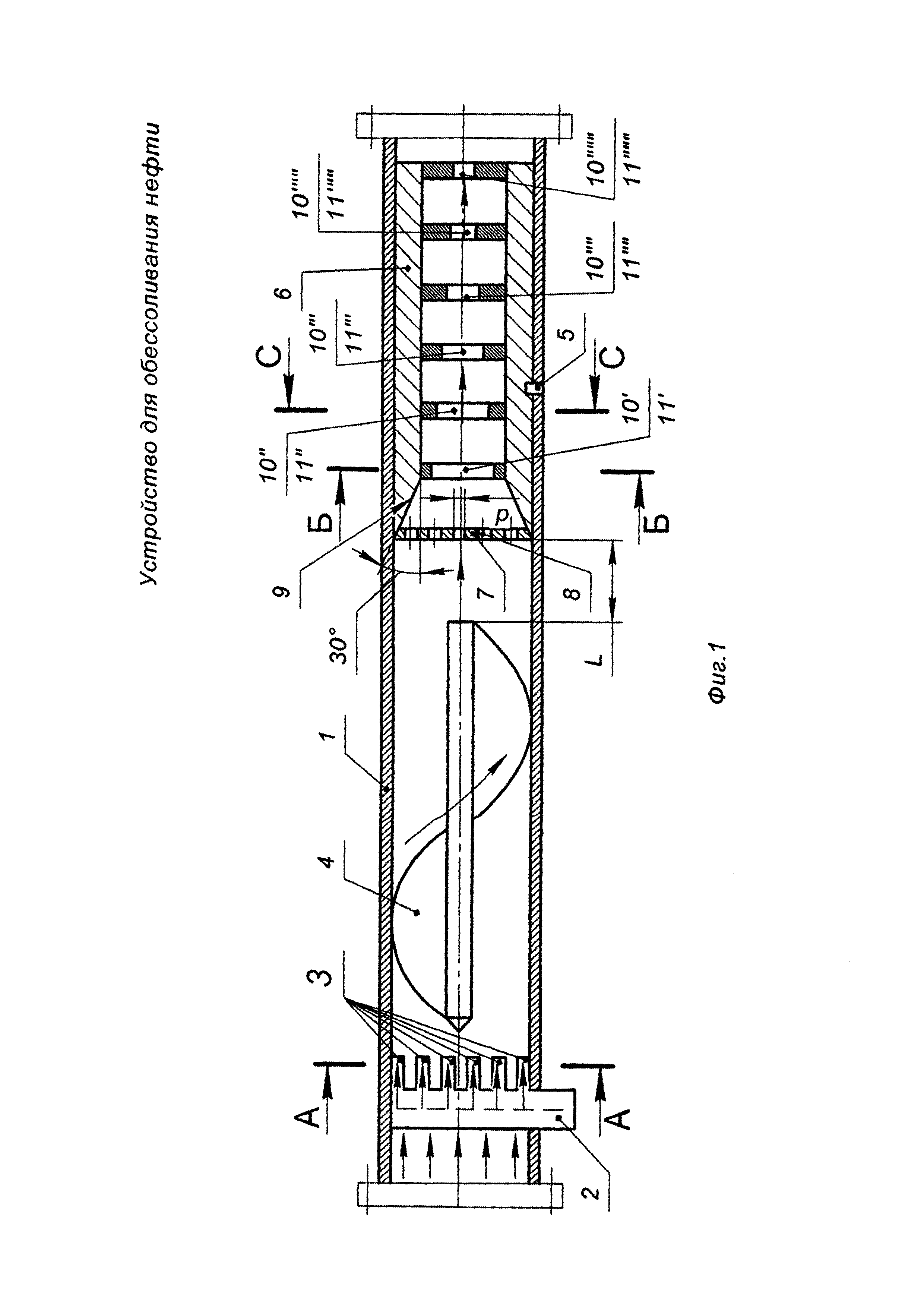
На фиг. 1 схематично изображено предлагаемое устройство в продольном разрезе.

[24]

На фиг. 2 схематично изображены в сечении А-А насадки в Г-образной трубке.

[25]

На фиг. 3 и 4 схематично изображены в сечении Б-Б и С-С поперечные диафрагмы полого цилиндра.

[26]

Известно, что пластовая нефть поступает на нефтесборный пункт с большим содержанием хлористых солей - до 1000 мг/л и более. Товарная нефть по 1-й категории качества должна иметь хлористых солей не более 100 мг/л. Для достижения такого качества в нефтепромыслах имеются различные конструкции устройств по смешиванию нефти с пресной водой.

[27]

Узел обессоливания нефти состоит из корпуса 1 в виде катушки с фланцевыми соединениями по краям (на фиг. 1 показано условно), расположенного на участке нефтепровода. Внутри корпуса 1 находится Г-образная трубка 2 с насадками 3 для подачи воды под давлением, превышающим давление нефти в нефтепроводе (на фиг. 1, 2, 3 и 4 не показано).

[28]

Насадки 3 (см. фиг. 1 и 2) в Г-образной трубке 2 выполнены в виде пакета труб, вертикально сориентированных по направлению потока нефти с охватом поперечного сечения корпуса 1. Каждая труба насадки 3 (см. фиг. 2) выполнена, например, диаметром 20 мм. В корпусе 1 (см. фиг. 1) за Г-образной трубкой 2 установлен шнек 4, закручивающий поток по часовой стрелке.

[29]

За шнеком 4 в корпусе 1 на расстоянии L с возможностью фиксации посредством стопорного винта 5 и перемещения установлен полый цилиндр 6. Полый цилиндр 6 снабжен решеткой 7 с отверстиями 8 диаметром d, который определяется опытным путем в зависимости от физико-химических свойств (вязкости, плотности) пресной воды и нефти и составляет от 5 до 15 мм, примем d=10. Также полый цилиндр 6 снабжен конусом 9, сужающимся по направлению потока нефти, например под углом 30°.

[30]

В полом цилиндре 6 установлены поперечные диафрагмы 10', 10'', 10''', 10'''', 10''''', 10'''''', оснащенные центральными щелевыми отверстиями 11', 11'', 11''', 11'''', 11''''', 11''''''.

[31]

Каждое последующее щелевое отверстие 11', 11'', 11''', 11'''', 11''''', 11'''''' соответствующей поперечной диафрагмы 10', 10'', 10''', 10'''', 10''''', 10'''''' смещено на угол 60° против часовой стрелки.

[32]

Угол, равный 60° (см. фиг. 1, 3 и 4), при прохождении поперечных диафрагм 10', 10'', 10''', 10'''', 10''''', 10''''' позволяет совершить закрученному потоку смешивающейся нефти и пресной воды полный оборот в направлении, обратном вращению в шнеке, т.е. в направлении против часовой стрелки.

[33]

Кроме того, каждое последующее щелевое отверстие 11', 11'', 11''', 11'''', 11''''', 11'''''' соответствующей поперечной диафрагмы 10', 10'', 10''', 10'''', 10''''', 10'''''' - с уменьшением их пропускной способности по направлению потока нефти.

[34]

Уменьшение пропускной способности щелевых отверстий 11', 11'', 11''', 11'''', 11''''', 11'''''' соответствующих поперечных диафрагм 10', 10'', 10''', 10'''', 10''''', 10'''''' достигается за счет уменьшения площадей поперечных сечений щелевых отверстий 11', 11'', 11''', 11'''', 11''''', 11'''''' прямоугольного сечения. Например, за счет уменьшения ширины b при неизменной длине - а (см. фиг. 3 и 4) уменьшаются площади поперечных сечений щелевых отверстий 11', 11'', 11''', 11'''', 11''''', 11'''''' (на фигуре 1 показано условно).

[35]

Узел обессоливания нефти работает следующим образом.

[36]

Пресная вода подается по Г-образной трубке 2 (см. фиг. 1) и насадке 3 под давлением, превышающим давление нефти в корпусе 1 на лопасть шнека 4.

[37]

Также на лопасть шнека 4 попадается нефть, которая подается по корпусу 1 (слева направо см. фиг. 1), вмонтированному в нефтепровод (на фиг. 1, 2, 3 и 4 не показано).

[38]

Благодаря тому, что насадки 3 (см. фиг. 1) выполнены в виде пакета труб, вертикально сориентированных по направлению потока нефти, происходит равномерно распределение потока пресной воды в виде струй жидкости по всему поперечному сечению корпуса 1, по которой подается поток нефти, что позволяет в дальнейшем повысить качество диспергации пресной воды в потоке нефти при их попадании на шнек 4 и в полый цилиндр 6.

[39]

Пресная вода в виде струй подается на лопасть шнека 4 под давлением, большим давления в корпусе 1, поэтому при столкновении струй жидкости (пресной воды) с лопастью шнека 4 происходит дробление струй на многочисленные частицы - глобулы воды, которые подхватываются попутным (в одном направлении слева направо) закрученным в шнеке 4 потоком нефти по часовой стрелке.

[40]

В результате глобулы воды получают как лобовое столкновение с лопастью шнека 4, так и вращательное движение относительно потока нефти. Таким образом, осуществляется одновременное смешение пресной воды с нефтью в нескольких плоскостных направлениях, т.е. происходит объемное смешение воды и нефти. Это способствует активному массообмену между нефтью и водой в виде перехода солей из нефти в воду.

[41]

Далее закрученный на шнеке 4 смешанный поток нефти и пресной воды ударяется о решетку 7, что приводит к еще большему дроблению пресной воды и смешению ее с нефтью, и далее через отверстия 8 решетки смешанный поток нефти и пресной воды попадает внутрь полого цилиндра 6, где, попав на конус 9, сужающийся по направлению движения скорости потока, увеличивается и продолжает увеличиваться по ходу движения в полом цилиндре 6 за счет уменьшения щелевых отверстий 11', 11'', 11''', 11'''', 11''''', 11'''''' соответствующих диафрагм 10', 10'', 10''', 10'''', 10''''', 10''''''. Это исключает образование «застойной» области и интенсифицирует процесс смешивания пресной воды в нефти.

[42]

Затем смешанный поток нефти и пресной воды проходит сквозь щелевые отверстия 11', 11'', 11''', 11'''', 11''''', 11'''''' соответствующих диафрагм 10', 10'', 10''', 10'''', 10''''', 10'''''' полого цилиндра 6, при этом пресная вода продолжает диспергироваться в нефти, интенсивно перемешиваясь за счет резкого сужения в поперечных диафрагмах 10', 10'', 10''', 10'''', 10''''', 10'''''' и резкого расширения за поперечными диафрагмами 10', 10'' 10''', 10'''', 10''''', 10''''''.

[43]

Кроме того, каждое щелевое отверстие 11', 11'', 11''', 11'''', 11''''', 11'''''' последующей поперечной диафрагмы 10', 10'', 10''', 10'''', 10''''', 10'''''' смещено на угол 60° (на фиг. 4 показано стрелкой) против часовой стрелки, вследствие чего исключаются «мертвые зоны» за поперечными диафрагмами 10', 10'', 10''', 10'''', 10''''', 10'''''', что приводит к более качественной диспергации пресной воды в нефти по сравнению с прототипом.

[44]

Более того, принудительное изменение направления вращения потока нефти с одной стороны на другую (по часовой стрелке на шнеке и против часовой стрелки в на поперечных диафрагмах 10', 10'', 10''', 10'''', 10''''', 10'''''' полого цилиндра 6) также ускоряет массообменные процессы между нефтью и пресной водой.

[45]

Вследствие сильной турбулизации потока в корпусе 1 за полым цилиндром 6 образуется водонефтяная эмульсионная структура, которая из корпуса 1 попадает в нефтепровод за устройством, по которому она транспортируется на сборный пункт (на фиг. 1, 2, 3 и 4 не показано). Полый цилиндр 6 (см. фиг. 1) имеет возможность продольного перемещения и фиксации посредством стопорного винта 5 в корпусе 1, поэтому в случае изменения химико-физических свойств (вязкости, плотности) пресной воды и нефти демонтируют устройство в корпусе 1. После чего перемещением дополнительного корпуса 5 относительно корпуса 1 изменяют расстояние L (см. фиг. 1) и вновь фиксируют полый цилиндр 6 относительно корпуса 1. Далее монтируют устройство – нефтепровод, как описано выше, и запускают устройство в эксплуатацию.

[46]

Снижается ограничение пропускной способности нефтепровода, так как из конструкции узла исключены две неподвижные лопастные решетки разного направления, смонтированные на осях. Кроме того, диспергация пресной воды в потоке нефти и их смешивание в предлагаемом узле – процесс, регулируемый в зависимости от их химико-физических свойств, осуществляемый за счет установки полого корпуса 6 с поперечными диафрагмами 10', 10'', 10''', 10'''', 10''''', 10'''''', имеющего возможность осевого перемещения и фиксации относительно корпуса 1, что ускоряет процесс обессоливания нефти.

[47]

В результате работы предлагаемого узла обессоливания достигается интенсивное диспергирование пресной воды в нефти с последующим переходом солей из нефти в воду.

[48]

Предлагаемый узел обессоливания нефти позволяет:

[49]

- обеспечить равномерное распределение потока пресной воды в потоке нефти;

[50]

- повысить интенсификацию смешивания и качество диспергации пресной воды в нефти;

[51]

- снизить ограничения пропускной способности нефтепровода.

Как компенсировать расходы
на инновационную разработку
Похожие патенты