патент
№ RU 2525344
МПК B60C9/04

ПОКРЫШКА ПНЕВМАТИЧЕСКОЙ ШИНЫ

Авторы:
Гальперин Леонид Романович Сычук Фаина Ивановна Зеленков Сергей Александрович
Все (7)
Номер заявки
2012158010/11
Дата подачи заявки
28.12.2012
Опубликовано
10.08.2014
Страна
RU
Как управлять
интеллектуальной собственностью
Чертежи 
6
Реферат

Изобретение относится к конструкции каркаса пневматических автомобильных шин. Покрышка включает протектор, боковины, брекер, бортовое кольцо и каркас из текстильного обрезиненного корда в виде слоев с различной плотностью нитей в слоях и разрывной прочностью нитей более 35 кгс/нить. Соотношение между толщиной нитей текстильного обрезиненного корда и величиной разрывной плотности нитей меньше 0,021. По меньшей мере в одном слое каркаса плотность нитей меньше на 25-30%, а резиносодержание в 1,6-3,5 раза больше, чем в других слоях каркаса. Технический результат - повышение работоспособности, устойчивости и управляемости шин. 4 з.п. ф-лы, 2 табл., 7 ил.

Формула изобретения

1. Покрышка пневматической шины, включающая протектор, боковины, брекер, бортовое кольцо и каркас из текстильного обрезиненного корда в виде слоев с различной плотностью нитей в слоях и разрывной прочностью нитей более 35 кгс/нить, отличающаяся тем, что соотношение между толщиной нитей текстильного обрезиненного корда и величиной разрывной плотности нитей меньше 0,021, при этом по меньшей мере в одном слое каркаса плотность нитей меньше на 25-30%, а резиносодержание в 1,6-3,5 раза больше, чем в других слоях каркаса.

2. Покрышка по п.1, отличающаяся тем, что слой каркаса с меньшей плотностью нитей расположен с наружной стороны каркаса и выполнен без заворота вокруг бортового кольца.

3. Покрышка по п.1, отличающаяся тем, что слой каркаса с меньшей плотностью нитей расположен с наружной стороны каркаса и выполнен с заворотом вокруг бортового кольца.

4. Покрышка по п.1, отличающаяся тем, что слой каркаса с меньшей плотностью нитей расположен с внутренней стороны каркаса и выполнен с заворотом вокруг бортового кольца.

5. Покрышка по п.1, отличающаяся тем, что при наличии в каркасе двух или более слоев с меньшей плотностью нитей один из названных слоев расположен с наружной стороны каркаса, а другой - с его внутренней стороны, при этом по меньшей мере один из названных слоев выполнен с заворотом вокруг бортового кольца.

Описание

[1]

Изобретение относится к компонентам транспортных средств, в частности к покрышкам пневматических шин радиальной и диагональной конструкции.

[2]

В современном производстве шин с каркасом из текстильного корда ставится задача разработать шины, в которых бы применялись конструкции с меньшим числом слоев каркаса шины при обеспечении высоких прочностных и эксплуатационных характеристик. Решение данной задачи возможно при применении новых типов кордов с высокой разрывной прочностью.

[3]

Как известно, свойства текстильного корда зависят от характеристик материала полимера, из которого он выполнен, линейной плотности кордной нити, структуры кордной нити, числа круток, толщины кордной нити, пропиточного состава. Основные проблемы применения высокопрочных кордов в шинной промышленности связаны с удельным снижением адгезионных свойств и большой толщиной обрезинивания слоя, связанной с увеличением диаметра нити корда. В то же время конструкция каркасов из текстильных высокопрочных кордов с меньшим числом слоев обеспечивает меньшую толщину шины во всех сечениях при сохранении или даже увеличении запасов прочности каркаса.

[4]

Известна покрышка пневматической шины, содержащая протектор, брекер, боковины и каркас из нескольких слоев обрезиненного текстильного корда с разрывной прочностью менее 35 кгс/нить, причем часть внешних слоев каркаса выполнена из слоев с меньшей плотностью (патент РФ №17307).

[5]

В данном техническом решении при применении имеющихся конструкций текстильных кордов соотношение диаметра нити корда к разрывной прочности нити составляет 0,024 - 0,029, различие по плотности нитей между слоями составляет 20%, а разница в резиносодержании внутреннего и внешнего слоев составляет до 50%.

[6]

Из приведенного описания следует, что в патенте описаны текстильные корды так называемых первой и второй марки, широко применяемые в шинной промышленности. При этом в современной практике стандартная разница по плотности нитей между первой и второй марками составляет 15-20%.

[7]

Данная конструкция характеризуется увеличенной толщиной обрезинивания корда, что обусловлено увеличением относительной толщины нитей корда. Кроме того, использование нитей корда с соотношением диаметра нити корда к ее разрывной прочности 0,024 - 0,029 требует применения дополнительных слоев каркаса для достижения необходимых запасов прочности шины.

[8]

Названные характеристики описанного технического решения приводят к увеличению массы шины и снижению ее работоспособности из-за повышенного теплообразования.

[9]

Также известна пневматическая шина (патент РФ №2456167), которая включает каркас, выполненный из текстильной кордной ткани с числом кручений нити 180-290 на метр, разрывной прочностью нити более 400 Н, удельной прочностью cH/tex больше 0,78, удлинением нити корда при нагрузке от 39 до 45 Н менее 3% и резиносодержанием в слое 18.

[10]

Применение кордов с высокой разрывной прочностью позволяет снизить необходимое количество слоев каркаса в шине.

[11]

При применении жестких кордов с разрывной прочностью более 400 Н, что эквивалентно 40 кгс/нить, соотношения плотности и резиносодержаниия, принятого в производственной практике, недостаточно для обеспечения высоких характеристик работоспособности и комфортабельности. Повышение разрывной прочности нити корда, как правило, приводит к увеличению ее диаметра, что соответственно увеличивает необходимую для обрезинивания толщину обкладочной резины и приводит к увеличению массы шины. Применение кордов стандартной конструкции с прочностью выше 35 кгс/нить соотношение диаметра нити к ее разрывной прочности обычно составляет более 0,024.

[12]

Так как в описанной выше конструкции покрышки резиносодержание во всех слоях одинаково, но может отличаться в разных модификациях каркаса, имеет место повышенная жесткость боковины шины и увеличение сдвиговых напряжений во внешних слоях каркаса, что снижает работоспособность шины, особенно при эксплуатации в условиях плохих дорог и перегрузок.

[13]

Техническая задача, на решение которой направлено предлагаемое изобретение, заключается в выборе такого соотношения между параметрами текстильного обрезиненного корда и таком взаимном расположении слоев корда, которое позволило бы повысить работоспособность покрышки пневматической шины в условиях перегрузки без увеличения материалоемкости и снижения комфортабельности.

[14]

Поставленная задача решается тем, что в покрышке пневматической шины, включающей протектор, боковины, брекер, бортовое кольцо и каркас из нескольких слоев текстильного обрезиненного корда с разрывной прочностью более 35 кгс/нить, согласно изобретению соотношение между толщиной нитей текстильного обрезиненного корда и величиной разрывной плотности нитей меньше 0,021, а по меньшей мере в одном слое каркаса плотность нитей меньше на 25-30%, а резиносодержание в 1,6 - 3,5 раза больше, чем в других слоях каркаса.

[15]

Толщина нити является важным показателем, так как определяет необходимую толщину обрезинивания, то есть массу слоя. Как правило, при одинаковом исходном материале, чем прочнее нить, тем она толще. Экспериментально установлено, что верхнее значение соотношения между толщиной нитей и разрывной прочностью нитей 0,021 соответствует меньшей толщине слоев каркаса при сохранении высокой работоспособности для современных материалов с разрывной прочностью нитей от 45 до 70 кгс/нить.

[16]

Применение данных параметров в покрышке позволяет уменьшить количество слоев в каркасе, обеспечить снижение массы, понизить теплообразование и улучшить работоспособность шины. Кроме того, улучшается комфортабельность.

[17]

Предпочтительно, чтобы слой каркаса с меньшей плотностью нитей располагался с наружной стороны каркаса и был выполнен с заворотом или без заворота вокруг бортового кольца.

[18]

Такая конструкция широко применяется в грузовых шинах различного типа (как радиальной, так и диагональной конструкции) с многослойным каркасом и предназначенным для эксплуатации в тяжелых условиях (например, на стройках или на бездорожье).

[19]

Целесообразно, чтобы слой каркаса с большей плотностью нитей располагался с внутренней стороны каркаса и был выполнен с заворотом вокруг бортового кольца.

[20]

При этом обеспечивается основной силовой жесткий каркас шины, связывающий воедино зону протектора и брекера, боковины и бортов.

[21]

Конструктивно выгодно, чтобы при наличии в каркасе двух или более слоев с меньшей плотностью нитей один из названных слоев расположен с наружной стороны каркаса, а другой - с его внутренней стороны, при этом по меньшей мере один из названных слоев выполнен с заворотом вокруг бортового кольца.

[22]

Данная конструкция позволяет упростить технологический процесс сборки шины, облегчая формирование зоны борта шины при заворачивании и обработке кромок слоев каркаса.

[23]

Технический результат настоящего изобретения заключается в повышении работоспособности шин при эксплуатации в условиях перегрузки, повышении показателей устойчивости и управляемости шин.

[24]

В дальнейшем изобретение поясняется конкретными вариантами выполнения и сопровождающими чертежами, на которых:

[25]

фиг.1 изображает покрышку пневматической шины в меридиональном сечении;

[26]

фиг.2 - 7 варианты выполнения каркаса из текстильного обрезиненного корда согласно изобретению.

[27]

Покрышка пневматической шины, представленная на фиг.1, содержит протектор 1, боковины 2, брекер 3, бортовое кольцо 4 и каркас 5 из текстильного обрезиненного корда, выполненного в виде слоев. Такая покрышка с одним бортовым кольцом 4 широко используется при производстве шин радиальной и диагональной конструкции. Конструкция каркаса 5 в зоне борта 6 может быть реализована с различными схемами расположения слоев каркаса относительно бортовых колец 4 в зависимости от технологического процесса сборки и размера шин.

[28]

Каркас выполнен из текстильного корда, имеющего разрывную прочность нитей не менее 35 кгс/нить, предпочтительно 45-70 кгс/нить.

[29]

Отличительной особенностью заявленного изобретения является выбор оптимального соотношения между толщиной нитей текстильного обрезиненного корда и величиной разрывной плотности нитей, а также выполнение по меньшей мере одного слоя каркаса с плотностью нитей, меньшей на 25-30%, и резиносодержанием в 1,6 - 3,5 раза больше, чем в других слоях каркаса.

[30]

В настоящем изобретении в результате опытного подбора (из соображений массы, прочности, резиносодержания в шине) определено отличное от «стандартного» соотношение количества нитей в основном и разреженных слоях и установлено, что экономический эффект от снижения материалоемкости шин при применении кордов прочностью выше 35 кгс/нить достигается при соотношении не более 0,021. При применении жестких кордов с разрывной прочностью более 35 кгс/нить принятой стандартной разницы плотности и резиносодержании недостаточно для обеспечения приемлемых свойств работоспособности и комфортабельности. Предлагаемое техническое решение предусматривает различие по плотности в слоях каркаса не менее 25-30%, что соответствует резиносодержанию в 1,6-3,5 раза больше, чем в других слоях каркаса.

[31]

При снижении резиносодержания менее чем в 1,6 раза ухудшается работоспособность и снижается комфортабельность при эксплуатации. При увеличении резиносодержания более чем в 3,5 раза повышается масса, ухудшается управляемость автомобилем и повышается расход топлива.

[32]

Экспериментально установлено, что верхнее значение соотношения между толщиной нитей и разрывной прочностью нитей 0,021 соответствует меньшей толщине слоев каркаса при сохранении высокой работоспособности для примененных типов современных материалов из анидных кордов с разрывной прочностью нитей от 45 до 70 кгс/нить.

[33]

Резиносодержание в слое определяется по формуле: Т=t-d/t, где t - расстояние между центрами соседних нитей в слое, d - диаметр нити.

[34]

В таблице 1 приведены сравнительные характеристики диаметра нити d, разрывной прочности нити Q и соотношения d/Q для известных марок кордов и кордов, выполненных в соответствии с настоящим изобретением (выделено).

[35]

Таблица 1
Обозначение кордаДиаметр нити, (d),мм (±0,03)Разрывная прочность, (Q) кгсd/Q
20ПДУ0,68200,034
21КНТС0,75210,036
25КНТС0,75250,030
27 КНТС0,75270,028
ЗОКНТС0,78300,026
35КНТС0,83350,024
35А0,75350,021

[36]

45А0,9450,020
70А1,12700,016

[37]

Как видно из приведенной таблицы 1, соотношение d/Q<0,021 соблюдается при Q>35 кгс для нитей выбранного диаметра.

[38]

Конструкция каркаса может быть реализована с различными схемами расположения слоев каркаса относительно бортовых колец в зависимости от технологического процесса сборки и размера шин.

[39]

На фиг.2 представлен вариант выполнения каркаса 5 в зоне борта 6, в котором слой 7 каркаса 5 с меньшей плотностью нитей (изображен пунктирной линией) расположен с наружной стороны каркаса 5 и выполнен без заворота вокруг бортового кольца 4. Слои 8 каркаса 5 с большей плотностью, изображенные сплошной линией, в данном случае три слоя 8, расположены с внутренней стороны каркаса 5 и выполнены с заворотом вокруг бортового кольца 4.

[40]

Данная схема является общепринятой для грузовых шин повышенной грузоподъемности больших размеров, например 12,00-20; 12,00R20; 14,00R20.

[41]

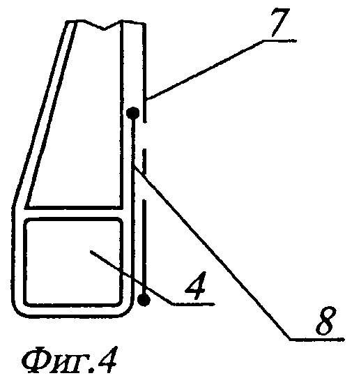
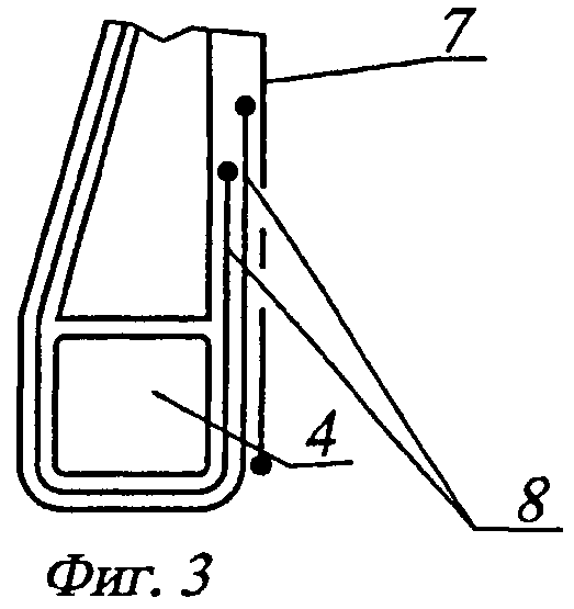
На фиг.3, 4 представлены по существу такие же варианты выполнения каркаса 5, как и на фиг.2, отличающиеся от него тем, что в варианте на фиг.3 выполнено два слоя 8 с большей плотностью, а в варианте на фиг.4 - один слой 8.

[42]

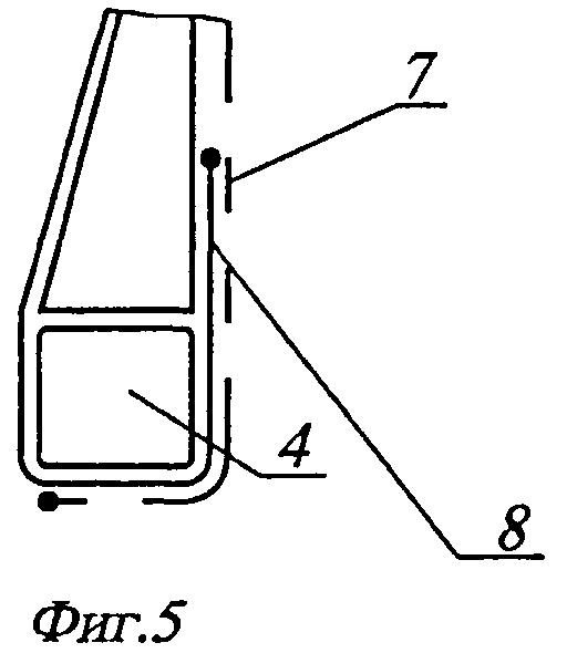
На фиг.5 представлен такой же вариант, как и на фиг.4, с тем отличием, что слой 7 с меньшей плотностью завернут вокруг бортового кольца 4.

[43]

Варианты, выполненные в соответствии с фиг.3-5, применимы для легкогрузовых или автобусных шин (как правило с посадочным диаметром 16-19,5 дюймов), эксплуатирующихся преимущественно в городе.

[44]

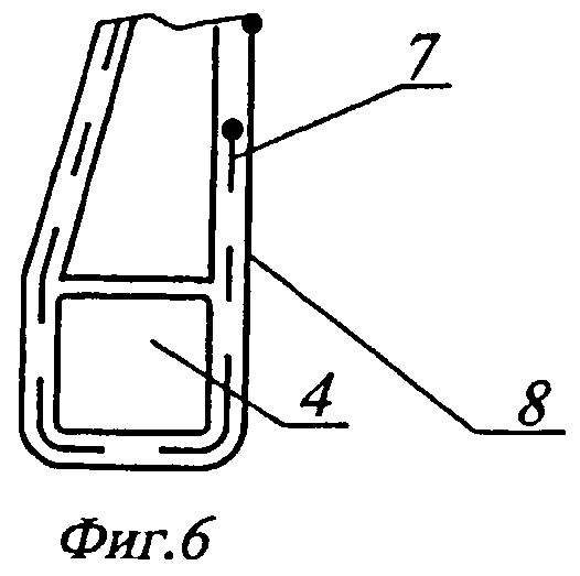
На фиг.6 представлен вариант выполнения каркаса 5, в котором слой 7 с большей плотностью нитей расположен с внутренней стороны каркаса 5 и выполнен с заворотом вокруг бортового кольца 4.

[45]

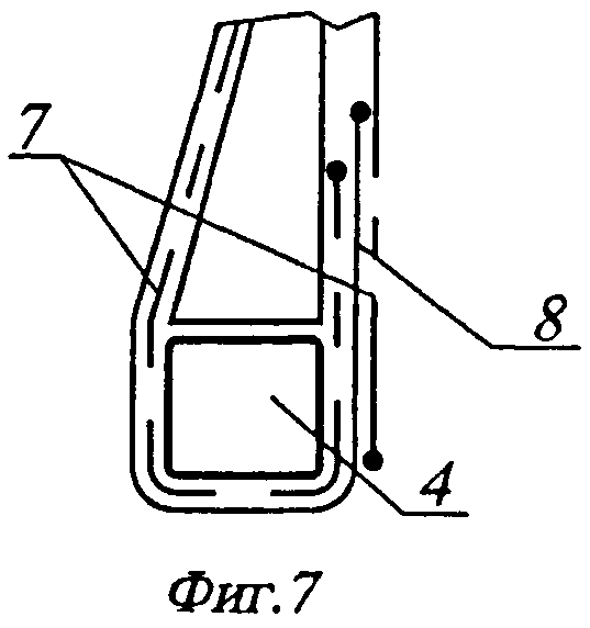
На фиг.7 представлен вариант каркаса 5, в котором выполнено два слоя 7 с меньшей плотностью нитей, причем один из названных слоев7 расположен с наружной стороны каркаса 5, а другой - с его внутренней стороны. В описываемом варианте внутренний слой 7 выполнен с заворотом вокруг бортового кольца 4, а наружный слой 7 - без заворота вокруг бортового кольца 4.

[46]

Варианты, выполненные в соответствии с фиг.6-7, целесообразно применять для грузовых шин высокой грузоподъемности, имеющих в борте более одного бортового кольца.

[47]

В таблице 2 приведены результаты сравнительных стендовых испытаний опытных шин предлагаемой конструкции на работоспособность в сравнении с серийными конструкциями.

[48]

Экспериментальные работы проводились на шинах 9,00R20-12,00R20 и схемами конструкции каркаса по представленным на фиг.2-5 с применением в каркасе корда 45А. При этом относительная прочность (d/Q) составляла 0,020, плотность в слоях корда различалась на 28%, а резиносодержание в 1,7 раза.

[49]

Таблица 2
ПоказателиСерийная конструкцияПредлагаемая конструкция
Нормативная нагрузка
Общая работоспособность, %100105-115*
Работоспособность каркаса в зоне борта, %100115
Повышенная на 5-7% нагрузка
Общая работоспособность, %100ПО
Работоспособность каркаса в зоне борта, %100110-115*

[50]

* - для шин различных размеров.

[51]

Таким образом, заявленное изобретение обеспечивает повышение работоспособности шин при эксплуатации в условиях перегрузки, снижение материалоемкости и теплообразования шин, а также улучшение их эксплуатационных характеристик при высоких скоростях движения.

Как компенсировать расходы
на инновационную разработку
Похожие патенты