патент
№ RU 2671588
МПК B60P3/00

Подъемное устройство выносного оборудования

Авторы:
Асташова Елена Викторовна Куркин Вячеслав Алексеевич Долженко Сергей Валерьевич
Все (5)
Номер заявки
2017106386
Дата подачи заявки
27.02.2017
Опубликовано
02.11.2018
Страна
RU
Как управлять
интеллектуальной собственностью
Чертежи 
3
Реферат

Изобретение относится к подвижной военной технике с выносной, легкосъемной дизель-генераторной установкой - источником электрической энергии. Подъемное устройство выносного оборудования содержит контейнер, снабженный грузоподъемным средством (5), связанным с выносным оборудованием (7), прикрепленным к раме (6) двумя элементами тяги (3.1 и 3.2), связанными с четырьмя соответствующими замками, первыми и вторыми роликами, между которыми расположены соответственно первый и второй полозы. Ручка управления положением контейнера снабжена соответствующими стержнями (12.1 и 12.2), проходящими через отверстия в полозах и упорах (10.1, 10.3) с соответствующими роликами. Изобретение повышает удобство съема-подъема и обслуживания оборудования, увеличивает грузоподъемность, обеспечивает установку устройства на различные транспортные базы и защиту выносного оборудования от внешних негативных воздействий за счет наличия контейнера. 1 з.п. ф-лы, 7 ил.

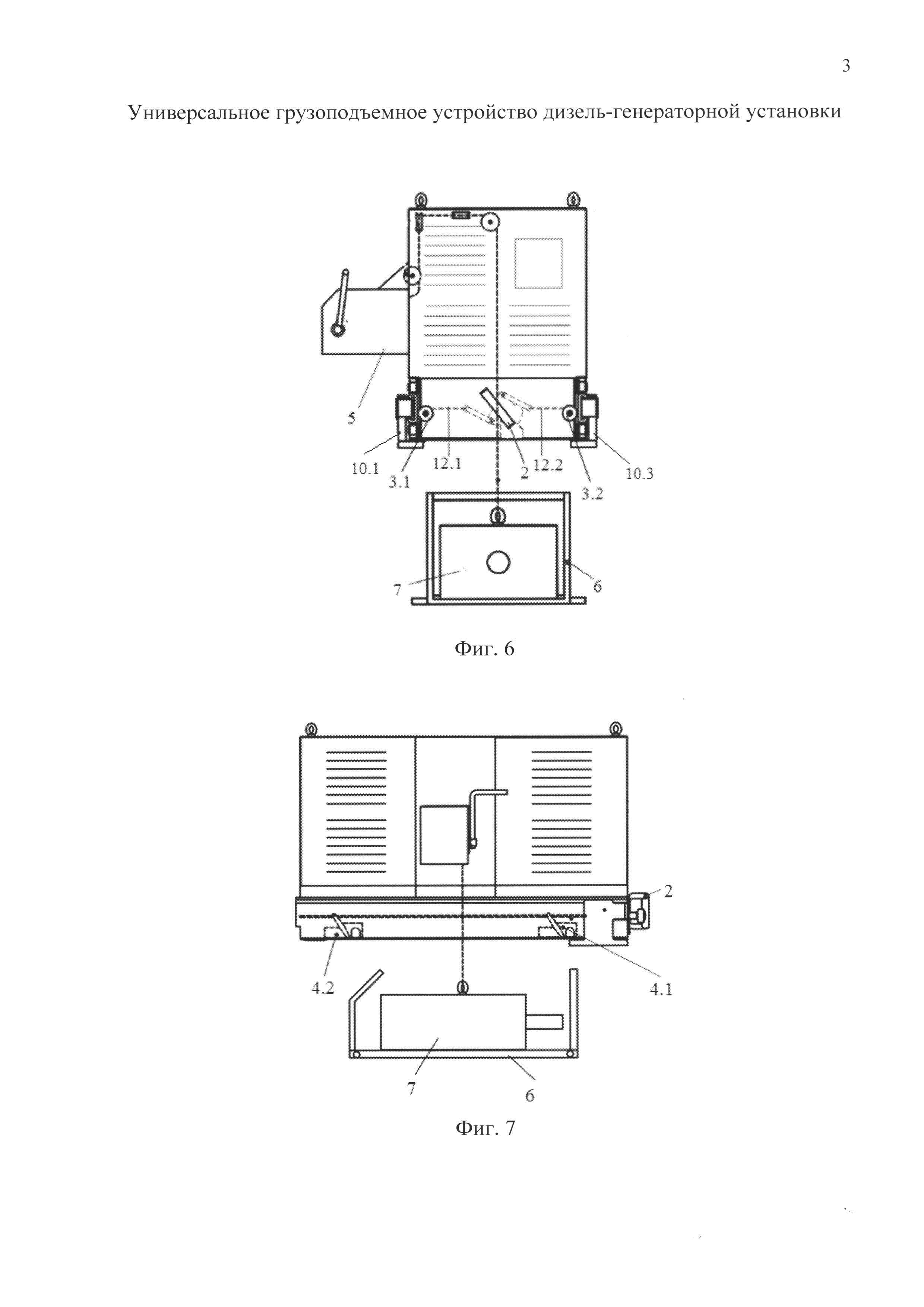
Формула изобретения

1. Подъемное устройство выносного оборудования, содержащее грузоподъемное средство, выносное оборудование, первые ролики, между которыми размещен первый передвижной направляющий полоз, отличающееся тем, что выносное оборудование прикреплено к раме со стержневыми выступами и размещено внутри контейнера, который выполнен с возможностью перемещения и снабжен ручкой управления положением контейнера, двумя элементами тяги, связанными с четырьмя соответствующими замками, расположенными внутри контейнера, введены вторые ролики, аналогичные первым, между которыми размещен второй передвижной направляющий полоз, аналогичный первому, при этом первые и вторые ролики прикреплены к внешним бокам контейнера, кроме того, введены четыре упора с соответствующими роликами, связывающими первый и второй упор с первым передвижным направляющим полозом, третий и четвертый - со вторым полозом, причем ручка управления положением контейнера снабжена соответствующими стержнями, проходящими через отверстия в передвижных направляющих полозах и в первом и третьем упорах, при этом грузоподъемное средство прикреплено к контейнеру и связано с выносным оборудованием.

2. Подъемное устройство по п. 1, отличающееся тем, что в качестве грузоподъемного средства использована лебедка.

Описание

[1]

Изобретение относится к подвижной военной технике, в конструкции которой необходимо предусмотреть выносную, легкосъемную дизель-генераторную установку (источника электрической энергии) на транспортную базу, в условиях, где необходимо создать комфортные условия по акустическому фону, а также маскировку от инфракрасного излучения.

[2]

Известно грузоподъемное устройство на шасси автомобиля, содержащее надрамник, закрепленный на раме автомобильного шасси, кузов, навесное оборудование, размещенное на надрамнике между кабиной и кузовом (см. патент RU №148823 по кл. В60Р 1/54, В66С 23/36 за 2014 г.).

[3]

Недостатком налога является отсутствие места для размещения груза над надрамником, нерациональность конструкции для небольших грузов.

[4]

Наиболее близким по технической сущности к заявляемому устройству является «Грузоподъемное устройство», патент RU №71603, МПК В60Р 1/54, В66С 23/36, от 26.04.2007 г. принятое за прототип.

[5]

Устройство-прототип изображено на фиг. 1, а на фиг. 2 - опора с балкой, фиг. 3 - исходное положение балки, где обозначено:

[6]

5 - грузоподъемное средство;

[7]

7 - выносное оборудование;

[8]

8.1, 18 - ролики;

[9]

9.1 - передвижной направляющий полоз (балка);

[10]

13 - кузов;

[11]

14 - ниша;

[12]

15 - дверь;

[13]

16 - опора;

[14]

17 - стопор.

[15]

Устройство-прототип содержит кузов 13, нишу 14, дверь 15, опору 16, ролики 8.1 и 18, балку 9.1, грузоподъемное средство 5, стопор 17, выносное оборудование 7. В нише 14 закреплена опора 16, на которой закреплены ролики 8.1 и 18 и стопор 17, ограничивающий вылет балки 9.1 за пределы кузова 13. В исходном положении балка 9.1 размещена внутри кузова 13 и закреплена на опоре 16. Выносное оборудование 7 закреплено в нише 14.

[16]

Работа устройства-прототипа происходит следующим образом.

[17]

Для разгрузки выносного оборудования 7 открепляют балку 9.1 и оборудование 7, соединяют грузоподъемное средство 5 с концом балки 9.1, средством 5 поднимают оборудование 7, перемещают его вместе с балкой 9.1 за пределы кузова 13 и опускают на рабочее место.

[18]

Недостатком грузоподъемного устройства является то, что установка устройства устанавливается в полезном объеме кузова-фургона. Конструкция крепится к элементам кузова-контейнера. Само выдвижное устройство расположено высоко, что требует подъема персонала на определенную высоту и снижает тем самым безопасность выполняемых работ.

[19]

Задачей предлагаемого изобретения является обеспечение удобства работы и безопасности по обслуживанию оборудования, легкость съема-подъема оборудования.

[20]

Для решения поставленной задачи в подъемном устройстве, содержащем грузоподъемное средство, выносное оборудование, первые ролики, между которыми размещен первый передвижной направляющий полоз, согласно изобретению, выносное оборудование прикреплено к раме со стержневыми выступами и размещено внутри контейнера, который выполнен с возможностью перемещения и снабжен ручкой управления положением контейнера, двумя элементами тяги, связанными с четырьмя соответствующими замками, расположенными внутри контейнера, введены вторые ролики аналогичные первым, между которыми размещен второй передвижной направляющий полоз аналогичный первому, при этом первые и вторые ролики прикреплены к внешним бокам контейнера, кроме того, введены четыре упора с соответствующими роликами, связывающими первый и второй упор с первым передвижным направляющим полозом, третий и четвертый - со вторым полозом, причем, ручка управления положением контейнера снабжена соответствующими стержнями, проходящими через отверстия в передвижных направляющих полозах и в первом и третьем упорах, при этом грузоподъемное средство прикреплено к контейнеру и связано с выносным оборудованием.

[21]

На фиг. 4 и 5 представлено заявляемое устройство, а на фиг. 6 и 7 - внутреннее содержимое контейнера, где обозначено:

[22]

1 - контейнер;

[23]

2 - ручка управления положением контейнера;

[24]

3.1 и 3.2 - элементы тяги;

[25]

4.1-4.4 - замки;

[26]

5 - грузоподъемное средство;

[27]

6 - рама;

[28]

7 - выносное оборудование;

[29]

8.1 и 8.2 - первые и вторые ролики;

[30]

9.1 и 9.2 - первый и второй передвижные направляющие полозы;

[31]

10.1-10.4 - упоры;

[32]

11.1-11.4 - ролики на упорах;

[33]

12.1 и 12.2 - стержни.

[34]

Предлагаемое устройство содержит контейнер 1, выполненный с возможностью перемещения и снабженный ручкой управления положением контейнера 2, двумя элементами тяги 3.1 и 3.2, связанными с четырьмя соответствующими замками 4.1-4.4 (4.3 и 4.4 не видны на фиг. 7), расположенными симметрично по два с каждой внутренней боковой стороны контейнера 1, а также снабженный грузоподъемным средством 5, связанным с выносным оборудованием 7, прикрепленным к раме 6 с четырьмя стержневыми выступами. К внешним боковым сторонам контейнера 1 прикреплены первые 8.1 и вторые 8.2 ролики, между которыми размещены соответственно первый 9.1 и второй 9.2 передвижные направляющие полозы. Также устройство содержит четыре упора 10.1-10.4 с соответствующими роликами 11.1-11.4, связывающими первый 10.1 и второй 10.2 упоры с первым передвижным направляющим полозом 9.1, третий 10.3 и четвертый 10.4 - со вторым полозом 9.2. Ручка управления положением контейнера 2 снабжена соответствующими стержнями 12.1 и 12.2, проходящими через отверстия в передвижных направляющих полозах и в первом 10.1 и третьем 10.3 упорах.

[35]

В качестве грузоподъемного средства 5 может быть использована лебедка.

[36]

Подъемное устройство выносного оборудования можно размещать на базе автомобиля, в частности на КАМАЗе, между кабиной и кузовом-фургоном, что позволяет не занимать полезного объема кузова.

[37]

Работа подъемного устройства происходит в трех режимах, переключение которых осуществляется ручкой управления положением контейнера 2.

[38]

При нахождении ручки управления 2 в положении «1» контейнер 1 закреплен на месте.

[39]

При установке ручки управления 2 в положение «2» происходит выдвижение стержней 12.1 и 12.2 из отверстий в первом 10.1 и третьем 10.3 упорах и тем самым освобождение контейнера 1 от жесткой связи с этими упорами. При помощи элементов тяги 3.1 и 3.2 контейнер выдвигается в зону удобную для обслуживания выносного оборудования 7.

[40]

При установке ручки в положение «3» происходит выдвижение стержней 12.1 и 12.2 из отверстий в первом 10.1 и третьем 10.3 упорах, а также из отверстий соответствующих полозов 9.1 и 9.2, тем самым освобождая контейнер 1 от жесткой связи с этими упорами и полозами 9.1 и 9.2. После расстопорения и натягивания элементов тяги 3.1 и 3.2 происходит открывание четырех замков 4.1-4.4 и расфиксирование рамы 6 с выносным оборудованием 7, путем высвобождения стержневых выступов на раме 6. Далее при помощи грузоподъемного средства 5 происходит опускание выносного оборудования 7 с рамой 6 из контейнера 1.

[41]

Подъем производится в обратной последовательности, с помощью грузоподъемного средства 5 поднимают выносное оборудование 7 с рамой 6 до срабатывания замков 4.1-4.4.

[42]

Конструкция устройства выполнена с помощью типового технологического процесса. В качестве грузоподъемного средства может быть использована лебедка, например, канатная с ручным приводом «Дина» производства ЗАО «СВПК».

[43]

Используемый в устройстве замок может быть выполнен из корпуса с прикрепленным к нему рычагом. В корпусе расположен флажок, связанный с соответствующей пружиной, стержень, связанный с рычагом и соответствующей пружиной. В корпусе имеется паз для стержневого выступа на раме. В качестве фиксирующего элемента для стержневого выступа рамы в пазе используется стержень. При воздействии элементом тяги на рычаг происходит отодвигание стержня, фиксация его флажком и освобождение стержневого выступа из паза. Процесс фиксации стержневого выступа происходит путем нажатия и подъема стрежневым выступом флажка и в результате перекрыванием паза стержнем.

[44]

Технический результат предлагаемого изобретения - удобство съема-подъема и обслуживания оборудования, увеличение грузоподъемности за счет наличия двух полозьев, возможность установки устройства на различные транспортные базы, защита выносного оборудования от внешних негативных воздействий за счет наличия контейнера и улучшение его фиксации на транспортной базе.

Как компенсировать расходы
на инновационную разработку
Похожие патенты