патент
№ RU 2662465
МПК G01L5/00

Устройство для измерения максимальных нагрузок на снаряд при выстреле из артиллерийского орудия

Авторы:
Кузнецов Николай Сергеевич
Номер заявки
2017135817
Дата подачи заявки
09.10.2017
Опубликовано
26.07.2018
Страна
RU
Как управлять
интеллектуальной собственностью
Чертежи 
2
Реферат

Изобретение относится к боеприпасам и может быть использовано для определения максимальных перегрузок, действующих на артиллерийский снаряд при выстреле. Сущность изобретения заключается в том, что крешерный прибор установлен непосредственно в снаряд неподвижно, так, что его дно находится со стороны дна снаряда, ось столбика крешерного совпадает с осью вращения снаряда, поршень выполнен в виде подвижной инерционной массы из токопроводящего металла цилиндрической формы, упором является дно крешерного прибора, инерционная масса передним торцом цилиндра с помощью пружины прижата к столбику крешерному, который прижат ко дну крешерного прибора, а второй торец инерционной массы расположен на расстоянии от торца вихретокового датчика, состоящего из корпуса и двух неподвижных соосных с осью инерционных масс, одинаковых плоских катушек индуктивности, отстоящих друг от друга на расстоянии, на расстоянии в от внешнего торца второй катушки установлен экран из одинакового с инерционной массой токопроводящего металла. Технический результат – измерение максимальной перегрузки в снаряде при выстреле из артиллерийского орудия в широком диапазоне температур и длительных сроках эксплуатации. 2 ил.

Формула изобретения

Устройство для измерения максимальных нагрузок на снаряд при выстреле из артиллерийского орудия, состоящее из вкладного крешерного прибора со столбиком крешерным, поршнем и упором, отличающееся тем, что крешерный прибор установлен непосредственно в снаряд неподвижно, так, что его дно находится со стороны дна снаряда, ось столбика крешерного совпадает с осью вращения снаряда, поршень выполнен в виде подвижной инерционной массы из токопроводящего металла цилиндрической формы, упором является дно крешерного прибора, причем инерционная масса передним торцом цилиндра с помощью пружины прижата к столбику крешерному, который, в свою очередь, прижат ко дну крешерного прибора, а второй торец инерционной массы расположен на расстоянии l от торца вихретокового датчика, состоящего из корпуса и двух, неподвижных, соосных с осью инерционной массы, одинаковых плоских катушек индуктивности, отстоящих друг от друга на расстоянии p, и имеющих генераторную и приемную обмотки, а на расстоянии в от внешнего торца второй катушки установлен экран из одинакового с инерционной массой токопроводящего металла.

Описание

[1]

Изобретение относится к боеприпасам и может быть использовано для определения максимальных перегрузок, действующих на артиллерийский снаряд при выстреле.

[2]

Известно устройство для регистрации нагрузок с использованием подвижной массы и столбика крешерного (патент RU 2562162).

[3]

Однако данное устройство не позволяет проводить измерение перегрузок в снаряде при выстреле.

[4]

Известен датчик предельного ускорения (заявка Франции N 2172814, кл. G01Р 15/00), принцип действия которого основан на изменении электрического сопротивления деформируемой детали из резины с углеродистым заполнителем.

[5]

Резиновый чувствительный элемент этого датчика не обеспечивает достаточную стабильность характеристик во времени и по температуре. Задачей изобретения является обеспечение возможности измерять максимальную перегрузку в снаряде при выстреле из артиллерийского орудия в широком диапазоне температур (±60°С) и длительных сроках эксплуатации (15 лет).

[6]

Поставленная задача решается следующим образом.

[7]

Устройство для измерения максимальных нагрузок на снаряд при выстреле из артиллерийского орудия, состоящее из вкладного крешерного прибора со столбиком крешерным, поршнем и упором, в котором крешерный прибор установлен непосредственно в снаряд неподвижно, так, что его дно находится со стороны дна снаряда, ось столбика крешерного совпадает с осью вращения снаряда, поршень выполнен в виде подвижной инерционной массы из токопроводящего металла цилиндрической формы, упором является дно крешерного прибора, причем инерционная масса передним торцом цилиндра с помощью пружины прижата к столбику крешерному, который, в свою очередь, прижат ко дну крешерного прибора, а второй торец инерционной массы расположен на расстоянии от торца вихретокового датчика, состоящего из корпуса и двух, неподвижных, соосных с осью инерционной массы, одинаковых плоских катушек индуктивности, отстоящих друг от друга на расстоянии p, и имеющих генераторную и приемную обмотки, а на расстоянии в от внешнего торца второй катушки установлен экран из одинакового с инерционной массой токопроводящего металла.

[8]

Такое построение заявленного устройства обеспечивает решение поставленной задачи.

[9]

Таким образом, заявленное устройство обладает новизной и изобретательским уровнем.

[10]

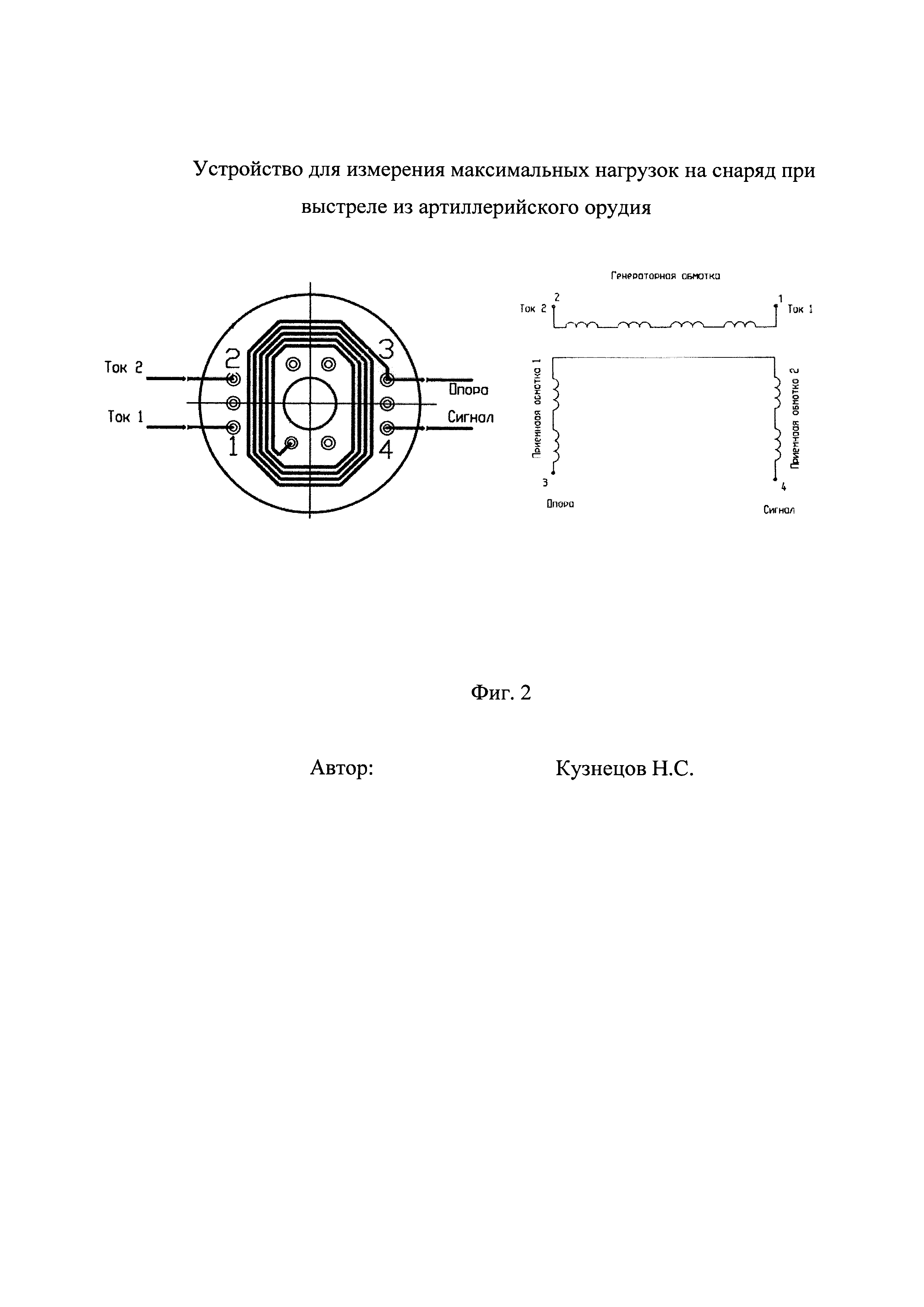
На фиг. 1 изображено устройство для измерения максимальных нагрузок на снаряд при выстреле из артиллерийского орудия. На фиг. 2 приведены схемы соединения обмоток (генераторной и приемной) катушек индуктивности вихретокового датчика.

[11]

Устройство для измерения максимальных нагрузок на снаряд при выстреле из артиллерийского орудия размещено в полом цилиндрическом корпусе 1, изготовленном из немагнитного прочного металла, например титана. Корпус 1 своим дном устанавливается в снаряд (по оси вращения снаряда) неподвижно, так, чтобы его дно было обращено в сторону дна снаряда. Столбик крешерный 2 размещен между дном корпуса 1 (по оси вращения корпуса) и поршнем 3. Поршень 3 выполнен в виде подвижной инерционной массы из токопроводящего металла, например латуни ЛС59. Поршень 3 прижат к столбику крешерному 2, корпусом вихретокового датчика 12 и пружиной 5, которая сжата при ввинчивании корпуса вихретокового датчика 12 до упора в поршень 3 подвижной инерционной массы. Дно корпуса вихретокового датчика 12 выполнено с отверстием в центре и внутренним буртиком высотой для установки первой плоской катушки индуктивности 4. В корпус вихретокового датчика 12 со стороны поршня 3 установлена первая плоская катушка индуктивности 4. Эта катушка индуктивности 4 опирается нерабочей частью (кольцевая зона по периферии катушки) на буртик корпуса 12. К буртику корпуса 12 катушка 4 прижата буферным кольцом 6, изготовленным из изоляционного материала, например, стеклотекстолита, и имеющим высоту p. На буферное кольцо 6 установлена вторая плоская катушка индуктивности 7. На вторую катушку индуктивности 7 установлено калибровочное кольцо 8. На калибровочное кольцо 8 установлен экран 9. Экран 9 выполнен из того же металла, что и поршень 3. Калибровочное кольцо 8 обеспечивает расстояние в между второй плоской катушкой индуктивности 7 и экраном 9. Детали: плоские катушки индуктивности 4 и 7, буферное кольцо 6, калибровочное кольцо 8, экрана 9 выполнены соосно и с помощью гайки 10 прижаты к буртику корпуса 12 и залиты компаундом. Соединительные провода к генераторным и приемным обмоткам катушек индуктивности 4 и 7 крепятся пайкой и выводятся через центральные осевые отверстия в деталях ко второму торцу корпуса индуктивного датчика 12 и заканчиваются контактами 11. Нумерация контактов, схема соединения катушек и общий вид одного из торцов катушек приведен на фиг. 2.

[12]

Устройство для измерения максимальных нагрузок на снаряд при выстреле из артиллерийского орудия работает следующим образом. При выстреле поршень в виде инерционной массы 3 и пружина 5 давят на столбик крешерный 2 и деформируют его на величину, пропорциональную действующей перегрузке. Между инерционной массой 3 и первой плоской катушкой индуктивности 4 образуется зазор, соответствующий степени деформации столбика крешерного 2 плюс высота буртика . После вылета снаряда из ствола орудия с помощью генератора электрических сигналов на генераторную обмотку (см. фиг. 2) первой катушки индуктивности 4 подается синусоидальное напряжение, например, частотой примерно 200 кГц и амплитудой 10В. С помощью приемной обмотки первой катушки индуктивности 4 регистрируется амплитуда вихревых токов, возникающих в инерционной массе 3. Эта величина обратно пропорциональна зазору между катушкой и этой массой. Тем самым проводится измерение перегрузки, действующей в снаряде. Данные измерений фиксируются. После этого проводятся аналогичные измерения при одной и той же настройке генератора и приемного тракта во второй катушке индуктивности 7. В этом случае получается величина напряжения, соответствующая зазору между катушкой 7 и экраном 9. Величина этого зазора известна (равна в) и определяется высотой калибровочного кольца 8. Измерение с помощью катушки индуктивности 7 с одинаковыми параметрами работы генератора и приемника позволяет учесть влияние возможного изменения параметров генератора и приемника в процессе длительного хранения (примерно 15 лет). После корректировки данных измерений с катушки индуктивности 4 (с учетом измерений в катушке индуктивности 7) информация о перегрузке, действующей на конкретный снаряд, передается в устройство обработки информации, расположенное, например, во взрывателе.

[13]

Таким образом, заявленное устройство позволяет проводить измерение перегрузок, действующих на снаряд при выстреле из артиллерийского орудия.

Как компенсировать расходы
на инновационную разработку
Похожие патенты