патент
№ RU 2679220
МПК H03K3/356

ДИНАМИЧЕСКИЙ D-ТРИГГЕР

Авторы:
Доможаков Денис Александрович Дубинский Алексей Васильевич Кобыляцкий Андрей Вадимович
Все (5)
Номер заявки
2018111868
Дата подачи заявки
03.04.2018
Опубликовано
06.02.2019
Страна
RU
Как управлять
интеллектуальной собственностью
Чертежи 
5
Реферат

[68]

Изобретение относится к области цифровой микроэлектроники. Технический результат заключается в создании динамического D-триггера с малой занимаемой площадью и с увеличенным быстродействием, за счет работы выходного каскада, состоящего из четвертого p-канального транзистора и пятого и шестого n-канальных транзисторов, без "сквозного" тока. 2 н.п. ф-лы, 5 ил.

Формула изобретения

1. Динамический D-триггер, содержащий четыре p-канальных транзистора, шесть n-канальных транзисторов и инвертор, причем затворы первого и второго p-канальных транзисторов, а также третьего n-канального транзистора подключены к входу синхронизации D-триггера, затвор первого n-канального транзистора является информационным входом D-триггера, выход инвертора является прямым информационным выходом D-триггера, истоки всех p-канальных транзисторов подключены к шине питания D-триггера, истоки первого, третьего, четвертого и шестого n-канальных транзисторов подключены к шине "земля" D-триггера, сток первого p-канального транзистора, а также затворы второго и четвертого n-канальных транзисторов подключены к стоку первого n-канального транзистора, сток второго и затвор четвертого p-канальных транзисторов подключены к стоку второго n-канального транзистора, исток второго n-канального транзистора соединен со стоком третьего n-канального транзистора, сток третьего p-канального транзистора соединен со стоком четвертого n-канального транзистора, стоки четвертого p-канального и пятого n-канального транзисторов подключены к входу инвертора, исток пятого n-канального транзистора соединен со стоком шестого n-канального транзистора, отличающийся тем, что затворы третьего p-канального транзистора и пятого n-канального транзистора подключены к входу синхронизации D-триггера, затвор шестого n-канального транзистора соединен со стоком четвертого n-канального транзистора.

2. Динамический D-триггер, содержащий четыре p-канальных транзистора, шесть n-канальных транзисторов и инвертор, причем затворы первого и второго p-канальных транзисторов подключены к входу синхронизации D-триггера, затвор первого n-канального транзистора является информационным входом D-триггера, выход инвертора является инверсным информационным выходом D-триггера, истоки всех p-канальных транзисторов подключены к шине питания D-триггера, истоки первого, четвертого и шестого n-канальных транзисторов подключены к шине "земля" D-триггера, сток первого p-канального транзистора, а также затвор второго n-канального транзистора подключены к стоку первого n-канального транзистора, сток второго p-канального транзистора соединен со стоком второго n-канального транзистора, стоки четвертого p-канального транзистора и пятого n-канального транзистора подключены к входу инвертора, исток пятого n- канального транзистора соединен со стоком шестого n-канального транзистора, отличающийся тем, что затворы третьего p-канального, четвертого n-канального и пятого n-канального транзисторов подключены к входу синхронизации D-триггера, исток второго n-канального транзистора подключен к шине "земля" D-триггера, сток второго n-канального транзистора соединен с затвором третьего n-канального транзистора, сток третьего и затвор четвертого p-канальных транзисторов подключены к стоку третьего n-канального транзистора, исток которого соединен со стоком четвертого n-канального транзистора, затвор шестого n-канального транзистора подключен к стоку первого n-канального транзистора.

Описание

[1]

Изобретение относится к области цифровой микроэлектроники, а именно к динамическим D-триггерам, и предназначено для использования в качестве конструктивного элемента быстродействующих цифровых интегральных схем. Например, в качестве цифрового библиотечного элемента в системах автоматизированного проектирования аналого-цифровых устройств.

[2]

Триггер синхронизируется тактовым сигналом CLK и выполняет автоматную функцию задержки на 1 такт: Qt+1=Dl, где D - информационный вход, Q - выход триггера.

[3]

Входной D и выходной Q сигналы изменяются по положительному перепаду CLK.

[4]

Высокие скоростные характеристики динамических триггеров обусловлены динамическим хранением информации на "паразитных" емкостях - в сочетании с каскадами "сквозного" тока (с "отношением крутизн").

[5]

Наличие нижней граничной частоты исключает применение динамического триггера в качестве элемента длительного хранения информации.

[6]

Важными характеристиками для оценки конструкции динамического триггера являются его быстродействие и площадь на кристалле. Данные характеристики взаимно обратимы: при постоянной нагрузке увеличение площади способствует повышению быстродействия.

[7]

Объективная информация для оценки содержится в принципиальной (электрической) схеме триггера. Стандартный интегральный КМОП транзистор с n-каналом характеризуется током, превышающим приблизительно в 3 раза ток p-канального КМОП транзистора равных размеров. Соответственно, для выравнивания времени разряда "паразитной" емкости через n-канал и времени заряда через p-канал в ключевой схеме требуется отношение размеров Wp/Wn≈3.

[8]

Совокупная характеристика "быстродействие/площадь" существенно ухудшается в зарядной цепи с последовательно соединенными p-канальными транзисторами. Для поддержания нагрузочной способности (быстродействия) двухтранзисторной последовательной цепи требуется вдвое увеличить размер каждого транзистора, и т.п. Площадь такой p-канальной конструкции равна площади двенадцати одиночных n-канальных транзисторов. Пропорциональное увеличение нагрузочной емкости попутно снижает динамику n-канальной цепи разряда.

[9]

Для ключевых каскадов с "отношением крутизн" характерны статические состояния со "сквозным" током: одновременно открыты зарядная (p) и разрядная (n) цепи. Логическое значение выхода зависит от доминации: 0 - доминирует n-канал, 1 - доминирует p-канал (отклонение логических уровней не превышает порогового напряжения транзистора). Для доминации n-канала достаточно равных размеров пир транзисторов: эквивалентный ток разряда равен 2/3 тока In (n-канал). Аналогичная доминация p-канала требует Wp/Wn«9, что отрицательно сказывается на характеристиках "быстродействие/площадь".

[10]

В общем случае "сквозной" ток (в том числе динамический) снижает быстродействие каскада. Каскад с раздельным управлением транзисторами n, p позволяет исключить сквозной ток, что обеспечивает максимальное быстродействие ключа и преимущество даже перед обычным инвертором.

[11]

Зарядно-разрядное время в отдельных каскадах триггера ограничивается длительностью полутакта (логические CLK=0 или CLK=1). В существующих конструкциях имеются каскады, требующие переключения на интервале задержки входного перепада D относительно CLK, что может быть значительно меньше полутакта и критически отражается на быстродействии.

[12]

Указанные особенности приняты во внимание при разработке заявленного D-триггера и сравнительной оценке существующих технических решений.

[13]

Дополнительное качество конструкции заявленного D-триггера (присущее некоторым аналогам и не связанное с целью изобретения) - простота модификаций, обеспечивающих введение логических функций И, ИЛИ, ИСКЛ-ИЛИ на входе триггера без существенной потери быстродействия. Открывается возможность разработки семейства библиотечных динамических триггеров с встроенными логическими функциями.

[14]

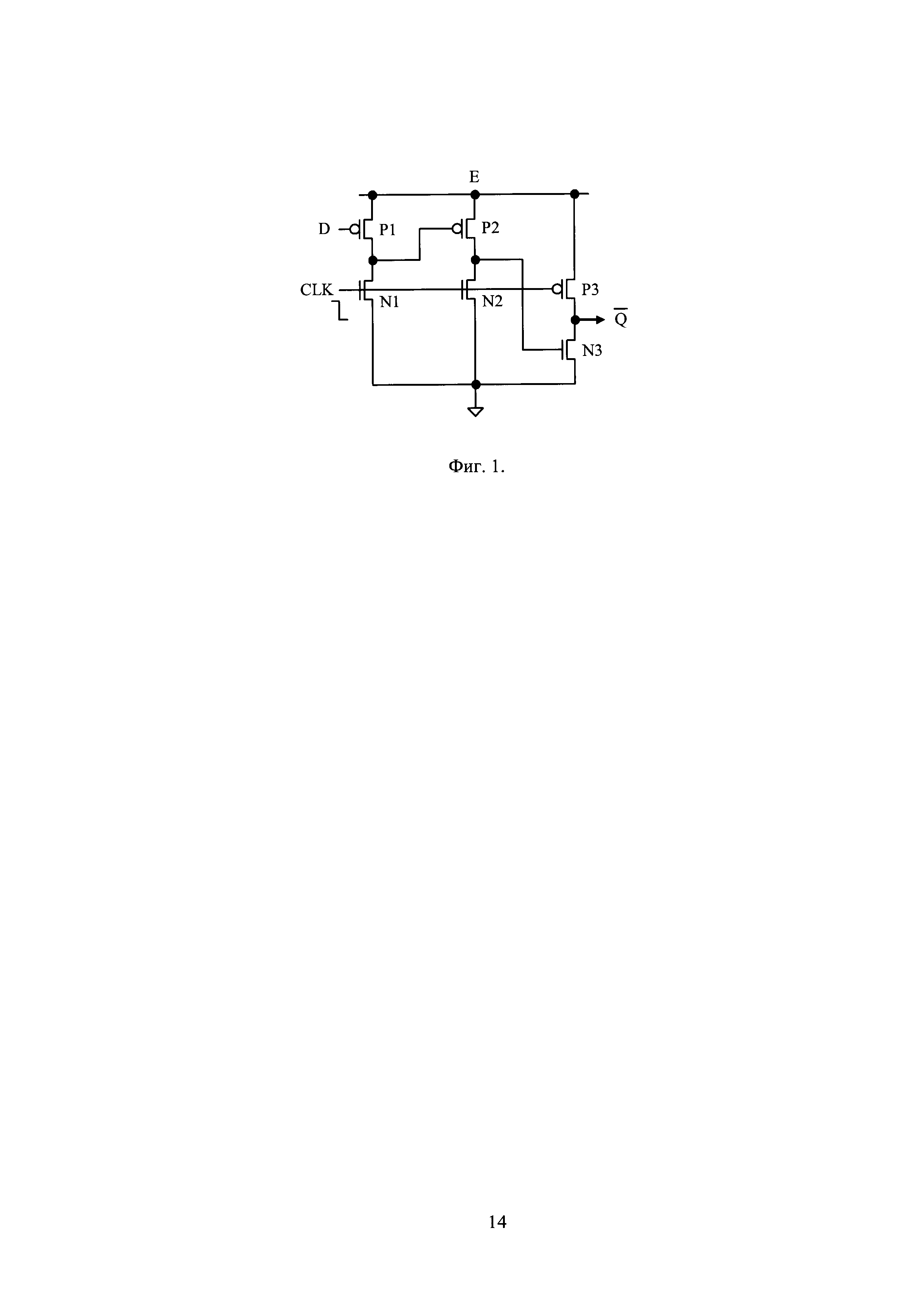
В качестве аналога заявленного изобретения рассмотрим простую конструкцию динамического D-триггера с инверсным выходом , представленную на Фиг. 1 [1]. Обычной практикой является подключение дополнительного выходного инвертора, что поддерживает прямую функцию D-триггера.

[15]

Перепады данных D, Q синхронизируются отрицательными перепадами CLK.

[16]

Представлены логические модификации D-триггера: замена Р1 группой p-канальных транзисторов. Возможности модификации ограничены из-за существенного снижения быстродействия и увеличения занимаемой площади (не решает этой проблемы зеркальная взаимная замена n, p и шин "земля, питание").

[17]

Каждый из 3-х каскадов имеет состояния статического "сквозного" тока (в полутактах) с доминацией n-канального транзистора.

[18]

В полутакте CLK=1 выходные напряжения 1-го (U1) и 2-го (U2) каскадов устанавливаются на низком уровне (независимо от значения D): не выше порогового напряжения транзистора. 3-й каскад - в состоянии динамического хранения информации: транзисторы N3, Р3 заперты.

[19]

В полутакте CLK=0 в каскадах устанавливаются напряжения, соответствующие вновь защелкнутым данным. Длина параллельных цепей, распространяющих активный (отрицательный) перепад CLK, не превышает 2-х каскадов. Особенности процесса установления напряжений позволяют определить требования к динамическим параметрам отдельных каскадов и D-триггера в целом, а также оценить конструкцию по характеристикам "быстродействие/площадь".

[20]

Время формирования положительного перепада U1 не превышает задержку D относительно CLK (положительный перепад D прерывает процесс повышения U1). Это указывает на высокие требования быстродействия транзистора Р1 (задержка D может быть существенно меньше длительности полутакта).

[21]

При D=0 (полутакт CLK=0) транзистор Р2 запирается раньше, чем отпирается N3: гонки напряжений U1, U2 (повышение U2 является фиксируемой помехой). Это означает: скорость повышения U1 существенно выше скорости повышения U2 (условно Р1>>Р2 и абсолютно при равенстве узловых "паразитных" емкостей).

[22]

При D=l (полутакт CLK=0) процесс завершается установкой U3 () на значение логического нуля в состоянии статического "сквозного" тока. Однако, на начальном этапе (в процессе формирования положительного перепада U2 после активного перепада CLK) на выходе формируется динамическая помеха положительной полярности: Р3 открыт полностью, N3 заперт или открыт не полностью. В гонке нарастающих напряжений U2, U3 малая амплитуда помехи обеспечивается высокой скоростью повышения U2: условно Р2>>Р3.

[23]

Задержка перепадов относительно CLK - 1 или 2 каскада (положительный или отрицательный перепад ). Дополнительный выходной инвертор Q увеличивает задержку на 1 каскад.

[24]

Система условных неравенств Р1>>Р2>>Р3 показывает невысокое качество D-триггера первого аналога по совокупному критерию "быстродействие/площадь". Кроме того, каждый из каскадов прохождения перепадов CLK на выход работает со "сквозным" током, что препятствует достижению максимального быстродействия.

[25]

Вторым аналогом заявленного изобретения является динамический D-триггер, представленный на Фиг. 2 [2].

[26]

Перепады данных D, Q синхронизируются положительными перепадами CLK.

[27]

Логические модификации D-триггера: замена N1 группой n-канальных транзисторов. Возможности модификации благоприятны: n-канальные транзисторы обладают высоким быстродействием при минимальной занимаемой площади.

[28]

1-й и 2-й каскады имеют состояния (в полутактах) со статическим "сквозным" током.

[29]

В 1-ом каскаде доминирует n-канальный транзистор N1: в полутакте CLK=0 при логическом D=l транзисторы N1, Р1 открыты (статический "сквозной" ток) - выходное напряжение U1 каскада устанавливается на уровне не выше порогового напряжения n-канала (N2 заперт).

[30]

Во 2-м каскаде доминирует p-канальный транзистор Р2: в полутакте CLK=0 при логическом D=0 (U1=E) транзисторы N2, Р2 открыты (статический "сквозной" ток) - выходное напряжение U2 каскада устанавливается на уровне не ниже E-Uпор, где Uпор - порогового напряжение p-канала (Р3 заперт).

[31]

3-й каскад в полутакте CLK=0 имеет состояние динамического хранения данных: N4, Р3 заперты (не зависимо от D).

[32]

В полутакте CLK=1 в каскадах устанавливаются напряжения, соответствующие вновь защелкнутым данным. Длина параллельных цепей, распространяющих активный (положительный) перепад CLK, не превышает 2-х каскадов (+выходной инвертор).

[33]

Основным недостатком динамического D-триггера второго аналога является низкое быстродействие или большая занимаемая площадь интегральной схемы ввиду наличия каскада с доминирующим p-канальным транзистором. Кроме того, выходной каскад (N3, Р3) формирует перепады напряжения при наличии динамического "сквозного" тока, что препятствует достижению максимального быстродействия.

[34]

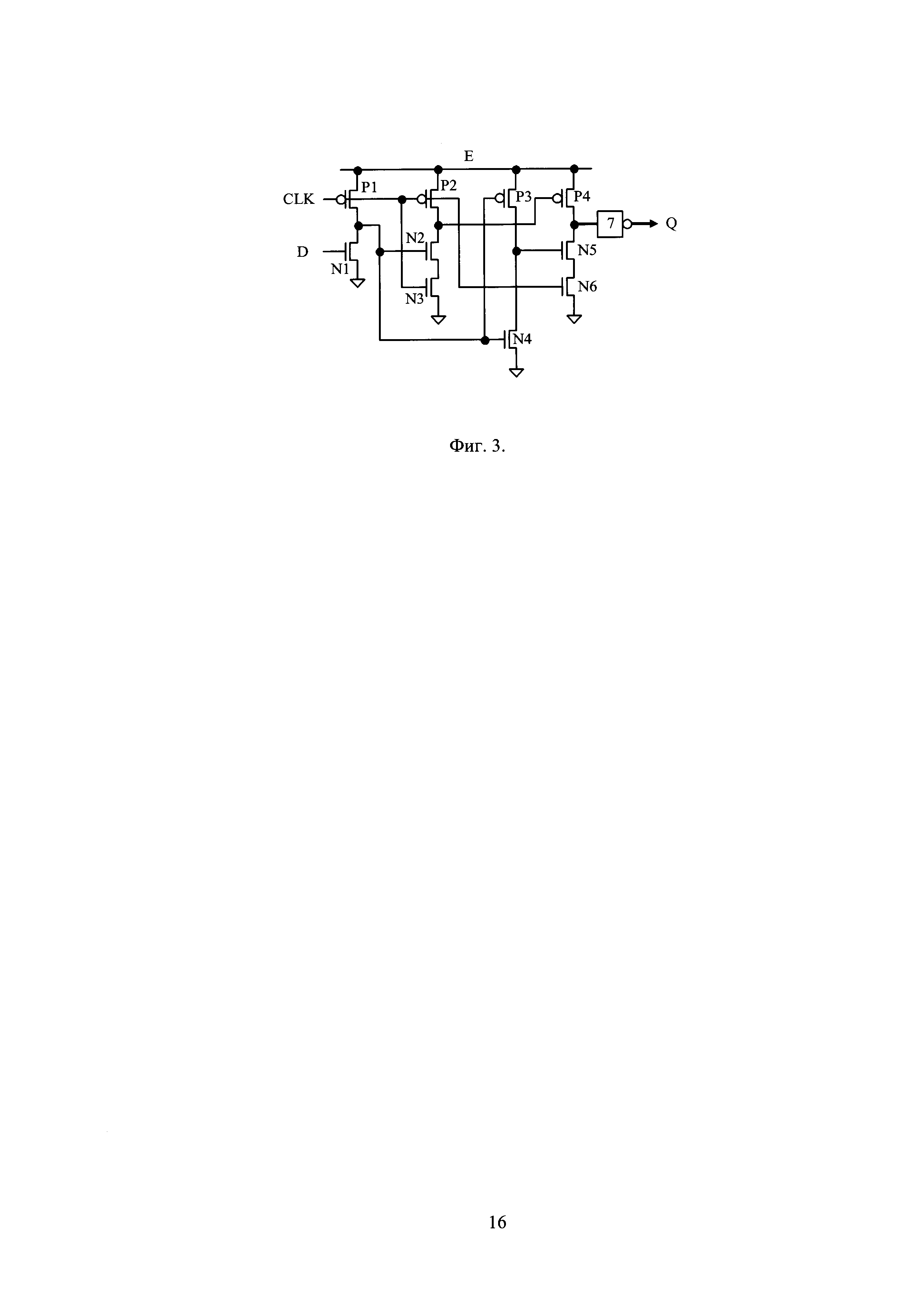
Наиболее близким к заявленному изобретению является высокочастотный динамический D-триггер [3], схема которого показана на Фиг. 3.

[35]

В состоянии CLK=0 значение D и Q не изменяется. Первый каскад Р1, N1 работает как инвертор с отношением крутизн: доминирует n-канальный транзистор N1. Входной узел выходного инвертора 7 - в подвешенном состоянии (заперты транзисторы Р4, N6): динамическое хранение старой информации.

[36]

По положительному перепаду CLK (CLK=1) исходное значение D защелкивается во внутренних узлах и поступает на выход Q триггера в качестве нового значения. Для этого необходимо, чтобы отрицательный перепад на выходе 2-го каскада (сток N2) формировался раньше, чем отрицательный перепад на выходе 1-го каскада (сток N1). Этому способствует задержка перепадов D относительно CLK, аналогичная задержке перепадов Q.

[37]

Длина параллельных цепей, распространяющих активный (положительный) перепад CLK, не превышает 2-х каскадов (+выходной инвертор).

[38]

В состоянии CLK=1 динамическое хранение информации (в зависимости от D) осуществляется в первом и втором каскадах. Выход 4-го каскада (вход инвертора 7) активно подключается к шине питания или "земля".

[39]

Данный D-триггер выбран в качестве прототипа заявленного изобретения.

[40]

Недостаток D-триггера прототипа связан с тем, что положительный перепад на входе D отрицательно воздействует (с задержкой) на состояние 4-го каскада (Р4, N5, N6), уже установленного на значение Q=0: отпирает транзистор N5. В результате оказываются открытыми все транзисторы (Р4, N5, N6) выходного каскада в условиях формирования высокого уровня напряжения - доминация транзистора Р4.

[41]

Доминация p-канального транзистора в цифровых каскадах со сквозным током (с учетом современной интегральной технологии) требует увеличения занимаемой им площади или ведет к понижению его быстродействия.

[42]

Техническим результатом заявленного изобретения является создание динамического D-триггера с малой занимаемой площадью и с увеличенным быстродействием, за счет работы выходного каскада, состоящего из четвертого p-канального транзистора и пятого и шестого n-канальных транзисторов, без "сквозного" тока.

[43]

Во время работы варианта выполнения заявленного D-триггера с прямым выходом Q (Фиг. 4) в первом (транзисторы Р1, N1 - как и в прототипе) и третьем (Р3, N4) каскадах доминируют n-канальные транзисторы N1, N4: в идеале, при полностью открытых транзисторах, выходное напряжение каскада не должно превышать порогового напряжения n-канала. В состоянии CLK=1, помимо 1-го и 2-го каскадов (транзисторы Р1, N1 и Р2, N2, N3 - как в прототипе), динамическое хранение обеспечивает 3-й каскад (транзисторы Р3, N4). Выходной каскад (транзисторы Р4, N5, N6) работает без "сквозного" тока, что способствует повышению быстродействия динамического D-триггера и уменьшению занимаемой площади.

[44]

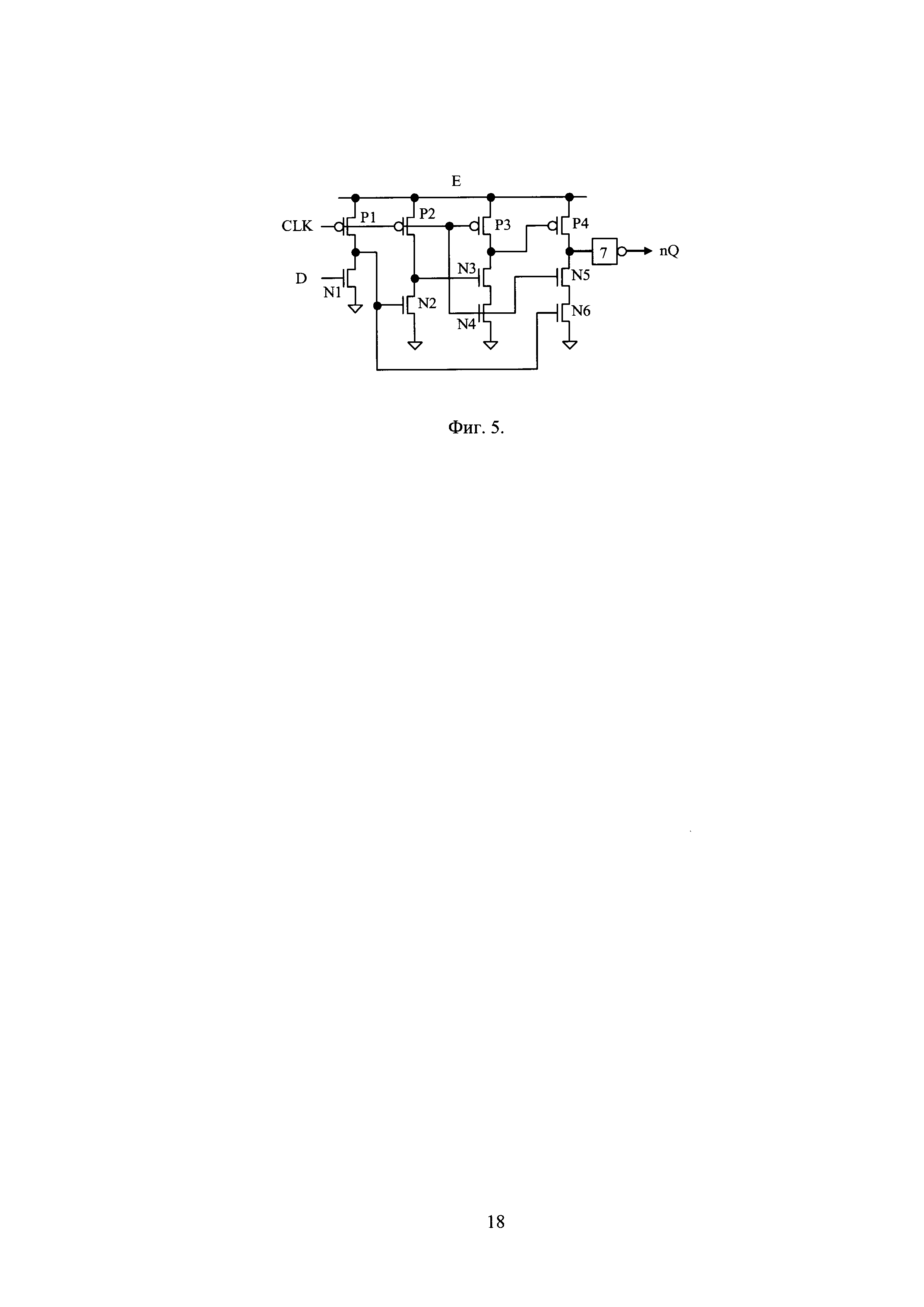
В варианте выполнения заявленного D-триггера с инверсным выходом nQ: (Фиг. 5), наличие инверсного выхода не понижает быстродействие триггера, так как не требует дополнительного инвертирующего каскада.

[45]

В двух первых каскадах (транзисторы Р1, N1 и Р2, N2) доминируют n-канальные транзисторы N1 и N2.

[46]

Динамическое хранение выполняется в каждом каскаде. Выходной каскад (транзисторы Р4, N5, N6) работает без сквозного тока.

[47]

Поставленный технический результат достигнут путем создания динамического D-триггера, содержащего четыре p-канальных транзистора, шесть n-канальных транзисторов и инвертор, причем затворы первого и второго p-канальных транзисторов, а также третьего n-канального транзистора подключены к входу синхронизации D-триггера, затвор первого n-канального транзистора является информационным входом D-триггера, выход инвертора является прямым информационным выходом D-триггера, истоки всех p-канальных транзисторов подключены к шине питания D-триггера, истоки первого, третьего, четвертого и шестого n-канальных транзисторов подключены к шине "земля" D-триггера, сток первого p-канального транзистора, а также затворы второго и четвертого n-канальных транзисторов подключены к стоку первого n-канального транзистора, сток второго и затвор четвертого p-канальных транзисторов подключены к стоку второго n-канального транзистора, исток второго n-канального транзистора соединен со стоком третьего n-канального транзистора, сток третьего p-канального транзистора соединен со стоком четвертого n-канального транзистора, стоки четвертого p-канального и пятого n-канального транзисторов подключены к входу инвертора, исток пятого n-канального транзистора соединен со стоком шестого n-канального транзистора, о т л и чающегося тем, что затворы третьего p-канального транзистора и пятого n-канального транзистора подключены к входу синхронизации D-триггера, затвор шестого n-канального транзистора соединен со стоком четвертого n-канального транзистора.

[48]

Поставленный технический результат достигнут также путем создания динамического D-триггера, содержащего четыре p-канальных транзистора, шесть n-канальных транзисторов и инвертор, причем затворы первого и второго p-канальных транзисторов подключены к входу синхронизации D-триггера, затвор первого n-канального транзистора является информационным входом D-триггера, выход инвертора является инверсным информационным выходом D-триггера, истоки всех p-канальных транзисторов подключены к шине питания D-триггера, истоки первого, четвертого и шестого n-канальных транзисторов подключены к шине "земля" D-триггера, сток первого p-канального транзистора, а также затвор второго n-канального транзистора подключены к стоку первого n-канального транзистора, сток второго p-канального транзистора соединен со стоком второго n-канального транзистора, стоки четвертого p-канального транзистора и пятого n-канального транзистора подключены к входу инвертора, исток пятого n-канального транзистора соединен со стоком шестого n-канального транзистора, отличающегося тем, что затворы третьего p-канального, четвертого n-канального и пятого n-канального транзисторов подключены к входу синхронизации D-триггера, исток второго n-канального транзистора подключен к шине "земля" D-триггера, сток второго n-канального транзистора соединен с затвором третьего n-канального транзистора, сток третьего и затвор четвертого p-канальных транзисторов подключены к стоку третьего n-канального транзистора, исток которого соединен со стоком четвертого n-канального транзистора, затвор шестого n-канального транзистора подключен к стоку первого n-канального транзистора.

[49]

Для лучшего понимания заявленного изобретения далее приводится его подробное описание с соответствующими графическими материалами.

[50]

Фиг. 1. Динамический D-триггер, выполненный согласно первому аналогу [1].

[51]

Фиг. 2. Динамический D-триггер, выполненный согласно второму аналогу [2].

[52]

Фиг. 3. Динамический D-триггер, выполненный согласно прототипу [3].

[53]

Фиг. 4. Динамический D-триггер с прямым выходом Q, выполненный согласно изобретению.

[54]

Фиг.5. Динамический D-триггер с инверсным выходом nQ, выполненный согласно изобретению.

[55]

Элементы:

[56]

P1-Р4 - p-канальные транзисторы;

[57]

N1-N6 - n-канальные транзисторы;

[58]

7 - инвертор.

[59]

Рассмотрим вариант выполнения заявленного динамического D-триггера с прямым выходом Q (Фиг. 4). Динамический D-триггер содержит четыре p-канальных транзистора P1-Р4, шесть n-канальных транзисторов N1-N6 и инвертор 7. Затворы первого и второго p-канальных транзисторов P1, Р2, а также третьего n-канального транзистора N3 подключены к входу синхронизации D-триггера. Затвор первого n-канального транзистора N1 является информационным входом D-триггера. Выход инвертора 7 является прямым информационным выходом D-триггера. Истоки всех p-канальных транзисторов P1-Р4 подключены к шине питания D-триггера, истоки первого, третьего, четвертого и шестого n-канальных транзисторов N1, N3, N4, N6 подключены к шине "земля" D-триггера. Сток первого p-канального транзистора PI, а также затворы второго и четвертого n-канальных транзисторов N2, N4 подключены к стоку первого n-канального транзистора N1. Сток второго и затвор четвертого p-канальных транзисторов Р2, Р4 подключены к стоку второго n-канального транзистора N2. Исток второго n-канального транзистора N2 соединен со стоком третьего n-канального транзистора N3. Сток третьего p-канального транзистора Р3 соединен со стоком четвертого n-канального транзистора N4. Стоки четвертого p-канального транзистора Р4 и пятого n-канального транзистора N5 подключены к входу инвертора 7. Исток пятого n-канального транзистора N5 соединен со стоком шестого n-канального транзистора N6. Затворы третьего p-канального транзистора Р3 и пятого n-канального транзистора N5 подключены к входу синхронизации D-триггера. Затвор шестого n-канального транзистора N6 соединен со стоком четвертого n-канального транзистора N4.

[60]

Рассмотрим вариант выполнения заявленного динамического D-триггера с инверсным выходом nQ (Фиг. 5). Динамический D-триггер содержит четыре p-канальных транзистора PI - Р4, шесть n-канальных транзисторов N1-N6 и инвертор 7. Затворы первого и второго p-канальных транзисторов P1, Р2 подключены к входу синхронизации D-триггера. Затвор первого n-канального транзистора N1 является информационным входом D-триггера. Выход инвертора 7 является инверсным информационным выходом D-триггера. Истоки всех p-канальных транзисторов Р1 -Р4 подключены к шине питания D-триггера. Истоки первого, четвертого и шестого n-канальных транзисторов N1, N4, N6 подключены к шине "земля" D-триггера. Сток первого p-канального транзистора Р1, а также затвор второго n-канального транзистора N2 подключены к стоку первого n-канального транзистора N1. Сток второго p-канального транзистора Р2 соединен со стоком второго n-канального транзистора N2. Стоки четвертого p-канального транзистора Р4 и пятого n-канального транзистора N5 подключены к входу инвертора 7. Исток пятого n-канального транзистора N5 соединен со стоком шестого n-канального транзистора N6. Затворы третьего p-канального, четвертого n-канального и пятого n-канального транзисторов Р3, N4, N5 подключены к входу синхронизации D-триггера. Исток второго n-канального транзистора N2 подключен к шине "земля" D-триггера. Сток второго n-канального транзистора N2 соединен с затвором третьего n-канального транзистора N3. Сток третьего и затвор четвертого p-канальных транзисторов Р3, Р4 подключены к стоку третьего n-канального транзистора N3. Исток третьего n-канального транзистора N3 соединен со стоком четвертого n-канального транзистора N4. Затвор шестого n-канального транзистора N6 подключен к стоку первого n-канального транзистора N1.

[61]

В приведенных триггерных схемах не допустимо менять местами последовательно соединенные n-канальные транзисторы: возникают эффекты перераспределения заряда при замыкании "подвешенных" узлов, влекущие искажение передаваемого напряжения.

[62]

Замена входного n-канального транзистора D на входную логическую группу n-канальных транзисторов Dl, D2 … обеспечивает логическое расширение функции D-триггера (это относится и к прототипу). Например, последовательное соединение транзисторов - встроенная входная функция И, параллельное соединение - ИЛИ, и т.п.В варианте типа ab+cd обнаруживаются возможности реализации D-триггера с входным мультиплексором.

[63]

Хотя описанный выше вариант выполнения изобретения был изложен с целью иллюстрации настоящего изобретения, специалистам ясно, что возможны разные модификации, добавления и замены, не выходящие из объема и смысла настоящего изобретения, раскрытого в прилагаемой формуле изобретения.

[64]

Литература

[65]

1. Патент США US 6,737,900 В1, 2004 г.

[66]

2. Патент США US 6,060,927, 2000 г.

[67]

3. Yang C.-Y., Dehng G.-K, Hsu J.-M, Liu S.-I. New Dynamic Flip-Flops for High-Speed Dual-Modulus Prescaler // IEEE J. Solid-State Circuits. - 1998. - Vol. 33. - №10.-PP. 1568-1571.

Как компенсировать расходы
на инновационную разработку
Похожие патенты