патент
№ RU 2656255
МПК E21B43/114

Способ перфорации скважины и обработки призабойной зоны карбонатного пласта

Авторы:
Зиятдинов Радик Зяузятович Салихов Айрат Дуфарович Курбанов Ахмадали Джалилович
Все (5)
Номер заявки
2017127633
Дата подачи заявки
01.08.2017
Опубликовано
04.06.2018
Страна
RU
Как управлять
интеллектуальной собственностью
Чертежи 
5
Реферат

Изобретение относится к нефтегазодобывающей промышленности, к области эксплуатации скважин, а именно к способам вторичного вскрытия и обработки призабойной зоны карбонатных пластов. Способ включает спуск колонны НКТ с гидромеханическим прокалывающим перфоратором на нижнем конце в эксплуатационную колонну, вскрытие эксплуатационной колонны путем подачи в перфоратор под давлением рабочей жидкости с прокалыванием пробойниками перфорационных отверстий в эксплуатационной колонне, размытие каверн путем подачи рабочей жидкости в сформированные перфорационные отверстия эксплуатационной колонны через гидромониторные каналы пробойников перфоратора. На устье скважины на нижний конец колонны НКТ снизу вверх собирают компоновку: гидромеханический прокалывающий перфоратор, циркуляционный клапан и свабный ограничитель, спускают компоновку на колонне НКТ в эксплуатационную колонну так, чтобы пробойники перфоратора находились на 0,2 м выше подошвы продуктивного пласта. Производят ступенчатую прокалывающую гидромеханическую перфорацию - ПГМП с намывом каверн снизу вверх в продуктивном пласте с шагом 0,2 м. На каждой ступени в колонне НКТ и перфораторе ступенчато создают давление 5,0 - 8,0 - 10,0 - 12,0 МПа с выдержкой 10 сек при достижении каждого значения. Пробойники перфоратора прокалывают два симметричных отверстия в эксплуатационной колонне, расположенных под углом 180° в интервале продуктивного пласта. Не извлекая пробойники перфоратора из перфорационных отверстий в эксплуатационной колонне, доводят давление закачки до 15,0 МПа и через гидромониторные каналы пробойников перфоратора производят размыв каверн рабочей жидкостью в течение 15 мин. Сбрасывают давление в колонне НКТ и перфораторе до нуля, затем все вышеописанные технологические операции, начиная с создания давления и заканчивая сбросом давления, повторяют в зависимости от высоты продуктивного пласта. По окончании ступенчатой ПГМП с размывом каверн производят обработку пласта и извлекают продукты реакции, для этого доспускают колонну НКТ в эксплуатационную колонну так, чтобы циркуляционный клапан находился посередине продуктивного пласта, сбрасывают шар в колонну НКТ, повышают давление в колонне НКТ до открытия отверстий в циркуляционном клапане, затем при открытой затрубной задвижке закачивают в колонну НКТ 15%-ный водный раствор соляной кислоты в объеме из расчета 1,5 мна 1 м высоты продуктивного пласта, доводят 15%-ный водный раствор соляной кислоты до интервала вскрытия, закрывают затрубную задвижку и продавливают 15%-ный водный раствор соляной кислоты через каверны в призабойную зону пласта, спускают сваб в колонну НКТ и свабированием по колонне НКТ извлекают продукты реакции 15%-ного водного раствора соляной кислоты с породой пласта и осваивают скважину. Обеспечивается повышение эффективности обработки призабойной зоны карбонатного пласта; повышение качества очистки призабойной зоны карбонатного пласта, повышение надежности реализации способа, снижение материальных затрат на реализацию способа. 5 ил.

Формула изобретения

Способ перфорации скважины и обработки призабойной зоны карбонатного пласта, включающий спуск колонны насосно-компрессорных труб - НКТ с гидромеханическим прокалывающим перфоратором на нижнем конце в эксплуатационную колонну, вскрытие эксплуатационной колонны путем подачи в перфоратор под давлением рабочей жидкости с прокалыванием пробойниками перфорационных отверстий в эксплуатационной колонне, размытие каверн путем подачи рабочей жидкости в сформированные перфорационные отверстия эксплуатационной колонны через гидромониторные каналы пробойников перфоратора, отличающийся тем, что на устье скважины на нижний конец колонны НКТ снизу вверх собирают компоновку: гидромеханический прокалывающий перфоратор, циркуляционный клапан и свабный ограничитель, спускают компоновку на колонне НКТ в эксплуатационную колонну, так чтобы пробойники перфоратора находились на 0,2 м выше подошвы продуктивного пласта, затем производят ступенчатую прокалывающую гидромеханическую перфорацию - ПГМП с намывом каверн снизу вверх в продуктивном пласте с шагом 0,2 м, при этом на каждой ступени в колонне НКТ и перфораторе ступенчато создают давление 5,0-8,0-10,0-12,0 МПа с выдержкой 10 сек при достижении каждого значения, при этом пробойники перфоратора прокалывают два симметричных отверстия в эксплуатационной колонне, расположенных под углом 180° в интервале продуктивного пласта, затем, не извлекая пробойники перфоратора из перфорационных отверстий в эксплуатационной колонне, доводят давление закачки до 15,0 МПа и через гидромониторные каналы пробойников перфоратора производят размыв каверн рабочей жидкостью в течение 15 мин, после чего сбрасывают давление в колонне НКТ и перфораторе до нуля, после чего все вышеописанные технологические операции, начиная с создания давления и заканчивая сбросом давления, повторяют в зависимости от высоты продуктивного пласта, по окончании ступенчатой ПГМП с размывом каверн производят обработку пласта и извлекают продукты реакции, для этого доспускают колонну НКТ в эксплуатационную колонну так, чтобы циркуляционный клапан находился посередине продуктивного пласта, далее сбрасывают шар в колонну НКТ, повышают давление в колонне НКТ до открытия отверстий в циркуляционном клапане, затем при открытой затрубной задвижке закачивают в колонну НКТ 15%-ный водный раствор соляной кислоты в объеме из расчета 1,5 м3 на 1 м высоты продуктивного пласта, доводят 15%-ный водный раствор соляной кислоты до интервала вскрытия, закрывают затрубную задвижку и продавливают 15%-ный водный раствор соляной кислоты через каверны в призабойную зону пласта, затем спускают сваб в колонну НКТ и свабированием по колонне НКТ извлекают продукты реакции 15%-ного водного раствора соляной кислоты с породой пласта и осваивают скважину.

Описание

[1]

Изобретение относится к нефтегазодобывающей промышленности, к области эксплуатации скважин, а именно к способам вторичного вскрытия и обработки призабойной зоны карбонатных пластов.

[2]

Известны способы перфорации скважин с использованием гидромеханических перфораторов многоразового использования, которые устанавливаются в скважине на колонне насосно-компрессорных труб (НКТ). Они могут иметь различные типы и формы рабочих органов с гидромониторными каналами и насадками, которые обеспечивают гидродинамический размыв каверн в заколонном пространстве скважины высокоскоростными струями рабочей жидкости, описанные в патентах: ''Устройство для создания перфорационных каналов глубокого проникновения в нефтяных и газовых скважинах'' (RU №2403380, МПК Е21В 43/114, опубл. 10.11.2010 г., Бюл. №31) или ''Гидромеханический щелевой перфоратор (варианты)'' (патент RU №2247226, МПК Е21В 43/112, опубл. 27.02.2005 г., Бюл. №6).

[3]

Общими недостатками способов с использованием указанных устройств являются:

[4]

- ухудшение фильтрационных свойств пласта, так как при размыве каверн частицы цементного камня и горной породы (кольматант) устремляются вглубь пласта и забивают флюидопроводящие каналы;

[5]

- недостаточная эффективность обработки призабойной зоны пласта, так как после образования каверн не проводится кислотная обработка размытых каверн через гидромониторные каналы перфоратора.

[6]

Наиболее близким по технической сущности и достигаемому результату является способ гидромеханической перфорации скважин на депрессии (патент RU №2612702, МПК Е21В 43/114, опубл. 13.03.2017 г., Бюл. №8), при котором осуществляют спуск в эксплуатационную колонну закрепленных на колонне НКТ струйного насоса, пакера и гидромеханического прокалывающего перфоратора, устанавливают пакер в эксплуатационной колонне с последующим вскрытием эксплуатационной колонны путем подачи в перфоратор под давлением рабочей жидкости с формированием перфорационных отверстий пробойниками перфоратора, осуществляют размыв каверн путем подачи рабочей жидкости в сформированные перфорационные отверстия через гидромониторные каналы пробойников перфоратора, извлекают кольматант из ПЗП путем создания депрессии струйным насосом в подпакерном пространстве. Вскрытие эксплуатационной колонны осуществляют в два этапа, при этом на первом этапе осуществляют формирование технологических перфорационных отверстий без размыва каверн, затем на втором этапе осуществляют формирование перфорационных отверстий, через которые производят размыв каверн, одновременно с которым осуществляют создание депрессии струйным насосом в подпакерном пространстве и извлечение кольматанта через технологические перфорационные отверстия.

[7]

Недостатками данного способа являются:

[8]

- низкая эффективность обработки ПЗП, обусловленная тем, что после размыва каверн не производится обработка породы в ПЗП через эти каверны. Это не позволяет интенсифицировать приток продукции из флюидопроводящих каналов пласта через каверны в скважину;

[9]

- низкое качество очистки ПЗП, т.е. лишь частичное извлечение кольматанта через перфорационные отверстия эксплуатационной колонны скважины после прокола и размыва каверн с использованием струйного насоса без освоения скважины;

[10]

- низкая надежность реализации способа, связанная с возможной негерметичной посадкой пакера или потерей герметичности пакера в процессе реализации способа;

[11]

- высокие материальные затраты на реализацию способа: необходимо дополнительно использовать пакер и струйный насос.

[12]

Техническими задачами изобретения являются повышение эффективности обработки и качества очистки ПЗП, а также повышение надежности реализации способа и снижение материальных затрат на реализацию способа.

[13]

Поставленные технические задачи решаются способом перфорации скважины и обработки призабойной зоны карбонатного пласта, включающим спуск колонны насосно-компрессорных труб - НКТ с гидромеханическим прокалывающим перфоратором на нижнем конце в эксплуатационную колонну, вскрытие эксплуатационной колонны путем подачи в перфоратор под давлением рабочей жидкости с прокалыванием пробойниками перфорационных отверстий в эксплуатационной колонне, размытие каверн путем подачи рабочей жидкости в сформированные перфорационные отверстия эксплуатационной колонны через гидромониторные каналы пробойников перфоратора.

[14]

Новым является то, что на устье скважины на нижний конец колонны НКТ снизу вверх собирают компоновку: гидромеханический прокалывающий перфоратор, циркуляционный клапан и свабный ограничитель, спускают компоновку на колонне НКТ в эксплуатационную колонну, так чтобы пробойники перфоратора находились на 0,2 м выше подошвы продуктивного пласта, затем производят ступенчатую прокалывающую гидромеханическую перфорацию - ПГМП с намывом каверн снизу вверх в продуктивном пласте с шагом 0,2 м, при этом на каждой ступени в колонне НКТ и перфораторе ступенчато создают давление 5,0 - 8,0 - 10,0 - 12,0 МПа с выдержкой 10 сек при достижении каждого значения, при этом пробойники перфоратора прокалывают два симметричных отверстия в эксплуатационной колонне, расположенных под углом 180° в интервале продуктивного пласта, затем, не извлекая пробойников перфоратора из перфорационных отверстий в эксплуатационной колонне, доводят давление закачки до 15,0 МПа и через гидромониторные каналы пробойников перфоратора производят размыв каверн рабочей жидкостью в течение 15 мин, после чего сбрасывают давление в колонне НКТ и перфораторе до нуля, после чего все вышеописанные технологические операции, начиная с создания давления и заканчивая сбросом давления, повторяют в зависимости от высоты продуктивного пласта, по окончании ступенчатой ПГМП с размывом каверн производят обработку пласта и извлекают продукты реакции, для этого доспускают колонну НКТ в эксплуатационную колонну так, чтобы циркуляционный клапан находился посередине продуктивного пласта, далее сбрасывают шар в колонну НКТ, повышают давление в колонне НКТ до открытия отверстий в циркуляционном клапане, затем при открытой затрубной задвижке закачивают в колонну НКТ 15%-ный водный раствор соляной кислоты в объеме из расчета 1,5 м3 на 1 м высоты продуктивного пласта, доводят 15%-ный водный раствор соляной кислоты до интервала вскрытия, закрывают затрубную задвижку и продавливают 15%-ный водный раствор соляной кислоты через каверны в призабойную зону пласта, затем спускают сваб в колонну НКТ и свабированием по колонне НКТ извлекают продукты реакции 15%-ного водного раствора соляной кислоты с породой пласта и осваивают скважину.

[15]

На фиг. 1-5 схематично изображен предлагаемый способ.

[16]

Предлагаемый способ реализуют следующим образом.

[17]

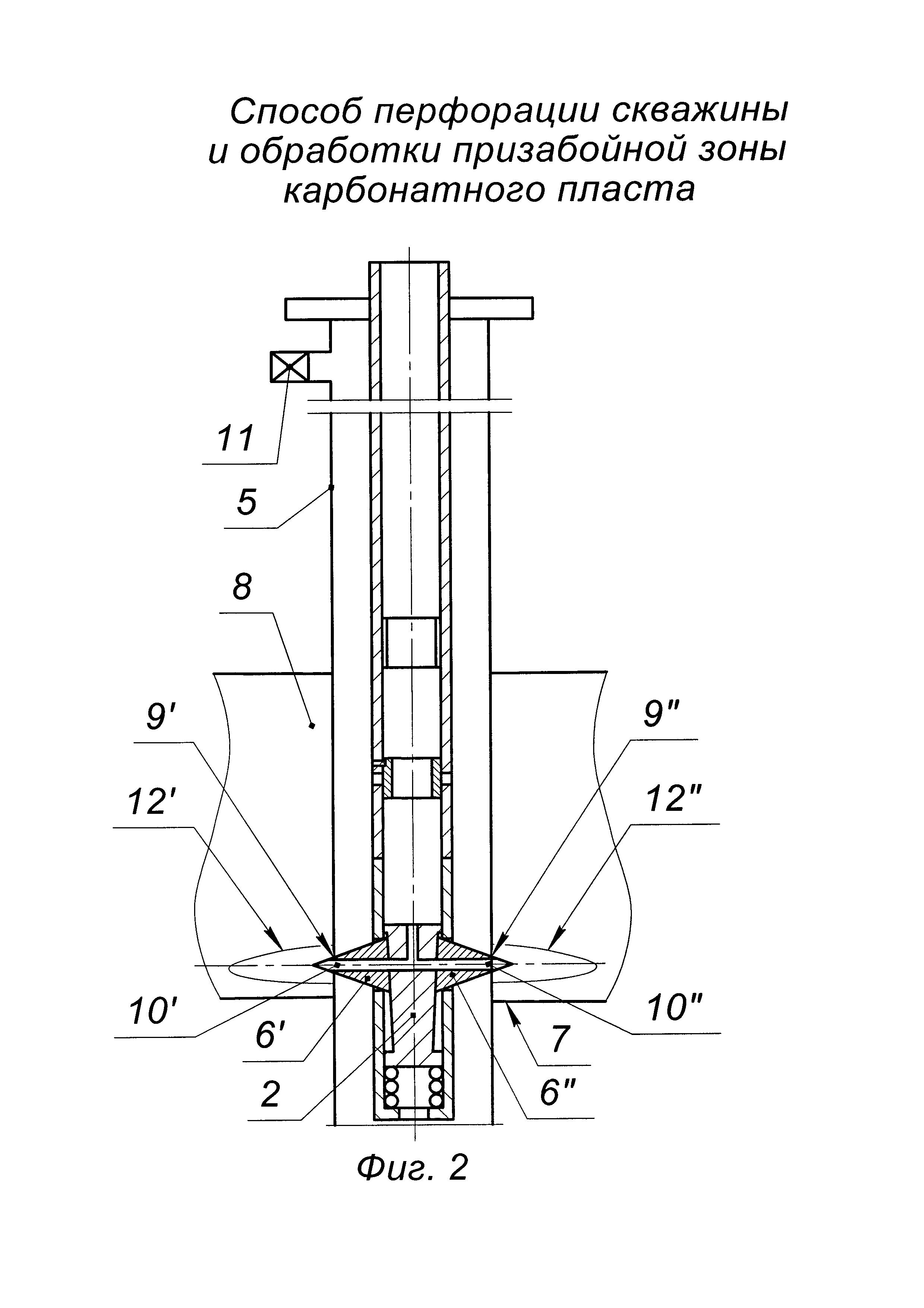
На устье скважины на нижний конец колонны НКТ 1 (см. фиг. 1) снизу вверх собирают компоновку: прокалывающий гидромеханический перфоратор 2, циркуляционный клапан 3 и свабный ограничитель 4. При этом выполняется условие:

[18]

D1>d2>d3,

[19]

где d1 - диаметр гидравлического канала прокалывающего гидромеханического перфоратора 2, мм;

[20]

d2 - внутренний диаметр циркуляционного клапана 3, мм;

[21]

d3 - внутренний диаметр свабного ограничителя 4, мм.

[22]

В качестве прокалывающего гидромеханического перфоратора используют любое известное устройство, позволяющее последовательно проводить проколы в эксплуатационной колонне с помощью пробойника и размыв каверн через гидромониторные каналы, выполненные в этом же пробойнике. Например, используют устройство для создания перфорационных каналов в скважине, описанное в патенте RU №2487990, МПК Е21В 43/114, опубл. 20.07.2013 г., Бюл. №20.

[23]

Спускают компоновку на колонне НКТ 1 в эксплуатационную колонну 5 (см. фиг. 1 и 2) так, чтобы резцы (пробойники) 6' и 6'' гидромеханического прокалывающего перфоратора 2 находились на расстоянии а=0,2 м выше подошвы 7 продуктивного пласта 8 высотой Н (см. фиг. 2 и 3).

[24]

Далее производят вскрытие эксплуатационной колонны 5 в интервале продуктивного пласта 8, при этом производят ступенчатую гидромеханическую перфорацию с намывом каверн снизу вверх продуктивного пласта 8 с шагом h=0,2 м.

[25]

Для этого на каждой ступени в колонне НКТ 1 и гидромеханическом прокалывающем перфораторе 2 (см. фиг. 2) ступенчато создают давление 5,0 - 8,0 - 10,0 - 12,0 МПа с выдержкой 10 сек при достижении каждого значения, например с помощью цементировочного агрегата ЦА-320 (на фиг. 1-5 не показан), при этом пробойники 6' и 6'' (см. фиг. 2) гидромеханического прокалывающего перфоратора 2 выдвигаются радиально наружу, прокалывают два симметричных отверстия 9' и 9'' в эксплуатационной колонне 5, расположенные под углом 180° в интервале продуктивного пласта 8.

[26]

Ступенчатый подъем давления 5,0 - 8,0 - 10,0 - 12,0 МПа с выдержкой 10 сек при достижении каждого значения позволяет произвести проколы (два симметричных отверстия 9' и 9'') в эксплуатационной колонне 5 без резких скачков давления, что снижает нагрузку на оборудование, используемое в процессе реализации способа.

[27]

Затем, не извлекая пробойники 6' и 6'' гидромеханического прокалывающего перфоратора 2 из перфорационных отверстий 9' и 9'', в эксплуатационной колонне 5 через гидромониторные каналы 10' и 10'' пробойников 6' и 6'' при закрытой затрубной задвижке 11 производят размыв каверн 12' и 12'' рабочей жидкостью при давлении 15,0 МПа в течение 15 мин. В качестве рабочей жидкости применяют сточную воду плотностью 1100 кг/м3.

[28]

После чего сбрасывают давление в колонне НКТ 1 и гидромеханическом прокалывающем перфораторе 2 до нуля.

[29]

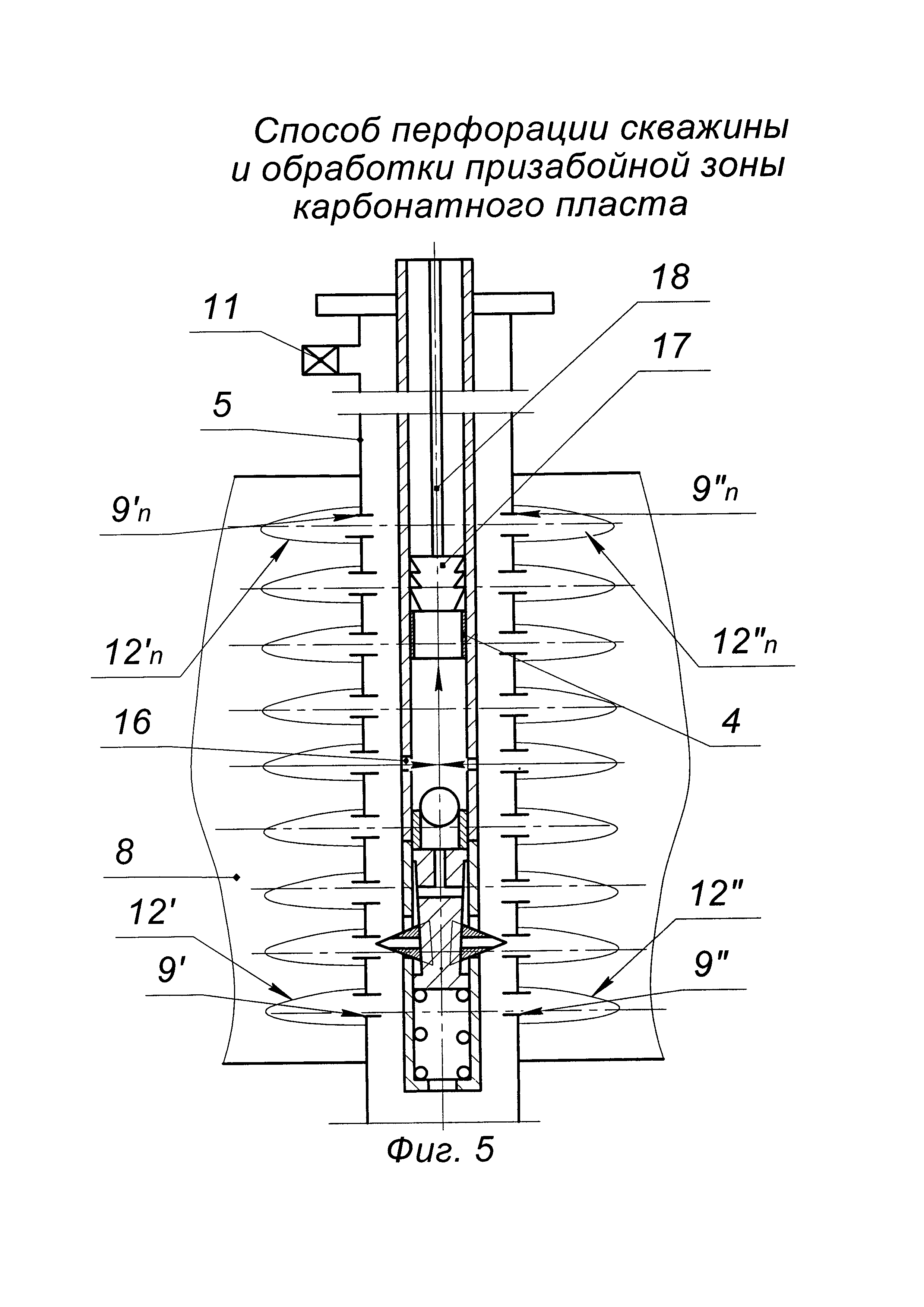
Далее вышеописанные технологические операции, начиная с создания давления и заканчивая сбросом давления, повторяют в зависимости от высоты продуктивного пласта 8, поднимая компоновку относительно эксплуатационной колонны на расстояние h=0,2 м на каждой ступени (см. фиг. 3).

[30]

Например, высота Н продуктивного пласта 8 составляет 2 м. Тогда, учитывая ступенчато шаг h=0,2 м и расстояние от подошвы 7 продуктивного пласта 8, равный а=0,2 м, получим: (Н-a)/h=(2-0,2)/0,2=9 проколов по два симметричных отверстия по высоте продуктивного пласта 8.

[31]

Таким образом, получаем ряд перфорационных отверстий 9' и 9'' …9n'' и 9n'' (см. фиг. 3) в эксплуатационной колонне 5 и размытых в них соответствующих каверн 12' и 12'' …12n' и 12n'' по высоте продуктивного пласта 8.

[32]

По окончании ступенчатой гидромеханической перфорации с намывом каверн производят обработку продуктивного пласта и извлекают продукты реакции.

[33]

Для этого открывают затрубную задвижку 11 и доспускают колонну НКТ 1 (см. фиг. 4) в эксплуатационную колонну 5 так, чтобы циркуляционный клапан 3 (см. фиг. 1 и 4) находился посередине (Н/2) продуктивного пласта 8.

[34]

Далее в колонну НКТ сбрасывают шар 13, создают давление в колонне НКТ 1 с помощью насосного агрегата, например до 7,0 МПа, до разрушения срезного винта 14, крепящего втулку 15 к циркуляционному клапану 3. В результате втулка 15 из циркуляционного клапана 3 перемещается вниз вместе с шаром 13 до упора в верхний торец гидромеханического прокалывающего перфоратора 2, при этом открываются отверстия 16 в циркуляционном клапане 3.

[35]

Далее при открытой затрубной задвижке 11 закачивают в колонну НКТ 1 15%-ный водный раствор соляной кислоты в объеме из расчета 0,5 м3 на 1 м высоты продуктивного пласта.

[36]

Например, как указано выше, при высоте продуктивного пласта 8, равной Н=2 м, закачивают 15%-ный водный раствор соляной кислоты в колонну НКТ 1 в объеме: 1,5 м3⋅2=3 м3.

[37]

Закрывают затрубную задвижку 11 и продавливают 15%-ный водный раствор соляной кислоты технологической жидкостью, например в объеме 3,8 м, по колонне НКТ 1 через отверстия 16 циркуляционного клапана 3 и через ряд перфорационных отверстий 9' и 9'' …9n' и 9n'' в эксплуатационной колонне 5 и размытых в них соответствующих каверн 12' и 12'' …12n' и 12n'' в призабойную зону карбонатного продуктивного пласта 8.

[38]

В качестве технологической жидкости применяют, например, сточную воду плотностью 1000 кг/м3. Оставляют скважину на реагирование, например на 8 ч.

[39]

Затем в колонну НКТ 1 спускают сваб 17 на геофизическом кабеле 18 (см. фиг. 5) и свабированием по колонне НКТ извлекают продукты реакции 15%-ного водного раствора соляной кислоты с породой пласта и осваивают скважину спуском сваба 17 на геофизическом кабеле 18 до свабного ограничителя 4 в двух объемах скважины, например 30 м3.

[40]

Повышается эффективность обработки ПЗП, так как после размыва каверн производится обработка породы в ПЗП через эти каверны. Это позволяет интенсифицировать приток продукции из флюидопроводящих каналов пласта, подвергшихся кислотной обработке через каверны в скважину.

[41]

Повышается качество очистки ПЗП, так как извлечение кольматанта через перфорационные отверстия эксплуатационной колонны скважины после прокола и размыва каверн осуществляется свабированием и освоением скважины, что позволяет улучшить приток флюида в скважину.

[42]

Повышается надежность реализации способа, так как при реализации способа исключается применение пакера и связанная с ним негерметичная посадка в процессе реализации способа.

[43]

Снижаются материальные затраты на реализацию способа, так как при его реализации не нужно использовать пакер и струйный насос.

[44]

Предлагаемый способ перфорации скважины и обработки призабойной зоны карбонатного пласта позволяет:

[45]

- повысить эффективность обработки призабойной зоны карбонатного пласта;

[46]

- повысить качество очистки призабойной зоны карбонатного пласта;

[47]

- повысить надежность реализации способа;

[48]

- снизить материальные затраты на реализацию способа.

Как компенсировать расходы
на инновационную разработку
Похожие патенты