Изобретение относится к твердотельной электронике. Структура полупроводник-на-изоляторе содержит изолятор, расположенный на нем поверхностный слой полупроводника и сформированный в изоляторе имплантацией ионов легкого газа и последующего высокотемпературного отжига дефектный термостабильный слой с высокой рекомбинационной способностью носителей заряда, возникающих при облучении внешним ионизирующим излучением. Дефектный слой содержит термостабильные микропоры и расположен на расстоянии от поверхностного слоя полупроводника меньшем длины диффузии носителей заряда, возникающих при указанном облучении. В качестве подложки может использоваться изолятор, в качестве изолятора - сапфир, в качестве полупроводника - кремний, а в качестве легкого газа - гелий. Структура полупроводник-на-изоляторе выполнена как гетероструктура и в поверхностном слое полупроводника при помощи различных выбранных режимов имплантации созданы требуемые упругие напряжения, необходимые при дальнейшем изготовлении полупроводниковых приборов. Изобретение обеспечивает создание требуемых упругих напряжений в слое полупроводника, улучшение электрических свойств структур полупроводник-на-изоляторе и упрощение способа их изготовления. 2 н. и 5 з.п. ф-лы, 1 ил., 1 табл.
1. Структура полупроводник-на-изоляторе, содержащая изолятор, расположенный на нем поверхностный слой полупроводника и сформированный в изоляторе вблизи от поверхностного слоя полупроводника термостабильный дефектный слой с высокой рекомбинационной способностью носителей заряда, возникающих при облучении внешним ионизирующим излучением, причем указанный дефектный слой сформирован имплантацией ионов легкого газа в изолятор и последующим высокотемпературным отжигом, содержит термостабильные микропоры и расположен на расстоянии от поверхностного слоя полупроводника, меньшем длины диффузии носителей заряда, возникающих при указанном облучении, отличающаяся тем, что структура полупроводник-на-изоляторе выполнена как гетероструктура и в поверхностном слое полупроводника при помощи различных выбранных режимов имплантации созданы упругие напряжения, требуемые для дальнейшего изготовления необходимых полупроводниковых приборов. 2. Структура по п. 1, отличающаяся тем, что в качестве подложки использован изолятор. 3. Структура по п. 1, отличающаяся тем, что в качестве изолятора использован сапфир, а в качестве полупроводника использован кремний. 4. Способ изготовления структуры полупроводник-на-изоляторе, при котором в изоляторе вблизи от поверхностного слоя полупроводника формируют путем имплантации и высокотемпературного отжига термостабильный дефектный слой, причем перед созданием этого дефектного слоя формируют поверхностный слой полупроводника, а затем имплантируют ионы легкого газа в изолятор со стороны поверхностного слоя полупроводника и в результате последующего высокотемпературного отжига формируют содержащий микропоры термостабильный дефектный слой на расстоянии от поверхностного слоя полупроводника, меньшем длины диффузии носителей заряда, возникающих при указанном облучении, отличающийся тем, что структуру полупроводник-на-изоляторе выполняют как гетероструктуру и в поверхностном слое полупроводника при помощи различных выбранных режимов имплантации создают различные упругие напряжения, требуемые для дальнейшего изготовления необходимых полупроводниковых приборов. 5. Способ по п. 4, отличающийся тем, что при имплантации в качестве ионов легкого газа используют ионы гелия. 6. Способ по п. 4, отличающийся тем, что в качестве полупроводника используют кремний, а в качестве изолятора используют сапфир. 7. Способ по п. 4, отличающийся тем, что поверхностный полупроводниковый слой стравливают и на освободившейся от него подложке с измененным в результате образования микропор параметром решетки наращивают новый поверхностный полупроводниковый слой с меньшим количеством дефектов, получающихся за счет рассогласования параметров решеток полупроводника и изолятора.
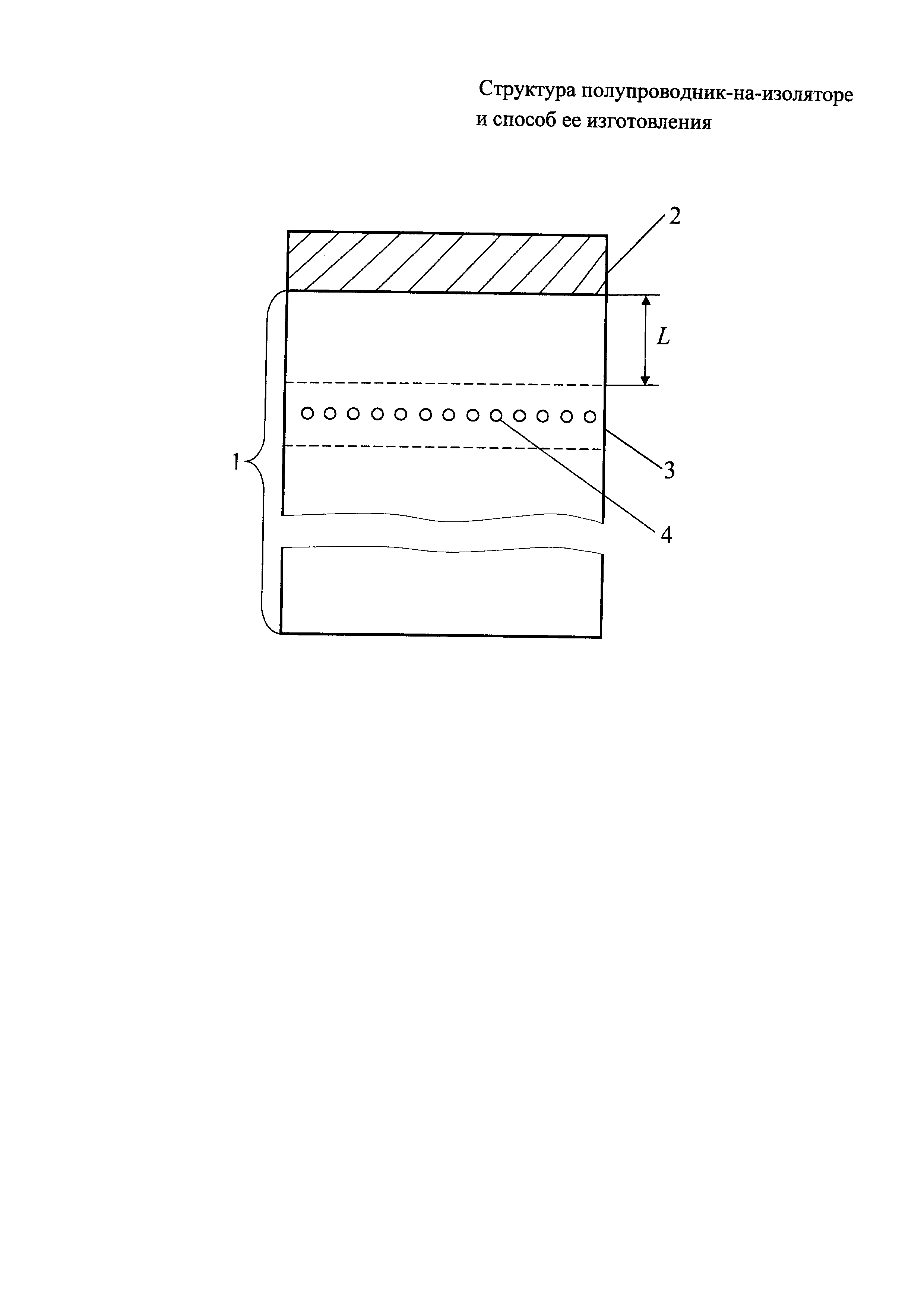
Область техники, к которой относится изобретение Изобретение относится к области полупроводниковой технологии и, более точно, к области создания радиационно стойких структур полупроводник-на-изоляторе, которые могут быть использованы для получения полупроводниковых приборов при изготовления интегральных схем. Уровень техники В известных структурах полупроводник-на-изоляторе тонкий поверхностный слой полупроводника расположен на изоляторе, т.е. диэлектрике. Этот поверхностный слой иначе называют также активным, рабочим, приборным. Структуры полупроводник-на-изоляторе, например структуры кремний-на-сапфире, являются более радиационно стойкими по сравнению с объемным полупроводником. Однако для получения полупроводниковых приборов лучшего качества и гораздо более стойких к воздействию внешнего ионизирующего излучения в изоляторе создают микропоры (нанокластеры), которые изменяют упругие напряжения в поверхностном полупроводниковом слое и способствуют появлению центров захвата/рекомбинации зарядов в изоляторе. Известны структура полупроводник-на-изоляторе и способ ее изготовления, при которых в полупроводниковом слое формируют с помощью имплантации легких газов в нерабочие (т.е. неактивные) области с микропорами и затем производят отжиг структуры, в результате которого гетерные включения из рабочей зоны аккумулируются в указанных микропорах (см. патент США на изобретение US 6709955 от 2001 г., U.S. Class: 438/473, «Method of fabricating electronic devices integrated in semiconductor substrates provided with gettering sites, and a device fabricated by the method», авторы Saggio M. и другие (IT), патентовладелец STMicroelectronics S.r.l. (Agrate Brianza, IT)). К недостаткам структуры и способа по этому патенту относится то, что при уменьшении числа дефектов за счет их гетерирования микропорами, остающимися после испарения легких газов в результате термообработки, не происходит изменений упругих напряжений в рабочей области полупроводникового слоя. Поэтому указанные структура и способ не могут быть использованы для получения требуемых упругих напряжений, необходимых для изготовления полупроводниковых приборов. Известен способ получения структуры полупроводник-на-изоляторе, в которой в качестве изолятора используют, например, монокристалл сапфира, а в качестве полупроводникового слоя используют, например, монокристаллический кремний (см. патент США на изобретение US 8778777 от 2009 г., U.S. Class: 438/458, «Method for manufacturing a heterostructure aiming at reducing the tensile stress condition of a donor substrate», автор M. Kennard (FR), патентовладелец Soitec (Bernin, FR)). При использовании технологии Смарткат производится имплантация водорода и гелия в кремний, а затем - атомарное связывание поверхности кремния, через которую производилась имплантация, с пластиной сапфира, и последующий отжиг, в результате которого получается пластина сапфира с тонким слоем кремния. Низкая температура отжига приводит к снижению упругих напряжений в полупроводниковом слое. Недостаток этого способа заключается в том, что он позволяет только уменьшать упругие напряжения в полупроводниковом слое, и вследствие этого не может использоваться для создания требуемых упругих напряжений, необходимых для изготовления полупроводниковых приборов. Кроме того, этот способ не позволяет получать структуру, обладающую высокой радиационной стойкостью. Прототипами предлагаемой структуры и способа ее изготовления является структура полупроводник-на-изоляторе и способ ее изготовления, представленные в патенте RU 2581443 от 2015 г., класс МПК H01L 21/76 (патентообладатель ФГБУ НИЦ «Курчатовский институт», авторы Александров П.А., Демаков К.Д., Шемардов С.Г.). Структура-прототип создана с целью повышения радиационной стойкости изготавливаемых из нее полупроводниковых приборов. Это структура полупроводник-на-изоляторе, содержащая изолятор, расположенный на нем поверхностный слой полупроводника и сформированный в изоляторе вблизи от поверхностного слоя полупроводника термостабильный дефектный слой с высокой рекомбинационной способностью носителей заряда, возникающих при облучении внешним ионизирующим излучением, причем указанный дефектный слой сформирован имплантацией ионов легкого газа в изолятор и последующим высокотемпературным отжигом, содержит термостабильные микропоры и расположен на расстоянии от поверхностно слоя полупроводника, меньшем длины диффузии носителей заряда, возникающих при указанном облучении. Способ-прототип изготовления структуры полупроводник-на-изоляторе состоит в том, что в изоляторе вблизи от поверхностного слоя полупроводника формируют путем имплантации и высокотемпературного отжига термостабильный дефектный слой, причем перед созданием этого дефектного слоя формируют поверхностный слой полупроводника, а затем имплантируют ионы легкого газа в изолятор со стороны поверхностного слоя полупроводника и в результате последующего высокотемпературного отжига формируют содержащий микропоры термостабильный дефектный слой на расстоянии от поверхностного слоя полупроводника, меньшем длины диффузии носителей заряда, возникающих при указанном облучении. Качество структуры, полученной способом-прототипом, сильно зависит от величины рассогласования параметров решетки полупроводникового слоя и изолятора, а также от упругих напряжений в полупроводниковом слое. Недостаток прототипа-структуры и прототипа-способа ее получения заключается в том, что они не позволяют обеспечить требуемые упругие напряжения в полупроводниковом слое, необходимые для изготовления полупроводниковых приборов. Вследствие этого слой полупроводника становится более дефектным и возникает необходимость создания промежуточных кристаллических слоев с постепенно измененным параметром решетки. Раскрытие (сущность) изобретения Задачей предлагаемого изобретения является разработка структуры полупроводник-на-изоляторе и способа ее изготовления, которые по сравнению с аналогами и прототипом обеспечили бы технический результат в виде одновременного достижения следующих целей: - обеспечение требуемых упругих напряжений в полупроводниковом слое при сохранении высокой радиационной стойкости получаемой структуры, - улучшение кристаллического качества полупроводникового слоя для конкретного его применения и вследствие этого улучшение электрических свойств полупроводниковых приборов, создаваемых в этом слое. Этот технический эффект достигается, во-первых, благодаря тому, что структура полупроводник-на-изоляторе, содержащая изолятор, расположенный на нем поверхностный слой полупроводника и сформированный в изоляторе вблизи от поверхностного слоя полупроводника термостабильный дефектный слой с высокой рекомбинационной способностью носителей заряда, возникающих при облучении внешним ионизирующим излучением, причем указанный дефектный слой сформирован имплантацией ионов легкого газа в изолятор и последующим высокотемпературным отжигом, содержит термостабильные микропоры и расположен на расстоянии о поверхностно слоя полупроводника, меньшем длины диффузии носителей заряда, возникающих при указанном облучении, выполнена как гетероструктура и в поверхностном слое полупроводника при помощи различных выбранных режимов имплантации созданы упругие напряжения, требуемые для дальнейшего изготовления необходимых полупроводниковых приборов. Создание в изоляторе дефектного слоя, содержащего микропоры, приводит к значительному улучшению кристаллического качества поверхностного полупроводникового слоя и к обеспечению требуемых упругих напряжений в полупроводниковом слое, зависящем от параметров процесса имплантации. Выполнение структуры полупроводник-на-изоляторе как гетероструктуры обеспечивает передачу упругих напряжений от изолятора в поверхностный полупроводниковый слой. При обеспечении требуемых упругих напряжений не возникает необходимости создавать промежуточные кристаллические слои с постепенно изменяемым параметром решетки и рабочий слой полупроводника становится менее дефектным. Получению этого технического результата способствует то, что в структуре полупроводник-на-изоляторе в качестве подложки использован изолятор. Это повышает высокочастотность полупроводниковых приборов, сделанных в предложенной структуре полупроводник-на изоляторе. Получению указанного технического результата способствует также то, что в структуре полупроводник-на-изоляторе в качестве изолятора использован сапфир, а в качестве полупроводника - кремний. Это упрощает структуру полупроводник-на-изоляторе и способ ее изготовления, а также повышает высокочастотность полупроводниковых приборов, сделанных в предложенной структуре полупроводник-на-изоляторе. Указанный технический результат достигается также благодаря тому, что в способе изготовления структуры полупроводник-на-изоляторе, при котором в изоляторе вблизи от поверхностного слоя полупроводника формируют путем имплантации и высокотемпературного отжига термостабильный дефектный слой, причем перед созданием этого дефектного слоя формируют поверхностный слой полупроводника, а затем имплантируют ионы легкого газа в изолятор со стороны поверхностного слоя полупроводника и в результате последующего высокотемпературного отжига формируют содержащий микропоры термостабильный дефектный слой на расстоянии от поверхностного слоя полупроводника, меньшем длины диффузии носителей заряда, возникающих при указанном облучении, структуру полупроводник-на-изоляторе выполняют как гетероструктуру и в поверхностном слое полупроводника при помощи различных выбранных режимов имплантации создают различные упругие напряжения, требуемые для дальнейшего изготовления требуемых полупроводниковых приборов. Как указывалось выше, выполнение структуры полупроводник-на-изоляторе как гетероструктуры обеспечивает передачу упругих напряжений от изолятора в поверхностный полупроводниковый слой. Получению этого технического результата способствует то, что при имплантации в качестве ионов легкого газа используют ионы гелия. Это повышает термостабильность предлагаемой структуры при температуре около 1000°C (для сравнения - при использовании ионов водорода микропоры исчезают при этих температурах) и, кроме того, уменьшает количество радиационных дефектов в полупроводнике. Получению этого технического результата способствует то, что в качестве изолятора (подложки) используют сапфир, а в качестве полупроводника - кремний. Это упрощает структуру полупроводник-на-изоляторе и способ ее изготовления, а также повышает высокочастотность полупроводниковых приборов, сделанных в предложенной структуре. Получению этого технического результата способствует также то, что в способе-прототипе поверхностный полупроводниковый слой стравливают и на освободившейся от этого слоя подложке с уменьшенным в результате образования микропор параметром решетки наращивают новый поверхностный полупроводниковый слой, обладающий меньшим количеством дефектов, получающихся за счет рассогласования параметров решеток полупроводника и изолятора. Краткое описание чертежей На фигуре показана предлагаемая структура полупроводник-на-изоляторе. Осуществление изобретения Предлагаемая структура полупроводник-на-изоляторе (см. чертеж) как и в прототипе содержит изолятор 1, расположенный на нем поверхностный слой 2 полупроводника и сформированный в изоляторе 1 дефектный термостабильный слой 3, обладающий свойством изменять средний параметр решетки в зависимости от параметров процесса имплантации. Дефектный слой 3 содержит микропоры 4 и сформирован в изоляторе 1 на расстоянии L от поверхностного слоя 2 полупроводника, меньшем, чем длина диффузии носителей заряда, возникающих при указанном облучении. Изолятор 1 может быть использован в качестве подложки. Предлагаемая структура полупроводник-на-изоляторе выполнена как гетероструктура. В качестве изолятора 1 может быть использован сапфир, а качестве полупроводника поверхностного слоя 2 может быть использован кремний. Предлагаемый способ изготовления структуры полупроводник-на-изоляторе представлен ниже в виде последовательности шагов: Шаг 1: поверхностный слой 2 полупроводника формируют на поверхности изолятора 1; Шаг 2: путем имплантации ионов газа в изолятор 1 со стороны поверхностного слоя 2 полупроводника формируют в изоляторе 1 обогащенный этими ионами слой; имплантацию могут проводить ионами легкого газа, в частности - гелия; Шаг 3: проводят температурный отжиг структуры, полученной в шаге 2 (например, при температурах 800-1100°C); в результате этого в изоляторе 1, а именно в обогащенном ионами газа слое, созданном в шаге 2, формируется дефектный слой 3 на расстоянии от поверхности слоя 2 полупроводника, меньшем, чем длина диффузии носителей заряда, возникающих при облучении внешним ионизирующим облучением. После выполнения этих трех шагов предлагаемая структура полупроводник-на-изоляторе оказывается изготовленной. Для улучшения структуры полупроводника, а именно для того, чтобы при его эпитаксиальном росте не возникали неустранимые при отжиге дефекты («двойники» и дислокации), производят еще один - четвертый шаг. Шаг 4: поверхностный полупроводниковый слой стравливают и на освободившейся от него подложке с измененным в результате образования микропор параметром решетки наращивают новый поверхностный слой с меньшим количеством дефектов, получившихся за счет рассогласования параметров решеток полупроводника и изолятора. Рассмотрим пример реализации способа изготовления предлагаемой структуры полупроводник-на-изоляторе для случая, когда в качестве изолятора 1 использован сапфир, а в качестве полупроводника поверхностного слоя 2 использован кремний. Тогда в шаге 1 на поверхности сапфира, который служит изолятором 1, формируют поверхностный слой 2 кремния любым известным эпитаксиальным методом, например эпитаксиальным газофазным методом. Шаг 1 может быть существенно отделен по времени от шага 2, если для шага 2 в качестве исходной структуры взять структуру кремний-на-сапфире с толщиной поверхностного кремниевого слоя 2, равной 3000 В шаге 2 имплантацию в изолятор 1, выполненный из сапфира, проводят ионами гелия энергией 75 кэВ при температуре менее 100°C. В шаге 3 производят отжиг структуры, полученной в шаге 2, при температуре 1000°C. При дозе имплантации 3,5⋅1016 Не+/см2 толщина дефектного слоя 3 составляет около 750 Размер дефектного слоя 3 и содержащихся в нем микропор определяется режимом имплантации (т.е. энергией имплантации и дозой имплантации) и температурой отжига. В таблице 1 показаны экспериментальные параметры пяти образцов структуры кремний-на-сапфире, полученные при различных режимах имплантации, заданных энергией Е и дозой D имплантации. В таблице 1 в первом столбце даны номера образцов, во втором столбце приведены экспериментальные значения полуширин кривых качания, полученных при рентгеновской дифракции на кремниевом слое для данных образцов структуры кремний-на-сапфире. Этот параметр характеризует общее количество дефектов в слое кремния. Столбцы 3 и 4 содержат данные о режимах имплантации ионами гелия: энергию и дозу, и так как образец 351 не имплантировался, то по нему значений энергии и дозы нет. В столбце 5 показано угловое положение пика рентгеновского дифракционного отражения Si(400) и соответствующее ему значение sin(Θб). Данные последнего столбца показывают относительное изменение параметра решетки кремниевого слоя по сравнению с эталонным параметром решетки для объемного образца кремния, т.е. показывают изменения деформационных напряжений в кремниевом слое. Здесь <аэ> - экспериментальное значение параметра решетки для кремниевого слоя, определенное по данным столбца 5, <ар> - расчетное значение параметра для эталонного объемного кремния. Выполнение структуры полупроводник-на-изоляторе как гетероструктуры обеспечивает передачу упругих напряжений от изолятора в поверхностный полупроводниковый слой.
. В этом случае можно считать, что шаг 1 сделан задолго до шага 2.
. Дефектный слой 3, содержащий микропоры 4, находится на расстоянии L~1200
.