патент
№ RU 2681794
МПК F42B5/02

ВЫСТРЕЛ ДЛЯ ГРАНАТОМЕТА

Авторы:
Чижевский Олег Тимофеевич Николаев Сергей Евгеньевич Свободов Андрей Николаевич
Все (5)
Номер заявки
2017144919
Дата подачи заявки
21.12.2017
Опубликовано
12.03.2019
Страна
RU
Как управлять
интеллектуальной собственностью
Чертежи 
1
Реферат

Изобретение относится к безгильзовому артиллерийскому патрону для автоматических гранатометов, боевая осколочная часть которого выполнена из кольцевых элементов. Выстрел для гранатомета включает головной взрыватель разрывного снаряжения, помещенного внутри композитного корпуса, содержащего опирающуюся на выступ днища осколочную обойму заданного дробления, примыкающую к коническому вкладышу и помещенную между обечайками, внутренняя из которых формообразует камору, а внешняя связана с головным взрывателем и закреплена на монолитном ведущем пояске днища, неразъемно связанного с камерой сгорания метательного порохового заряда, инициируемого центральным капсюлем-воспламенителем, закрепленным в торцевой диафрагме. Согласно изобретению, внутренняя обечайка выполнена в форме тонкостенного вкладного стакана, в который запрессовано разрывное снаряжение, осколочная обойма составлена из набора примыкающих колец, спеченных из порошка тяжелого металла или сплава, которые снаружи оснащены равно распределенными радиальными рифлями и продольно поджаты резьбовой гайкой под коническим вкладышем, вкрученными внутри внешней обечайки, при этом конический вкладыш снабжен резьбовым очком под головной взрыватель, а радиальные рифли осколочной обоймы имеют глубину 2/3 ее толщины. Технический результат заключается в повышении эффективности поражающего действия высокоскоростных осколков с острыми режущими гранями, при упрощении конструкции и технологии изготовления серийного боеприпаса. 1 з.п. ф-лы, 2 ил.

Формула изобретения

1. Выстрел для гранатомета, включающий головной взрыватель разрывного снаряжения, помещенного внутри композитного корпуса, содержащего опирающуюся на выступ днища осколочную обойму заданного дробления, примыкающую к коническому вкладышу и помещенную между обечайками, внутренняя из которых формообразует камору, а внешняя связана с головным взрывателем и закреплена на монолитном ведущем пояске днища, неразъемно связанного с камерой сгорания метательного порохового заряда, инициируемого центральным капсюлем-воспламенителем, закрепленным в торцевой диафрагме, отличающийся тем, что внутренняя обечайка выполнена в форме тонкостенного вкладного стакана, в который запрессовано разрывное снаряжение, осколочная обойма составлена из набора примыкающих колец, спеченных из порошка тяжелого металла или сплава, которые снаружи оснащены равно распределенными радиальными рифлями и продольно поджаты резьбовой гайкой под коническим вкладышем, вкрученными внутри внешней обечайки, при этом конический вкладыш снабжен резьбовым очком под головной взрыватель.

2. Выстрел для гранатомета по п. 1, отличающийся тем, что радиальные рифли осколочной обоймы имеют глубину 2/3 ее толщины.

Описание

[1]

Изобретение относится к боеприпасам унитарного заряжания, а более конкретно, к безгильзовому артиллерийскому патрону для автоматических гранатометов, боевая осколочная часть которого выполнена из кольцевых элементов.

[2]

Уровень данной области техники характеризует артиллерийский унитарный патрон к автоматическому гранатомету по патенту RU 2135938, F42B 5/18/ 1999 г., который включает неразъемно связанные между собой боевую часть, содержащую головной взрыватель и ведущий поясок, и камеру сгорания, заполненную метательным пороховым зарядом, выполняющим функции гильзы.

[3]

Использование в этом патроне безгильзовой схемы позволяет перераспределить массу боеприпаса, увеличив долю его боевой осколочной части, что повышает эффективность применения по назначению или снижает весовую нагрузку на боевой расчет гранатомета при заданной эффективности осколочного поражения.

[4]

Исключение процесса распатронирования при выстреле повышает стабильность горения метательного порохового заряда, исключив экстракцию гильз-втулок. При установке гранатомета в замкнутых объемах боевого применения не требуется сбор горячих гильз для укладки их в тарные ящики, исключается установка специальных отражателей, что повышает мобильность стрельбы.

[5]

Особенностью этого патрона является выполнение ведущего пояска заодно с корпусом гранаты, из монолита его несущего днища, что повышает жесткость компактной конструкции боеприпаса, дополнительно сокращая расход дефицитной меди.

[6]

Однако недостатком описанного выстрела для гранатомета является неудовлетворительное поражающее действие из-за произвольного нерегулируемого дробления корпуса гранаты, определяемого вероятностным характером образования неоптимальных по массогабаритным параметрам поражающих элементов с широким диапазоном разброса скорости и дальности разлета.

[7]

Отмеченный недостаток устранен в конструкции выстрела для гранатомета по патенту RU 2421685 C1, F42B 5/02; 5/18; 12/32, 2011 г., который по технической сущности и числу совпадающих признаков выбран в качестве наиболее близкого аналога предложенному выстрелу.

[8]

Известный выстрел для гранатомета содержит боевую осколочную часть с головным взрывателем и ведущим пояском, выполненным из монолита днища композитного корпуса, на котором неразъемно закреплена камера сгорания метательного порохового заряда, сообщающегося с капсюлем-воспламенителем, установленным в торцевой диафрагме.

[9]

Особенностью известного боеприпаса является то, что на корпусе дополнительно размещена коаксиальная обойма из литьевого полимерного материала, несущая равно распределенные шарики из тяжелого сплава или металла - готовых поражающих элементов.

[10]

Выполнение композитного корпуса гранаты в виде осколочного блока, установленного между двух коаксиальных обечаек, повышает эффективность действия по назначению, так как внутренняя массивная обечайка служит источником поражающих элементов при дроблении от подрыва бризантного снаряжения, а тонкостенная наружная обечайка служит аэродинамическим обтекаемым покрытием, минимизируя торможение выстрела на полете.

[11]

Жесткая связь обечаек с обоих торцов между собой непосредственно и через кольцевой выступ несущего днища, на котором смонтирована осколочная обойма с готовыми поражающими элементами, создает посредством силового и геометрического замыкания структурных элементов композитного корпуса его жесткость и квазимонолитность с формированием при подрыве характерного осколочного поля.

[12]

Размещение шариков в объеме несущей полимерной основы обоймы создает конструктивное единство в форме автономной сборочной единицы, повышая тем самым технологичность серийного боеприпаса с заданным полем разлета готовых поражающих элементов.

[13]

Укрепление осколочных шариков в обойме из литьевого полимерного материала исключает люфты и зазоры в композитном корпусе.

[14]

Шарики из тяжелого сплава или металла, плотного и прочного, обеспечивают высокие дальность разлета и проникающую способность.

[15]

Продолжением отмеченных достоинств известного выстрела для гранатомета являются присущие недостатки:

[16]

- низкий коэффициент нагрузки из-за балластного полимерного материала осколочной обоймы, несущей готовые поражающие элементы - шарики, но не участвующего в проникающем действии поражения, при этом скорость самих шариков мала из-за потери энергии метательного снаряжения, газообразные продукты детонации которого прорываются через массив полимера;

[17]

- неудовлетворительная кучность стрельбы боеприпасом из-за дисбаланса, создаваемого произвольно вращающейся относительно корпуса осколочной обоймой, так как упругий вкладыш по определению не фиксирует ее пространственного положения;

[18]

- толстостенная внутренняя обечайка ограничивает объем разрывного снаряжения, снижая коэффициент наполнения боеприпаса и его могущество, результатом чего является ограничение дальности разлета поражающих элементов и неэффективное пробивание преград.

[19]

Кроме того, аэродинамической формы поражающие элементы не пробивают защитные пластины из кевлара.

[20]

Технической задачей, на решение которой направлено настоящее изобретение, является повышение эффективности осколочного действия и функциональной надежности боеприпаса более простой и технологичной конструкции.

[21]

Требуемый технический результат достигается тем, что в известном выстреле для гранатомета, включающем головной взрыватель разрывного снаряжения, помещенного внутри композитного корпуса, содержащего опирающуюся на выступ днища осколочную обойму заданного дробления, примыкающую к коническому вкладышу и помещенную между обечайками, внутренняя из которых формообразует камору, а внешняя связана с головным взрывателем и закреплена на монолитном ведущем пояске днища, неразъемно связанного с камерой сгорания метательного порохового заряда, инициируемого центральным капсюлем-воспламенителем, закрепленным в торцевой диафрагме, согласно изобретению, внутренняя обечайка выполнена в форме тонкостенного вкладного стакана, в который запрессовано разрывное снаряжение, осколочная обойма составлена из набора примыкающих колец, спеченных из порошка тяжелого металла или сплава, которые снаружи оснащены равно распределенными радиальными рифлями и продольно поджаты резьбовой гайкой под коническим вкладышем, вкрученными внутри внешней обечайки, при этом конический вкладыш снабжен резьбовым очком под головной взрыватель.

[22]

Другой особенностью предложенного выстрела для гранатомета является то, что радиальные рифли осколочной обоймы имеют глубину 2/3 ее толщины.

[23]

Отличительные признаки предложенного технического решения повысили эффективность поражающего действия высокоскоростных осколков с острыми режущими гранями, при упрощении конструкции и технологии изготовления серийного боеприпаса.

[24]

Выполнение внутренней обечайки композитного корпуса в форме тонкостенного стакана, формообразующего камору гранаты, позволило осуществлять прессование разрывного снаряжения вне сборочного производства непосредственно в стакан, помещенный в массивную матрицу конгруэнтной формы. При этом энергонасыщенный заряд получен в виде безопасной в служебном обращении автономной сборочной единицы, устанавливаемой в гранату в примыкании к осколочной обойме и днищу, что проще и дешевле.

[25]

Выполнение осколочной обоймы из набора сомкнутых колец, оснащенных снаружи равно распределенными радиальными рифлями, обеспечивает заданное дробление на осколки аэродинамической формы с острыми гранями, повышающими поражающий эффект.

[26]

Силовое замыкание примыкающих колец посредством резьбовой гайки, связанной с внешней обечайкой, формирует квазимонолитность осколочной обоймы, предотвращая прорыв продуктов детонации между ними, чем обеспечивается высокая скорость разлета формируемых осколков заданной формы.

[27]

При подрыве разрывного снаряжения кольца обоймы дробятся вдоль радиальных рифлей, образуя высокоскоростные осколки, которые эффективно пробивают легко бронированные преграды и кевлар.

[28]

Выполнение осколочных колец, оснащенных снаружи радиальными рифлями, из спеченного порошкового материала с большой удельной массой является производительным и безотходным. При этом возможно формирование относительно мелких осколков заданного дробления колец прямоугольного профиля, имеющих высокую скорость и дальность разлета для повышения пробиваемости, то есть эффективность осколочного действия гранаты заметно увеличена, сравнительно со штатными и прототипом.

[29]

Жесткая резьбовая связь конического вкладыша, установленного в упор, через резьбовую гайку, на осколочной обойме, с головным взрывателем и внешней обечайкой, которая закреплена на выступе днища, образовала единую силовую конструкцию композитного корпуса как единство формы и функции, существенно упростив технологию сборки гранаты.

[30]

Монтажная втулка конической формы, сопрягаемая с головным взрывателем и корпусом выстрела, обеспечила обтекаемость формы боеприпаса, снижая тем самым торможение на полете к цели для увеличения дальности стрельбы.

[31]

Выполнение осколочной обоймы из набора готовых колец, по определению, значительно облегчает ее разделение на осколочные фрагменты, что способствует заметному повышению дальности разлета осколков, а оснащение их снаружи равно распределенными рифлями, в качестве концентраторов напряжения, при подрыве снаряжения регулирует поперечное разделение колец на мерные осколки с острыми гранями, характеризующимися рубящими и проникающими свойствами, что повышает эффективность действия по легкобронированным и специальным (в частности из кевлара) оболочкам.

[32]

Выполнение осколочных колец методом спекания порошковых сплавов и металлов упрощает технологию получения унифицированных сборных осколочных обойм для корпусов гранат регулируемого дробления из тяжелых материалов, чем увеличить удельную массу поражающих элементов, имеющих повышенную скорость разлета при подрыве.

[33]

Предложенная форма и структура композитного корпуса боеприпаса позволяет выполнить радиально не нагруженные обечайки из конструкционных легких алюминия или его сплава.

[34]

Выбор оптимальной глубины радиальных рифлей снаружи колец осколочной обоймы отработан экспериментально и составляет 2/3 толщины колец, в диапазоне (0,6-0,7) их толщины, когда достигается максимальная скорость равномерно разлетающихся осколков правильной аэродинамической формы с острыми гранями.

[35]

При выполнении радиальных рифлей снаружи осколочных колец глубиной «h» больше 0,7 толщины «t» обоймы дробления не обеспечивается накопления энергии при максимальном раздутии корпуса, в результате чего скорость разлета сформированных при дроблении колец осколков падает и снижается пробиваемость преграды.

[36]

При выполнении рифлей глубиной «h» меньше 0,6 толщины «t» осколочных колец обоймы ее дробление происходит произвольно, возникают конгломераты в форме «сабельных» осколков, которые имеют низкую скорость разлета и сильно тормозятся при не ориентированном автономном полете к цели.

[37]

Следовательно, каждый признак необходим, а их совокупность в устойчивой взаимосвязи являются достаточными для достижения новизны качества, неприсущей признакам в разобщенности, то есть поставленная в изобретении техническая задача решена не суммой эффектов, а новым сверхэффектом суммы признаков.

[38]

Сущность изобретения поясняется чертежом, который служит чисто для иллюстрации и не ограничивает объема притязаний совокупности признаков формулы.

[39]

На чертеже изображены:

[40]

на фиг. 1 - предложенный выстрел для гранатомета;

[41]

на фиг. 2 - вид А на фиг. 1.

[42]

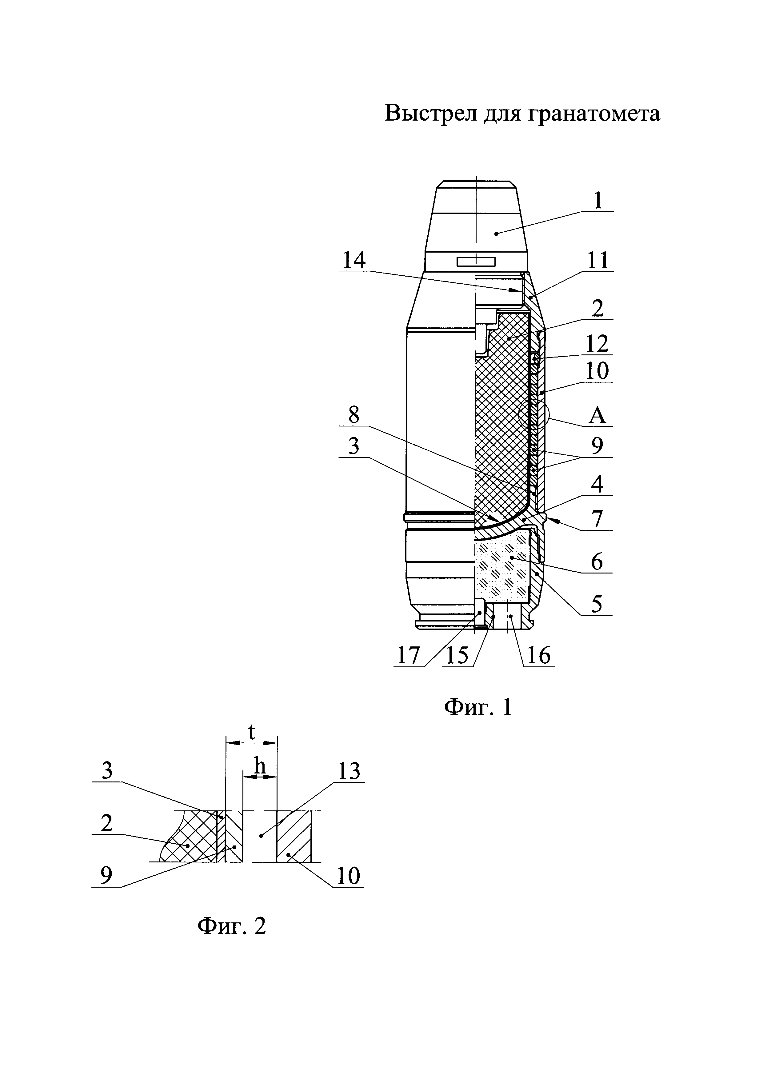
Выстрел для гранатомета по предложенному изобретению включает головной взрыватель 1, детонатор которого размещен внутри разрывного снаряжения 2, заполняющего тонкостенную обечайку 3 конгруэнтной формы днищу 4, которое неразъемно связано с камерой 5 сгорания метательного порохового заряда 6, которая выполняет функции гильзы артиллерийского выстрела.

[43]

Из материала днища 4 монолитно выполнен поясок 7, при выстреле выполняющий функции ведущего устройства, врезающегося при выстреле в боевые грани спиральных нарезов ствола гранатомета.

[44]

На выступ 8 днища 4 опирается осколочная обойма, составленная из плотно примыкающих колец 9 квадратного профиля, которые изготовлены спеканием порошка тяжелого металла или сплава, например, марки ВНЖ-90.

[45]

Снаружи обойма из колец 9 закрыта внешней обечайкой 10, которая навинчена по резьбе на выступ 8 днища 4 до упора в поясок 7, а сверху свинчена с монтажной втулкой 11, коническая наружная поверхность которой образует обтекаемую аэродинамическую форму боеприпаса, снижая тем самым торможение набегающего воздушного потока на полете к цели.

[46]

Под втулкой 11 расположено стопорное кольцо 12, которое при сборке с максимальным усилием завинчено по внутренней резьбе обечайки 10, сжимая кольца 9 в силовом примыкании и формообразуя осколочную обойму, которая совокупно с внешней обечайкой 10 образует композитный корпус гранаты.

[47]

Кольца 9 осколочной обоймы оснащены равно распределенными радиальными рифлями 13, которые имеют глубину «h», равную 2/3 толщины «t» колец 9.

[48]

Внутренний профиль днища 4, колец 9 осколочной обоймы и монтажной втулки 11 формируют камору композитного корпуса гранаты, к которой примыкает конгруэнтный стакан - тонкостенная обечайка 3, в которую на отдельной операции автономно в матрице запрессовывается разрывное снаряжение 2.

[49]

В резьбовом очке 14 монтажной втулки 11 установлен головной взрыватель 1, детонатор которого размещен внутри разрывного снаряжения 2.

[50]

В торцевой диафрагме 15 камеры 5 сгорания, имеющей расположенные по периметру выходные отверстия 16, установлен центральный капсюль-воспламенитель 17.

[51]

Собирается выстрел в следующей технологической последовательности.

[52]

Внешняя обечайка 10 навинчивается на выступ 8 днища 4 до упора в поясок 7.

[53]

Затем внутрь внешней обечайки 10 до упора в выступ 8 днища вставляется осколочная обойма из колец 9. Далее вовнутрь обечайки 10 завинчивают стопорное кольцо 12, с усилием прижимая кольца 9 друг к другу, формируя квазимонолит композитного корпуса гранаты.

[54]

После этого вовнутрь колец 9 помещают предварительно снаряженную разрывным зарядом 2 тонкостенную обечайку 3, на свободный верхний конец которой устанавливают монтажную втулку 11.

[55]

Далее втулку 11 до упора предварительно свинчивают с внешней обечайкой 10, геометрически сцепляя их в конструктивное единство, до упора в резьбовое кольцо 12

[56]

Снаряжение камеры 5 сгорания производят автономно: в диафрагму 15 устанавливают центральный капсюль-воспламенитель 17, а затем на покрывающую диафрагму 15 сгорающую мембрану (условно не показана) укладывают метательный заряд 6.

[57]

Камеру 5 сгорания в сборе на герметике ввинчивается в днище 4, формируя неразъемное их соединение.

[58]

Затем в резьбовое очко 14 монтажной втулки 11 устанавливается головной взрыватель 1, в результате чего окончательно снаряженный выстрел готов к использованию по назначению.

[59]

Функционирует предложенный выстрел для гранатомета следующим образом.

[60]

При инициировании импульсом из гранатомета капсюля-воспламенителя 17 форсом пламени поджигается метательный пороховой заряд 6, горение которого сопровождается генерированием газообразных продуктов, резко повышающих давление в камере 5. Горячие продукты сгорания заряда 6 прожигают мембрану, покрывающую выходные отверстия 16 диафрагмы 15, и струйно интенсивно выбрасываются в замкнутый объем казенной части оружия, создавая реактивно направленный импульс силы, в результате чего боеприпас ускоренно перемещается по стволу гранатомета.

[61]

При этом кольцевой выступ 7 днища 4 врезается в боевые грани спиральных нарезов ствола, образуя винтовую пару и закручивая гранату вокруг ее продольной оси для гироскопической стабилизации на траектории полета к цели.

[62]

Выполняющая функции гильзы камера 5 сгорания не отделяется от гранаты, выстреливаясь совместно. На полете центр масс боеприпаса от выгорания заряда 6 смещается вперед от центра давления, что способствует продольной стабилизации выстрела.

[63]

При встрече гранаты с преградой инерционно срабатывает головной взрыватель 1, инициируя подрыв бризантного снаряжения 2, срабатывание которого формирует ударную и детонационную волны, распространяющиеся от центра к периферии и вдоль композитного корпуса.

[64]

При этом под действием ударной волны разрушаются кольца 9 вдоль радиальных рифлей 13, образуя поле поражающих элементов заданного дробления, разрушаются обе обечайки 3 и 10, при этом последняя дробится сформированными осколками колец 9 на эффективные осколочные фрагменты, усиливающие поражающее действие.

[65]

Организованное раздельно-последовательное формирование и разлет мерных фрагментов структурных элементов композитного корпуса 3-9-10 обеспечивает повышенное поражающее действие, что нашло подтверждение при стационарных подрывах опытных образцов изделий по изобретению, при этом компактные тяжелые осколки, образованные при заданном дроблении колец 9, имеют острые грани, обеспечивая повышенную пробиваемость преград на большей дистанции разлета.

[66]

Сравнение предложенного технического решения с выявленными аналогами уровня техники не выявило идентичного совпадения совокупности существенных признаков изобретения.

[67]

Предложенные отличия выстрела для гранатомета, которые прямо не следуют из постановки технической задачи, не являются очевидными для специалистов по артиллерийским боеприпасам.

[68]

Изготовление усовершенствованного по изобретению модернизированного выстрела для гранатомета возможно осуществлять на действующем в серийном производстве автоматическом оборудовании.

[69]

Из вышесказанного можно сделать вывод о соответствии изобретения условиям патентоспособности.

Как компенсировать расходы
на инновационную разработку
Похожие патенты