патент
№ RU 2691673
МПК H01P1/161

ВОЛНОВОДНЫЙ ПОЛЯРИЗАЦИОННЫЙ СЕЛЕКТОР

Авторы:
Табунов Артем Юрьевич
Номер заявки
2018123683
Дата подачи заявки
29.06.2018
Опубликовано
17.06.2019
Страна
RU
Как управлять
интеллектуальной собственностью
Чертежи 
9
Реферат

Изобретение относится к радиотехнике, а именно к технике СВЧ. Волноводный поляризационный селектор содержит отрезок круглого волновода диаметром D, первый отрезок прямоугольного волновода с поперечным размером широких стенок A>D и поперечным размером узких стенок B<D, волноводный переход, имеющий N ступеней, расположенный между ними и имеющий с ними общую продольную ось, второй отрезок прямоугольного волновода, продольная ось которого перпендикулярна, а широкие стенки параллельны упомянутой общей продольной оси, диафрагму, установленную в месте соединения второго отрезка прямоугольного волновода с отрезком круглого волновода, и продольную диаметральную металлическую пластину, установленную параллельно широким стенкам первого отрезка прямоугольного волновода, одна поперечная грань которой расположена в отрезке круглого волновода, а другая - в волноводном переходе. Каждая из N ступеней волноводного перехода выполнена с поперечным сечением, имеющим форму овала с длиной большой оси Eи длиной малой оси F, которые удовлетворяют соотношениям: D≤E≤A, B≤F<D, где i=1…N. В продольной диаметральной металлической пластине выполнены овальные отверстия, малые оси которых совпадают с упомянутой общей продольной осью, а большие оси - перпендикулярны ей. Овальные отверстия выполнены одного размера с длиной большой оси G и длиной малой оси Н, удовлетворяющими соотношениям:0,7D≤G≤D,0,15D≤H≤0,4D,и расстоянием S между ними, удовлетворяющим соотношению:0,1D≤S≤0,25D.Использование изобретения позволяет расширить диапазон рабочих частот волноводного поляризационного селектора до величины 19-21% при одномодовом режиме работы всех волноводных каналов. 3 з.п. ф-лы, 15 ил.

Формула изобретения

1. Волноводный поляризационный селектор, содержащий

отрезок круглого волновода диаметром D;

первый отрезок прямоугольного волновода с поперечным размером широких стенок A>D и поперечным размером узких стенок B<D;

волноводный переход, имеющий N ступеней, расположенный между ними и имеющий с ними общую продольную ось;

второй отрезок прямоугольного волновода, продольная ось которого перпендикулярна, а широкие стенки параллельны упомянутой общей продольной оси;

диафрагму, установленную в месте соединения второго отрезка прямоугольного волновода с отрезком круглого волновода;

продольную диаметральную металлическую пластину, установленную параллельно широким стенкам первого отрезка прямоугольного волновода, одна поперечная грань которой расположена в отрезке круглого волновода, а другая - в волноводном переходе;

в котором каждая из N ступеней волноводного перехода выполнена с поперечным сечением, имеющим форму овала с длиной большой оси Ei и длиной малой оси Fi, которые удовлетворяют соотношениям: D≤Ei≤A, B≤Fi<D, где i=1…N;

отличающийся тем, что

в продольной диаметральной металлической пластине выполнены овальные отверстия, малые оси которых совпадают с упомянутой общей продольной осью, а большие оси - перпендикулярны ей, причем овальные отверстия выполнены одного размера с длиной большой оси G и длиной малой оси Н, удовлетворяющих соотношениям:

0,7D≤G≤D,

0,15D≤H≤0,4D,

и расстоянием S между ними, удовлетворяющим соотношению:

0,1D≤S≤0,25D.

2. Селектор по п. 1, отличающийся тем, что каждое из овальных отверстий образовано двумя отрезками прямых, параллельных большой оси, и двумя полуокружностями, диаметр которых равен длине малой оси Н.

3. Селектор по п. 1 или 2, отличающийся тем, что каждая из N ступеней волноводного перехода выполнена с поперечным сечением, имеющим форму овала, образованного двумя отрезками прямых, параллельных большой оси, и двумя полуокружностями, диаметр которых равен длине малой оси.

4. Селектор по п. 1 или 2, отличающийся тем, что первая ступень волноводного перехода выполнена с длиной большой оси D≤E1≤A и длиной малой оси F1≤B, а остальные ступени выполнены с длинами больших осей Ei=D, где i=2…N.

Описание

[1]

Изобретение относится к радиотехнике, а именно, к технике СВЧ и может быть использовано в волноводных трактах антенных систем для возбуждения и поляризационной селекции двух основных ортогонально поляризованных волн Н11, распространяющихся в круглых волноводах. Преимущественной областью применения изобретения являются волноводные тракты с полосой рабочих частот 19-21%, в которых во всех волноводных каналах поляризационных селекторов распространяются только основные типы волн.

[2]

Известен волноводный поляризационный селектор (смотри патент US 2961618, НО IP 1/161, опубликован 22.11.1960), содержащий волноводный тройник с отрезком круглого волновода и отрезком бокового прямоугольного волновода. В отрезке круглого волновода установлена диаметральная продольная металлическая пластина, продольное металлическое ребро и две пары противолежащих металлических стержней. В месте сопряжения с отрезком круглого волновода в отрезке бокового прямоугольного волновода установлены диафрагмы и треугольные металлические пластины. К плечу отрезка круглого волновода за диаметральной продольной металлической пластиной может быть подключен дополнительный соосный переход на отрезок прямоугольного волновода.

[3]

Также известен волноводный поляризационный селектор (смотри монографии Модель A.M. «Фильтры СВЧ в радиорелейных системах», Москва, Издательство «Связь», 1967, стр. 250-252; Метрикин А.А. «Антенны и волноводы РРЛ», Москва, Издательство «Радио и Связь», 1977, стр. 113-116; Бородич СВ. «Справочник по радиорелейной связи», Москва, Издательство «Радио и Связь», 1981, стр. 73-75; Кантор Л.Я. «Спутниковая связь и вещание», Москва, Издательство «Радио и Связь», 1997, стр. 271-273), содержащий волноводный тройник с отрезком круглого волновода и отрезком бокового прямоугольного волновода. В отрезке круглого волновода установлена диаметральная продольная металлическая пластина и сквозной металлический стержень. В месте сопряжения с отрезком круглого волновода в отрезке бокового прямоугольного волновода установлены диафрагмы и треугольные металлические пластины. К плечу отрезка круглого волновода за диаметральной продольной металлической пластиной может быть подключен дополнительный соосный переход на отрезок прямоугольного волновода.

[4]

Недостатком известных устройств является сложность конструкции для диапазона частот «Ки» и более высоких частотных диапазонов. Кроме того, поперечные размеры отрезка круглого волновода допускают распространение высших типов волн, что может приводить к резонансным эффектам в волноводных трактах.

[5]

Известен волноводный поляризационный селектор типа 1а (смотри статью A.M. Boifot ((Classification of Ortho-Mode Transducers)), ELAB-RUNIT, N-7034, Trondheim, Norway, volume 2, №5, 1991, page 506), содержащий волноводный тройник с отрезком круглого волновода и отрезком бокового прямоугольного волновода. В отрезке круглого волновода установлена диаметральная продольная металлическая пластина. К отрезку круглого волновода за диаметральной продольной металлической пластиной подключен соосный плавный переход на отрезок прямоугольного волновода. В плавном переходе параллельно диаметральной продольной металлической пластине установлена дополнительная диаметральная продольная поглощающая пластина с согласующими элементами типа «ласточкин хвост» на концах.

[6]

Недостатком известного устройства является увеличенный продольный габаритный размер. Кроме этого, повышено ослабление сигнала в продольном канале за счет тепловых потерь в поглощающей пластине.

[7]

Известен волноводный поляризационный селектор (смотри патент RU 2265259, Н01Р 1/161, опубликован 27.11.2005), содержащий волноводный тройник с отрезком круглого волновода и отрезком бокового прямоугольного волновода, а также соосный переход с отрезка круглого волновода на отрезок прямоугольного волновода. На выходе обоих отрезков прямоугольных волноводов установлены решетки из металлических проводников. В отрезке круглого волновода установлена диаметральная продольная металлическая пластина, сквозной металлический стержень и металлический винт. В отрезке бокового прямоугольного волновода установлены диафрагмы. Полость отрезка бокового прямоугольного волновода в области диафрагм заполнена диэлектриком с низким значением диэлектрической проницаемости.

[8]

Недостатком устройства является сложность конструкции для диапазона частот «Ки» и более высоких частотных диапазонов.

[9]

Известен волноводный поляризационный селектор (смотри патент US 6842085, Н01P 1/161, 5/12, опубликован 11.01.2005), содержащий волноводный тройник с отрезком круглого волновода и отрезком бокового прямоугольного волновода, а также соосный четвертьволновый переход с отрезка круглого волновода на отрезок прямоугольного волновода. В отрезке круглого волновода и четвертьволновом переходе установлена диаметральная продольная металлическая пластина переменной толщины. В отрезке бокового прямоугольного волновода также установлена продольная металлическая пластина переменной толщины.

[10]

Недостатком устройства является малая ширина диапазонов рабочих частот, а именно, 5% по осевому каналу и 15% по боковому каналу.

[11]

Известен волноводный поляризационный селектор (смотри международную заявку WO 2013073674, МПК Н01Р 1/161, Н01Р 1/213, опубликована 23.05.2013), содержащий волноводный тройник с отрезком круглого волновода диаметром D, отрезком бокового прямоугольного волновода и диаметральную продольную металлическую пластину. Отрезок бокового прямоугольного волновода диафрагмирован в месте соединения с отрезком круглого волновода. К отрезку круглого волновода подключен соосный переход на отрезок прямоугольного волновода с широкой стенкой А и узкой стенкой B<D. Широкая стенка А отрезка прямоугольного волновода может быть выполнена как больше диаметра отрезка круглого волновода A>D, так и меньше диаметра отрезка круглого волновода A<D. Переход может быть выполнен с плавным и ступенчатым изменением поперечного сечения. В ступенчатом переходе поперечное сечение ступенек ограничено двумя параллельными прямыми и двумя противолежащими дугами окружности. В случае A>D, когда широкая стенка отрезка прямоугольного волновода больше диаметра отрезка круглого волновода, все секции перехода выполнены с двумя противолежащими дугами окружности одинакового диаметра Ei=D и расстоянием между двумя параллельными прямыми B<Fi<D. Диаметральная продольная металлическая пластина установлена одной поперечной гранью в отрезке круглого волновода, а другой поперечной гранью в переходе.

[12]

Недостатком известного устройства являются малая ширина диапазона рабочих частот. Это обусловлено противоречивыми требованиями к длине диаметральной продольной металлической пластины, которая обеспечивает подавление резонансных рассогласований поляризационного селектора в рабочем диапазоне частот.

[13]

Известен волноводный поляризационный селектор (смотри заявку JP 2013110448, Н01Р 1/16, опубликована 06.06.2013), содержавший отрезок круглого волновода диаметром D, первый отрезок прямоугольного волновода с поперечным размером широких стенок A>D и поперечным размером узких стенок B<D, волноводный переход, имеющий N ступеней, расположенный между ними и имеющий с ними общую продольную ось, второй отрезок прямоугольного волновода, продольная ось которого перпендикулярна, а широкие стенки параллельны упомянутой общей продольной оси, диафрагму, установленную в месте соединения второго отрезка прямоугольного волновода с отрезком круглого волновода, продольную диаметральную металлическую пластину, установленную параллельно широким стенкам первого отрезка прямоугольного волновода, одна поперечная грань которой расположена в отрезке круглого волновода, а другая - в ступенчатом волноводном переходе, каждая из N ступеней волноводного перехода выполнена с поперечным сечением в форме овала с длиной большой оси Ei и длиной малой оси Fi, которые удовлетворяют соотношениям: D≤Ei≤A, B≤Fi<D, где i=1…N.

[14]

Данный волноводный поляризационный селектор принят в качестве ближайшего аналога заявляемого волноводного поляризационного селектора.

[15]

Недостатком данного волноводного поляризационного селектора является ширина диапазона рабочих частот не более 15%, что ограничивает его применение.

[16]

Технической проблемой, решаемой настоящим изобретением, является создание волноводного поляризационного селектора, лишенного указанного недостатка.

[17]

В результате достигается технический результат, состоящий в расширении диапазона рабочих частот волноводного поляризационного селектора до величины 19-21% при одномодовом режиме работы всех волноводных каналов.

[18]

Указанный технический результат достигается созданием волноводного поляризационного селектора, содержащего отрезок круглого волновода диаметром D, первый отрезок прямоугольного волновода с поперечным размером широких стенок A>D и поперечным размером узких стенок B<D, волноводный переход, имеющий N ступеней, расположенный между ними и имеющий с ними общую продольную ось, второй отрезок прямоугольного волновода, продольная ось которого перпендикулярна, а широкие стенки параллельны упомянутой общей продольной оси, диафрагму, установленную в месте соединения второго отрезка прямоугольного волновода с отрезком круглого волновода, и продольную диаметральную металлическую пластину, установленную параллельно широким стенкам первого отрезка прямоугольного волновода, одна поперечная грань которой расположена в отрезке круглого волновода, а другая - в волноводном переходе, в котором каждая из N ступеней волноводного перехода выполнена с поперечным сечением, имеющим форму овала с длиной большой оси Ei и длиной малой оси Fi, которые удовлетворяют соотношениям: D≤Ei≤A, B≤Fi<D, где i=1…N, при этом в продольной диаметральной металлической пластине выполнены овальные отверстия, малые оси которых совпадают с упомянутой общей продольной осью, а большие оси - перпендикулярны ей, причем овальные отверстия выполнены одного размера с длиной большой оси G и длиной малой оси Н, удовлетворяющих соотношениям:

[19]

0,7D≤G≤D,

[20]

0,15D≤H≤0,4D,

[21]

и расстоянием S между ними, удовлетворяющим соотношению:

[22]

0,1D≤S≤0,25D.

[23]

Согласно другому частному варианту выполнения, каждое из овальных отверстий образовано двумя отрезками прямых, параллельных большой оси и двумя полуокружностями, диаметр которых равен длине малой оси Н.

[24]

Согласно еще одному частному варианту выполнения, каждая из N ступеней ступенчатого волноводного перехода имеет поперечное сечение в форме овала, образованного двумя отрезками прямых, параллельных большой оси овала, и двумя полуокружностями, диаметр которых равен длине малой оси овала.

[25]

Согласно еще одному частному варианту выполнения, первая ступень ступенчатого волноводного перехода выполнена с длиной большой оси овала D≤E1≤A и длиной малой оси овала F1≤B, а остальные ступени выполнены с длинами больших осей овалов Ei=D, где i=2…N.

[26]

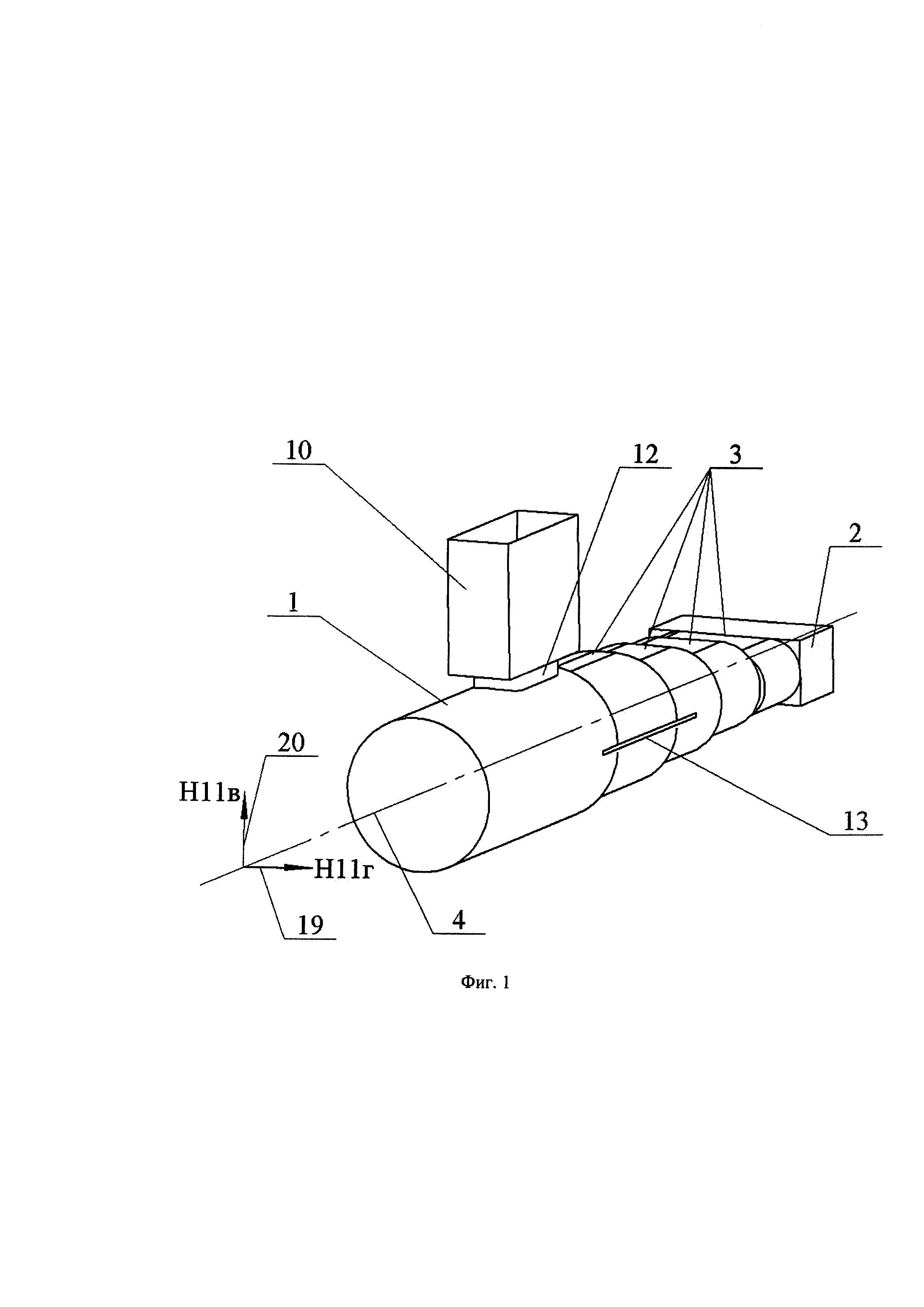
На фигуре 1 представлено схематическое изображение общего вида волноводного поляризационного селектора в частном варианте выполнения.

[27]

На фигуре 2 представлено схематическое изображение общего вида волноводного поляризационного селектора со стороны отрезка круглого волновода в частном варианте выполнения.

[28]

На фигуре 3 представлено схематическое изображение общего вида волноводного поляризационного селектора со стороны первого отрезка прямоугольного волновода в частном варианте выполнения.

[29]

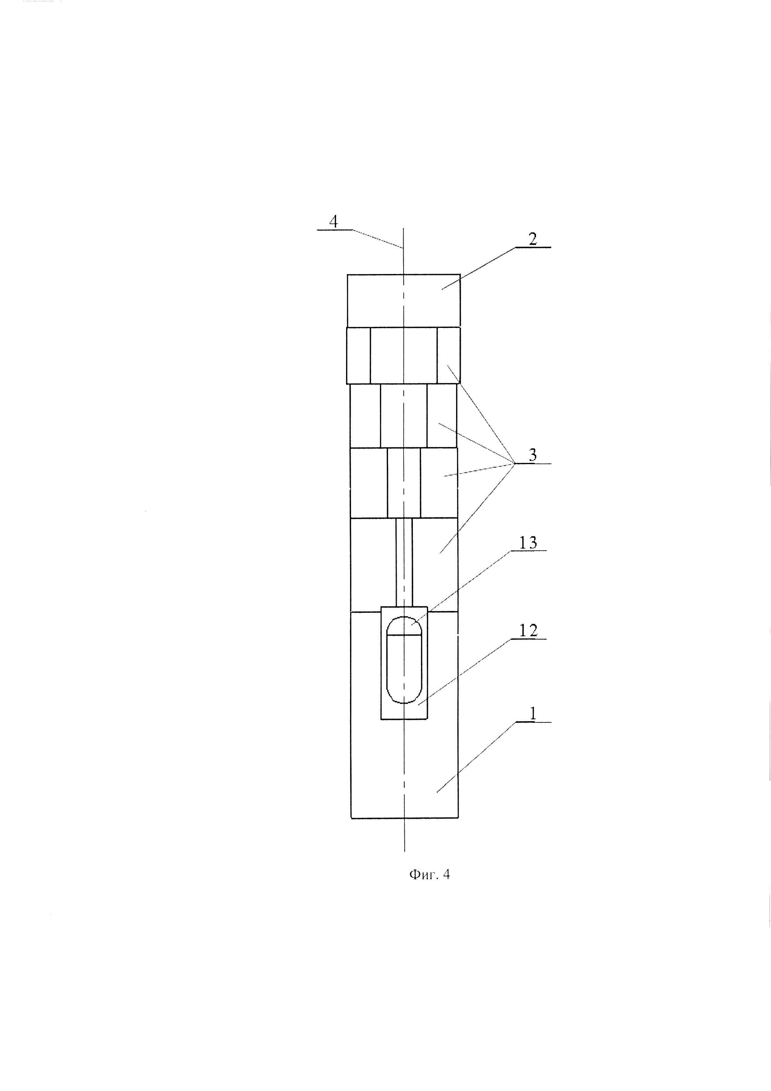
На фигуре 4 представлено схематическое изображение общего вида волноводного поляризационного селектора со стороны второго отрезка прямоугольного волновода в частном варианте выполнения.

[30]

На фигуре 5 представлено схематическое изображение продольного разреза волноводного поляризационного селектора в частном варианте выполнения.

[31]

На фигуре 6 представлено схематическое изображение поперечного сечения одной из ступеней ступенчатого волноводного перехода в частном варианте выполнения.На фигуре 7а представлено схематическое изображение продольной диаметральной металлической пластины волноводного поляризационного селектора, принятого в качестве ближайшего аналога

[32]

На фигурах 7б-7д представлены схематические изображения продольных диаметральных металлических пластин заявляемого устройства в частных вариантах выполнения.

[33]

На фигуре 8 представлены результаты расчета и измерения резонансных частот в волноводном поляризационном селекторе, принятом в качестве ближайшего аналога, в зависимости от продольного размера продольной диаметральной металлической пластины без овальных отверстий.

[34]

На фигуре 9 представлены результаты расчета резонансных частот в заявляемом устройстве в зависимости от длины малой оси Н одного овального отверстия в продольной диаметральной металлической пластине.

[35]

На фигуре 10 представлены результаты расчета резонансных частот в заявляемом устройстве в зависимости от длины малой оси Н в случае двух, трех и четырех одинаковых овальных отверстий в продольной диаметральной металлической пластине.

[36]

На фигуре 11 представлены частные варианты выполнения заявляемого устройства для диапазона «Ка» с полосой рабочих частот 18,2-22,2 ГГц шириной 19,8%, в которых продольная диаметральная металлическая пластина выполнена с тремя овальными отверстиями. Заявляемые волноводные поляризационные селекторы показаны в составе четырех блоков облучателей приемных зеркальных антенн, две из которых работающих на двух ортогональных линейных поляризациях, а две другие - на двух ортогональных круговых поляризациях.

[37]

Волноводный поляризационный селектор, представленный на фигурах 1-7, содержит отрезок круглого волновода 1 диаметром D, первый отрезок прямоугольного волновода 2 с поперечным размером широких стенок A>D и поперечным размером узких стенок B<D, и ступенчатый волноводный переход 3 между отрезком круглого волновода 1 и первым отрезком прямоугольного волновода 2, имеющий с ними общую продольную ось 4.

[38]

Поперечное сечение каждой ступени ступенчатого волноводного перехода 3 имеет форму овала 5 с большой осью 6 длиной Ei и малой осью 7 длиной Fi, которые удовлетворяют соотношениям: D≤Ei≤A, B≤Fi<D, где i=1 … N. В частном варианте выполнения, показанном на фигуре 6, каждый овал 5 образован двумя отрезками прямых 8, параллельных большой оси 6, и двумя полуокружностями 9, диаметр которых равен длине малой оси 7.

[39]

В еще одном частном варианте выполнения первая ступень ступенчатого волноводного перехода 3 выполнена с длиной большой оси 6 D≤E1≤A и длиной малой оси 7 F1≤B, а остальные ступени выполнены с длинами больших осей 6 Ei=D, где i=2…N.

[40]

Волноводный поляризационный селектор содержит также второй отрезок прямоугольного волновода 10, продольная ось 11 которого перпендикулярна, а широкие стенки параллельны упомянутой общей продольной оси 4.

[41]

Кроме этого, волноводный поляризационный селектор содержит диафрагму 12 в месте соединения второго отрезка прямоугольного волновода 10 с отрезком круглого волновода 1 и продольную диаметральную металлическую пластину 13, расположенную параллельно широким стенкам первого отрезка прямоугольного волновода 2. Одна поперечная грань 14 диаметральной металлической пластины 13 расположена в отрезке круглого волновода 1, а другая поперечная грань 15 - в волноводном переходе 3. Продольная диаметральная металлическая пластина 13 выполнена с овальными отверстиями 16, малые оси 17 которых совпадают с общей продольной осью 4, а большие оси 18 перпендикулярны общей продольной оси 4..Овальные отверстия 16 выполнены с одинаковыми размерами, причем каждое из овальных отверстий 16 выполнено с длиной G большой оси 18 и длиной Н малой оси 17 удовлетворяющих соотношениям:

[42]

0,7D≤G≤D,

[43]

0,15D≤H≤0,4D,

[44]

при этом расстояние S между овальными отверстиями 16 удовлетворяет соотношению:

[45]

0,1D≤S≤0,25D.

[46]

Также, в частном варианте выполнения, каждое из овальных отверстий 16 образовано двумя отрезками прямых, параллельных большой оси и двумя полуокружностями, диаметр которых равен длине Н малой оси 17.

[47]

Заявляемый волноводный поляризационный селектор работает следующим образом.

[48]

В отрезке круглого волновода 1 могут распространяться две основные волны Н11 с ортогональными линейными поляризациями вектора напряженности электрического поля. Одна из этих волн 19 имеет горизонтальную поляризацию Н11г, а другая волна 20 имеет вертикальную поляризацию H11в (смотри фигуру 1).

[49]

Волна Н11г поляризована параллельно продольной диаметральной металлической пластине 13. Эта пластина делит отрезок круглого волновода 1 и ступенчатый волноводный переход 3 на части продольного размера на два отрезка волновода 21 и 22 с одинаковым размером поперечного сечения и одинаковым продольным размером (смотри фигуру 5).

[50]

Волна горизонтальной поляризации Н11г в отрезках волноводов 21 и 22 экспоненциально затухает, так как ее критическая частота превышает верхнюю частоту рабочего диапазона. Поэтому распространяющаяся в отрезке круглого волновода 1 волна Н11г горизонтальной поляризации отражается от продольной диаметральной металлической пластины 13 и поступает во второй отрезок прямоугольного волновода 10. По принципу работы на горизонтальной поляризации заявленный волноводный поляризационный селектор является уголковым изгибом волновода на 90 градусов в плоскости вектора напряженности магнитного поля. Оптимальное положение поперечной грани 14 продольной диаметральной металлической пластины 13, а также оптимальные значения продольного и поперечных размеров диафрагмы 12 обеспечивают в диапазоне частот до 21% КСВН (коэффициент стоячей волны по напряжению) не более 1,1 (уровень отраженной волны не более минус 26 дБ) при одномодовом режиме работы всех волноводных каналов.

[51]

Второй отрезок прямоугольного волновода 10 с диафрагмой 12 вносит асимметрию в отрезок круглого волновода 1 (смотри фигуру 5). Поэтому в волноводном переходе 3 к поперечной грани 15 продольной диаметральной металлической пластины 13 экспоненциально затухающие в отрезках волноводов 21 и 22 волны горизонтальной поляризации приходят с различными амплитудами и фазами. В результате в области волноводного перехода 3 между поперечной гранью 15 продольной диаметральной металлической пластины 13 и первым отрезком прямоугольного волновода 2 возбуждается линейно поляризованная волна горизонтальной поляризации и экспоненциально затухающие высшие типы волн волновода с поперечным сечением в форме овала 5 (смотри фигуру 6).

[52]

В зависимости от продольного размера продольной диаметральной металлической пластины 13 в ступени волноводного перехода 3, где расположена поперечная грань 15, волна горизонтальной поляризации может либо экспоненциально затухать, либо распространяться.

[53]

В первом случае волна горизонтальной поляризации экспоненциально затухает во всех отрезках волноводов за поперечной гранью 14 продольной диаметральной металлической пластины 13 и на согласование оказывают влияние только входные участки отрезков волноводов 21 и 22.

[54]

Во втором случае отрезки волноводов 21 и 22 можно рассматривать в качестве элементов связи уголкового изгиба волновода в плоскости вектора напряженности магнитного поля с резонатором, в котором волна горизонтальной поляризации может распространяться. Продольный размер этого резонатора определяется поперечной гранью 15 продольной диаметральной металлической пластины 13 и ступенью ступенчатого волноводного перехода 3, в которой волна горизонтальной поляризации становится экспоненциально затухающей. Резонансные частоты этого резонатора с учетом элементов связи должны лежать вне диапазона рабочих частот, так как они порождают резонансные увеличения коэффициента отражения. Чтобы низшая резонансная частота превышала верхнюю частоту рабочего диапазона, продольный размер резонатора должен быть существенно меньше половины длины волны. Это связано с тем, что границы резонатора в продольном направлении определяются запредельными отрезками волноводов 21 и 22 и ступенью ступенчатого волноводного перехода 3, в которой волна горизонтальной поляризации становится экспоненциально затухающей.

[55]

С увеличением продольного размера продольной диаметральной металлической пластины 13 продольный размер резонатора уменьшается, и резонансные частоты смещаются в сторону коротких волн.

[56]

В результате число и форма ступеней волноводного перехода 3 оказывают влияние на продольный размер продольной диаметральной металлической пластины 13. Причем, с увеличением числа ступеней волноводного перехода 3 и соответствующим расширением диапазона рабочих частот волноводного поляризационного селектора на горизонтальной поляризации Н11г, продольный размер продольной диаметральной металлической пластины 13 должен возрастать.

[57]

Вертикальная поляризация волны Н11в, распространяющейся в отрезке круглого волновода 1, ортогональна горизонтальной поляризации основной волны второго отрезка прямоугольного волновода 10 (смотри фигуру 1). Поэтому волна Н11в не ответвляется во второй отрезок прямоугольного волновода 10. Одна часть волны Н11в, распространяющейся в отрезке круглого волновода 1, отражается от поперечной грани 14 продольной диаметральной металлической пластины 13 в обратном направлении. Другая часть волны Н11в разделяется продольной диаметральной металлической пластиной 13 на две волны вертикальной поляризации, которые продолжают распространяться в отрезках волноводов 21 и 22.

[58]

Отрезок второго прямоугольного волновода 10 с диафрагмой 12 вносит асимметрию в отрезок круглого волновода 1. Поэтому в волноводном переходе 3 к поперечной грани 15 продольной диаметральной металлической пластины 13 распространяющиеся в отрезках волноводов 21 и 22 волны вертикальной поляризации приходят с различными амплитудами и фазами. В результате в области ступенчатого перехода 3 между поперечной гранью 15 продольной диаметральной металлической пластины 13 и первым отрезком прямоугольного волновода 2 возбуждается линейно поляризованная волна вертикальной поляризации и экспоненциально затухающие высшие типы волн волновода с поперечным сечением в форме овала 5 (смотри фигуру 6).

[59]

Линейно поляризованная волна вертикальной поляризации передается в первый отрезок прямоугольного волновода 2, а экспоненциально затухающие высшие типы волн волновода с поперечным сечением в форме овала 5 порождают в отрезках волноводов 21 и 22 обратные волны, распространяющиеся от поперечной грани 15 продольной диаметральной металлической пластины 13 к поперечной грани 14.

[60]

Интерференция волн, отраженных от поперечных граней 14 и 15 продольной диаметральной металлической пластины 13, порождает периодическую систему резонансных рассогласований волноводного поляризационного селектора на волне вертикальной поляризации Н11в. В некоторых публикациях это явление получило название «Пластинчатые резонансы» (смотрите, например, заявку WO 2013073674, Н01Р 1/161, 1/213, опубликована 23.05.2013, а также патент CN 103999284, патент ЕР 2782186, заявку JP 2013110456, патент JP 5477362, патент KR 101596236, заявку KR 20140072916, заявку US 2014197908 и патент US 9000861). Разность соседних резонансных частот определяется продольным размером продольной диаметральной металлической пластины 13. Причем, чем больше продольный размер продольной диаметральной металлической пластины 13, тем меньше разность соседних резонансных частот.

[61]

В результате требования к продольному размеру продольной диаметральной металлической пластины 13, обеспечивающие подавление резонансных отражений волны горизонтальной поляризации Н11г и волны вертикальной поляризации H11в противоречивы.

[62]

Для подавления резонансных отражений волны горизонтальной поляризации Н11г продольный размер продольной диаметральной металлической пластины 13 должен быть не менее определенной величины, значение которой определяется расстоянием между поперечной гранью 15 и ступенью волноводного перехода 3, в которой волна горизонтальной поляризации становится экспоненциально затухающей.

[63]

Для подавления резонансных отражений волны вертикальной поляризации Н11в продольный размер продольной диаметральной металлической пластины 13 должен быть не более определенной величины, при которой разность соседних резонансных частот превышает ширину рабочего диапазона, а сами резонансные частоты лежат вне рабочего диапазона частот.

[64]

Эту закономерность иллюстрируют результаты расчета и измерения (смотри фигуру 8) резонансных частот устройства, принятого в качестве ближайшего аналога, для диапазона «Ка» с полосой рабочих частот 18,2-22,2 ГГц шириной 19,8%.

[65]

Численное моделирование устройства выполнено с помощью программного комплекса «CST Microwave Studio», а радиотехнические измерения - с помощью векторного анализатора цепей «Agilent PNA 5225А».

[66]

Отрезки первого прямоугольного волновода 2 и второго прямоугольного волновода 10 этого устройства были выполнены стандартными «WR-42» с поперечным сечением 10,67×4,32 мм.

[67]

Диаметр отрезка круглого волновода был выбран равным 10,13 мм. Это обеспечило ширину полосы 4,7% от критической частоты основного типа волны Н11 до нижней границы рабочего диапазона частот и ширину полосы 2,1% от верхней границы рабочего диапазона частот до критической частоты первого высшего типа волны Е01 Ширина полосы частот круглого волновода, в которой распространяется только основной тип волн Н11, составляет 26,6%.

[68]

Чтобы обеспечить КСВН для волны вертикальной поляризации Н11в не более 1.1 (уровень отраженной волны не более минус 26 дБ) в диапазоне частот 19,8%, волноводный переход 3 выполнен с четырьмя ступенями в форме овалов 5 (смотри фигуру 5).

[69]

Продольная диаметральная металлическая пластина 13 выполнена длиной 17 мм без овальных отверстий 16 (смотри фигуру 7а), а ее поперечная грань 15 расположена перед ступенью волноводного перехода 3, в которой волна горизонтальной поляризации становится экспоненциально затухающей. Продольная диаметральная металлическая пластина 13 из латуни толщиной 0,3 мм впаяна в латунный корпус волноводного поляризационного селектора, изготовленный путем фрезеровки на универсальном обрабатывающем центре «МАНО». Продольный размер продольной диаметральной металлической пластины 13 последовательно уменьшался с 17 мм до 3 мм с шагом 1 мм со стороны первого отрезка прямоугольного волновода 2 путем фрезеровки.

[70]

На фигуре 8 по оси абсцисс отложен продольный размер продольной диаметральной металлической пластины 13 в миллиметрах, а по оси ординат - частота в гигагерцах. Кривыми 1 и 2 показаны результаты расчета и измерения резонансной частоты устройства прототипа на горизонтальной поляризации Н11г. Кривыми 3 и 4 показаны результаты расчета и измерения первой резонансной частоты устройства прототипа на вертикальной поляризации Н11в. Кривыми 5 и 6 показаны результаты расчета и измерения второй резонансной частоты устройства прототипа на вертикальной поляризации Н11в. Линиями 7 и 8 показаны нижняя и верхняя границы рабочей полосы частот. Линиями 9 и 10 показаны критические частоты основного типа волны Н11 и первого высшего типа волны E01 круглого волновода диаметром 10,13 мм.

[71]

Разность результатов расчета и измерения резонансной частоты устройства, принятого в качестве ближайшего аналога, на горизонтальной поляризации Н11г находится в пределах 0,30-0,48 ГГц, т.е. не превышает 2,4% от средней частоты рабочего диапазона.

[72]

Разность результатов расчета и измерения первой резонансной частоты устройства, принятого в качестве ближайшего аналога, на вертикальной поляризации Н11в находится в пределах 0,11-0,25 ГГц, т.е. не превышает 1,2% от средней частоты рабочего диапазона.

[73]

Разность результатов расчета и измерения второй резонансной частоты устройства, принятого в качестве ближайшего аналога, на вертикальной поляризации Н11в находится в пределах 0-0,22 ГГц, т.е. не превышает 1,1% от средней частоты рабочего диапазона.

[74]

Резонансные частоты устройства прототипа на вертикальной поляризации Н11в определяются продольным размером резонатора в виде продольной диаметральной металлической пластины 13, каждый продольный размер которой воспроизводился в изделии с допуском минус 0,05 мм, т.е. достаточно точно.

[75]

Резонансные частоты устройства прототипа на горизонтальной поляризации Н11г определяются продольным размером другого резонатора. Продольный размер этого резонатора ограничен поперечной гранью 15 продольной диаметральной металлической пластины 13 и ступенью волноводного перехода 3, в которой волна горизонтальной поляризации становится экспоненциально затухающей. Габаритные размеры этого резонатора воспроизводились в изделии с допуском плюс-минус 0,05 мм, но продольный размер резонатора определялся участками запредельных волноводов с экспоненциально затухающей волной горизонтальной поляризации. Это привело к увеличению предельной разности результатов расчета и измерения резонансных частот с 1,2% до 2,4% от средней частоты рабочего диапазона.

[76]

При продольном размере продольной диаметральной металлической пластины 13 менее 6 мм, резонансные отражения в полосе частот 17-23 ГГц наблюдаются как на горизонтальной поляризации Н11г (кривые 1 и 2), так и на вертикальной поляризации Н11в (кривые 3 и 4). Причем, с увеличением продольного размера продольной диаметральной металлической пластины 13, резонансная частота на горизонтальной поляризации Н11г возрастает, а на вертикальной поляризации Н11в убывает.

[77]

При продольном размере продольной диаметральной металлической пластины 13 более 6 мм резонансные отражения в полосе частот 17-23 ГГц наблюдаются только на вертикальной поляризации Н11в (кривые 3 и 4, 5 и 6). Причем, с увеличением продольного размера продольной диаметральной металлической пластины 13, первая и вторая резонансные частоты убывают. Вторая резонансная частота (кривые 5 и 6) наблюдается в полосе частот 17-23 ГГц при продольных размерах продольной диаметральной металлической пластины 13 более 13 мм. В диапазоне продольных размеров продольной диаметральной металлической пластины 13 от 13 мм до 17 мм разность первой и второй резонансных частот уменьшается с 4,40 ГГц до 3,75 ГГц. При продольном размере продольной диаметральной металлической пластины 15 мм разность первой и второй резонансных частот составляет 4,0 ГГц, а сами резонансные частоты практически совпадают с границами рабочего диапазона частот. При других продольных размерах продольной диаметральной металлической пластины 13 хотя бы одна из резонансных частот находится внутри рабочего диапазона. С учетом ширины резонансов и допусков на изготовление волноводных поляризационных селекторов применение устройства, принятого в качестве ближайшего аналога, целесообразно при ширине рабочей полосы частот до 15%.

[78]

Для подавления резонансных отражений на горизонтальной поляризации Н11г в заявляемом волноводном поляризационном селекторе продольная диаметральная металлическая пластина 13 выполнена с поперечной гранью 15, расположенной в переходе 3 перед секцией, в которой волна горизонтальной поляризации становится экспоненциально затухающей.

[79]

Для подавления резонансных отражений на вертикальной поляризации Н11в и расширения рабочей полосы частот в заявляемом волноводном поляризационном селекторе продольная диаметральная металлическая пластина 13 выполнена с овальными отверстиями 16 (смотри фигуры 7б-7д). Отверстия уменьшают эффективную электрическую длину пластины и смещают резонансные частоты в область коротких волн за рабочий диапазон.

[80]

Эту закономерность иллюстрируют результаты расчета (смотри фигуру 9) резонансных частот в заявляемом устройстве для диапазона «Ка» с полосой рабочих частот 18,2-22,2 ГГц шириной 19,8% и одним овальным отверстием 16 в продольной диаметральной металлической пластине 13 (смотри фигуру 7б). При этом были сохранены описанные выше геометрические размеры корпуса волноводного поляризационного селектора. Продольная диаметральная металлическая пластина 13 выполнена с продольным размером 14 мм, а длина большой оси 18 овального отверстия 16 равна диаметру отрезка круглого волновода 1. В устройстве, принятом в качестве ближайшего аналога, при таком продольном размере продольной диаметральной металлической пластины 13 первая резонансная частота 18,3 ГГц на вертикальной поляризации Н11в была внутри рабочего диапазона частот вблизи его нижней границы. Вторая резонансная частота 22,5 ГГц была вне рабочего диапазона частот за его верхней границей (смотри фигуру 8).

[81]

На фигуре 9 по оси абсцисс отложена длина Н малой оси 17 овального отверстия 16 в миллиметрах, а по оси ординат - частота в гигагерцах. Кривой 1 показаны результаты расчета резонансной частоты заявляемого устройства на горизонтальной поляризации Н11г. Кривыми 2 и 3 показаны результаты расчета первой и второй резонансной частоты заявляемого устройства на вертикальной поляризации Н11в. Линиями 4 и 5 показаны нижняя и верхняя границы рабочего диапазона частот. Линиями 6 и 7 показаны критические частоты основного типа волны Н11 и первого высшего типа волны E01 круглого волновода диаметром 10,13 мм.

[82]

При увеличении длины Н малой оси 17 овального отверстия 16 с 0,5 мм до 10 мм первая резонансная частота на вертикальной поляризации Нин плавно возрастает с 19,0 ГГц до 22,55 ГГц.

[83]

При длине Н малой оси 17 овального отверстия 16 в пределах 0,5-3,5 мм вторая резонансная частота на вертикальной поляризации Н11в находится вне рабочего диапазона частот и практически не изменяется, так как овальное отверстие 16 находится в центре продольной диаметральной металлической пластины 13 (смотри фигуру 7б).

[84]

При длине Н малой оси 17 овального отверстия 16 в пределах 8,0-10,0 мм наблюдается резонансная частота на горизонтальной поляризации Н11г, которая плавно уменьшается с 23,6 ГГц до 22,2 ГГц по мере увеличения длины Н малой оси 17 овального отверстия 16. Это связано с тем, что при таких размерах овального отверстия 16 его форма близка к кругу, а продольная диаметральная металлическая пластина 13 практически вырождается в две продольные диаметральные металлические пластины длиной в несколько миллиметров с резонатором между ними. Одна из этих пластин примыкает к поперечной грани 14, расположенной в отрезке круглого волновода 1, а другая пластина - к поперечной грани 15, расположенной в переходе 3.

[85]

При длине Н малой оси 17 овального отверстия 16 в пределах 9,0-9,5 мм резонансов в рабочем диапазоне частот нет. Однако овальные отверстия 16 почти круглой формы с диаметром близким к диаметру отрезка круглого волновода 1 не технологичны. В пределах допусков на изготовление типичными отклонениями являются коробление продольных диаметральных металлических пластин 13, их скручивание относительно общей продольной оси 4 и смещение в направлении продольной оси 11 второго отрезка прямоугольного волновода 10. При этом резонансные частоты изменяются, и гарантировать их положение за верхней границей рабочего диапазона частот не представляется возможным. Поэтому выполнять продольные диаметральные металлические пластины 13 с одним овальным отверстием 16 нецелесообразно.

[86]

На фигуре 10 представлены результаты расчета резонансных частот в заявляемом устройстве с теми же геометрическими размерами, при двух, трех и четырех одинаковых овальных отверстиях 16 в продольной диаметральной металлической пластине 13 (смотри фигуры 7в-7д). Расстояния S между соседними овальными отверстиями 16 и между каждым из ребер 14 и 15 и ближайшим овальным отверстием 16 также были выполнены одинаковыми (смотри фигуры 7в-7д).

[87]

На фигуре 10 по оси абсцисс отложена длина Н малой оси 17 овального отверстия 16 в миллиметрах, а по оси ординат - частота в гигагерцах. Кривыми 1, 2 и 3 показаны результаты расчета первой резонансной частоты заявляемого устройства с двумя, тремя и четырьмя овальными отверстиями 16 на вертикальной поляризации Н11в. Другие резонансы в заявляемом устройстве с такой геометрией не наблюдаются. Линиями 4 и 5 показаны нижняя и верхняя границы рабочего диапазона частот. Линиями 6 и 7 отмечены критические частоты основного типа волны Н11 и первого высшего типа волны E01 круглого волновода диаметром 10,13 мм.

[88]

В случае продольной диаметральной металлической пластины 13 с двумя овальными отверстиями 16 первая резонансная частота превышает верхнюю границу рабочего диапазона частот при длинах Н малой оси 17 овального отверстия 16 более 3,55 мм (G=D, H=0,35D, S=0,23D).

[89]

В случае продольной диаметральной металлической пластины 13 с тремя овальными отверстиями 16 первая резонансная частота превышает верхнюю границу рабочего диапазона частот при длинах Н малой оси 17 овального отверстия 16 более 2,03 мм (G=D, H=0,20D, S=0,20D).

[90]

В случае продольной диаметральной металлической пластины 13 с четырьмя овальными отверстиями 16 первая резонансная частота превышает верхнюю границу рабочего диапазона частот при длинах Н малой оси 17 овального отверстия 16 более 1,52 мм (G=D, H=0,15D, S=0,16D).

[91]

В настоящее время изготовлен один из частных вариантов заявляемых волноводных поляризационных селекторов с тремя одинаковыми овальными отверстиями 16 в продольной диаметральной металлической пластине 13 (смотри фигуру 7г). При таком количестве овальных отверстий 16 подавление резонансных отражений может быть обеспечено при условии «G=D, H=S=0.2D». В этом случае длина Н малой оси 17 каждого овального отверстия 16 равна расстоянию S между соседними овальными отверстиями 16, а также равна расстоянию S между каждым из ребер 14 и 15 и ближайшим овальным отверстием 16. Это упрощает технологию изготовления заявляемых устройств.

[92]

Изготавливаемые волноводные поляризационные селекторы предназначены для диапазона «Ка» и в полосе рабочих частот 18,2-22,2 ГГц шириной 19,8% имеют со стороны первого и второго отрезков прямоугольных волноводов 2 и 10 КСВН не более 1,1 (уровень отраженной волны не более минус 26 дБ) и затухание сигнала между этими отрезками прямоугольных волноводов не более минус 35 дБ. На фигуре 11 заявляемые волноводные поляризационные селекторы показаны в составе четырех блоков облучателей приемных антенн диапазона «Ка», две из которых работают на двух ортогональных линейных поляризациях, а две другие - на двух ортогональных круговых поляризациях.

Как компенсировать расходы
на инновационную разработку
Похожие патенты